RoyalTek NS-4102 Portable Navigation Device User Manual NS4102T User s manual English

RoyalTek Company Ltd. Portable Navigation Device NS4102T User s manual English

User manual

 1             RoyalTek    RN5 (NS-4102) / RN5 (NS-4102F) / RN5 (NS-4102B)                 Portable Navigation Device                   Reference Manual
 2 Legal Notices Copyright RoyalTek RN5 Portable Navigation Device User’s Guide Original issue: September 2008.  RoyalTek and the RoyalTek logo are registered trademarks of RoyalTek Inc. Other products or system names appearing  in this  document  are trademarks  or registered trademarks of their respective owners. Further, the © or TM symbols are not used in the text.  Changes may be made periodically to the information in this publication without obligation to notify  any  person  of  such  revision  or  changes.  Such  changes  will  be  incorporated  in  new editions of this User’s Guide or supplementary documents and publications.  No part of this publication may be reproduced, stored in a retrieval system, or transmitted, in any form or by any means, electronic, mechanical, photocopy, recording, or otherwise, without the prior written permission of RoyalTek Inc.  DISCLAIMER AND LIMITATION OF LIABILITY RoyalTek and its subsidiaries make no representations or warranties, either expressed or implied, with respect to the contents hereof and specifically disclaims the implied warranties of merchantability or fitness for a particular purpose. RoyalTek and its subsidiaries assume no responsibility for any damage or loss resulting from the use of this RoyalTek RN5 Portable Navigator.  NOTE:Record the device ID, serial number, purchase date, and place of purchase information in  the  space  provided  below.  The  serial  number  is  indicated  on  the  label  affixed  to  your RoyalTek  device.  All  correspondence  concerning  your  unit  should  include  the  serial  number, device ID, and purchase information.   Revision: 1.00 September 2008  NOTE: Information in this manual is subject to change without notice.
 3 Warnings and Notices For your safety, do not operate the controls of the product while driving.  GPS  satellite  signals  cannot  typically  pass  through  solid  materials  (except  glass).  GPS location information is not typically available inside buildings, tunnels, or underground parking lots.  A  minimum  of  4  GPS  satellite  signals  is  needed  to  calculate  your  GPS  position.  Signal reception can be affected by weather events or overhead obstacles (e.g. dense foliage and tall buildings).   Other wireless devices in the vehicle may interfere with the reception of satellite signals and cause the reception to be unstable.  Adapter Do not attempt to service the unit. There are no serviceable parts inside. Replace the unit if it is damaged or exposed to excess moisture.  Do not use the adapter if the cord becomes damaged.  Connect the adapter to the proper power source. The voltage requirements are found on the product case and/or packaging.  Battery This unit contains a non-replaceable internal Li-polymer battery. The battery could be bursting or  exploding  and  releasing  hazardous  chemicals  in  case  of  over  battery  specification  and using in an abnormal conditions; disassemble, crush, puncture, or dispose of the battery in fire or water. Abnormal operation could be dangerous to your human body. Please be aware. Use only the specified charger approved by the manufacturer.  Risk of explosion if battery is replaced by an incorrect type dispose of used batteries according to the instructions. WARNING: The Lithium-Ion battery in the device must be recycled or disposed of properly.
 4 FCC COMPLIANCE * This device complies with Part 15 of the FCC Rules. Operation is subject to the following two conditions: (1) this device may not cause harmful interference, and (2) this device must accept any interference received, including interference that may cause undesired operation. FCC WARNING Changes or modifications not expressly approved by the party responsible for compliance could void the user’s authority to operate the equipment.   CE Mark This equipment complies with the requirements for CE marking when used in a residential, commercial, vehicular or light industrial environment. R&TTE Directive. Products with the CE marking comply with Radio & Telecommunication Terminal Equipment Directive (R&TTE) (1999/5/EEC), the Electromagnetic Compatibility Directive (89/336/EEC) and the Low Voltage Directive (73/23/EEC) – as amended by Directive 93/68/ECC - issued by the Commission of the European Community.   NOTICE This equipment has been tested and found to comply with the limits for a Class B digital device, pursuant to part 15 of the FCC Rules. These limits are designed to provide reasonable protection against harmful interference in a residential installation. This equipment generates uses and can radiate radio frequency energy and, if not installed and used in accordance with the instructions, may cause harmful interference to radio communications. However, there is no guarantee that interference will not occur in a particular installation. If this equipment does cause harmful interference to radio or television reception, which can be determined by turning the equipment off and on, the user is encouraged to try to correct the interference by one or more of the following measures: - Reorient or relocate the receiving antenna - Increase the separation between the equipment and receiver. - Connect the equipment into an outlet on a circuit different from that to which the receiver is connected. - Consult the dealer or an experienced radio/TV technician for help. This transmitter must not be co-located or operated in conjunction with any other antenna or transmitter.
 5 Contents Chapter 1    Features and Specifications.....................................................................7 1.1.  RoyalTek RN5 PND features .........................................................7 1.2.  RN5 Specifications.........................................................................7 Chapter 2  Getting Started .........................................................................................9 2.1.  Hardware Overview........................................................................9 2.1.1 Packing list..............................................................................9 2.1.2 Basical Introduction...............................................................11 2.1.3 How to Use Car holder..........................................................13 2.2.  How to Use mounting bracket. .....................................................13 2.3.  Resetting the RN5 Device............................................................16 Chapter 3    Start to Use RN5.....................................................................................17 3.1.  Turn on the device .......................................................................17 3.2.  Configure system settings............................................................17 3.3.  How to Use System settings ........................................................19 3.4.  Reset............................................................................................19 3.5.  System Information ......................................................................21 3.6.  Volume.........................................................................................22 3.7.  Backlight ......................................................................................22 3.8.  Set a favorite application category: ..............................................23 3.8.1 Add icons to the favorite page...............................................23 3.8.2 Delete icon to the favorite page.............................................24 3.9.  Power Supply...............................................................................24 3.9.1 Charge..................................................................................24 3.9.2 Discharge..............................................................................25 3.9.3 Power outage........................................................................25 Chapter 4  Entertainment.........................................................................................26 4.1.  RN5 Multimedia Player ................................................................26 4.2.  Music player.................................................................................27 4.3.  Photo Viewer................................................................................30 4.4.  Video Player.................................................................................33 4.5.  Listen MP3 via Car Audio/Stereo (FM Transmitter) .....................35 4.5.1 Turn on FM Transmitter frequency........................................35 4.5.2 Change FM Transmitter frequency........................................36 Chapter 5    Communications.....................................................................................37 5.1.  RN5 Bluetooth..............................................................................37 5.2.  Connection...................................................................................37
 6 5.3.  Mobile phone connection .............................................................37 5.4.  Call Out (Hands – free Calling) ....................................................39 5.5.  Contacts (Import phonebooks).....................................................40 Chapter 6    Troubleshooting and Maintenance........................................................42 6.1.  General troubleshooting...............................................................42 6.1.1 If your device does not respond, do a “hard reset.”...............42 6.1.2 Users can also perform a “system reset.”..............................42 6.1.3 Screen responds slowly........................................................42 6.1.4 Inaccurate response to tap on touch screen..........................42 6.1.5 Connection Problems with PC...............................................42 6.1.6 No GPS connection...............................................................42 6.1.7 No sound coming from the device.........................................43 6.1.8 Cannot see photos................................................................43 6.1.9 Take longer than normal time to get a GPS fix......................43 6.1.10 Factory reset does mean a GPS reset...............................43 6.2.  Maintenance ................................................................................43 6.2.1 Storage precautions..............................................................44 6.2.2 Accessories and repair precautions.......................................44
 7 Chapter 1    Features and Specifications 1.1. RoyalTek RN5 PND features The RoyalTek RN5 Portable Navigation Device is a powerful multifunction GPS/multimedia navigation and entertainment device.  • Compact size and lightweight • Integrated GPS receiver for GPS navigation • High-resolution color LCD • 4.3” wide touch screen with 480 x 272 x 16 bits • Multimedia functionality with high performance processor  1.2. RN5 Specifications  Table 1: RN5 dimensions and specifications  Category  Item Chassis Dimension  123.5*81.9*14.8 mm Weight  180g Specifications Operating Temperature: 0  ℃  to +55  ℃   Storage Temperature:-20  ℃  to + 70  ℃ Battery charge Temperature: 0  ℃  to +40  ℃ System OS  Windows CE 5.0 Core Version Storage  2GB MLC NAND Flash Memory  64MB Mobile DDR SDRAM Display Screen Type  TFT, Touch Panel Screen Size  4.3” Resolution  WQVGA 480* 272   Backlight  Yes, brightness with TSP 280 nits typical Touch Panel  Yes, (Finger Tapped)
 8  Category  Item Battery General  930mAh, Li-ion Battery Recharge Time Power On (charged by Car Charger) About 4 hours charge from empty to full.   Power OFF (charged by USB or Car Charger) About 4 hours charge from empty to full. Audio Earphone  Yes (option) Speaker  1.0W mono speaker Hardware    Button\Slot Micro SD  Supports Micro SD Battery switch  On/ Off USB USB solution    USB 2.0 device with supporting mass storage( High Speed)
 9 Chapter 2  Getting Started This chapter describes the hardware interface of the RoyalTek RN5 and  its peripherals. Instructions for setting up the device and some basic system operations are also discussed.  NOTE: Although the RN5 rechargeable Li-Polymer battery comes approximately 30% charged, before using,  it is best  to  connect  the  AC  adapter (Optional  Accessory) or USB  cable  by  PC connect  and  plug  to  power  socket  and  fully  charge  the  battery.  The  ON/OFF  button  will be orange when charging and green when change done.  2.1. Hardware Overview  This section introduces the RN5 PND external features and hardware components.  2.1.1  Packing list  The RoyalTek RN5 box contains all of the items listed below:  RN5 Portable Navigation Device                 Car mount                                                            Car holder
 10   Car charger                  USB cable (Option Accessory)                                            Earphone (Option Accessory)            AC adaptor (Option Accessory)                                    Dashboard (Option Accessory)                                    Portable Navigation Device Application Software DVD.                          Portable  Navigation  Device  Quick  Start  Guide.      Portable  Navigation  Device  Warranty statement.
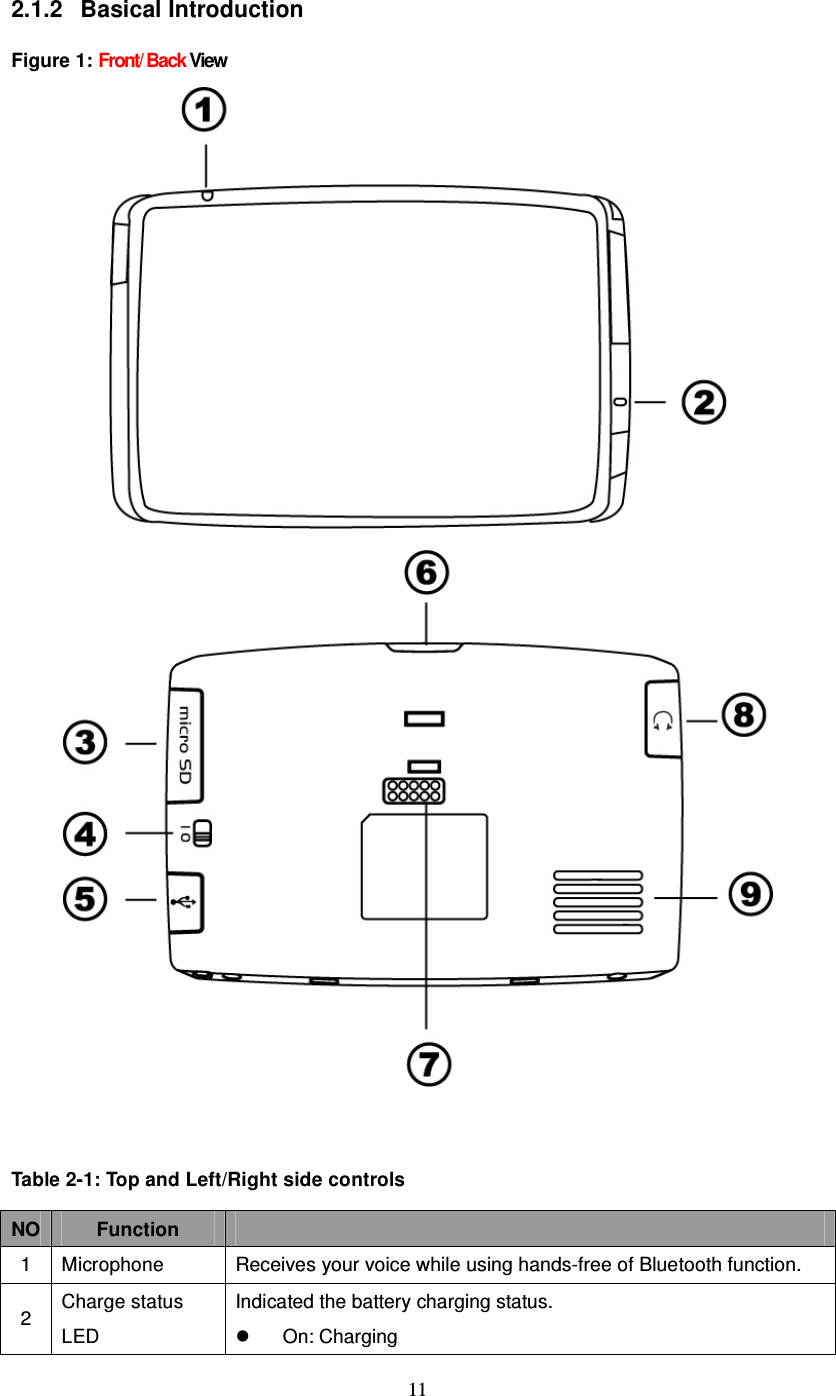
 11 2.1.2  Basical Introduction  Figure 1: Front/ Back View       Table 2-1: Top and Left/Right side controls  NO Function   1 Microphone  Receives your voice while using hands-free of Bluetooth function. 2 Charge status LED Indicated the battery charging status.   On: Charging
 12   Off: Charging down  3  Micro SD Accepts Micro SD storage cards, allows you to use audio, image files stored in it for using internal applications. 4 Battery Switch On/ Off 5 Mini-USB port   the  mini-USB  connector  of  the  main device  can be  used to  charge power or upload files from computers.  6 Power Button Standby mode by pressing the button for sleep/wake. 7 I/O port of Car Holder I/O port while connecting with car holders. 8  Earphone  Standard stereo headphone jack.
 13  2.1.3  How to Use Car holder  Figure 2: Car holder side views       Table 2-2: Car holder    No Function   1 USB Port/Docking connector The mini-USB connector of car cradle can be used to charge power only.  Warning: The mini-USB connector is only for charging, not for files(data) transition.   2.2. How to Use mounting bracket.  The RN5 comes with a car mount kit and a car charger to help install your device in your vehicle. The car mount kit uses a suction cup on the windshield to offer flexible mounting options for the RN5.  Warning: Some countries prohibit the mounting of any electronic device on the vehicle dashboard. Be sure to check your local laws for acceptable mounting areas before installing the car mount bracket.  This section shows how to install the car mount kit in your vehicle’s windshield using the suction cup. The RN5 uses a snap on mounting cradle to use when the device attaches to the car mount. Below is the backside view of the RN5 in the cradle.  1. Clean the mounting surface with a glass cleaner and a clean cotton cloth. 2. If the ambient temperature is below +15°C (60°F), you can warm the mounting area and the suction cup (e.g. with a hair dryer) to ensure a strong suction bond. 3. Install the car mount on the selected area.   a. Press the suction cup of the car mount firmly against to the windshield.    (See Figure 2-3-1) b. Press down the lever to fix the suction cup in place.
 14 c. Adjust the angles of the arm to your proper viewing position.         Figure 2-3-1 4. Mounting the device holder with your RN5. a. Fit RN5 down in the device holder first, and then lock it using the plugs on the bottom of the device holder. (See Figure2-3-2) b. Firmly lock the RN5 with device holder on the car mount which has been mounted to your windscreen.(See Figure2-3-3)    Figure 2-3-2
 15  Figure 2-3-3 5.  Charging your RN5 device. a. Plug the car charger to the 12 V outlet of your car and then connect the charger cable to the Mini USB port of the RN5 car holder;Please make sure the battery switch status in “ON” mode. (See Figure 2-3-4) b. now You can let your RN5 have the continuous power by the car charger.      Figure 2-3-4    NOTE:Your car may be required to switch the vehicle ignition into the accessories position to power the cigarette lighter. Your NS-4102 will not charge with the ignition off.
 16      6.  Starting your RN5 a.  Push the battery switch ON.(Default status OFF), and then the main menu screen appears. b.  Tap Navigation, you will see the map screen displayed. c.  Please read the User’s Guide of Navigation software for the detail setting information. Please be noted, the first time turning on your RN5 may take some time to obtain a valid GPS fix.    2.3. Resetting the RN5 Device In the normal situation, unnecessary to reset your RN5. However, in the event that a problem cannot be corrected, you may reset the RN5 device by the following way: Hard reset: •  To do a “Hard reset” Disconnect all cables, including the AC adapter, from your device.   By sliding the hard reset switch on the primary ON/OFF switch on the back side of the device from OFF to ON position.    NOTE:In some condition of charging NS-4102, if room temp. is over 35 degree C, PND might not be charged because of internal heat protection.    After a while, internal heat is decreasing, then NS-4102 can be charged again.
 17  Chapter 3    Start to Use RN5 After fully charging the RN5 it is ready to be used. You can now turn it on and proceed to system settings configuration.  3.1. Turn on the device  1.  Sliding the battery switch to “ON”. (Default status OFF)   After turning on the device, main page will display. This is also referred to the Favorite page.    3.2. Configure system settings If you intend to start using your RN5 at once, we recommend that you configure the language and time zone settings first. The rest of the user preferences can be set up later. 1.  Tap “System” in the right category bar
 18 .  2.  Tap “Language” on the System page.  3.  It will display current language in central area.  4.  To drag wheel scroll language tags.   5.  To set the system time zone, tap “Time Zone” in System Menu.
 19 6. Tap the  icon to set up the function of daylight saving s time. a.   represent enable the function of daylight savings time. b.   represent disable the function of daylight savings time. 7.  Drag the Map to adjust the time zone.   3.3. How to Use System settings Other system settings can be used to view and adjust your device current preferences. Navigate from the System Menu.   3.4. Reset   GPS Reset::When user wonder if GPS receiver perform properly or not .( ex : Change the region)   Factory Reset:The factory reset function not only resets the operating system settings to default factory values, but also reset the GPS settings.   Calibration:When the touch screen does not respond well, calibrate the screen of your device.  1  Tap the “Reset” icon in the System Menu.
 20  2  Tap the “GPS Reset” icon in the Reset Menu. . 3  Tap the “YES” to reset the GPS.   4  Tap the “Factory Reset” icon in the Reset Menu.  5  Tap the “YES” to do the Factory Reset.
 21  6  Tap the “Calibration” icon in the Reset Menu.  7  Tap on the center of the target. Repeat as the target moves around the screen.    3.5. System Information 1. Tap the Sys Info. icon in the System Menu.
 22 2.  You can view the OS version, GPS firmware version and other system information..   3.6. Volume 1. Tap the Volume icon in the System Menu.   2.  Adjust the volume by dragging the wheel. 3.  Dragging to left will become mute, and opposite will become larger.   3.7. Backlight 1.  Tap the Backlight icon in the System Menu.
 23  2.  Adjust the Backlight brightness by dragging triangle icon. 3.  Dragging to left will become darker; dragging to right will become lighter.   3.8. Set a favorite application category: In  order  to  provide  more  organized  and friendly  application  management  interface  for  users organizing their own favorite application category by drag-and-drop, but the maximum number of favorite application shortcut is six.  3.8.1  Add icons to the favorite page  1.  Drag the icon to the category bar of favorite category.    2.  That will show the icon in favorite page.
 24   3.8.2  Delete icon to the favorite page  1.  Drag the icon from Favorite page to category bar and drop it. Confirm dialog will pop up, just tap “YES” to delete.    3.9. Power Supply RN5 has a completive power management system, and enhances its standby time. In addition, it can make end-users more convenient to carry it for entertainment purpose, not only using in cars but also at home, outdoor activities.  3.9.1  Charge While end-users use our standard car charger or AC adapter to charge RN5, the main screen would remind you.
 25   3.9.2  Discharge While end-users remove out our standard car charger or AC adapter, the main screen would remind you to turn off RN5 or not.   3.9.3  Power outage While battery capacity is lower than 20%, the main screen would remind end-users the following message.
 26  Chapter 4  Entertainment 4.1. RN5 Multimedia Player RN5 is a fully capable multimedia player that can enhance your portable entertainment. In addition to its navigating function, RN5 is also a mobile entertainment tool to let you enjoy digital music, view photos. These functions make RN5 a true multimedia device.  To enable access of multimedia files from your PC folders, there are two ways to do: • Copy multimedia files into a micro SD card from your PC, and then insert this micro SD card into RN5. •Insert micro SD card and connect USB cable from PC to RN5, and then directly copy multimedia files from PC to RN5
 27   It is recommended to organize files into subfolders. These folders will make files easier to find and play.  4.2. Music player Enjoy your favorite music on the road. The program features: • Support to MP3 files (MP3, WMA format) • Auto-scan supported files in the device’s Micro SD card • Separate volume control enabling you to adjust the playback sound level while retaining the volume level set for system sounds Each sub directory containing compatible music files is treated as an individual playlist. For a more organized file search, it is advisable to name sub directories based on listening preferences.  1. Tap “Music” icon in the Main Menu.     NOTE: You can also enter the music player by entering        ○1 ○2  ○3  ○4  ○5
 28  Table 4-2-1: MP3 player functions  NO Function   1  Return  Return to list page 2  Songs  List all song by alphabet 3  Album  List all albums by alphabet. 4  Artist  List all Artists by alphabet 5  Search  Current play list
 29 2.  Tap a song on the music list.  `  3.  Tap bottom information bar will switch to song’s progress.            Table 4-3-2-2: Play sound functions  ○1 ○2  ○3  ○4  ○5   ○6 ○7 ○8 ○9
 30 NO Function   1   Play/Pause  P/ay/Pause song 2   Forward  Forward to next song. 3   Previous  Reword to previous song 4   Stop  Stop music play. 5   Repeat  Repeat play songs. 6   Random  Random play songs. 7   Sound bar  To adjust the sound. 8   Bottom info. bar No even: This place will scroll song’s name and total play time. Tap: Tap this bar. Will switch to song’s progress.  9   Return  Return to list page.   4.3. Photo Viewer RN5 has a great photo viewer option that makes it easy to share and view digital photos anywhere you like. The program features:  • Support for JPEG files (Support Max. 500 photos) • Auto-scanning of supported files in the device’s Micro SD card • Three viewing modes: Thumbnail, Full Screen, and Slide Show • Album support based on sub-directory contents  Each subdirectory can hold multiple images and be used as an individual album. For a more organized file search, it is advisable to sort image files into sub directories based on meaningful name or date. An example could be “summer vacation pictures” or “New baby” or “2005 Best.”  4.3.1.  View files in Slide Show mode You have the option to view images in a slide show much like viewing a Power- Point presentation in your computer. Images are adjusted to fit the entire display area and are shown in a 5-second interval.  4.3.2.  Use the Photo Album
 31  1. Tap “Photo” icon in the Main Menu.   2. List all thumbnails in SD card.  3. Dragging upward or downwards to make photo move to next or previous page.    4.  Tap specific thumbnail will enlarge thumbnail.    5.  Tap the screen will display control bar display
 32           Table 4-3-4-1: Photo Album Viewer  NO Function   1   Return  Return to thumbnail page 2   Previous page  Display previous photo. 3   Auto Play mode Auto play all photos. 4   Next page  Display next photo. 5   Rotate Rotate photo  ○1 ○5 ○2       ○3         ○4
 33  4.4. Video Player Video Player is a very unique function in RN5, which can make end-users enjoy your DIY video via this device. The program features:  • Support MP4 files (including mp4, mv4, 3gp, m4a and avi formate, but Maximum 500 files) • Auto-scanning of supported files in the device’s Micro SD card • Three viewing modes: Thumbnail, Full Screen, and Slide Show • Album support based on sub-directory contents  4.4.1.  Use Video Player  1. Tap “Video” icon in the Main Menu.              2. Tap “Accept” icon to enter Video Player function screen, or tap “Cancel” not to enter into.   3. Tap “File Manager” to choose a file, which you would like to play.
 34     4. Tap “Play” to play the file which you choose.   Table 4-4-1-1: Video Player Display  NO Function   1   Play  Play a video file 2  Pause  Pause to play a video file 3   Forward   4   Downward  5   Volume down  Turn down volume
 35 6   Volume up Turn up volume 7   File Manager  List video files 8  Progress bar Show playing progress  (Tap or drag  to  control  playing progress) 9   Return  Return to the previous page  4.5. Listen MP3 via Car Audio/Stereo (FM Transmitter) RN5 has a great music-player-supported function that makes you play MP3 files via your car audio/stereo.   • Set FM frequency range from 88.2 to 107.8Mhz  4.5.1  Turn on FM Transmitter frequency 1. Tap the Volume icon in the System Menu. 2. Tap “FM” to open FM Transmitter function    3. Set FM frequency 88.2 MHz in your car radio. 4.  Play “Music Player”, “Video player” or “Navigation”, and audio will be come out from your car radio.     Table 4-4-1-1: FM Transmitter Setting NO Function  Description 1   FM Transmitter Open FM Transmitter function NOTE:there is a sign to remind end-user that FM Transmitter function is open on the main menu.
 36 2   Stop  Stop FM Transmitter function 3  Frequency  Set frequency (Default: 88.2 MHz)   4.5.2  Change FM Transmitter frequency  1. Tap frequency entry    2. Set the frequency number, and tap “Enter”   3. Set the same frequency number to make your car radio receive audio from RN5.  Table 4-4-2-1: FM Frequency Setting  NO Function  Description 1   Delete  Delete frequency number 2   Enter  Implement this frequency number    NOTE:FM Frequency can only set from 88.2 to 107.8Mhz.
 37 Chapter 5    Communications 5.1. RN5 Bluetooth   Once your Bluetooth-enabled mobile phone is paired with your RN5, you can make hands-free phone calls through your RN5’s integrated micro- phone and speaker. RN5 makes it easy to make and receive phones calls with ease while end-users drive cars. Hands-free calling keeps things safe, letting you keep your eyes on the road, while your RN5 integrates seamlessly with your mobile phone. Easy to connect and use, just follow a few quick steps to enjoy the benefits of Hands- free calling. (That is option function) 5.2. Connection      5.3. Mobile phone connection 1.  Tap “Settings” to turn on Bluetooth function, and end-users can also turn on “Automatic Answer” while the mobile phone is ringing.    1. Back to “Communication” screen, and tap “Connection” NOTE:Make sure the Bluetooth settings of your mobile phone. - The Bluetooth switch is set to “ON” or “enable”. - The visibility is set to “Discoverable”, “Show my phone”, (For more detailed information, see your phone’s manual.) NOTE:”Automatic Answer Time” can be set three mode “3sec.”, “10sec.”, and “30sec.”
 38   2.  Tap “Search” to look for Bluetooth on of mobile phones, and     3.  Choose one which you want to connect to, and tap “Connection”              4.  Choose “HFP”               5.  The mobile phone will often require you to enter a password to connect the device. Enter
 39 “0000” on the mobile phone in this case. 6.  When the connection completes, the name of the connected phone is displayed on the title bar of the “communications” screen.             5.4. Call Out (Hands – free Calling)  1.  Tap “Call-out” screen is as follows:              2.  Call-out              No.  Name  Description 1   Start to make a call. 2  History  Call-out from the history of the incoming /outgoing call 3  Contacts  Call-out from the contacts. In detail, refer to 4.3. NOTE:If the connected mobile phone has the Bluetooth auto-accept function, set this function to “NO”  (For more detailed information, see your phone’s manual. ○1 ○2 ○3 NOTE:Bluetooth function has distance limitation.    While the mobile phone is away, and make Bluetooth function disconnect, NS-4102 would try to re-connect within 10 seconds. NOTE:  While end-user is turning on FM Transmitter and Bluetooth Hands-free function (connecting with a cell phone), call conversation would still come out from NS-4102 speaker, not from car audio/stereo.
 40   3.  Call-out (in a phone call)               No.  Name  Description 4   Close a phone call.  4.  Receiving a call (1) When the connected mobile phone receives a call, the caller’s phone number and two buttons are displayed on the screen.   (2) Receive a call, tap ; Quit a call, tap .  5.5. Contacts (Import phonebooks)  1. Tap “Contacts” screen is as follows: ○4
 41   2. Tap “Import” to import the contact information from the connected mobile phone.
 42  Chapter 6    Troubleshooting and Maintenance    6.1. General troubleshooting  6.1.1  If your device does not respond, do a “hard reset.”  Do a “hard reset,” Disconnect all cables, including the AC adapter, from your device.     Switch “Battery  Switch”  on  the  back  side  of  the  device  form  OFF  to  ON position then tap the power button.  6.1.2  Users can also perform a “system reset.”   Do a “system reset,” in the Main menu, tap System, then tap System Info. This will allow you to do a factory reset (restore to default set tings), reset the GPS status and recalibrate the touch screen interface.   6.1.3  Screen responds slowly   Make sure you have enough battery power.  6.1.4  Inaccurate response to tap on touch screen.   Recalibrate the touch screen.   6.1.5  Connection Problems with PC.   Make  sure  that  the  cable  is  securely  plugged  into  the  USB  port  on  your computer  and  on  the  device.  Connect  the  USB  cable  directly  to  your computer—do not use the cable through a USB hub.   Reset  your  device  before  connecting  the  cable.  Always  disconnect  your device before you restart your computer.  6.1.6  No GPS connection   Make sure RN5 is put near car windshield or no obstacle on its top.   Note that the GPS reception can be affected by:   Bad weather   Dense overhead obstacles (e.g. trees and tall buildings)   Other wireless devices in the car
 43 6.1.7  No sound coming from the device.   Make sure mute is not selected for Volume in system settings. The built-in speaker turns off when the headphone jack is being used.  6.1.8  Cannot see photos.   Make sure you are using supported image formats JPG.   6.1.9  Take longer than normal time to get a GPS fix.   If the previous GPS fix position was more than 500 km or 12 hours apart from your current position and time, it will also take significantly longer than the standard TTFF time to get a GPS fix. This is due to the nature of the GPS  algorithm  and  rotational  velocity  between  the  satellites  and  planet Earth, and deemed normal.   Perform a GPS reset in the main/system/system info menu to get a faster GPS fix.   6.1.10 Factory reset does mean a GPS reset.   Yes.  The  Factory  Reset  function  resets  the  OS  settings  to  their  default factory values and it will reset the GPS settings.  6.2. Maintenance   Avoid exposing your device to direct sunlight or strong ultraviolet light for extended periods of time.   Do not drop your device or subject it to severe shock.   Do  not  subject  your  device  to  sudden  and  severe  temperature  changes. This  could  cause  moisture  condensation  inside  the  unit,  which  could damage  your  device.  In  the  event  of  moisture  condensation,  allow  the device to dry out completely before use.   The  screen  surface  can  be  easily  scratched.  Sharp  objects  may  scratch the  screen.  You  may  use  non-adhesive  generic  screen  protectors designed specifically for use on portable devices with LCD panels to help protect the screen from minor scratches.   Never clean your device with it powered on.   Never use organic solvents such as benzene or paint thinner to clean your device. Use of these solvents can cause deformation or discoloration.   Use a soft, clean, lint-free cloth to clean the display screen. Moistened   LCD screen wipes could also be used as required.
 44   Never  attempt  to  disassemble,  repair  or  make  any  modifications  to  your device.  Disassembly,  modification  or  any  attempt  at  repair  could  cause damage to your device and even bodily injury or property damage and will void any warranty.  6.2.1  Storage precautions   Do  not  store  your  device  anywhere  it  may  be  exposed  to  water  or  in conditions of high humidity.   When  the  device  is  not  in  use  for  an  extended  period  of  time,  bring  it indoors and store it in cool dry area.   6.2.2  Accessories and repair precautions   Only  authorized  accessories  should  be  use  with  the  device.  The  use  of incompatible accessories could result in bodily injury and/or damage to the device.   The use of unauthorized accessories will also void your warranty.   Never  attempt  to  disassemble,  repair  or  make  any  modification  to  your device.

Navigation menu