Sony Electronics CMDM4 DUAL MODE CELLULAR PHONE (AMPS/CDMA) User Manual USERS MANUAL
Sony Electronics Inc DUAL MODE CELLULAR PHONE (AMPS/CDMA) USERS MANUAL
Contents
- 1. USERS MANUAL
- 2. Users Manual Safety and Specs Pages
USERS MANUAL

Operating Instructions
CM-M1300
CM-M2300
CM-M3300
Digital Portable
Cellular Telephone
3-861-740-11 (2)
80-68301-1 Rev A
CM-M1300_01_07final 3/2/98, 11:40 AM1

2
Before operating the your portable telephone, please read this manual thoroughly
and retain it for future reference.
If your usage includes in-vehicle operation, it is recommended that you refer to the
Installation/Connections/Operation manual for the optional accessory kits.
WARNING
To prevent fire or shock hazard, do not expose the unit to rain or moisture.
FCC CAUTION STATEMENT
You are cautioned that any changes or modifications not expressly approved in this
manual could void your authority to operate this equipment.
Owner’s record
The model number, regulatory number, and serial number are located on a
nameplate inside the battery compartment. Record the serial number in the space
provided below. Refer to these numbers whenever you call your dealer regarding
this product.
Model No.: ___________________ Serial No.: _________________
DISPOSAL OF LITHIUM ION BATTERY
LITHIUM ION BATTERY.
DISPOSE OF PROPERLY.
You can return your unwanted lithium ion batteries to your nearest Sony Service
Center or Factory Service Center.
Note: In some areas the disposal of lithium ion batteries in household or business
trash may be prohibited.
For the Sony Service Center nearest you call 1-800-222-SONY (United States only).
For the Sony Factory Service Center nearest you call 416-499-SONY (Canada only).
®
©1997 Sony Electronics Inc. All rights reserved. Reproduction without written consent expressly
prohibited. Sony and Jog Dial are trademarks of Sony. All other trademarks are the property of
their respective owners. Design and specifications are subject to change without notice. Talk
and standby times are subject to change.
CM-M1300_01_07final 3/2/98, 11:40 AM2

3
Rules and regulations
The U.S. Federal Communications
Commission and the Industry Canada
regulate cellular telephone service in
their respective countries. It is
important for you, the cellular
telephone user, to observe the
applicable regulations when operating
your cellular telephone in either
country. In addition to these U.S. and
Canadian federal regulations, you may
be bound also by certain state,
provincial, territorial, and local rules
and regulations, as well as by your
cellular carrier’s tariff (the rates, terms,
and conditions of its service). If you
wish to use your cellular telephone in
both the U.S. and Canada, please
consult with your System Operator.
Furthermore, you should remember that
your cellular telephone is a
radiotelephone, — i.e., it combines both
wireline technology, as used in your
home or office telephone system, and
radio technology — and that the scope
of regulations and precautions is
therefore broader than the scope of
regulations and precautions relating to
wireline-only telephone usage.
Some of the major points of
consideration are set out below. Please
note, however, that these “Rules and
Regulations" and "Safety Precautions”
sections do not constitute legal advice,
and are intended merely for general
information purposes. If you have
specific questions, please contact your
cellular carrier (System Operator).
License — If your home system is in the
U.S., you do not require a separate
license to operate your cellular
telephone; obtaining a cellular
telephone access number is sufficient to
register you as a user. If your home
system is in Canada, a separate license
is required; your carrier will assist you
in the licensing process. If you wish to
use your cellular phone on both sides of
the border, please contact your cellular
carrier (System Operator).
Equipment modifications — The U.S.
Federal Communications Commission
has type-approved the model of cellular
telephone which you have purchased,
and has allocated a specific frequency
range for cellular service. No changes or
adjustments are to be made to your
cellular telephone.
The radio equipment shall be made
available for inspection upon request by
representatives of the FCC or licensees.
Denial of service — A cellular carrier
may deny service temporarily or
terminate service for violation of any
government regulations or violation of
its tariff.
Privacy — As a telephone user, you have
come to assume a certain standard of
privacy when you place or receive a
telephone call via the traditional wireline
systems. However, because cellular
telephones utilize radio transmissions to
effect calls, the same standard cannot
always be assured. While it is unlawful
for any unauthorized person to divulge
or use any information obtained from
intercepting or “listening in on”
conversations intended for others, you
should not assume that your
conversation is completely secure.
Commercially available scanning
equipment can permit a third party to
monitor the radio channels used for
cellular telephone calls.
Interference — No person shall
interfere with, or cause interference to,
any radio communication or signal.
CM-M1300_01_07final 3/2/98, 11:40 AM3

4
The Institute of Electrical and
Electronics Engineers (IEEE) in 1991,
and The American National Standards
Institute (ANSI) in 1992, updated the
1982 ANSI Standard for safety levels
with respect to human exposure to RF
energy. Over 120 scientists, engineers,
and physicians from universities,
government health agencies, and
industry, reviewed the available
research and developed this updated
Standard. In March 1993, the U.S.
Federal Communications Commission
(FCC) proposed the adoption of this
updated Standard.
The design of your phone complies with
this updated Standard. Of course, if you
want to limit RF exposure even further
than the updated ANSI Standard, you
may choose to control the duration of
your calls and operate your phone in
the most power efficient manner.
Efficient phone operation
For your phone to operate at the lowest
power level consistent with satisfactory
call quality, please observe the
following guidelines:
Your phone has an extendable antenna;
extend it fully whenever possible for
maximum efficiency.
Hold the phone as you would any other
telephone. While speaking directly into
the mouthpiece, position the antenna up
and over your shoulder.
Do not hold the antenna when the
phone is in use. Holding the antenna
affects call quality and may cause the
phone to operate at a higher power level
than needed.
Safety precautions
IMPORTANT
For safe and efficient operation of
your phone, observe these guidelines.
Your dual mode (analog/digital
CDMA) hand-held portable cellular
telephone uses both analog frequency
modulation (FM) technology and digital
Code Division Multiple Access (CDMA)
technology. CDMA is a newer radio
frequency (RF) technology than the FM
technology that has been used for radio
communications for decades.
Your dual mode portable cellular
telephone is a radio transmitter and
receiver. When the phone is ON, it
receives and sends out radio frequency
(RF) energy. The phone operates in the
frequency range of 824 MHz to 894
MHz. When you use your phone, the
cellular system handling your call
controls the mode of operation (analog
or digital CDMA) and the power level
at which your phone transmits. In the
analog mode, the power is continuously
transmitted at a level that can range
from about 6 mW to about 600 mW. In
the digital CDMA mode, the power is
transmitted as a digitally coded
waveform at a rate varying from 100 Hz
to 800 Hz. The average power can range
from about 0.01 µW to about 300 mW.
Exposure to radio frequency
energy
Research on health effects from RF
energy has focused for many years on
FM radio technology. That research and
studies regarding newer radio
technologies, such as CDMA, have
found no credible scientific evidence
that adverse health effects result from
the use of cellular telephones.
CM-M1300_01_07final 3/2/98, 11:40 AM4

5
Antenna care and replacement
Do not use the phone with a damaged
antenna. If a damaged antenna comes
into contact with the skin, a minor burn
may result. Replace a damaged antenna
immediately. Take your phone to an
authorized service center for repair.
Use only the supplied or approved
antenna. Unauthorized antennas,
modifications, or attachments could
impair call quality, damage the phone,
and violate FCC regulations.
Driving
Check the laws and regulations on the use
of cellular telephones in the areas where
you drive. Always obey them. Also, when
using your phone while driving, please:
• pay full attention to driving;
• use hands-free operation, if available;
• pull off the road and park before
making or answering a call, if driving
conditions so require.
Electronic devices
Most modern electronic equipment is
shielded from RF energy. However, RF
energy from cellular telephones may
affect some electronic equipment.
RF energy may affect improperly
installed or inadequately shielded
electronic operating and entertainment
systems in motor vehicles. Check with
the manufacturer or its representative to
determine if these systems are
adequately shielded from external RF
energy. You should also check with the
manufacturer of any equipment that has
been added to your vehicle.
Medical devices
Consult the manufacturer of any
personal medical devices (such as
pacemakers, hearing aids, etc.) to
determine if they are adequately
shielded from external RF energy. Your
physician may be able to assist you in
obtaining this information.
Turn your phone OFF in health care
facilities when regulations posted in the
areas instruct you to do so. Hospitals or
health care facilities may be using
equipment that could be sensitive to
external RF energy.
Aircraft
Turn your phone OFF before boarding
any aircraft.
• Use it on the ground only with crew
permission.
• Do not use in the air.
To prevent possible interference with
aircraft systems, U.S. Federal Aviation
Administration (FAA) regulations
require you to have permission from a
crew member to use your phone while
the plane is on the ground. To prevent
interference with
aircraft communication
systems, FCC regulations prohibit using
your phone while the plane is in the air.
Children
Do not allow children to play with your
phone. It is not a toy. Children could
hurt themselves or others (by poking
themselves or others in the eye with the
antenna, for example). Children also
could damage the phone or make calls
that increase your telephone bills.
Blasting areas
To avoid interfering with blasting
operations, turn your unit OFF when in
a “blasting area” or in areas posted:
“Turn off two-way radio.” Construction
crews often use remote control RF
devices to set off explosives.
CM-M1300_01_07final 3/2/98, 11:40 AM5

6
Potentially explosive atmospheres
Turn your phone OFF when in any area
with a potentially explosive
atmosphere. It is rare, but your phone or
its accessories could generate sparks.
Sparks in such areas could cause an
explosion or fire resulting in bodily
injury or even death.
Areas with a potentially explosive
atmosphere are often, but not always,
clearly marked. They include fueling
areas such as gas stations; below deck on
boats; fuel or chemical transfer or
storage facilities; areas where the air
contains chemicals or particles, such as
grain, dust, or metal powders; and any
other area where you would normally be
advised to turn off your vehicle’s engine.
Do not transport or store flammable gas,
liquid, or explosives in the compartment
of your vehicle which contains your
phone or accessories.
In the United States, vehicles using
liquefied petroleum gas (such as
propane or butane) must comply with
the National Fire Protection Standard
(NFPA-58). For a copy of this standard,
contact the National Fire Protection
Association, One Batterymarch Park,
Quincy, MA 02269, Attn: Publication
Sales Division.
In Canada, vehicles using liquefied
petroleum gas (such as propane or
butane) must comply with the Canadian
Gas Association (CAN/CGS-B149.2).
For a copy of this standard, contact the
Canadian Standards Association, 178
Rexdale Blvd., Etobicoke, ON M9W 1R3,
Attn: Standard Sales Department.
CM-M1300_01_07final 3/2/98, 11:40 AM6

7
Basic
Operations Getting StartedQuick Ways
to Make Calls
Advanced
Features
Additional
Information
Table of contents
Rules and regulations ................................................................ 3
Safety precautions ...................................................................... 4
Unpacking your phone .............................................................. 8
Looking at your phone ............................................................ 10
Charging the battery pack ....................................................... 13
Turning the phone on ............................................................... 16
Using the Jog Dial™ navigator ............................................... 17
Making calls .............................................................................. 18
Receiving calls ........................................................................... 20
Storing phone numbers in the Phone Book .......................... 22
Calling from the Phone Book .................................................. 28
Searching the Phone Book ....................................................... 30
Calling from the Calls List....................................................... 33
Sending DTMF signals from the Phone Book ...................... 35
About the Features menu ........................................................ 36
Adjusting the volume .............................................................. 38
Checking and setting the timers ............................................. 42
Using the Directory .................................................................. 44
Miscellaneous extra features ................................................... 50
Setting security options ........................................................... 53
Setting display options ............................................................ 58
Adjusting network settings ..................................................... 62
Using the Short Messaging Service........................................ 67
Troubleshooting ........................................................................ 74
List of menu items .................................................................... 75
Specifications............................................................................. 77
Glossary ..................................................................................... 78
Index ........................................................................................... 81
Getting Started
Basic
Operations
Quick Ways
to Make Calls
Advanced
Features
Additional
Information
CM-M1300_01_07final 3/2/98, 11:40 AM7

8
Carefully unpack your phone and check the contents using this list.
If there is something missing, please contact your nearest Sony dealer.
Digital Portable QN-003BPLH Hi-Cap Li-Ion
Cellular Telephone (1) Battery Pack (1)
Hand Strap (1) QN-001AC AC Adapter (1)
Unpacking your phone
CM-M1300_08_17final 3/2/98, 11:42 AM8

9
Getting Started
Attaching the hand strap
12
CM-M1300_08_17final 3/2/98, 11:42 AM9

10
Looking at your phone
1
!£
!¢
!¡
0
2
ABC
3
DEF
5
JKL
6
MNO
8
TUV
0
OPER
4
GHI
7
PQ
RS
9
WX
YZ
1
PWRCLR
SEND
9
2
8
6
7
END
!™
5
3
4
CM-M1300_08_17final 3/2/98, 11:42 AM10

11
Getting Started
For further information, refer to the page numbers indicated in parentheses ( ).
9Microphone
0Battery pack release tab (13)
Slide up to remove the battery pack.
!¡ Battery pack (13)
!™
END
button (17, 18, 20)
Press to end calls. Also cancels
operations and returns the phone to
standby mode.
!£
PWR
(power) button (16)
Press to turn the phone on or off.
!¢ Connector (14)
Use to connect the phone to either
the AC adapter, a cigarette lighter
adapter, a desktop charger, or a
hands-free car kit.
Telephone
1Antenna (16)
2Earpiece
3Display (12)
4
SEND
button (18 to 20)
Press to make outgoing calls and to
receive incoming calls.
5Jog Dial™ navigator (17)
Push and turn for menu navigation
and for changing settings on
menus. In this manual, the icon
indicates that you should push the
Jog Dial™ navigator in towards the
center of the phone.
6 (message) button (68)
Press to access messages.
7
CLR
(clear) button (17, 18, 36)
Press to clear the last or all entered
digits on the display, or to exit the
current mode of operation.
8Number buttons, 0 to 9, and
/ buttons (18, 22, 29)
Use the number buttons to enter
letters and numbers. Press and hold
a number button, 0 to 9, for touch
dialing . Use the / buttons
to move the cursor to the right or
left when you are entering letters.
CM-M1300_08_17final 3/2/98, 11:42 AM11

12
5 (roam) icon (62)
Appears when you are roaming
outside your home service area.
6 (message) icon (67)
Appears when you have new text
or voice mail messages pending.
The icon flashes if the new message
is urgent.
7 (battery) icon (14, 15)
Shows the approximate amount of
charge power remaining in the
battery pack. Recharge the battery
pack before it is fully discharged.
8Character display
Prompts various actions, and then
displays the results. It also shows
phone numbers and names.
888
1 2 3 4 5 6 7
8
Display
The top row of the display contains icons that inform you of the current status of
your phone. The bottom four rows of the display are for text such as phone numbers,
names, and operational prompts. Each row displays a maximum of 12 characters.
1Short character display
Shows settings such as the number
of the currently displayed Features
menu, as well as Phone Book and
Calls List memory locations.
2 (in-use) / (out-of-service)
icon (16, 18, 20)
The in-use icon appears during a
call. A slash through the in-use icon
appears when no signal is received.
You cannot make or receive calls
when the out-of-service icon is
visible.
3 (digital) icon
Appears when your phone is
operating in digital (CDMA) mode.
4 (signal strength) icon (16)
Tells you the approximate strength
of the signal being received.
CM-M1300_08_17final 3/2/98, 11:42 AM12

13
Getting Started
Charge the battery before using the phone. A new battery is not fully charged. To
charge the battery, attach the battery pack to the handset, then connect the supplied
AC adapter.
Attaching the battery pack
1Hook the battery pack onto
the bottom of the phone 1,
and ease the battery pack
down 2.
2Attach the battery pack by
pressing down firmly on the
thumb indent.
To remove the battery pack
1Push the battery pack release
tab upwards.
2Lift up the top of the battery
pack 1, and pull it out 2.
Charging the battery pack
1
2
2
1
CM-M1300_08_17final 3/2/98, 11:42 AM13

14
Charging the battery
Connect the AC adapter to the phone and the other end to a standard 120V AC outlet
as illustrated below. The charging time is about 5 hours.
You can charge the battery pack with the phone turned on, but charging will take
longer.
When the power is turned on
The letters “CH” are shown in the upper left corner of the
standby display, and flashes. This indicates that the battery
pack is being charged.
When the battery pack is fully charged, the letters “FCH” appear
instead, and stops flashing.
When the power is turned off
The message “Battery is Charging” is displayed, and flashes.
When the battery pack is fully charged, the message “Charging is
Complete” is displayed, and stops flashing.
Notes
• If you make or receive a call when the battery pack is not charged sufficiently, the call will be
cut off. In that case, you will hear an alarm, indicating that the battery is low.
• You can turn on the phone without the battery pack, but you cannot make or receive a call,
even if you connect the AC adapter to an AC outlet.
----SONY----
12:34P 12/25
:Saved #s
:Features
CH
v
----SONY----
12:34P 12/25
:Saved #s
:Features
FCH
Battery is
Charging
Power is OFF
v
Charging is
Complete
Power is OFF
to an AC outlet
display
to the connector on the phone (the
thumb indent should face upwards)
CM-M1300_08_17final 3/2/98, 11:42 AM14

15
Getting Started
Notes on charging
• When you charge the battery pack, avoid:
– charging for long periods of time, since this reduces battery life.
– charging in temperatures below 32°F (0°C) or over 104°F (40°C).
– charging the battery in direct sunlight or in places with high humidity
(such as a bathroom).
• Do not use any battery pack other than the one specified in these instructions.
• It is normal for the battery pack to become warm during charging or after use.
• The supplied AC adapter is not intended to be serviced. In the event of a
malfunction, it should be replaced.
Notes on the battery pack
• Do not dispose of the battery pack in a fire or short-circuit it. Doing so may cause
the battery pack to leak or get hot, which could cause personal injury.
• Do not try to disassemble the battery pack.
Checking the battery
Battery duration
The battery lasts approximately as long as indicated in the following table.
CDMA mode Analog mode
In standby mode 65 hours 15 hours
In use continuously 4.5 hours 1.6 hours
Battery condition
The battery icon indicates the battery level as follows (when the power is on):
Note that the battery icon displays the approximate charge level and that the
consumption may vary depending on conditions of use, such as ambient
temperature, network coverage, and usage patterns.
When the battery is empty
The battery icon flashes and a warning message is displayed. A beep sounds,
indicating that the battery is low. Shortly thereafter, the phone turns off. Recharge
the battery as soon as possible.
nnn
Full
n n
Empty
CM-M1300_08_17final 3/2/98, 11:42 AM15

16
To use your phone, the power must be turned on. It is preferable
to extend the antenna, since this maximizes signal strength and
minimizes interference.
Extending the antenna
Hold the end of the antenna and pull up until fully extended.
To retract the antenna
Push the antenna down until it is fully retracted.
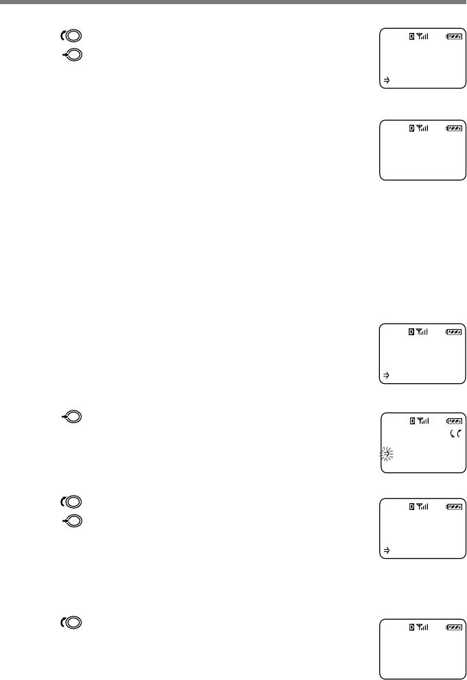
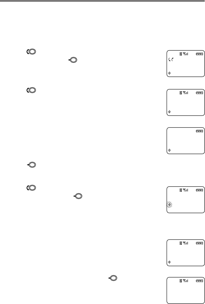
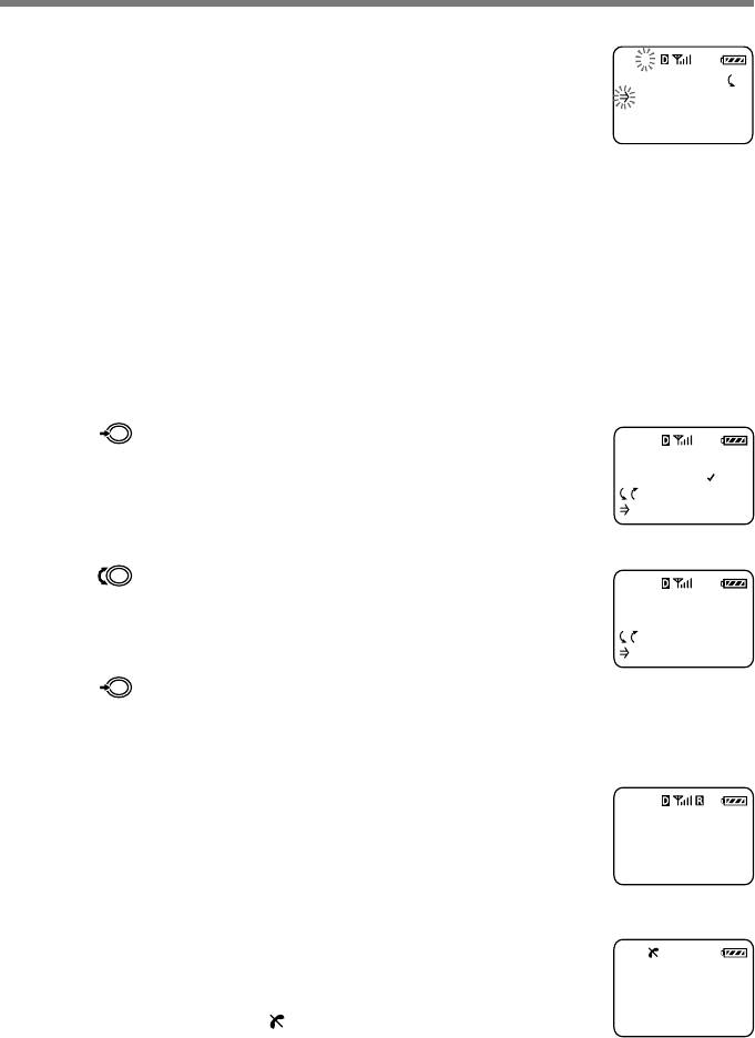
Turning the power on
Hold down
PWR
for about one second. A beep sounds and the
phone starts searching for a signal.
When the phone has found a service signal, the standby display
appears. Now the phone is ready to use.
To check the signal strength
The signal strength icon indicates various levels of signal strength. It is best to make calls
when the signal is strong, although calls can be made when the signal strength is weak.
If you are out of the service area
The out-of-service icon ( ) appears, and the phone searches for a
service signal.
If a signal cannot be found, the phone enters power save mode.
It will “wake up” automatically at intervals (based on carrier
network settings) to search for a service signal.
Turning the power off
Hold down
PWR
for about one second. The following display
appears briefly, then the phone turns off.
Turning the phone on
PWRCLR
SEND END
Looking for
service.....
:Saved #s
:Features
My Phone
12:34P 12/25
:Saved #s
:Features
Strong Weak
Pull up
Looking for
service.....
:Saved #s
:Features
v
POWERING OFF
No Service
available.
Now in power
saving mode.
PWR
CM-M1300_08_17final 3/2/98, 11:42 AM16

17
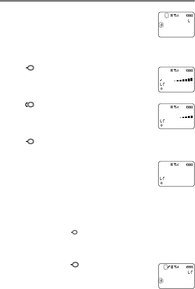
Getting Started
The Jog Dial™ navigator makes it easy to
navigate from one menu to another.
Choosing a menu item
To choose a menu item, push the Jog Dial™ navigator. The flashing arrow ( ) on the
display indicates the item you can select by pushing . As illustrated below, if you
push on the standby display, you will go to the Features menu. If you push
again, you will go to the Sounds menu.
As shown below, if you enter digits on the standby display, the word “Options” appears
at the bottom of the display, preceded by . Push to access the Options menu.
To go back
If you want to go back to the previous display, press
CLR
. If you want to return to
the standby display, either press
END
or hold down
CLR
.
Scrolling through menu items
To scroll through menu items, turn the Jog Dial™ navigator when the icon
appears. The up ( ) and down ( ) arrows on the display indicate the available
scrollable direction. For example, if you turn within the Sounds menu, you will
scroll through the submenu items, as follows:
On the leftmost display, is not shown. This indicates that you cannot scroll up.
(Jog Dial™
navigator)
Using the Jog Dial™ navigator
FEATURES
Sounds
Timers
Directory
F-1
SOUNDS
Ringer Vol
Mute/UnMute
Keybeep Vol
F11
My Phone
12:34P 12/25
:Saved #s
:Features / /
123-456-7890
:Options /
OPTIONS
Find Number
Send
Save
SOUNDS
Ringer Vol
Mute/UnMute
Keybeep Vol
F11
SOUNDS
Ringer Vol
Mute/UnMute
Keybeep Vol
F12
SOUNDS
Mute/UnMute
Keybeep Vol
EarpieceVol
F13
//
2
ABC
3
DEF
1
PWRCLR
SEND
END
CLR
END
Display
CM-M1300_08_17final 3/2/98, 11:42 AM17

18
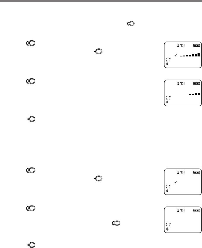
You can call any number up to 32 digits from
within a service area. The out-of-service icon ( )
indicates that you are outside the service area.
In the following example, the phone number to be called is 123-456-7890.
1Use the number buttons to enter the
number.
The following display appears. If you enter the wrong
digit, press
CLR
to back up. To clear all entered digits,
press
END
or hold down
CLR
to return to the standby
display.
2Press
SEND
to dial.
The phone dials the number you have entered.
The icon appears.
When the call is connected, the call timer appears and
displays the elapsed call time.
3Press
END
to end the call when you are
finished.
The icon disappears, and the final elapsed call time
flashes for 10 seconds.
The standby display automatically reappears.
Making calls
123-456-7890
:Options
Calling...
123-456-7890
Time: 0:01
123-456-7890
v
My Phone
12:34P 12/25
:Saved #s
:Features
Time: 1:21
v
2
ABC
3
DEF
5
JKL
6
MNO
8
TUV
0
OPER
4
GHI
7
PQ
RS
9
WX
YZ
1
PWRCLR
SEND
END
SEND
END
CLR
Number buttons
and /
CM-M1300_18_21final 3/2/98, 11:43 AM18

19
Basic
Operations
Tips
• When dialing, you can insert a pause to attach a DTMF (Dual Tone Multiple Frequency)
number to the number you are calling (see page 35 for a description of DTMF).
• If Auto-Hyphen is turned on, the phone number is hyphenated automatically as you enter
the digits (see page 59).
• If Minute Alert is turned on, a beep sounds 10 seconds before every full minute throughout
the call (see page 42).
• Enhanced voice privacy is indicated by the message “–P–” displayed in the upper left corner
of the LCD (see page 64). This feature is carrier-dependent.
To adjust the earpiece volume during a call
Turn up to increase the volume.
Turn down to decrease the volume.
Tip
In addition, you can adjust the volume using the Sounds menu (see page 40).
To mute/unmute the microphone during a call
Push and hold .
Tip
In addition, you can mute the microphone using the Sounds menu (see page 39).
To redial the last number
On the standby display, press
SEND
. The number you dialed last is redialed
automatically.
CM-M1300_18_21final 3/2/98, 11:43 AM19

20
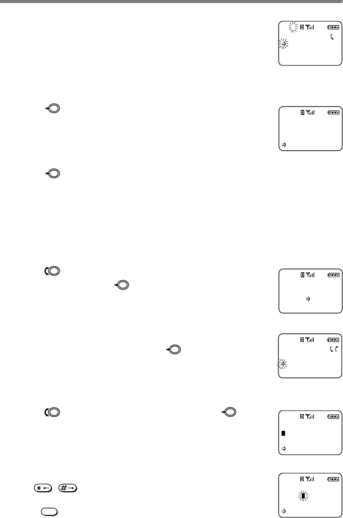
You can receive calls as long as the out-of-service
icon ( ) is not displayed. The icon indicates
that you are outside the service area.
When you receive a call, the ringer sounds and “Incoming Call”
flashes.
Note
If you turn off the ringer volume (see page 38), you will not hear
the ringer sound. The message “–Ringer Off–” is displayed
on the standby display.
1Press
SEND
to answer the call.
When the call is connected, the call timer appears and
displays the elapsed call time.
2Press
END
to end the call when you are
finished.
The icon disappears and the final elapsed call time
flashes for 10 seconds.
The standby display automatically reappears.
Tips
• Using the Jog Dial™ navigator, you can adjust the earpiece volume or mute the microphone
during a call (see page 19).
• Enhanced voice privacy is indicated by the message “–P–” displayed in the upper left corner
of the LCD (see page 64). This feature is carrier-dependent.
• If Any Key Answ is turned on, you can answer the call by pressing any button except
PWR
(see page 52).
Receiving calls
Incoming
Call
My Phone
12:34P 12/25
:Saved #s
:Features
Time: 1:21
v
Time: 0:01
2
ABC
3
DEF
5
JKL
6
MNO
8
TUV
0
OPER
4
GHI
7
PQ
RS
9
WX
YZ
1
PWRCLR
SEND
END
SEND
END
CLR
CM-M1300_18_21final 3/2/98, 11:44 AM20

21
Basic
Operations
If the caller has caller ID
The caller’s phone number appears on the display when you
receive a call, if both the caller and the carrier support this
feature.
If the caller has caller ID and the number matches a Phone Book
entry, the name that you stored with the number (if any) is
displayed also.
If you miss a call
If you miss an incoming call, a message appears similar to the
one in the following display. To return to the standby display,
either press
CLR
,
END
, or . If the caller had caller ID, the
caller’s number is stored in the Calls List (see page 33).
Incoming
Call From
123-456-7890
Incoming
Call From
SONY
123-456-7890
You have
missed
15 calls.
:OK
CM-M1300_18_21final 3/2/98, 11:44 AM21

22
Your phone features a built-in Phone Book
memory, in which you can store up to 99 (01–99)
phone numbers with names. You can dial stored
numbers quickly by recalling them from the
Phone Book (see page 28)
Each phone number can contain up to 32 digits,
and each name up to 12 characters. This section
shows how to store, edit, and erase Phone Book
numbers quickly.
In the following example, the phone number to be stored is 123-456-7890, and the
name is SONY.
1
On the standby display, use the number
buttons to enter the number.
The number appears on the display.
In addition, you can store hyphens, pauses, and links
with your Phone Book entries (see page 24).
2Push .
The Options menu appears.
3Turn to select “Save,” then push .
The following display appears, prompting you for a
name to accompany the number.
4Use the number buttons to enter the name.
If you press the same button in quick succession, the
letter you just entered changes. (See the “Alphanumeric
table” on page 23.) For the next entry, wait until the
cursor moves one step to the right or use / or
to move the cursor and insert spaces between
characters. If you enter the wrong character, press
CLR
to clear the character highlighted by the cursor.
Storing phone numbers in the Phone Book
Enter a Name
S
:Save
Enter a Name
:Save
123-456-7890
:Options
OPTIONS
Find Number
Send
Save
2
ABC
3
DEF
5
JKL
6
MNO
8
TUV
0
OPER
4
GHI
7
PQ
RS
9
WX
YZ
1
PWRCLR
SEND
END
Number
buttons,
/
CLR
CM-M1300_22_35final 3/2/98, 11:46 AM22

23
Quick Ways
to Make Calls
To enter “SONY”
Press
7
RS
PQ
four times to enter an “S.”
Press
6
MNO
three times to enter an “O.” Wait until the cursor
moves one step to the right for the next entry.
Press
6
MNO
twice to enter an “N.”
Press
9
YZ
WX
three times to enter a “Y.”
5When you are finished, push to store
the phone number and name.
A display appears similar to the following. It indicates
the first available memory location.
6Push to store the new number in the
first available memory location.
If you want to store it in another location, turn or
to select the desired location or enter the location
number, then push . A confirmation message
appears, followed by the status of the Phone Book.
Tip
In addition, you can use the Directory menu to store Phone Book numbers (see page 44).
Alphanumeric table
Each time you press a number button, the letters/numbers are cycled as follows:
Button Sequence
1
–“.‘,&():1
2
ABC
ABCabc2
3
DEF
DEFdef3
4
GHI
GHIghi4
5
JKL
JKLjkl5
6
MNO
MNOmno6
7
RS
PQ
PQRSpqrs7
8
TUV
TUVtuv8
9
YZ
WX
WXYZwxyz9
0
OPER
0
Save in
location 15?
:Save
:Other Loc
Enter a Name
SONY
:Save
SONY
has been
stored in
location 15.
L15
PHONE BOOK
LOCATIONS:
21 used
78 empty
v
CM-M1300_22_35final 3/2/98, 11:46 AM23

24
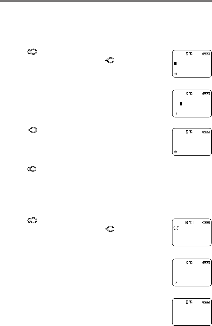
To enter a hyphen, pause, or link
In addition to digits, you can insert hyphens, pauses, and links into the phone
number of a Phone Book entry.
Hyphens: Turn off the phone’s autohyphenation feature (see page 59) when you
want to enter a hyphen manually, e.g., when you store a foreign number.
Pauses: When you want to send DTMF signals (see page 35) for electronic banking,
etc., inserting a pause after the first string of digits makes the phone pause before
dialing the second string. This ensures your counterpart is ready to accept that string.
Links: You can join two or more Phone Book entries (e.g., a doctor’s phone number
and your medical record number). Once you have specified the first entry, you insert
a link. Then you specify the second number by entering its memory location number.
1While entering digits, push .
The Options menu appears.
2Turn to select the information you
want to enter and push .
After inserting a hyphen, pause, or link, the display
returns to number entry mode.
To enter Select The display shows
a hyphen Enter Hyphen –
a pause Enter Pause P
a link Enter Link L
If the Phone Book is full
If no memory locations are available, the following display
appears.
After entering a name, the following display appears, prompting
you to specify a memory slot to overwrite.
To cancel, hold down
CLR
.
Editing stored information
You can edit the name, phone number, and memory location of specific entries
stored in the Phone Book.
1On the standby display, turn once.
The Saved #s display appears.
Memory Full!
No more
Phone Book
entries open
Save in
location _?
Memory Full,
Enter loc. #
123
:Options
OPTIONS
Find Number
Send
Save
SAVED #S
:Calls List
:Phone Book
:Find Name
CM-M1300_22_35final 3/2/98, 11:46 AM24

25
Quick Ways
to Make Calls
2Turn down to select “Phone Book.”
The first entry in the Phone Book appears.
3Turn to select the entry that contains
the information you want to edit.
The contents of the selected memory location are
displayed.
4Push .
The Options menu appears.
5Turn to select “Edit,” then push .
The Edit menu appears.
6Turn to select the item you want to
edit, then push .
The stored information that corresponds to the selected
item appears.
To change Select
the name Name
the phone number Phone #
the memory location Location #
7Enter the new information.
Enter new information the same way you stored
original information (see page 22).
The old information is overwritten.
8When you are finished, push .
The Options menu reappears when you edit the phone
number. New information is saved immediately when
you edit the name or memory location.
Edit Number
123-456-7890
:Options
L15
Edit Number
123-456-7890
:Options
L15
Office
123-456-7890
:Options
L01
SONY
123-456-7890
:Options
L15
EDIT THE
Name
Phone #
Location #
L15
OPTIONS
Erase
Send
Edit
L15
OPTIONS
Enter Pause
Save
Enter Link
L15
CM-M1300_22_35final 3/2/98, 11:46 AM25

26
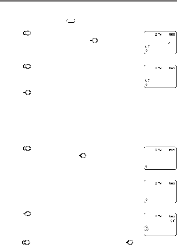
9Turn to select “Save,” then push .
A message appears, similar to the one in the following
display, confirming that your changes have been saved.
Tip
In addition, you can use the Directory menu to edit Phone Book numbers (see page 46).
Erasing a phone number
You can erase stored Phone Book entries. If the selected entry is restricted, you must
enter the four-digit lock code before you can erase it (see page 54).
1On the standby display, turn down
twice to select “Phone Book.”
The first Phone Book entry is displayed.
2Turn to find the Phone Book entry you
want to erase.
The contents of the selected memory location are
displayed.
3Push .
The Options menu appears.
4Turn to select “Erase,” then push .
A message appears, similar to the one in the following
display, prompting you to confirm the erasure.
5Push again.
The selected entry is erased. After a few seconds, the
standby display reappears.
Tips
• In addition, you can use the Directory menu to erase one Phone Book entry at a time (see
page 45).
• Use the Security menu to erase all Phone Book entries at once (see page 56).
SONY
has been
saved in
location 15.
L15
Office
123-456-7890
:Options
L01
SONY
123-456-7890
:Options
L15
Erase Phone
Book
Location 15?
:Erase
L15
-erased-
L15
OPTIONS
Erase
Send
Edit
CM-M1300_22_35final 3/2/98, 11:47 AM26

27
Quick Ways
to Make Calls
Restricting Phone Book entries
You can restrict individual Phone Book entries or the entire Phone Book, so that
access can be gained only by entering a lock code (see page 54). The phone numbers
of restricted entries will not be displayed.
1Select the Phone Book entry that you want
to restrict, then push .
The Options menu appears.
2Turn to select “Restrict,” then
push .
The following display appears.
3Push to restrict the selected entry.
Now the selected entry is restricted. After a few
seconds, the standby display reappears.
To unrestrict an entry
1Select the Phone Book entry that you want
to unrestrict.
The following display indicates a restricted entry.
2Push .
The Options menu appears.
3Turn to select “Restrict,” then push .
The following display appears, prompting you to enter
the lock code.
4
Use the number buttons to enter the lock
code.
Now the selected entry is unrestricted. After a few
seconds, the standby display reappears.
Tip
Also, you can use the Security menu to restrict/unrestrict Phone Book entries (see page 54).
SONY
<number is
restricted>
:Options
L15
My Phone
123-456-7890
:Restrict
L15
Entry is now
Restricted
L15
Restricted
phone book
entry.
CODE: ----
L15
Entry is now
UnRestricted
L15
OPTIONS
Erase
Send
Edit
L15
OPTIONS
Erase
Send
Edit
L15
CM-M1300_22_35final 3/2/98, 11:47 AM27

28
You can dial frequently used numbers quickly
from the Phone Book using the Jog Dial™
navigator. Alternatively, by using speed/touch
dialing, you only need to press a few buttons to
dial these numbers.
1On the standby display, turn once.
The Saved #s display appears.
2Turn down to select “Phone Book.”
The first entry in the Phone Book appears.
3Turn to select the desired Phone Book
entry.
The contents of the selected entry are displayed.
4Push .
The Options menu appears.
5Push again to make a call.
The phone dials the number stored in the selected
Phone Book entry. The icon appears.
Tips
• You can search for a phone number by name or memory location (see pages 30-32).
• Whenever the phone number is displayed, you can call it by pushing or
SEND
.
• If the phone number of a selected Phone Book entry is too long to fit on the screen, you can
still view the overflow digits by selecting “View Number” on the Options menu.
Calling...
SONY
123-456-7890
Calling from the Phone Book
Office
123-456-7890
:Options
L01
SAVED #S
:Calls List
:Phone Book
:Find Name
SONY
123-456-7890
:Options
L15
2
ABC
3
DEF
5
JKL
6
MNO
8
TUV
0
OPER
4
GHI
7
PQ
RS
9
WX
YZ
1
PWRCLR
SEND
END
Number buttons
and /
SEND
OPTIONS
Erase
Send
Edit
L15
CM-M1300_22_35final 3/2/98, 11:47 AM28

29
Quick Ways
to Make Calls
To release a pause or link during a call
If a Phone Book entry contains pauses or links, only the digits up
to the first pause or link are displayed. To dial the rest of the
selected entry (and release the pause or link), push .
Speed dialing
To dial quickly, you can enter the Phone Book memory location numbers. The phone
calls the number stored in the corresponding location.
1Use the number buttons to enter the
memory location number.
2Press
SEND
to dial the number.
The name and phone number of the memory location
appear. The phone dials the number stored in the
entered memory location.
Touch dialing
You can dial a phone number stored in the Phone Book without pressing
SEND
.
Before using this feature, make sure that Touch Dial on the Extras menu is set to “on”
(see page 50).
1Use the number buttons to enter the
memory location number, and hold down
the last digit of the memory location
number for about two seconds.
The name and phone number of the memory location
appear. The phone dials the number stored in the
entered memory location.
Time: 0:01
SONY
123L
:Release
Calling...
SONY
123-456-7890
Calling...
SONY
123-456-7890
15
:Options
CM-M1300_22_35final 3/2/98, 11:47 AM29

30
To locate a desired Phone Book entry, you can
search by name, phone number, or memory
location. You can search the Phone Book either
alphabetically or for a string of characters.
Searching alphabetically
When you enter only one character, the phone lists all entries that begin with the
entered character.
1From the standby display, turn once.
The Saved #s display appears.
2Push .
The Search display appears.
3Enter only the first letter of the name you
want to find.
4Push .
All Phone Book entries that begin with the entered
character are displayed alphabetically.
5Turn to view the next entry.
Tip
In addition, you can use the Directory menu to search the Phone Book by name (see page 47).
SEARCH FOR
S
(Enter Name)
:Find
SONY
123-456-7890
:Options
L15
SEARCH FOR
(Enter Name)
:Find
SAVED #S
:Calls List
:Phone Book
:Find Name
Searching the Phone Book
2
ABC
3
DEF
5
JKL
6
MNO
8
TUV
0
OPER
4
GHI
7
PQ
RS
9
WX
YZ
1
PWRCLR
SEND
END
CM-M1300_22_35final 3/2/98, 11:47 AM30

31
Quick Ways
to Make Calls
Searching for a string of characters
When you enter two or more characters, the phone searches for entries that contain
those characters. The results are displayed starting from the lowest memory location
number.
1From the standby display, turn once.
The Saved #s display appears.
2Push .
The Search display appears.
3Enter at least two characters.
4Push .
The entries containing the selected string are displayed
starting from the lowest memory location number.
5Turn to view the next entry that
contains the search string.
Searching by memory location
The phone searches for a memory location that matches the entered digit(s), and
displays a list of options.
1
On the standby display, enter
the memory
location (a maximum of two digits).
2
P
ush .
The Options menu appears.
OPTIONS
Recall Loc#
Send
Save
15
:Options
SEARCH FOR
(Enter Name)
:Find
SEARCH FOR
NY
(Enter Name)
:Find
SONY
123-456-7890
:Options
L15
SAVED #S
:Calls List
:Phone Book
:Find Name
CM-M1300_22_35final 3/2/98, 11:47 AM31

32
3Turn up to select “Recall Loc#,” then
push .
The Phone Book entry stored in the selected memory
location is displayed.
If the entered location is empty, a message appears
similar to the one in the following display. After a few
seconds, the standby display reappears.
Tip
In addition, you can use the Directory menu to search the Phone Book by memory location (see
page 48).
Searching for a phone number
The phone lists all entries that contain the entered digit(s).
1
On the standby display, enter at least the
first three digits of the phone number you
want to find.
2
Push .
The Options menu appears.
3
Turn up to select “Find Number,” then
push .
The Phone Book lists and displays all entries matching
the entered digits. Depending on the Sort Book setting
(see page 60), the entries are listed either alphabetically
or by memory location.
4
Turn up to view the next entry that
contains the search string.
If a matching Phone Book entry is not found, a message
similar to the following is displayed. After a few
seconds, the standby display reappears.
Phone Book
storage
location 15
is empty.
L15
SONY
123-456-7890
:Options
L15
SONY
123-456-7890
:Options
L15
"645"
wasn't found
in any Phone
Book entries
L01
OPTIONS
Find Number
Send
Save
456
:Options
CM-M1300_22_35final 3/2/98, 11:47 AM32

33
Quick Ways
to Make Calls
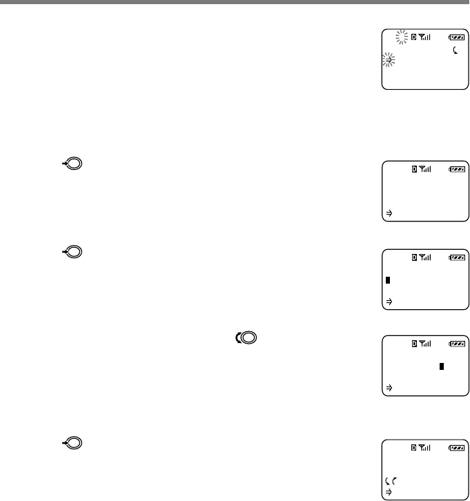
Calling from the Calls List
Information on the ten most recent outgoing
calls, incoming calls, scratch pad entries, and
missed calls are stored in the phone’s Calls List. If
you call the same number twice in a row, only the
most recent call is stored in the Calls List.
1On the standby display, turn once.
The Saved #s display appears.
2Turn up to select “Calls List.”
Information on the most recent call appears.
“Calls List is empty” is displayed if there are no entries.
3Turn to select the entry you want.
The contents of the selected entry are displayed.
4Push .
The Options menu appears.
5Push again to call the selected entry.
The phone dials the selected Calls List entry.
The icon appears.
CALL FROM
Office
123-456-7890
:Options
C01
SAVED #S
:Calls List
:Phone Book
:Find Name
CALL TO
SONY
123-456-7890
:Options
C06
OPTIONS
Save
Send
Duration
C06
Calling...
SONY
123-456-7890
C06
2
ABC
3
DEF
5
JKL
6
MNO
8
TUV
0
OPER
4
GHI
7
PQ
RS
9
WX
YZ
1
PWRCLR
SEND
END
Number buttons
and /
SEND
CM-M1300_22_35final 3/2/98, 11:47 AM33

34
Tips
• In addition, you can dial by pressing
SEND
after selecting the entry in step 3 on page 33.
• If the selected entry contains a pause or a link, only the digits up to the pause or link are
dialed. To release pauses and links, see page 29.
• In addition, you can use the Directory menu to view the Calls List (see page 49).
To view detailed information of Calls List entries
In addition, you can view the digits of a phone number that do not fit on the screen,
the duration of the call, or the time and date of the call by using the Options menu
(see step 4 on page 33).
To view Select
digits that do not fit on the screen View Number
the duration of the call Duration
the time and date of the call Time/Date
To save the number to the Phone Book
Select “Save” from the Options menu (step 4 on page 33) by pushing the Jog Dial™
navigator.
CM-M1300_22_35final 3/2/98, 11:47 AM34

35
Quick Ways
to Make Calls
You can send DTMF (Dual Tone Multiple
Frequency) signals to access electronic services
(such as telephone banking) when dialing
numbers from the Phone Book. Dual Tone
Multiple Frequency is also known as “touch-
tone.” A tone is generated when you press a
telephone button (number, *, or #). It can be used
to access answering machines, pagers, telephone
banking services, data services, and other
electronic services.
1During a call, search for the Phone Book
entry that contains the numbers you want
to send.
The selected entry is displayed. Use the Directory
menu to search for the Phone Book entry (see pages 47
and 48).
2Push .
The Options menu appears.
3Turn to select “Number Tone,” then
push .
A DTMF signal, containing the entered digits, is sent in
a burst.
DTMF signal in standby mode
If you try to send a DTMF signal in standby mode, the following
message is displayed. You can send a DTMF signal only during a
call.
Notes
• To enter and send numbers one by one during a call, use the number buttons to send the
DTMF number.
• To change the length of the DTMF transmission, see “Setting the keybeep length” on page 41.
Sending DTMF signals from the Phone Book
Tones can
be played
only during
a call.
L01
SONY
123-456-7890
:Options
L15
OPTIONS
Erase
Send
Edit
L15
2
ABC
3
DEF
5
JKL
6
MNO
8
TUV
0
OPER
4
GHI
7
PQ
RS
9
WX
YZ
1
PWRCLR
SEND
END
Number buttons
and /
CM-M1300_22_35final 3/2/98, 11:47 AM35

36
You can use the Features menu to activate the
special features of your phone.
Menu structure
The phone uses a hierarchical on-screen menu structure for setting and editing
parameters. For a comprehensive list of submenus and corresponding settings, see
“List of menu items” on pages 75 and 76.
Viewing and selecting menu options
The Jog Dial™ navigator makes it easy to navigate the phone’s menus. The
procedure to view and select menu options is common to most of the Features menus
(see page 75). These menus are accessible during a call also. The following example
shows how to set the backlight.
1On the standby display, push to select
“Features.”
If the standby display is not shown, press
END
or hold
down
CLR
, then push to display the Features menu.
The arrow and the menu number flash, indicating
which menu will be selected by pushing (in this
case the Sounds menu [F–1]).
About the Features menu
My Phone
12:34P 12/25
:Saved #s
:Features
FEATURES
Sounds
Timers
Directory
F-1
SOUNDS
Ringer Vol
Mute/UnMute
Keybeep Vol
F11
Standby display Main (Features) menu Submenu
FEATURES
Sounds
Timers
Directory
F-1
2
ABC
3
DEF
5
JKL
6
MNO
8
TUV
0
OPER
4
GHI
7
PQ
RS
9
WX
YZ
1
PWRCLR
SEND
END
Number buttons
and /
END
CLR
/ /
CM-M1300_36_49final 3/2/98, 11:50 AM36

37
Advanced
Features
2Turn to select “Display,” then push .
The Display menu appears. The arrow and the last
digit of the submenu number flash, indicating which
submenu will be selected by pushing (in this case
the Banner menu [F61]).
3
Turn to select “Backlight,” then push .
The Backlight menu appears. The current setting is
indicated by a check mark (✓) and is displayed in
capital letters. (See page 59 for an additional
description on setting the backlight.)
4Turn to select the setting.
The available options appear in a cyclic manner as you
turn .
5Push to enter the new setting.
The standby display reappears.
To exit from the Features menu
Press
END
or hold down
CLR
to return to the standby display.
To return to the previous display
Press
CLR
. To go back further, press
CLR
again.
Notes
• If you reach the last menu item and try to turn further, a beep indicates that you have
reached the end of the menu. To view other menu items, turn in the opposite direction.
• The standby display automatically reappears after 30 seconds of inactivity.
Tip
Each menu item can be accessed quickly from the standby display by pushing , and then
pushing the number of the menu item. The item number then appears in the upper left corner of
the display in step 3. For example, you can access the backlight setting by pushing followed
by 6MNO and 2ABC .
DISPLAY
Banner
Backlight
Auto-Hyphen
F61
BACKLIGHT
FOR 7 SECS
:Choices
:To Set
F62
BACKLIGHT
off
:Choices
:To Set
F62
My Phone
12:34P 12/25
:Saved #s
:Features
CM-M1300_36_49final 3/2/98, 11:50 AM37

38
You can adjust the volume of the ringer, keybeep, and earpiece
on the Sounds menu. In addition, you can select the type of
sound heard when the phone rings and when you press buttons.
(See page 36 for instructions on how to reach the Sounds menu.)
Adjusting the ringer volume [F11]
1Push to select “Ringer Vol.” from the
Sounds menu.
The Ringer Vol. menu appears.
2Turn up to raise the ringer volume,
and down to lower it.
You can select from five ringer volume settings: “off,”
“low,” “med.” (medium), “high,” and “escalate.”
3Push to enter the new setting.
The standby display reappears.
If you turn off the ringer volume
The message “–Ringer Off–” is displayed at the top of the screen
when the standby display appears.
Tip
If you set the ringer volume to “escalate,” the telephone rings twice at a low volume, then once
at medium volume, and thereafter at a high volume.
Muting/unmuting the microphone [F12]
You can mute/unmute the phone during a call directly, without using the Sounds
menu by pushing and holding .
In addition, you can mute/unmute the microphone during a call using the Sounds
menu. This feature is disabled in standby mode.
1During a call, push to select “Sounds”
from the Features menu.
The Sounds menu appears.
Adjusting the volume
-Ringer Off-
12:34P 12/25
:Saved #s
:Features
SOUNDS
Ringer Vol
Mute/UnMute
Keybeep Vol
F11
RINGER VOL.
HIGH
:Choices
:To Set
F11
RINGER VOL.
med.
:Choices
:To Set
F11
SOUNDS
Ringer Vol
Mute/UnMute
Keybeep Vol
F12
Sounds menu
CM-M1300_36_49final 3/2/98, 11:50 AM38

39
Advanced
Features
2Push to select “Mute/UnMute.”
The following display appears. Now the microphone is
muted.
3To unmute the microphone, push and hold
for one second.
The Features menu appears for a moment and the
microphone is now muted.
Adjusting the keybeep volume [F13]
You can adjust the volume of the beep that sounds when you press a button.
1Turn to select “Keybeep Vol” from the
Sounds menu, then push .
The Keybeep Vol menu appears.
2Turn up to raise the keybeep volume,
and down to lower it.
You can select from four keybeep volume settings:
“off,” “low,” “med.” (medium), and “high.”
3Push to enter the new setting.
The standby display reappears.
MUTED: 1:21
Hold down
to (un)mute
FEATURES
Sounds
Timers
Directory
F-1
KEYBEEP VOL
HIGH
:Choices
:To Set
F13
KEYBEEP VOL
low
:Choices
:To Set
F13
CM-M1300_36_49final 3/2/98, 11:50 AM39

40
Adjusting the earpiece volume [F14]
You can adjust the earpiece volume during a call by turning . In addition, you can adjust the
speaker volume as follows:
1Turn to select “Earpiece Vol” from the
Sounds menu, then push .
The Earpiece Vol menu appears.
2Turn up to raise the earpiece volume,
and down to lower it.
You can select from seven earpiece volume settings, from
“1” to “7.” A higher number indicates higher volume.
3Push to enter the new setting.
The standby display reappears.
Setting the ringer type [F15]
You can set the type of beep that sounds for an incoming call.
1Turn to select “Ringer Type” from the
Sounds menu, then push .
The Ringer Type menu appears.
2Turn to select the ringer type.
You can select from five different ringer settings.
The ringer sounds every time you turn .
3Push to enter the new setting.
The standby display reappears.
RINGER TYPE
STANDARD
:Choices
:To Set
F15
RINGER TYPE
option 2
:Choices
:To Set
F15
EARPIECE VOL
7
:Choices
To Set
F14
EARPIECE VOL
4
:Choices
:To Set
F14
CM-M1300_36_49final 3/2/98, 11:50 AM40

41
Advanced
Features
Setting the keybeep type [F16]
You can set the beep that sounds when you press a button to either a tone or a click.
Tones sound similar to DTMF tones, and clicks are indicated by single beeps.
1Turn to select “Key Sound” from the
Sounds menu, then push .
The Key Sound menu appears.
2Turn to select the keybeep type.
You can select “tones” or “clicks.”
3Push to enter the new setting.
The standby display reappears.
Note
DTMF tones are sent to the other party during a call even if you set the keybeep type to “clicks.”
Setting the keybeep length [F17]
You can set the length of the beep that sounds when you press a button. This setting
affects both the keybeep feedback and DTMF transmission tones. The phone sends a
short DTMF burst (default) or plays every tone of the DTMF signal as long as the key
is held down.
1Turn to select “Beep Length” from the
Sounds menu, then push .
The Beep Length menu appears.
2Turn to select the keybeep length.
You can select “standard” or “long.”
3Push to enter the new setting.
The standby display reappears.
F16
KEY SOUND
TONES
:Choices
:To Set
F16
KEY SOUND
clicks
:Choices
:To Set
F16
BEEP LENGTH
STANDARD
:Choices
:To Set
F17
BEEP LENGTH
long
:Choices
:To Set
F17
CM-M1300_36_49final 3/2/98, 11:50 AM41

42
You can check call durations on the Timers menu. In addition,
you can set the phone to alert you every minute of a call, and
make the phone turn itself off automatically.
Checking the duration of all calls [F21]
You can view the total duration of all calls. This information cannot be reset.
1Turn to select “All Calls” from the
Timers menu, then push .
The All Calls display appears.
2Push to go back to the standby display.
Checking and resetting the duration of recent calls [F22]
You can view the total duration of the most recent calls.
1Turn to select “Recent Calls” from the
Timers menu, then push .
The Recent Calls display appears.
2Press
1
to reset, or hold down
CLR
to go
back to the standby display.
If you choose to reset, the counter of recent calls and
the corresponding durations are reset.
Checking and setting the timers
TIMERS
All Calls
RecentCalls
MinuteAlert
F21
ALL CALLS
150m58s
90 calls
:Done
F21
RECENT CALLS
45m30s
20 calls
1:To Reset
F22
-reset-
F22
Timers menu
CM-M1300_36_49final 3/2/98, 11:50 AM42

43
Advanced
Features
Setting the minute alert [F23]
You can set the phone to alert you ten seconds before every full minute.
1Turn to select “Minute Alert” from the
Timers menu, then push .
The Minute Alert menu appears.
2Turn to select “on” or “off.”
3Push to enter the new setting.
The standby display reappears.
Setting the phone to automatically turn off [F24]
You can set the phone to automatically turn itself off after a specified duration.
1Turn to select “Auto-Off” from the
Timers menu, then push .
The Auto-Off menu appears.
2Turn to select the duration before the
phone powers off automatically.
You can select from five settings: “never,” “in 3 hours,”
“in 2 hours,” “in 1 hour,” and “in 30 mins.” If you
select “never,” the phone does not turn itself off
automatically.
3Push to enter the new setting.
If you set the phone to power off in 30 minutes, for
example, the following display appears.
Notes
• If you press any button or operate the Jog Dial™ navigator, the timer is reset and the countdown
starts over.
• The phone does not turn itself off automatically during a call.
• If the Auto-Off timer is set, the phone turns off after a user-specified duration and the
countdown “Off:xx:xx:xx” is displayed.
• Once the phone turns off, the setting will revert to “never.”
MINUTE ALERT
OFF
:Choices
:To Set
F23F
MINUTE ALERT
on
:Choices
:To Set
F23F
AUTO-OFF
NEVER
:Choices
:To Set
F24F
AUTO-OFF
in 30 mins
:Choices
:To Set
F24F
Phone will
turn off in
30 minutes.
F24F
CM-M1300_36_49final 3/2/98, 11:50 AM43

44
You can use the Directory menu to check your phone number, as
well as store, erase, and edit phone numbers and names in the
Phone Book. Also, you can use this menu to view the Calls List.
Checking your phone number [F31]
1Push to select “My Number” from the
Directory menu.
The My Phone # display appears, showing your
phone’s number.
2Push to exit this feature.
The standby display reappears.
Storing phone numbers [F32]
For quick and easy dialing, the Phone Book allows you to store up to 99 phone
numbers.
1Turn to select “Save” from the Directory
menu, then push .
The following display appears.
2Use the number buttons to enter the
phone number, then push .
The Options menu appears. (See the “Alphanumeric
table” on page 23.)
3Turn to select “Save,” then push .
The following display appears, prompting you for a
name to accompany the number.
4Use the number buttons to enter the name.
Use / to move the cursor or to insert spaces
between characters. If you enter the wrong character,
press
CLR
to clear the character highlighted by the
cursor. (See the “Alphanumeric table” on page 23.)
Enter a Name
:Save
Enter a Name
SONY
:Save
Enter number
to save and
then for
next step.
F32
Using the Directory
DIRECTORY
My Number
Save
Erase
F31
MY PHONE #
123-456-7890
:Done
F31
OPTIONS
Enter Pause
Save
Enter Link
Directory menu
CM-M1300_36_49final 3/2/98, 11:50 AM44

45
Advanced
Features
5When you are finished, push to store
the phone number and name.
A display similar to the following appears.
6Push to store the new number in the
first available memory location.
If you want to store it in another location, turn to
select the desired location, then push .
A confirmation message appears, followed by the
status of the Phone Book.
Tip
In addition, you can use the Options menu to store Phone Book numbers (see page 22).
Erasing a phone number [F33]
You can erase stored Phone Book entries. If the selected entry is restricted, you must
enter the four-digit lock code to erase it (see page 54).
1Turn to select “Erase” from the
Directory menu, then push .
The following display appears, prompting you for the
Phone Book entry to be erased.
2Turn to select the entry you want to
erase, then push .
A display similar to the following appears, prompting
you to confirm that the selected Phone Book entry
should be erased. In addition, you can use the number
buttons to select the entry to be erased.
3Push again.
The selected entry is erased. After a few seconds, the
standby display reappears.
Tips
• Also, you can use the Options menu to erase one Phone Book entry at a time (see page 26).
• Use the Security menu to erase all Phone Book entries at once (see page 56).
Save in
location 15?
:Save
:Other Loc
SONY
has been
saved in
location 15.
L15
PHONE BOOK
LOCATIONS:
21 used
78 empty
v
-erased-
L15
Erase Phone
Book
Location 15?
:Erase
L15
to find
entry to
erase then
to select.
F33
CM-M1300_36_49final 3/2/98, 11:50 AM45

46
SONY
has been
saved in
location 15.
L15
Editing stored information [F34]
You can edit the name, phone number, and memory location of specific entries
stored in the Phone Book. If the selected entry is restricted, you must enter the four-
digit lock code to edit it (see page 54).
1Turn to select “Edit” from the Directory
menu, then push .
The following display appears, prompting you for the
Phone Book entry to be edited.
2Turn to select the entry that contains
the information you want to edit.
In addition, you can use the number buttons to select
the entry to be edited.
A display similar to the following appears, prompting
you to confirm that the selected Phone Book entry
should be edited.
3Push again.
The Edit menu appears.
4Turn to select the item you want to
change, then push .
You can change the name, phone number, or memory
location by selecting “Name,” “Phone #,” or “Location
#,” respectively. The stored information that
corresponds to the selected item appears.
5Enter the new information.
The old information is overwritten.
6When you are finished, push .
A display similar to the following appears, confirming
that your changes have been saved.
Tip
In addition, you can use the Options menu to edit Phone Book entries (see page 25).
to find
entry to
edit then
to select
F34
Edit PhBook
Location 15?
SONY
:Edit
L15
EDIT THE
Name
Phone #
Location #
L15
Edit Number
123-456-7890
:Options
L15
My Phone
123-456-7890
:Edit
L15
CM-M1300_36_49final 3/2/98, 11:51 AM46

47
Advanced
Features
Searching the Phone Book by name [F35]
You can find name entries in the Phone Book by searching alphabetically or for a
string of characters.
Tip
In addition, you can use the Options menu to search the Phone Book by names (see pages 30
and 31).
To search alphabetically
When you enter only one character, the phone lists all entries starting from the ones
that begin with the entered character.
1Turn to select “Find Name” from the
Directory menu, then push .
The Search display appears, prompting you for a
search string.
2
Enter only the first letter of the name you
want to find.
3Push .
All Phone Book entries that begin with the entered
character are displayed alphabetically.
4Turn to view the next entry.
SEARCH FOR
S
(Enter Name)
:Find
F35
SONY
123-456-7890
:Options
L15
SEARCH FOR
(Enter Name)
:Find
F35
CM-M1300_36_49final 3/2/98, 11:51 AM47

48
To search for a string of characters
When you enter two or more characters, the phone searches for entries that contain
the entered string. The results are displayed starting from the lowest memory
location number.
1Turn to select “Find Name” from the
Directory menu, then push .
The Search display appears, prompting you for a
search string.
2Enter at least two characters.
3Push .
The entries containing the selected string are displayed
starting from the lowest memory location number.
4Turn to view the next entry.
Searching the Phone Book by memory location [F36]
You can find memory locations easily.
1Turn to select “Phone Book” from the
Directory menu, then push .
The following display appears, prompting you for a
search string.
2Use the number buttons to enter the
memory location number.
The Phone Book entry that matches the search string is
displayed.
If the selected entry is empty, the display shows the
message “Phone Book storage location XX is empty.”
After a few seconds, the standby display reappears.
for all
book entries
or enter the
location #.
F36
SONY
123-456-7890
:Options
L15
Phone Book
storage
location 15
is empty.
L15
SEARCH FOR
(Enter Name)
:Find
F35
SEARCH FOR
NY
(Enter Name)
:Find
F35
SONY
123-456-7890
:Options
L15
CM-M1300_36_49final 3/2/98, 11:51 AM48

49
Advanced
Features
Tips
• In addition, you can use the Options menu to find Phone Book memory locations (see page 31).
• In addition, you can turn to scroll through the entire Phone Book instead of entering the
memory location number in step 2.
Viewing the Calls List [F37]
You can view Calls List entries easily.
1Turn to select “Calls List” from the
Directory menu, then push .
The following display appears, allowing you to view
the Calls List.
If the Calls List is empty, the display shows the
message “Calls List is empty.”
2Turn to view the Calls List entries.
The most recent entry is displayed first. To view the
rest of the ten most recent entries, turn
Tip
In addition, you can view the Calls List from the standby display (see page 33).
To place a call
Press
SEND
in step 2. In addition, you can push to go to the
Options menu, then select “Send” and push .
for calls
list. Then
to get each
call's time
F37
CALL TO
SONY
123-456-7890
:Options
C06
Calling...
SONY
123-456-7890
C06
CM-M1300_36_49final 3/2/98, 11:51 AM49

50
Miscellaneous extra features
On the Extras menu, you can set the phone to enable touch
dialing, redial automatically, and answer incoming calls
automatically or at the press of any button. Also, you can use this
menu to lock the keypad and to jot down phone numbers.
Preventing accidental operation [F41]
You can lock the keypad by pushing and holding from the standby display.
Locking the keypad offers low-level security. For example, it disables accidental
dialing when you keep the phone in your pocket.
1Turn to select “Key Guard” from the
Extras menu, then push .
The following message appears.
After a few seconds, the standby display reappears.
The keypad lock icon ( ) and the text “Keyguard On”
indicates that the keypad is locked.
To unlock the keypad
Press
1
,
2ABC
and
3
DEF
in quick succession.
To answer an incoming call when the keypad is locked
Just press
SEND
. You do not need to unlock the keypad.
Tips
• You can lock the keypad even when the phone itself is locked (see page 53).
• The backlight and keybeeps are turned off when the keypad is locked.
Activating touch dialing [F42]
If you want to use the touch dialing feature (see page 29), set to “on.”
1Turn to select “Touch Dial” from the
Extras menu, then push .
The Touch Dial menu appears.
2Turn to select “on” or “off.”
3Push to enter the new setting.
The standby display reappears.
Keypad is
now guarded.
Press "123"
to unlock
F41
My Phone
12:34P 12/25
Keyguard On
EXTRAS
Key Guard
Touch Dial
Auto-Retry
F41
v
TOUCH DIAL
ON
:Choices
:To Set
F42
TOUCH DIAL
off
Choices
:To Set
F42
Extras menu
CM-M1300_50_66final 3/2/98, 11:53 AM50

51
Advanced
Features
Setting the phone to redial automatically [F43]
You can set the interval for redialing. If the attempt to dial is not successful, the
phone tries to redial it up to five times.
1Turn to select “Auto-Retry” from the
Extras menu, then push .
The Auto-Retry menu appears.
2Turn to select the interval.
You can select “off,” “on 60 secs,” “on 30 secs,” or “on
10 secs.” If you select “off,” the phone does not try to
redial automatically.
3Push to enter the new setting.
The standby display reappears.
Setting the phone to answer automatically [F44]
You can set the phone to answer calls automatically. If you turn auto-answering on,
the phone answers incoming calls on the second ring when the phone is used in
conjunction with a Sony Hands-Free Car Kit.
1Turn to select “Auto-Answer” from the
Extras menu, then push .
The Auto-Answer menu appears.
2Turn to select “on” or “off.”
3Push to enter the new setting.
The standby display reappears.
The message “–AutoAnswer–” is displayed on the
standby display only when you select “on” and the
phone is in the hands-free car kit.
AUTO-RETRY
OFF
:Choices
:To Set
F43
AUTO-RETRY
on 30 secs
:Choices
:To Set
F43
AUTO-ANSWER
OFF
:Choices
:To Set
F44
AUTO-ANSWER
on
:Choices
:To Set
F44
My Phone
-AutoAnswer-
:Saved #s
:Features
CM-M1300_50_66final 3/2/98, 11:53 AM51

52
Setting all buttons to answer incoming calls [F45]
You can have all buttons (except
PWR
) answer incoming calls by turning this feature on.
1Turn to select “Any Key Answ” from
the Extras menu, then push .
The Any Key Answ menu appears.
2Turn to select “on” or “off.”
3Push to enter the new setting.
The standby display reappears.
Using the scratch pad [F46]
Your phone has a scratch pad feature, which is useful for writing down phone
numbers temporarily. The phone does not send DTMF tones when you enter digits
to the scratch pad.
1Turn to select “Scratch Pad” from the
Extras menu, then push .
The Scratch Pad display appears, prompting you to
enter a phone number.
2Use the number buttons to enter the digits.
3Push .
The Options menu appears. Besides storing digits, you
can enter hyphens, pauses, and links (see page 24).
4
Turn to select “Store&Exit,” then push .
The information is stored as a scratch pad entry in the
Calls List. When the Calls List reaches more than 10 list
items, the oldest entries will be deleted as needed to
make room for new entries.
ANY KEY ANSW
off
:Choices
:To Set
F45
SCRATCH PAD
(enter
number)
:Options
F46
SCRATCH PAD
123-456-7890
:Options
F46
OPTIONS
Enter Pause
Store&Exit
Enter Link
ANY KEY ANSW
ON
:Choices
:To Set
F45
CM-M1300_50_66final 3/2/98, 11:53 AM52

53
Advanced
Features
You can restrict unauthorized access to your phone and the
information it holds. Additionally, on the Security menu, you can
reset menu settings to default and store emergency numbers.
Unlike other items on the Features menu, accessing the Security
menu requires a lock code when you select it from the Features
menu.
A typical default lock code is either the last four digits of your
phone number or 0000.
Preventing others from using your phone [F51]
This option lets you set when the phone will be locked. When the phone is locked,
carrying out most operations requires entering the lock code; you can still answer
incoming calls and dial 911 or other stored emergency numbers.
1Push to select “Lock Phone” from the
Security menu.
The Lock Phone menu appears.
2Turn to select when the phone will be
locked.
You can select “never,” “on power-up,” or “right now.”
If you select “never,” the phone is available for use at
any time without a lock code. If you select “on power-
up,” the phone is locked every time you turn it on.
3Push to enter the new setting.
The standby display reappears. The message
“ :Unlock” indicates that the phone is locked.
To unlock the phone
On the standby display, push . When prompted, enter the lock code.
SECURITY
Lock Phone
New Code
Restrict #
F51
LOCK PHONE
NEVER
:Choices
:To Set
F51
LOCK PHONE
on power-up
:Choices
:To Set
F51
My Phone
12:34P 12/25
:Unlock
Security menu
SECURITY
Enter code
for access.
CODE: ----
F-5
v
Setting security options
CM-M1300_50_66final 3/2/98, 11:53 AM53

54
Setting a new lock code [F52]
The lock code must be entered every time you want to unlock the phone, and also
when you want to access restricted numbers.
1Turn to select “New Code” from the
Security menu, then push .
The Enter New Code display appears, prompting you
to enter a new lock code.
2
Use the number buttons to enter a lock code.
The lock code must be exactly four digits long.
3Push to store the new lock code in
memory.
A confirmation display appears.
Note
Keep a record of your lock code. If you forget it, contact your service provider.
Restricting a Phone Book entry [F53]
You can restrict access to individual Phone Book entries.
1Turn to select “Restrict #” from the
Security menu, then push .
The following display appears, prompting you to
specify the Phone Book entry to be restricted.
2Turn to select the Phone Book entry
that you want to restrict.
3
Push to restrict the selected entry.
Now the selected entry is restricted.
for all
book entries
or enter the
location #.
F53
My Phone
123-456-7890
:Restrict
L15
Entry is now
Restricted
L15
ENTER NEW
CODE:
2345
:Save Code
F52
New lock
code is
2345
F52
ENTER NEW
CODE:
----
:Save Code
F52
CM-M1300_50_66final 3/2/98, 11:53 AM54

55
Advanced
Features
To unrestrict an entry
Follow the procedure for restricting an entry on the previous
page to select the entry you want to unrestrict.
Notes
• The phone number of a restricted entry is not displayed when you view the Phone Book and
make a call.
• Restricted entries are not listed or displayed after a digit string search (see pages 31 and 48).
• Calling, editing, and erasing a restricted entry requires the four-digit lock code.
Tip
In addition, you can use the Options menu to restrict/unrestrict Phone Book entries (see page 27).
Restricting all Phone Book entries [F54]
You can restrict access to all Phone Book entries. All operations that involve Phone
Book entries require the four-digit lock code (see page 54).
1Turn to select “Restrict All” from the
Security menu, then push .
The Restrict All menu appears.
2Turn to set restriction of all Phone Book
entries on or off.
3Push to enter the new setting.
The standby display reappears.
Note
If you restricted some entries by using “Restrict #,” they are still restricted when you turn off
“Restrict All.”
Entry is now
UnRestricted
L15
RESTRICT ALL
OFF
:Choices
:To Set
F54
RESTRICT ALL
on
:Choices
:To Set
F54
CM-M1300_50_66final 3/2/98, 11:53 AM55

56
Reverting to default settings [F55]
You can reset all menu settings to the defaults. This does not affect Phone Book or
Calls List entries.
1Turn to select “Master Reset” from the
Security menu, then push .
The Master Reset display appears.
2Press
1
to revert to the factory defaults,
or push to keep the current settings.
If you revert to the factory defaults, all your custom
menu settings are erased.
Erasing all Phone Book entries [F56]
You can erase all Phone Book entries at once.
1Turn to select “Erase Book” from the
Security menu, then push .
The Erase Book display appears.
2Press
1
to erase all Phone Book entries,
or push to quit without erasing.
If you erase all entries, the following display appears.
Erasing all Calls List entries [F57]
You can erase all Calls List entries at once.
1Turn to select “Erase Calls” from the
Security menu, then push .
The Erase Calls display appears.
2Press
1
to erase all Calls List entries, or
push to quit without erasing.
If you erase all entries, the following display appears. -erased-
F57
ERASE BOOK
1:To Erase
Phone Book
:Quit
F56
-erased-
F56
ERASE CALLS
1:To Erase
Calls List
:Quit
F57
MASTER RESET
1:To Reset
All Settings
:Quit
F55
-reset-
F55
CM-M1300_50_66final 3/2/98, 11:54 AM56

57
Advanced
Features
Storing emergency numbers [F58]
You can use the Security menu to store up to three emergency numbers other than
911 (which you cannot erase). You can call these numbers even when the phone is
locked.
1Turn to select “Emergency #” from the
Security menu, then push .
The first Emergency # display appears.
2Turn to select the emergency memory
location, then push .
The following display appears, prompting you to enter
the phone number for the emergency entry.
3Use the number buttons to enter the
number.
4Push to store the emergency number.
The entered emergency number is stored in memory.
To store other emergency numbers, repeat the above
procedure. To go back to the standby display, hold
down
CLR
.
Enter phone
number for
emergency
entry #1
F58
EMERGENCY #1
(empty)
:Other #'s
:Edit #
F58
123-456-7890
:Store #
F58
CM-M1300_50_66final 3/2/98, 11:54 AM57

58
Setting display options
You can use the features on the Display menu to change the
appearance of the on-screen display.
Setting the banner [F61]
You can change what the banner reads.
1Push to select “Banner” from the
Display menu.
The Banner display appears. The current banner text is
displayed.
2Push again to start editing.
The following message appears, prompting you to
enter a new banner.
3Use the number buttons or to enter the
new banner text.
The banner can be up to 12 characters long.
For details on character entry, see the “Alphanumeric
table” on page 23.
4Push to save the new banner.
The standby display reappears. Your new banner is
displayed.
DISPLAY
Banner
Backlight
Auto-Hyphen
F61
BANNER
---SONY----
(Enter Text)
:Done
F61
BANNER
----SONY----
:Edit
F61
BANNER
My Phone
(Enter Text)
:Done
F61
My Phone
12:34P 12/25
:Saved #s
:Features
Display menu
CM-M1300_50_66final 3/2/98, 11:54 AM58

59
Advanced
Features
Setting the backlight [F62]
You can adjust the duration of the backlight on the display and keypad.
1Turn to select “Backlight” from the
Display menu, then push .
The Backlight menu appears.
2Turn to select how long the backlight is
on after the last press of a button.
You can select “for 15 secs,” “for 7 secs,” or “off.” If the
phone is used in conjunction with a hands-free car kit, a
cigarette lighter adapter, or a single- or dual-slot battery
charger, the added option of “always on” leaves the
backlight on.
3Push to enter the new setting.
The standby display reappears.
Setting autohyphenation [F63]
You can turn the autohyphenation feature on and off. If you turn it on, entered
numbers are hyphenated according to the North American Numbering Plan (eleven
digits which include a long distance identifier, an area code, a three-digit community
code, and a four-digit location code, e.g., 9-999-999-9999).
1Turn to select “Auto-Hyphen” from the
Display menu, then push .
The Auto-Hyphen menu appears.
2Turn to select “on” or “off.”
3Push to enter the new setting.
The standby display reappears.
BACKLIGHT
for 15 secs
:Choices
:To Set
F62
BACKLIGHT
FOR 7 SECS
:Choices
:To Set
F62
AUTO-HYPHEN
ON
:Choices
:To Set
F63
AUTO-HYPHEN
off
:Choices
:To Set
F63
CM-M1300_50_66final 3/2/98, 11:54 AM59

60
Sorting the Phone Book [F64]
You can determine how the Phone Book will be displayed, and also set the phone to
sort the entries either alphabetically or by memory location.
1Turn to select “Sort Book” from the
Display menu, then push .
The Sort Book menu appears.
2Turn to set the sorting preferences.
You can choose to sort the Phone Book “by Loc. #” (by
location) or “alphabetic” (alphabetically).
3Push to enter the new setting.
The standby display reappears.
SORT BOOK
BY LOC. #
:Choices
:To Set
F64
SORT BOOK
alphabetic
:Choices
:To Set
F64
CM-M1300_50_66final 3/2/98, 11:54 AM60

61
Advanced
Features
Setting the menu length [F65]
You can set the menu length (long or short). The short menu displays only the most
common items on the Features menu; the long menu displays all items.
1Turn to select “Menu Length” from the
Display menu, then push .
The Menu Length menu appears.
2Turn to set the menu length.
You can select “short” or “long.”
3Push to enter the new setting.
The standby display reappears.
Items on the short menu
The short menu contains the following items:
• Ringer Vol. (see page 38)
• My Number (see page 44)
• Saved #s (see pages 28, 30, 33)
• Lock Phone (see page 53)
• Long Menu (see page 75)
Note
The item “Saved #s” contains the items “Find Name” (see page 30), “Phone Book” (see page 28),
and “Calls List” (see page 33).
To return to the long menu
On the short menu, turn to select “Long Menu,” then push .
MENU LENGTH
LONG
:Choices
:To Set
F65
MENU LENGTH
short
:Choices
:To Set
F65
CM-M1300_50_66final 3/2/98, 11:54 AM61

62
Adjusting network settings
On the Network menu, you can set the phone to alert you when
the roaming status changes, when a call is dropped, or when
enhanced voice privacy is lost. You can set how NAM’s (Number
Assignment Modules) are switched, and also activate new
services. NAM’s are phone identifier numbers associated
specifically with your phone. For example, you may have both a
business phone number and also a personal phone number
associated with your phone.
Setting the roaming alert [F71]
Your phone is roaming when you use it outside of the home area. Roaming access to
a different carrier and the types of calls you can make varies with the agreement
between your “home” carrier and the currently serving carrier. Check with your
service provider for details about roaming in a specific area.
1Push to select “Roam Alert” from the
Network menu.
The Roam Alert menu appears.
2
Turn to select “on” or “off.”
3Push to enter the new setting.
The standby display reappears.
When you enter another service area
The roaming icon (R) appears on the display. A beep
accompanies the icon if you have turned the roam alert on.
If you leave any valid service area
The following display appears, indicating that you are outside
the area serviced by your “home” carrier or other valid service
areas. The out-of-service icon ( ) also appears.
NETWORK
Roam Alert
Drop Alert
Priv. Alert
F71
ROAM ALERT
on
:Choices
:To Set
F71
ROAM ALERT
OFF
:Choices
:To Set
F71
Entering
Roam
Service
Area
Leaving
Service
Area
Network menu
CM-M1300_50_66final 3/2/98, 11:54 AM62

63
Advanced
Features
Setting the drop alert [F72]
If the signal fades, your phone may drop the ongoing call. You can choose to be
alerted by an audible alarm when a call is dropped.
1Turn to select “Drop Alert” from the
Network menu, then push .
The Drop Alert menu appears.
2Turn to select “on” or “off.”
3Push to enter the new setting.
The standby display reappears.
When a call is dropped
The following display appears. A beep will sound if you have
turned the drop alert on.
DROP ALERT
on
:Choices
:To Set
F72
DROP ALERT
OFF
:Choices
:To Set
F72
Time: 1:30
SIGNAL FADED
Your call
was lost.
CM-M1300_50_66final 3/2/98, 11:54 AM63

64
Setting the voice privacy alert [F73]
A display appears to indicate if enhanced voice privacy is lost during a call. You can
choose to have an audible alarm accompany this display.
1Turn to select “Priv. Alert” from the
Network menu, then push .
The Priv. Alert menu appears.
2Turn to select “on” or “off.”
3Push to enter the new setting.
The standby display reappears.
If enhanced voice privacy is lost
The following display appears. A beep accompanies the display
if you have turned the voice privacy alert on.
When enhanced voice privacy is regained
The following display appears. A beep accompanies the display
when enhanced voice privacy is regained and you have turned
the voice privacy alert on.
Note
The network automatically turns on enhanced voice privacy if it is available. You do not have to
change your phone settings. For details, contact your service provider.
PRIV. ALERT
on
:Choices
:To Set
F73
PRIV. ALERT
OFF
:Choices
:To Set
F73
Time: 1:30
Enhanced
Privacy was
just lost.
Time: 1:30
Enhanced
Privacy is
regained
-P-
CM-M1300_50_66final 3/2/98, 11:54 AM64

65
Advanced
Features
Switching NAM’s automatically [F74]
Your phone allows you to store up to two NAM’s (Number Assignment Modules).
To add or remove NAM’s, contact your service provider who will change the NAM’s
for you. You can set the phone to switch between them automatically. The phone
switches from one NAM to the other if it enters a service provider’s coverage area
that matches one of your NAM settings. To switch manually, see “Switching NAM’s
manually” below.
1Turn to select “Auto-N.A.M.” from the
Network menu, then push .
The Auto-N.A.M. menu appears.
2Turn to set automatic switching on or
off.
3Push to enter the new setting.
The standby display reappears.
Switching NAM’s manually [F75]
If automatic switching is turned off, you can configure the phone for manual switching
between the two NAM’s. You must switch from one NAM to the other if the phone
enters a service provider’s coverage area that matches the other NAM setting. To set
the phone to switch automatically, see “Switching NAM’s automatically” above.
1Turn to select “Set-N.A.M.” from the
Network menu, then push .
The Set-N.A.M. menu appears.
2
Turn to switch between the two NAM’s.
The display alternately shows the name and the
number of the selected NAM.
3Push to enter the new setting.
The standby display reappears.
AUTO-N.A.M.
on
:Choices
:To Set
F74
AUTO-N.A.M.
OFF
:Choices
:To Set
F74
SET-N.A.M. 2
<empty>
:Choices
:To Set
F75
SET-N.A.M. 1
NAM #1
:Choices
:To Set
F75
CM-M1300_50_66final 3/2/98, 11:54 AM65

66
Selecting system priority [F76]
If you leave the service area of a carrier from which the phone is currently receiving
signals, the phone automatically starts searching for another carrier. You can control
the order in which the phone searches for a carrier.
1Turn to select “Set System” from the
Network menu, then push .
The Set System menu appears.
2Turn to set the preferences.
You can select “standard,” “home side,” “roam side,”
or “home only.” If you select “standard,” the phone
searches for the system to which you subscribe first,
then searches for an alternate system. If you select
“home side,” the phone searches for the system to which you subscribe in
all regions of coverage. If you select “roam side,” the phone searches only
for an alternate system. If you select “home only,” the phone searches for
the system to which you subscribe only in your home region.
3Push to enter the new setting.
The standby display reappears.
Forcing the phone into analog mode [F77]
You can force the phone into analog mode for the next outgoing or incoming call.
1Turn to select “Force Call” from the
Network menu, then push .
The Force Call menu appears.
2Press
1
to force the phone into analog
mode, or push to stay in digital mode.
The following display appears. After a few seconds, the
standby display reappears. Your phone stays in analog
mode for 10 minutes, or until you terminate the call or
turn off the phone.
Note
Your phone generally stays in digital mode as long as digital service signals are received. The
phone switches to analog mode when an analog service but no digital service is available, even
if you do not perform the procedure above.
FORCE CALL
1:To Force
Analog Mode
:Quit
F77
Analog for
next 10 min
or until end
of next call
F77
SET SYSTEM
home only
:Choices
:To Set
F76
SET SYSTEM
STANDARD
:Choices
:To Set
F76
CM-M1300_50_66final 3/2/98, 11:54 AM66

67
Advanced
Features
This section contains information on the Short
Messaging Service (SMS). This feature lets you
receive “text” messages, which are stored in your
phone as long as there are enough memory
locations available.
Contact your service provider to see if this
service is available in your area.
Receiving messages
To receive messages, the phone must be turned on. The phone supports three types
of messages: “MESSAGE” indicates a text message; “PAGE” typically contains only
digits; “VOICE MAIL” is a voice mail notification, and indicates the number of new
voice mail messages stored in your voice mailbox.
When you receive a message
The message icon ( ) appears on the display, accompanied by
audible alerts. The following display appears. The first line
indicates message type and priority. If the message is urgent, the
message type is flanked by asterisks (*) and followed by an
exclamation mark (!). If you press any key, this display
disappears. The message icon ( ) remains displayed as long as
there are unread messages.
Tip
If you receive duplicate messages, the phone deletes the older one and stores the new one with
the indication “DUPLICATE.”
WARNING
When you receive a new message and your phone does not have enough memory to store it, the
phone automatically erases old messages that are not locked.
If the memory becomes full
The phone issues a warning when the memory is 75% full. At
this point, you should erase expendable messages (see page 72).
If the memory becomes completely full or your phone does not
have enough memory to receive an incoming message, new
messages are rejected and the following display appears.
Using the Short Messaging Service
** PAGE! **
at 11:15AM
12/25 from
123-456-7890
Msg Memory
is 75% full.
Please read
new messages
Msg Memory
is full.
Last Msg(s)
rejected.
2
ABC
3
DEF
5
JKL
6
MNO
8
TUV
0
OPER
4
GHI
7
PQ
RS
9
WX
YZ
1
PWRCLR
SEND
END
CLR
END
SEND
CM-M1300_67_73final 3/2/98, 11:57 AM67

68
Accessing messages
1Press from the standby display.
The Messages display appears, indicating the number of
the following types of messages, respectively:
• Voice mail messages (see page 73).
• Unread text messages and pagings (see the section
below).
• Text messages and pagings that you have already
read but are still stored in memory (see page 69).
Reading text messages
You can read both new and old messages stored in memory. After reading messages,
you can protect or erase them.
To read new messages
1From the Messages display, turn to
select “New Text,” then push .
The first message is displayed.
If there are no new messages, the following display
appears. Push to return to the Messages display.
2Turn to scroll through the message.
If you do not scroll, the display automatically scrolls
down. A hollow box ( ) indicates the end of the
message.
3To proceed to the next message, push
when you reach the end of the message.
The Options menu appears. To return to the standby
display, press
END
.
4
Turn to select “Next Msg,” then push .
The next message is displayed. If there are no more
messages, the Messages display reappears. MESSAGE from
123-456-7890
* URGENT *
MESSAGE from
SONY
123-456-7890
MESSAGES
15 Voice
5 New Text
5 Old Text
OPTIONS
Erase Msg
Send
Next Msg
12:25P 12/25
============
:Options
There are no
new text
messages.
:OK
CM-M1300_67_73final 3/2/98, 11:57 AM68

69
Advanced
Features
To read old messages
1From the Messages display, turn to
select “Old Text,” then push .
A list of old messages is displayed. An asterisk (*)
indicates an urgent message. A lock icon ( ) indicates
that the message is locked (see page 70). If a number is
too long to fit, an ellipsis (...) is used.
2Turn to scroll through the list of old
messages.
3To read the selected message, push .
The selected message is displayed.
4Turn to scroll through the message.
If you do not scroll, the display automatically scrolls
down to the end of the message, which is indicated
with a hollow box ( ).
5When you have read the message, press
CLR
to return to the list of old messages.
To return to the Messages display, press .
To read the next message, push to go to the
Options menu, then select “Next Msg.”
OLD TEXT
*Bob, flig
123-555-55
*555-1234
OLD TEXT
123-555-55
*555-1234
Great Job!!
v
12:25P 12/25
============
:Options
Bob, flight
comes in at
1:30. Please
pick me up!
OLD TEXT
*Bob, flig
123-555-55
*555-1234
CM-M1300_67_73final 3/2/98, 11:57 AM69

70
To protect a text message
You can lock a message to protect it from being erased.
1After reading a message, push .
The Options menu appears.
2
Turn to select “Lock Msg,” then
push
.
The following display appears, and the message is now
locked.
Note
The phone does not erase locked messages automatically. When there is not enough memory
for incoming messages, you must erase the locked messages manually.
To respond to a text message
1After reading a text message, push
.
The Options menu appears.
2Turn to select “Send,” then push .
The phone dials the callback phone number which is
attached to the message.
If the callback number is not attached to the message,
no call is made and the following message is displayed.
Tip
In addition, you can dial the callback phone number by pressing
SEND
when viewing a text
message or the list of old messages.
OPTIONS
Erase Msg
Send
Next Msg
Message now
locked until
"Erase Msg"
is selected.
Calling...
SONY
123-456-7890
No callback
phone number
available.
:OK
OPTIONS
Erase Msg
Send
Next Msg
CM-M1300_67_73final 3/2/98, 11:57 AM70

71
Advanced
Features
To save the callback number
1After reading a message,
push .
The Options menu appears.
2Turn to select “Save Number,” then
push
.
The following display appears, prompting you for a
name to accompany the number.
3Use the number buttons to enter the name.
If you press the same button in quick succession, the
letter you just entered changes. (See the “Alphanumeric
table” on page 23.) Use / or to move the
cursor and insert spaces between characters. If you
enter the wrong character, press
CLR
to clear the
character highlighted by the cursor.
4When you are finished,
push
to store
the phone number and name.
A display similar to the following appears.
5Push to store the new number in the
first available memory location.
If you want to store it in another location, turn to
select the desired location, then
push
.
A confirmation message appears, followed by the
status of the Phone Book.
Enter a Name
:Save
Save in
location 15?
:Save
:Other Loc
Enter a Name
SONY
:Save
SONY
has been
saved in
location 15.
L15
OPTIONS
Erase Msg
Send
Next Msg
PHONE BOOK
LOCATIONS:
21 used
78 empty
CM-M1300_67_73final 3/2/98, 11:57 AM71

72
To erase a text message
1After reading a text message,
push .
The Options menu appears.
2Turn to select “Erase Msg,” then
push
.
The message is erased.
To erase all old text messages
1Turn down to select “Erase Old” from
the Messages display, then
push
.
If the Messages display is not shown, press ,
then select “Erase Old.”
2Press
1
to erase all old messages.
To go back to the Messages display without erasing the
messages,
push
.
-erased-
Erase old
text msgs?
1:Erase
:Quit
MESSAGES
15 Voice
3 New Text
0 Old Text
OPTIONS
Erase Msg
Send
Next Msg
CM-M1300_67_73final 3/2/98, 11:57 AM72

73
Advanced
Features
Reading voice mail notification messages
1From the Messages display, turn to
select “Voice,” then push .
The following display appears, indicating the number
of voice messages stored in your voice mailbox. Press
CLR
to go back to the Messages display.
2Turn to scroll through the message.
A hollow box ( ) indicates the end of the message.
To dial a callback number
1After reading a voice mail notification
message, push .
The Options menu appears.
2Turn to select “Send,” then push .
The phone dials the callback phone number which is
attached to the message.
Tip
In addition, you can dial the callback phone number by pressing
SEND
from the Messages
display or when reading a voice mail notification message.
To erase a voice message
1After reading a voice mail notification
message, push .
The Options menu appears.
2
Turn to select “Erase Msg,” then push .
The voice mail notification message is erased. The
Messages display reappears, indicating that there are
currently no voice mail notification messages stored in
memory.
You have 15
new messages
at
123-456-7890
MESSAGES
0 Voice
8 New Text
3 Old Text
Calling...
SONY
123-456-7890
OPTIONS
Erase Msg
Send
Save Number
OPTIONS
Erase Msg
Send
Save Number
12:25P 12/25
============
:Options
CM-M1300_67_73final 3/2/98, 11:58 AM73

74
Problem
16
14
13
16
65
66
50
54
16
16
18
18
—
19, 38
19, 40
16
16
16
16
54
—
—
16
—
16
16
62
• The phone is off. Turn the phone on.
• Battery is fully discharged. Recharge the battery.
• Battery may not be completely attached. Securely
attach the battery.
• The phone is outside the service area, or the signal is
too weak. Extend the antenna fully.
•
Check NAM settings on the Network menu. If you set
“Auto-NAM” to “off” and you are using two NAM’s,
the phone may be ignoring an available service.
• Check the system settings on the Network menu.
If you have selected “home only” or “alt. only,” the
phone may be ignoring an available service.
• The buttons may be locked.
• The phone may be locked. Enter the lock code to
unlock the phone.
• Check the signal strength.
• If the out-of-service icon ( ) is displayed, there is no
service. See above.
• Check the number.
• Press
SEND
.
• Listen for a busy signal.
• The microphone may be muted. Unmute the
microphone.
• Adjust the earpiece volume. If possible, also reduce
the noise around you.
•
You are possibly out of the coverage area. Redial the
number. If the problem continues, contact your carrier.
Also see “The out-of-service icon ( ) appears” above.
• You are attempting to use the phone in an area
without service.
• Extend the antenna fully.
• Wait for the out-of-service icon ( ) to disappear,
then try to dial.
• Try 0000, 1234 (commonly used as defaults), or the
last four digits of your own number.
• See your authorized dealer or service provider.
• The fast busy tone can result from any one of the
following problems:
– The phone is improperly programmed.
– The phone is out of range.
– All channels are busy.
– The antenna is broken or damaged.
• Make sure that the phone is turned on, and that the
out-of-service icon ( ) is not displayed.
•
Check the system settings. If you are roaming, consult
your service provider concerning roaming agreements.
Troubleshooting
Cause/Remedy Page
Nothing appears on the
display.
The out-of-service icon
() appears.
Nothing happens when
you press the buttons.
The call does not go
through.
You can hear the other
party, but the other
party cannot hear you.
You hear the other party
only faintly.
The call is cut off
(“dropped”).
You hear an alternate
high/low tone.
You forgot the lock
code.
You hear a fast busy
tone.
You cannot place or
receive calls.
CM-M1300_74_84final 3/2/98, 12:00 PM74

75
Additional
Information
This section lists the Features menu and its submenus. Use these to set the various
parameters that pertain to the operation of the phone. For details on how to navigate
from one menu to another, see “About the Features menus” on page 36.
Submenu Menu Item Settings Page
F-1 Sounds F11 Ringer Vol. off / low / medium / high / escalate 38
F12 Mute/UnMute mutes or unmutes the microphone 38
F13 Keybeep Vol off / low / medium / high 39
F14 Earpiece Vol 1 / 2 / 3 / 4 / 5 / 6 / 7 40
F15 Ringer Type standard / option 1 to 4 40
F16 Key Sound tones / clicks 41
F17 Beep Length standard / long 41
F-2 Timers F21 All Calls total call time, number of calls 42
F22 Recent Calls total call time, number of calls
0 m 0 s 0 call 42
F23 Minute Alert on / off 43
F24 Auto-Off never / in 3 hours / in 2 hours /
in 1 hour / in 30 mins 43
F-3 Directory F31 My Number —44
F32 Save —44
F33 Erase —45
F34 Edit —46
F35 Find Name —47
F36 Phone Book No default entries 48
F37 Calls List No default entries 49
F-4 Extras F41 Key Guard —50
F42 Touch Dial on / off 50
F43 Auto-Retry off / on 60 sec / on 30 sec / on 10 sec 51
F44 Auto-Answer on / off 51
F45 Any Key Answ on / off 52
F46 Scratch Pad —52
List of menu items
CM-M1300_74_84final 3/2/98, 12:00 PM75

76
Submenu Menu Item Settings Page
F-5 Security F51 Lock Phone never / on power-up / right now 53
F52 New Code 0000 54
F53 Restrict # No default restricted numbers 54
F54 Restrict All on / off 55
F55 Master Reset —56
F56 Erase Book —56
F57 Erase Calls —56
F58 Emergency # No default numbers for #1 to #3 57
F-6 Display F61 Banner No default banner 58
F62 Backlight off / for 7 secs / for 15 secs / always on 59
F63 Auto-hyphen on / off 59
F64 Sort Book by loc. # / alphabetic 60
F65 Menu Length long / short 61
F-7 Network F71 Roam Alert on / off 62
F72 Drop Alert on / off 63
F73 Priv. Alert on / off 64
F74 Auto-N.A.M. on / off 65
F75 Set-N.A.M. N.A.M. 1 / N.A.M. 2 65
F76 Set System standard/home side/roam side/home only 66
F77 Force Call —66
CM-M1300_74_84final 3/2/98, 12:00 PM76

77
Additional
Information
Specifications
Frequency range Transmit: 824.04 to 848.97 MHz
Receive: 869.04 to 893.97 MHz
Dimensions 5.7 × 2.0 × 1.5 inches (h/w/d)
(not including antenna)
(146 × 50 × 37 mm)
Mass (weight) Approx. 7.2 oz (203 g)
(including battery)
RF power output CDMA: 0.01 µW to 300 mW
FM: 6 mW to 600 mW
Operational temperature –22°F to +140°F
(–30°C to +60°C)
(excluding battery pack)
Supplied accessories QN-003BPLH Hi-Cap Li-Ion Battery Pack (1)
QN-001AC AC Adapter (1)
Hand strap (1)
Optional accessories QN-002BCD Dual Slot Battery Charger
QN-003BPLH Hi-Cap Li-Ion Battery Pack
QN-004BPLS Slim Li-Ion Battery Pack
QN-005BPNM Ni-MH Battery Pack
QN-006BPNC Ni-Cd Battery Pack
QN-007HFK Hands-Free Car Kit
QN-008CLA Rapid Charging Cigarette Lighter Adapter
QN-009TA Travel Adapter
QN-010LC Carrying Case
(for CM-M1300, B1200, S1100 series telephones)
QN-011PH Hands-Free Privacy Handset
QN-012DA Data Cable
QN-013HC Auto Travel Holder
QN-016SKT Starter Kit
(QN-010LC Carrying Case, Single Slot
Charging Stand, Rapid Charging Cigarette Lighter Adapter)
QN-017SKT Starter Kit
(QN-019LC Carrying Case, Single Slot
Charging Stand, Rapid Charging Cigarette Lighter Adapter)
QN-018SKT Starter Kit
(QN-018LC Carrying Case, Single Slot
Charging Stand, Rapid Charging Cigarette Lighter Adapter)
QN-018LC Carrying Case
(for CM-M2300, B2200, S2100 series telephones)
QN-019LC Carrying Case
(for CM-M3300, B3200, S3100 series telephones)
QN-020TCL Combination Travel Adapter/Cigarette
Lighter Adapter
QN-025PHK Portable Hands-Free Car Kit
Call 1-800-488-SONY (7669) to order additional accessories (USA only).
Design and specifications are subject to change without notice.
CM-M1300_74_84final 3/2/98, 12:00 PM77

78
A
Automatic answer
Feature that automatically answers
calls.
Automatic NAM
Feature that automatically selects an
available NAM that matches the current
serving system (carrier).
Automatic retry
Feature that automatically redials a call
when a “System Busy” indication is
received.
B
Banner
Message at the top of the standby
display.
C
Calls List
See “Phone Book.”
Carrier
A company that provides cellular
telephone service.
CDMA
Code Division Multiple Access. A
spread-spectrum approach to digital
transmission. With CDMA, each
conversation is digitized, and then
tagged with a code. The mobile phone
receives only the signal with the
appropriate code.
Coverage area
The geographic area covered by one
carrier. If you travel outside a carrier’s
area, you cannot receive service from
that carrier. Also see “Roam.”
D
Dropped call
A call terminated because of a deep,
long fade or because the user left the
coverage area.
DTMF
Dual Tone Multiple Frequency, also
known as “touch-tone.” Tone generated
when you press a telephone button
(number, *, or #). Can be used to access
answering machines, pagers, telephone
banking services, data services, and
other electronic services.
E
ESN
Electronic Serial Number. The unique
identification number of your
telephone. The telephone transmits this
number to the base station every time a
call is placed.
Emergency number
In addition to the general emergency
number (911 for USA and Canada),
three phone numbers can be stored as
emergency numbers in your telephone.
You can dial these numbers and 911
even when the phone is locked.
H
Home area
The area of the home system to which
you subscribe.
I
Incoming call
A call received by your telephone.
Glossary
CM-M1300_74_84final 3/2/98, 12:00 PM78

79
Additional
Information
L
Lock
Prevents unauthorized calls by
requiring the user to enter a code to use
the phone. Even if the phone is locked,
you can call any of the emergency
numbers or answer incoming calls.
M
Memory
A storage area for names and phone
numbers. Also see “Phone Book.”
Menu
The menu allows you to change or see
the settings of your phone. You can
access it from the standby display or
during a call. See “List of menu items”
on page 75 for an overview of this
feature.
Minute alert
This alert beeps periodically during a
call to help you keep track of the length
of the call.
Multiple NAM registration
Registering your phone in more than
one carrier. A cheaper alternative to
roaming. If you travel frequently to a
specific area, registering the local carrier
in your phone’s NAM’s may be an
economical alternative to roaming and
long distance charges.
N
NAM
Number Assignment Module. Portion
of your telephone’s memory
programmed to contain information
about your subscription to the carrier.
Your telephone can have up to two
NAM’s.
P
Pause
You can enter pause codes in the phone
number memory data. Use this feature
when accessing an answering machine,
voice mail system, electronic banking
system, etc. When a pause is inserted
between two groups of digits, the phone
will pause before dialing the next set of
digits, allowing you to wait until your
counterpart is ready to accept the string.
Phone Book
You can store up to 99 numbers in
Phone Book memory, location number
01 to number 99. An additional recent
number memory (Calls List) stores the
last ten used phone numbers.
R
Roam
Your phone is roaming when you use it
outside of the home area. Availability of
roaming access to a different carrier and
types of calls you can make varies with
the agreement between your home
carrier and serving carrier. Check with
your carrier for details about roaming in
a specific area.
CM-M1300_74_84final 3/2/98, 12:00 PM79

80
S
Scratch pad
Allows you to enter a number and store
it in the Calls List.
Service area
Region covered by a cellular service.
Also see “Coverage area.”
SMS
Short Messaging Service. An extended
service offered by carriers that allows
you to receive text messages on your
phone. Check with your carrier for
details.
Speed dialing
Making a call using Phone Book
memory locations. Also see “Phone
Book.”
T
Touch dialing
A quick way of making a call using a
number stored in a Phone Book memory
location. Also see “Speed dialing.”
Touch-tone
See “DTMF.”
V
Voice mail
An extended service, offered by carriers,
that allows you to retrieve voice mail
messages stored in your voice mailbox.
Check with your carrier for details.
Volume
You can adjust the volume of keybeep,
ringer, and earpiece.
CM-M1300_74_84final 3/2/98, 12:00 PM80

81
Additional
Information
A
AC adapter 8, 14
Antenna 16
Automatic
Answer 51
Hyphenation 59
Retry 51
Redial 51
B
Backlight 59
Banner 58
Battery pack
Charging 14
Checking 15
Attaching/removing 13
Battery charge contacts 14
Battery pack release tab 13
Battery icon 14, 15
C
Calling
Calls List 33, 49
Dropped call 63
Ending calls 18, 20
Making calls 18
Receiving calls 20
Recent number 33
Redialing 19, 51
Restrictions 27, 54
Roaming 62
Speed dialing 29
Touch dialing 29, 50
Carrier 62, 66
CDMA (Code Division Multiple
Access) 4
Character display 12
Clearing. See Deleting
Coverage area 65
Cursor 22, 44
Index
D
Dialing. See Calling
Deleting
Calls List entries 56
Characters 22, 44
Message 72
Phone Book entries 26, 45
Phone numbers 26, 45
Voice mail 73
Digital icon 12
Display 12
Display settings
Accessing 36
Autohyphenation 59
Backlight 59
Banner 58
Time 42
Displays
Calling 18
Features menu 36
Hyphens/pauses/links 24
Menu setting 61
Security 53
Standby 16
Dropped call 63
DTMF (Dual Tone Multiple
Frequency) 35
E
Earpiece 19, 40
Editing
Emergency numbers 57
Phone numbers 25, 46
Emergency numbers 57
Enabling
Lock 50
Touch dialing 50
Ending a call 18, 20
Entering
Hyphens 24
Links 24
Pauses 24
Erasing. See Deleting
ESN (Electronic Serial Number) 78
CM-M1300_74_84final 3/2/98, 12:00 PM81

82
F
Finding. See Searching
H
Hand strap
Attaching 9
Hyphens
Autohyphenation 59
Entering manually 24
I
Incoming call 20
In-use icon 18, 20
K
Keybeep 39
L
Laws
Rules and regulations 3
Link 24
Lock code 54
M
Making calls 18
Manual
Answer 20
Call 18
Hyphenation 24
Redial 19
Memory
Deleting 26, 45
Editing 25, 46
Number searching 31, 32, 48
Storing 22, 44
Menus
Accessing 36
Message button 68
Message icon 67
Messages
Calling back 70
Displaying 68
Erasing 72
Locking 70
Message list 68
Receiving 67
Microphone 19, 38
Minute alert 43
Multiple city registration 79
Muting the microphone 19, 38
N
NAM (Number Assignment
Module) 62, 65
Number buttons 18, 22
O
Out-of-service icon 16, 62
Overflow digits
Viewing 34
P
Pause 24
Phone Book 22, 28, 30, 44
Power
Turning off 16
Turning on 16
Q
Quitting. See Power
CM-M1300_74_84final 3/2/98, 12:00 PM82

83
Additional
Information
R
Receiving
Calls 20
Messages 67
Voice mail 73
Recent number memory
Calling recent numbers 33
Clearing call memory 56
Redialing
Auto-retry 51
Last dialed number 19
Restriction 27, 54
Ringer
Volume 38
Roam 62
Roam icon 62
Roaming agreement 62
Rules and regulations 3
S
Safety precautions 4
Scratch pad 52
Scrolling
Menus 17
Message 68
Message list 69
Searching
For a name 47
For a number 31, 32
For a message 69
Security code. See Security functions
Security functions
Accessing 53
Clearing call memory 56
Emergency numbers 57
Lock mode 53
New lock code 54
Restriction 54
Sending. See Calling
Service area 62
Signal strength icon 16
Special characters 23
Special features
Accessing 50
Changing DTMF transmission 41
Enabling touch dialing 50
Muting the microphone 38
Using the scratch pad 52
Setting auto-answer 51
Setting auto-retry 51
Standby display 16
System settings
Accessing 62
Selecting system priority 66
Selecting NAM’s
Auto-NAM 65
Manual NAM 65
T
Text Message. See Messages
Touch dialing
Enabling 50
Troubleshooting 74
Turning phone on 16
V
Voice mail notification
Accessing 73
Receiving 73
Voice Privacy 64
Volume
Adjusting 38
CM-M1300_74_84final 3/2/98, 12:00 PM83

84
SONY Wireless Hotline Number (USA only)
If you have any questions or comments, please call:
SONY WIRELESS HOTLINE
1-800-578-SONY (7669)
Printed in USA
CM-M1300_74_84final 3/2/98, 12:00 PM84