TAIYO YUDEN EYSMJCS Complete Class 2 Bluetooth Module User Manual

Taiyo Yuden Co., Ltd. Complete Class 2 Bluetooth Module

user manual

24-Aug.-2007  Ver.0.1    TAIYO YUDEN Confidential & Tentative  1/40 TAIYO YUDEN   EYSMJCS         Bluetooth® Module    EYSMJCS (RF+Baseband (Class 2) USB)  User’s Manual                         The Bluetooth® word mark and logos are owned by the Bluetooth SIG, Inc. and any use of such marks by TAIYO YUDEN CO., LTD. is under license.  In case you adopt this module and design some appliance, please ask for the latest specifications from the local sales office. We wish the customer to request the Specification Report when the design for the mass production begins because the content of this Data Report might change without a previous notice to the customer.
24-Aug.-2007  Ver.0.1    TAIYO YUDEN Confidential & Tentative  2/40 TAIYO YUDEN   EYSMJCS Document constituent list Control name  Control No.  Document Page General Items  HD-AG-A071063  1/3 – 3/3 Absolute maximum ratings  HD-AM-A071063  1/1 Electrical characteristics  HD-AE-A071063  1/3- 3/3 Electrical characteristics  HD-AE-B071063  1/2 - 2/2 Electrical characteristics  HD-AE-C071063  1/13 - 13/13   Electrical characteristics  HD-AE-D071063  1/10- 10/10   Circuit schematic  HD-MC-A071063  1/1 Outline / Appearance  HD-AD-A071063  1/1 Outline / Appearance  HD-AD-B071063  1/1 Pin Layout  HD-BA-A071063  1/1    Rev. record 24-Aug.-2007> Ver.0.1
24-Aug.-2007  Ver.0.1    TAIYO YUDEN Confidential & Tentative  3/40 TAIYO YUDEN   EYSMJCS Control No. HD-AG-A071063                 (1/3) Control name General Items Scope This specification (“Specification”) applies to the hybrid IC “EYSMJCS” for use Bluetooth® module (“Product”) manufacture by TAIYO YUDEN Co., Ltd. (“TAIYO YUDEN”)  1. User’s Code: EYSMJCS (USB I/F Support) Type: EYSMJCS 2. Function: Radio frequency transfer Module (power class 2). Bluetooth® standard Ver 2.0+EDR conformity 3. Application: Laptop PC 4. Structure: Hybrid IC loaded with silicon monolithic semiconductor 5. Outline: FFC/FPC Connector Type 6. Marking: TBD  7. Features: -Bluetooth® 2.0+EDR conformity -USB Interface -Point-to-Multipoint (7 Slaves) -Encryption -Hold, Sniff and Park Mode -Supported Link Type: ACL   -AFH -EDR (Enhanced Data Rate)  8. Packing: TBD  9. Terminal: Data input-output (6pin Cable Connector) RF input-output (Antenna)  10. Mount: TBD 11. Notes:   a. Any question arising from this Specification shall be solved through mutual discussion by the parties hereof. b. This Product is not designed for radiation durable and should not be used under the circumstance of radiation.
24-Aug.-2007  Ver.0.1    TAIYO YUDEN Confidential & Tentative  4/40 TAIYO YUDEN   EYSMJCS Control No. HD-AG-A071063                 (2/3) Control name General Items  c. The operating conditions of this Product are as shown in this Specification. Please note that TAIYO YUDEN shall not be liable for a failure and/or abnormality which is caused by use under the conditions other than the operating conditions hereof. d. This Product mentioned in this Specification is manufactured for use in    Laptop PC. Before using this Product in any special equipment (such as medical equipment, space equipment, air craft, disaster prevention equipment), where higher safety and reliability are duly required, the applicability and suitability of this Product must be fully evaluated by the customer at its sole risk to ensure correct and safety operation of those special equipments. Also, evaluation of the safety function of this Product even for use in general electronics equipment shall be thoroughly made and when necessary, a protective circuit shall be added in design stage, all at the customer’s sole risk. e. TAIYO YUDEN warrants only that this Product is in conformity with this Specification for one year after purchase and shall in no event give any other warranty. f. The warranty period shall be one year. g. Communication between this Product and others might not be established nor maintained depending upon radio environment or operating conditions of this Product and other Bluetooth® products. h. This Product is designed for use in products which comply with Bluetooth® Specifications (Ver 2.0+EDR) (“Bluetooth Specifications”). TAIYO YUDEN disclaims and is not responsible for any liability concerning infringement by this Product under any intellectual property right owned by third party in case the customer uses this Product in any product which does not comply with Bluetooth Specifications (the “non-complying products”). Furthermore, TAIYO YUDEN warrants only that this Product complies with this Specification and does not grant any other warranty including warranty for application of the non-complying products. i. TAIYO YUDEN dose not render updating or upgrading service for the firmware in the Module. j. In order to take tests for getting the certification of each country’s Radio Law with a device incorporating this module, it is necessary to make the software in Host to put the module into test condition. Please contact TAIYO YUDEN for farther details. k. Please evaluate adequately our module incorporated to your products before mass production. l. This Product operates in the unlicensed ISM band at 2.4GHz. In case this Product is used around the other wireless devices which operate in same frequency band of this Product, there is a possibility that interference occurs between this Product and such other devices. If such interference occurs, please stop the operation of other devices or relocate this Product before using this Product or do not use this Product around the other wireless devices.
24-Aug.-2007  Ver.0.1    TAIYO YUDEN Confidential & Tentative  5/40 TAIYO YUDEN   EYSMJCS Control No. HD-AG-A071063                 (3/3) Control name General Items      m. Containment of hazardous substance in this Product   *Pb (Lead)                                             : Non use             *Additional RoHS regulation substance (Cd.Hg.Cr+6.PBB.PBDE) :Non use     n. In addition when this Product is used under environmental conditions such as over voltage which   are not guaranteed ,it may be destroyed in short mode. To ensure the security of customer’s product,   please add an extra fuse or/and a protection circuit for over voltage.  p. In some cases, TAIYO YUDEN may use replacements as component parts of Products. Such replacement shall apply only to component part of Products, which TAIYO YUDEN deems it possible to replace or substitute according to (i) Scope provided in this Specification (e.g. Official Standard (Type Approvals, Bluetooth LOGO etc.)) and (ii) Quality of Products. TAIYO YUDEN also ensures traceability of such replacement on production lot basis.  r. Do not alter Hardware and/or Software of this Product.         Please note that TAIYO YUDEN shall not be liable for any problem if it is caused by customer's                     alteration of Hardware or/and Software without Taiyo Yuden's prior approvals.                        This module is still under development, thus specifications do not guarantee both the quality and reliability at the time of shipment. Since the specifications and mass production of the module are not confirmed either, the contents of the technical notes are subject to change without any prior notice.
24-Aug.-2007  Ver.0.1    TAIYO YUDEN Confidential & Tentative  6/40 TAIYO YUDEN   EYSMJCS Control No. HD-AM-A 071063              (1/1) Control name Absolute maximum ratings  Absolute maximum ratings Rating Item Symbol Min. Typ. Max.  Unit  Remark Supply voltage  VDD -0.3   3.6  V Ta=25 degrees C, GND reference Input voltage  Vin  -0.3    VDD+0.3 V  I/O terminals except USB interface  Recommendation operating range Rating Item Symbol Min. Typ. Max.  Unit  Remark Supply voltage  VDD  3.15  3.3  3.45  V   Supply voltage ripple and spike noise  VDD_rn    (30) mVp-p Note 1 Operation temperature range  Topr 0 25 70 Degrees C Humidity=40%RHNote 2 Storage temperature range  Tstg -30 25 85 Degrees C Humidity=40%RHNote 3  Notes: 1. To fill the standard of “Supply voltage ripple and spike noise”, the capacitor, which has the capacity of 2.2uF or more, should be put in the terminal VDD outside as a bypass capacitor . 2. Operating temperature range is set to satisfy products electrical characteristics in the short term. In terms of product life cycle when it is used in condition of varying from TYP standard in the long term, please refer to the reliability condition. 3. Storage temperature range is the condition for transportation and storage in temporary.
24-Aug.-2007  Ver.0.1    TAIYO YUDEN Confidential & Tentative  7/40 TAIYO YUDEN   EYSMJCS Control No. HD-AE-A071063               (1/3) Control name Electrical characteristics Electrical characteristic  DC Specifications The Specification applies for Topr.= 25 degrees C, VDD=3.3V No. Parameter  Condition  Symbol Min.  Typ. Max. Unit Remark 1  Normal supply voltage   VDD 3.15 3.3 3.45 V  2  Input Low Voltage 1  /RESET, PIOX  VIL1 -0.3    0.8  V   3  Input Low Voltage 2  USB_D+, USB_D-  VIL2 -    0.8  V   4  Input High Voltage 1  /RESET, PIOX  VIH1 0.7xVDD    VDD+0.3  V   5  Input High Voltage 2  USB_D+, USB_D-  VIH2 2.0    -  V   6  Output Low Voltage 1  PIOX VOL1 -  0.4 V IOL=4mA 7  Output Low Voltage 2  USB_D+, USB_D-  VOL2 -    0.3  V   8  Output High voltage 1  PIOX VOH1 VDD-0.4  - V IOH=-4mA 9  Output High voltage 2  USB_D+, USB_D-  VOH2 2.8    -  V   10  Peak current  Continuous Rx  Iccp1   (42)  (120)  mA Notes 3, 4 11  Average current1  Sniff mode (Slave only)  Icca1   (10) - mA Notes 1, 3, 4 12  Average current2  Standby mode  Icca2   (9) - mA Notes 3, 4 13  Average current3  Send DM1packet (Master) Icca3   (36) - mA Notes 3, 4 14  Average current4  Receive DM1packet (Slave) Icca4   (37) - mA Notes 3, 4 15  Average current5  Hold mode (Slave only)  Icca5   (9) - mA Notes 3, 4 16  Average current6  Park mode (Slave only)  Icca6   (9) - mA Notes 2, 3, 4  Notes: 1. Sniff mode parameter.   Max interval  0050h Min interval    0010h Attempt     0005h Timeout     0005h 2. Park mode parameter.    Max interval  0100h                          Min interval  0010h 3. The consumption current might fluctuate with the condition of radio communication, host performance and test circuit. 4. The value may fluctuate several (mA) depending on Firmware version.
24-Aug.-2007  Ver.0.1    TAIYO YUDEN Confidential & Tentative  8/40 TAIYO YUDEN   EYSMJCS Control No. HD-AE-A071063               (2/3) Control name Electrical characteristics AC Specifications The Specification applies for Topr.= 25 degrees C, VDD=3.3V No. Parameter  Condition Symbol Min Typ Max Unit Remark 1  VDD Rise Time from 0V to 3.15V    t1  0    2  ms Note 1 2  VDD= 3.15V to /RESET High    t2  10     ms Note 2 3  /RESET High to Module Ready    t3    (100)  3000  ms Notes 3, 4 4  /RESET Pulse Width    t4  6      ms  5  DETACH High to USB I/F High-Z    t5      130  ms  6  DETACH Low to USB I/F Active    t6  0    10  ms  7  /RESET High to /RESET Low      t7  3000     ms Note 5 8  /RESET Low to USB_I/F High-Z    t8  0    10  ms  9  Module Active to /RESET Low    t9  0      ms Note 5 10  /RESET Low to VDD_3.3V Off    t10  0      ms   Notes:   1. This module has an internal flash memory and a function to erase/sort unnecessary data if certain HCI commands are issued and consume more than a certain level of free space in the flash memory. This operation occurs at every module initialization (power-on). If supply voltage becomes non-defined states during initialization or writing in flash memory, data in flash memory might be destroyed. If the data in flash memory is destroyed, module will not work correctly. Therefore please be sure to stabilize power source before /RESET release. In addition please design module peripheral circuits to avoid temporary blackout of power source during operation. Please refer HD-AE-C 071063 for HCI command which rewrites flash memory data. 2. Input /RESET signal of 10ms and more in condition of VDD_3.3V at over 3.15V. 3. When the module is ready to accept the command, its module outputs the “0F 04 00 01 00 00” (Hex) USB to the Data Line. After that, please access to the module. 4. The Typ. is a reference value. The value may change depending on the firmware version and conditions of use. 5. You don’t need to wait t6 if you confirm that this module has output “0F 04 00 01 00 00” (Hex).
24-Aug.-2007  Ver.0.1    TAIYO YUDEN Confidential & Tentative  9/40 TAIYO YUDEN   EYSMJCS Control No. HD-AE-A071063               (3/3) Control name Electrical characteristics   USB_DETACHVDD/RESETUSB_I/F(Note 1)Timing Diagram for Power Up Sequencet1t2t4t7t3Activet9 t8Active Activet5 t6   Timing Diagram for Power Down SequenceVDD_3.3V/RESET(Note 1)USB_I/FUSB_DETACHActivet10
24-Aug.-2007  Ver.0.1    TAIYO YUDEN Confidential & Tentative  10/40 TAIYO YUDEN   EYSMJCS Control No. HD-AE-B071063                   (1/2) Control name Electrical characteristics  RF Specifications at Basic Rate The Specification applies for Ta=25 degrees C, VDD=3.3V No. Parameter  Condition  Symbol Min  Typ  Max  Unit  Remark 1 Frequency band    FREQ 2400   2483.5 MHz  2 Tx power    PO  -6  0  +4  dBm  3  Modulation characteristics 1  dF1: F0(11110000)  M1  140    175  kHz   4  Modulation characteristics 2  dF2: AA(10101010)  M4  115      kHz   5  Modulation characteristics 3  dF2/dF1 MC 0.8     6  In-band spurious emission 2  2MHz(|M-N|=2) ISE1     -20 dBm  7  In-band spurious emission 3 3MHz or greater (|M-N|>=3)  ISE2     -40  dBm  8  Initial Carrier   Frequency   ICF -75  +75 kHz  9  Frequency Drift 1  DH1  FD1  -25    +25  kHz   10  Frequency Drift 2  DH3,DH5  FD2  -40    +40  kHz   11 Drift rate  DH1,DH3,DH5  DR      400  Hz/us  12 C/I co-channel    CIC      11  dB  -60dBm 13 C/I 1MHz    CI1      0  dB  -60dBm 14 C/I 2MHz    CI2      -30  dB  -60dBm 15 C/I >= 3MHz    CI3      -40  dB  -67dBm 16 C/I Image    CI4      -9  dB -3MHz offset -67dBm 17  C/I Image +/- 1MHz    CI5      -20  dB  -67dBm 18  Out-of-Band Blocking 1 30MHz to 2000MHzf=2460MHz  OBB1   -10 dBm BER<=0.1% 19  Out-of-Band Blocking 2 2000 to 2399MHz f=2460MHz  OBB2   -27 dBm BER<=0.1% 20  Out-of-Band Blocking 3 2484 to 3000MHz f=2460MHz  OBB3   -27 dBm BER<=0.1% 21  Out-of-Band Blocking 4 3000MHz to 12.75GHz  f=2460MHz OBB4   -10 dBm BER<=0.1% 22  Maximum Input Level   MAXP -20   dBm BER<=0.1% 23 20dB Bandwidth    B20      1  MHz  24 Sensitivity-single  DH1  SEN1     -70  dBm BER<=0.1% 25 Sensitivity-multi  DH3,DH5  SEN2     -70  dBm BER<=0.1%
24-Aug.-2007  Ver.0.1    TAIYO YUDEN Confidential & Tentative  11/40 TAIYO YUDEN   EYSMJCS Control No. HD-AE-B071063                   (2/2) Control name Electrical characteristics  RF Specifications at EDR The Specification applies for Ta=25 degrees C, VDD =3.3V No. Parameter  Condition  Symbol Min  Typ Max  Unit  Remark 1 RMS DEVM 1  Pai/4DQPSK  RDE1      0.20      2 RMS DEVM 2  8DPSK  RDE2      0.13     3 Peak DEVM 1  Pai/4DQPSK  PDE1      0.35      4 Peak DEVM 2  8DPSK  PDE2      0.25     5  99% DEVM 1  Pai/4DQPSK  D991      0.30       6  99% DEVM 2  8DPSK  D992      0.20     7  EDR In-band spurious emission 1  |M-N|=1  EISE1 26         dB   8  EDR In-band spurious emission 2  |M-N|=2 EISE2   -20 dBm  9  EDR In-band spurious emission 3  |M-N|=3 EISE3   -40 dBm  10  EDR Initial Carrier   Frequency    EICF -75  +75 kHz  11 EDR Drift     ED  -10    +10  kHz  12  Relative transmit power  PDPSK RTP PGFSK-4   PGFSK+1  dB  13  Actual Sensitivity Level 2-DH5(3-DH5) 16000000bit  ESEN    -70 dBm BER= 10-414  BER Floor Performance 2-DH5(3-DH5) 160000000bit  FSEN    -60 dBm BER= 10-515 C/I co-channel  2-DH5  2CIC      13  dB -60dBm 16 C/I 1MHz  2-DH5  2CI1      0  dB -60dBm 17 C/I 2MHz  2-DH5  2CI2      -30  dB  -60dBm 18 C/I >= 3MHz  2-DH5  2CI3      -40  dB  -67dBm 19 C/I Image  2-DH5  2CI4      -7  dB -67dBm -3MHz offset 20  C/I Image +/- 1MHz  2-DH5  2CI5      -20  dB  -67dBm 21 C/I co-channel  3-DH5  3CIC      21  dB -60dBm 22 C/I 1MHz  3-DH5  3CI1      5  dB -60dBm 23 C/I 2MHz  3-DH5  3CI2      -25  dB  -60dBm 24 C/I >= 3MHz  3-DH5  3CI3      -33  dB  -67dBm 25 C/I Image  3-DH5  3CI4      0  dB -67dBm -3MHz offset 26  C/I Image +/- 1MHz  3-DH5  3CI5      -13  dB  -67dBm 27  Maximum Input Level  2-DH5(3-DH5)  EMAXP  -20    dBm   Note:   Bluetooth® standard Ver 2.0+EDR conformity
24-Aug.-2007  Ver.0.1    TAIYO YUDEN Confidential & Tentative  12/40 TAIYO YUDEN   EYSMJCS Control No. HD-AE-C071063                 (1/13) Control name Electrical characteristics Supported HCI Commands / HCI Events The Bluetooth® functions of this module is as written in the attached PICS. Depending on   firmware version Upgrade, the Bluetooth® functions are subject to change without notice.       HCI COMMAND LIST                                                    Firmware Version 21e (Build3164) Command Description OpCode Group (Hex) Command (Hex)  Parameters Returns Status NotesLINK CONTROL Inquiry LAP Inquiry Length HCI _Inquiry  0x0401  1  1 Num Responses  Yes   HCI _ Inquiry_ Cancel  0x0402  1  2    Status  Yes   Max Period Length Min Period Length LAP Inquiry Length HCI_ Periodic_ Inquiry _Mode  0x0403  1  3 Num Responses Status Yes  HCI _Exit _Periodic _Inquiry _Mode 0x0404  1  4    Status  Yes    Connection Management BD ADDR Packet Type Page Scan Repetition ModePage Scan Mode Clock Offset HCI _Create_ Connection  0x0405  1  5 Allow Role Switch  Yes  a,b  Connection Handle HCI _Disconnect  0x0406  1  6  Reason   Yes  b SCO Handle HCI _Add _SCO _Connection  0x0407  1  7  Packet Type   Yes b,c,d,j,pStatus HCI _Create _Connection _Cancel  0x0408  1  8  BD ADDR  BD_ADDR  Yes  l BD ADDR HCI _Accept _Connection _Request  0x0409  1  9  Role   Yes   HCI _Reject _Connection _Request  0x040A  1  A  BD ADDR    Yes   Connection Handle HCI _Change _Connection _Packet _Type  0x040F 1  F  Packet Type   Yes  Connection_Handle Transmit_Bandwidth Receive_Bandwidth Max_Latency Voice_Setting Retransmission_Effort HCI _Setup _Synchronous _Connection  0x0428 1  28 Packet_Type  Yes  l,m,o,p BD ADDR Transmit_Bandwidth Receive_Bandwidth Max_Latency Content Format Retransmission_Effort HCI _Accept _Synchronous _Connection _Request  0x0429 1  29 Packet_Type  Yes  l, m,oBD ADDR HCI _Reject _Synchronous _Connection _Request  0x042A 1  2A  Reason   Ye s l ,m,o
24-Aug.-2007  Ver.0.1    TAIYO YUDEN Confidential & Tentative  13/40 TAIYO YUDEN   EYSMJCS Control No. HD-AE-C071063                (2/13) Control name Electrical characteristics  Authentication / Pairing BD ADDR  Status HCI _Link _Key _Request _Reply  0x040B  1  B  Link Key  BD ADDR  Yes   Status HCI _Link _Key _Request _Negative _Reply  0x040C 1  C  BD ADDR  BD ADDR  Ye s  BD ADDR  Status PIN Code Length  BD ADDR HCI _PIN _Code _Request _Reply  0x040D  1  D PIN Code   Yes   Status HCI _PIN _Code _Request _Negative _Reply  0x040E 1  E  BD ADDR  BD ADDR  Ye s  HCI _Authentication _Requested 0x0411 1  11  Connection Handle  Yes  HCI _Change _Connection _Link _Key  0x0415 1  15  Connection Handle    Yes    Encryption Connection Handle HCI _Set _Connection _Encryption  0x0413  1  13  Encryption Enable   Yes   HCI _Master _Link _Key  0x0417  1  17  Key Flag    Yes    Remote Information BD ADDR Page Scan Repetition ModePage Scan Mode HCI _Remote _Name_ Request  0x0419  1  19 Clock Offset  Yes   Status HCI _Remote _Name _Request _Cancel  0x041A 1  1A  BD_ADDR  BD_ADDR  Yes l  HCI _Read _Remote _Supported _Features  0x041B 1  1B  Connection Handle    Yes   Connection Handle HCI _Read _Remote _Extended _Features  0x041C 1  1C  Page_Number   Yes  l  HCI _Read _Remote _Version _Information  0x041D 1  1D  Connection Handle    Yes   HCI _Read _Clock _Offset  0x041F  1  1F  Connection Handle    Yes   Status Connection Handle LMP_Handle HCI _Read _LMP _Handle  0x0420  1  20  Connection Handle Reseved Yes  l
24-Aug.-2007  Ver.0.1    TAIYO YUDEN Confidential & Tentative  14/40 TAIYO YUDEN   EYSMJCS Control No. HD-AE-C071063                 (3/13) Control name Electrical characteristics  LINK POLICY Connection Handle Hold Mode Max Interval HCI _Hold _Mode  0x0801  2  1 Hold Mode Min Internal  Yes   Connection Handle Sniff Mode Max Interval Sniff Mode Min Interval Sniff Attempt HCI _Sniff _Mode  0x0803  2  3 Sniff Timeout  Yes   HCI _Exit _Sniff _Mode  0x0804  2  4  Connection Handle    Yes   Connection Handle Beacon Max Interval HCI _Park _State  0x0805  2  5 Beacon Min Interval  Yes  k HCI _Exit _Park _State  0x0806  2  6  Connection Handle    Yes  k Connection Handle Flags Service Type Token Rate Peak Bandwidth Latency HIC _QoS _Setup  0x0807  2  7 Delay Variation  Yes  e, mStatus Connection Handle HCI _Role _Discovery  0x0809  2  9  Connection Handle Current Role Yes   BD ADDR HCI _Switch _Role  0x080B  2  B  Role   Yes   States Connection Handle HCI _Read _Link _Policy _Settings  0x080C  2  C  Connection Handle Link Policy Settings Yes   Connection Handle  States HCI _Write _Link _Policy _Settings  0x080D  2  D  Link Policy settings  Connection Handle  Yes  Status HCI _Read _Default _Link _Policy _Settings  0x080E 2  E    Default Link Policy Settings Yes  l HCI _Write _Default _Link _Policy _Settings  0x080F 2  F  Default Link Policy Settings  Status Yes l Connection Handle Flags Flow direction Service Type Token Rate Token Bucket Size Peak Bandwidth HCI _Flow _Specification  0x0810  2  10 Access Latency  No l,m
24-Aug.-2007  Ver.0.1    TAIYO YUDEN Confidential & Tentative  15/40 TAIYO YUDEN   EYSMJCS Control No. HD-AE-C071063                 (4/13) Control name Electrical characteristics  HOST CONTROLLER & BASEBAND HCI _Set _Event _Mask  0x0C01  3  1  Event Mask  States  Yes   HCI _Reset  0x0C03  3  3    States  Yes   Filter Type Filter Condition Type HCI _Set _Event _Filter  0x0C05  3  5 Condition States Yes  States HCI _Flush  0x0C08  3  8  Connection Handle  Connection Handle  Yes  States HCI _Read _PIN _Type  0x0C09  3  9    PIN Type  Yes   HCI _Write _PIN _Type  0x0C0A  3  A  PIN Type  States  Yes   HCI _Create _New _Unit _Key  0x0C0B  3  B    States  Yes   BD ADDR  States Max Num Keys HCI _Read _Stored _Link _Key  0x0C0D  3  D  Read All Flag  Num Keys Read Yes   Num Keys To Write  States BD ADDR [I] HCI _Write _Stored _Link _Key  0x0C11  3  11 Link Key [I]  Num Keys Written  Yes n  BD ADDR  States HCI _Delete _Stored _Link _Key  0x0C12  3  12  Delete All Flag  Num Keys Deleted  Ye s n HCI _Write _Local _Name  0x0C13  3  13  Local Name  States  Yes  f,k States HCI _Read _Local _Name  0x0C14  3  14    Local Name  Yes  States HCI _Read _Connection _Accept _Timeout  0x0C15 3  15    Conn Accept Timeout  Ye s  HCI _Write _Connection _Accept _Timeout  0x0C16 3  16  Conn Accept Timeout  States  Yes   States HCI _Read _Page _Timeout  0x0C17  3  17    Page Timeout  Yes  HCI _Write _Page _Timeout  0x0C18  3  18  Page Timeout  States  Yes   States HCI _Read _Scan _Enable  0x0C19  3  19    Scan Enable  Yes   HCI _Write _Scan _Enable  0x0C1A  3  1A  Scan Enable  States  Yes   States Page Scan Interval HCI _Read _Page _Scan _Activity  0x0C1B  3  1B   Page Scan Window Yes   Page Scan Interval HCI _Write _Page _Scan _Activity  0x0C1C  3  1C  Page Scan Window  States Yes  States Inquiry Scan Interval HCI _Read _Inquiry _Scan _Activity 0x0C1D  3  1D   Inquiry Scan Window Yes   Inquiry Scan Interval HCI _Write _Inquiry _Scan _Activity 0x0C1E  3  1E  Inquiry Scan Window  States Yes  States HCI _Read _Authentication _Enable  0x0C1F  3  1F    Authentication Enable  Yes  HCI _Write _Authentication _Enable 0x0C20  3 20  Authentication Enable States  Yes  States HCI _Read _Encryption _Mode  0x0C21  3  21    Encryption Mode  Yes   HCI _Write _Encryption _Mode  0x0C22  3  22  Encryption Mode  States  Yes   States HCI _Read _Class _of _Device  0x0C23  3  23    Class of Device  Yes   HCI _Write _Class _of _Device  0x0C24  3  24  Class of Device  States  Yes   States HCI _Read _Voice _Setting  0x0C25  3  25    Voice Setting  Yes   HCI _Write _Voice _Setting  0x0C26  3  26  Voice Channel setting  States  Yes
24-Aug.-2007  Ver.0.1    TAIYO YUDEN Confidential & Tentative  16/40 TAIYO YUDEN   EYSMJCS Control No. HD-AE-C071063                 (5/13) Control name Electrical characteristics  States Connection Handle HCI _Read _Automatic _Flush _Timeout  0x0C27 3  27  Connection Handle Flush Timeout Yes   Connection Handle  States HCI _Write _Automatic _Flush_ Timeout  0x0C28 3  28  Flash Timeout  Connection Handle  Yes  HCI _Read _Num _Broadcast_ Retransmission  0x0C29 3  29    States  Yes   HCI _Write _Num _Broadcast_ Retransmission  0x0C2A 3  2A  Num Broadcast Retransmission  States Yes  States HCI _Read _Hold _Mode _Activity  0x0C2B  3  2B    Hold Mode Activity  Yes   HCI _Write _Hold _Mode _Activity  0x0C2C  3  2C  Hold Mode Activity  States  Yes   Connection Handle  States Connection Handle HCI _Read _Transmit _Power _Level  0x0C2D 3  2D  Type  Power Level Yes   States HCI _Read _Synchronous _Flow _Control _Enable  0x0C2E 3  2E    Synchronous Flow Control Enable No c,d,kHCI _Write _ Synchronous _Flow _Control _Enable  0x0C2F 3  2F  Synchronous Flow Control Enable  States No c,d,kHCI _Set _Controller _To _Host _Flow _Control  0x0C31  3  31  Flow Control Enable  States  Yes  k Host ACL Data Packet Length Host SCO Data Packet Length Host Total Num ACL Data Packets HCI _Host _Buffer _Size  0x0C33  3  33 Host Total Num SCO Data Packets States Yes  Number of Handles Connection handle [I] HCI _Host _Number _Of _Completed _Packets  0x0C35 3  35  Host Num of Completed Packets [I]  Yes   States Connection Handle HCI _Read _Link _Supervision _Timeout  0x0C36 3  36  Connection Handle  Link Supervision Timeout Yes   Connection Handle  States HCI _Write _Link _Supervision _Timeout  0x0C37 3  37  Link Supervision Timeout  Connection Handle  Ye s   States HCI _Read _Number _Of _Support _IAC  0x0C38 3  38    Num Support IAC  Yes   States Num Current IAC HCI _Read _Current _IAC _LAP  0x0C39  3  39   IAC LAP [I] Yes   Num Current IAC HCI _Write _Current _IAC _LAP  0x0C3A  3  3A  IAC LAP [I]  States Yes  States HCI _Read _Page _Scan _Period   _Mode  0x0C3B 3  3B    Page Scan Period Mode  Ye s   HCI _Write _Page _Scan _Period _Mode  0x0C3C  3  3C  Page Scan Period Mode  States  Yes   States HCI _Read _Page _Scan _Mode  0x0C3D  3  3D    Page Scan Mode  Yes j HCI _Write _Page _Scan _Mode  0x0C3E  3  3E  Page Scan Mode  States  Yes  h,j HCI _Set _AFH _Host _Channel   _Classification  0x0C3F 3  3F  AH Host Channel   Classification  Status Yes l
24-Aug.-2007  Ver.0.1    TAIYO YUDEN Confidential & Tentative  17/40 TAIYO YUDEN   EYSMJCS Control No. HD-AE-C071063                 (6/13) Control name Electrical characteristics  Status HCI _Read _Inquiry _Scan _Type  0x0C42  3  42    Inquiry Scan Type  Yes l HCI _Write _Inquiry _Scan _Type  0x0C43  3  43  Inquiry Scan Type  Status  Yes  l Status HCI _Read _Inquiry _Mode  0x0C44  3  44    Inquiry Mode  Yes  l HCI _Write _Inquiry _Mode  0x0C45  3  45  Inquiry Mode  Status  Yes  l Status HCI _Read _Page _Scan _Type  0x0C46  3  46    Page Scan Type  Yes  l HCI _Write _Page _Scan _Type  0x0C47  3  47  Page Scan Type  Status  Yes  l Status HCI _Read _AFH _Channel   _Assessment _Mode  0x0C48 3  48    AFH Channel   Assessment Mode Yes  l HCI _Write _AFH _Channel   _Assessment _Mode  0x0C49 3  49  AFH Channel   Assessment Mode  Status Yes l  INFORMATIONAL PARAMETERS Status HCI Version HCI Revision LMP Version Manufacturer Name HCI _Read _Local _Version _ Information  0x1001 4  1   LMP Subversion Yes   Status HCI _Read _Local _Supported _Commands  0x1002 4  2    Supported Commands  Yes  l Status HCI _Read _Local _Supported   _Features  0x1003 4  3    LMP_Features  Ye s  Status Page number Maximum Page NumberHCI _Read _Local _Extended _Features  0x1004 4  4  Page number Extended LMP FeaturesYes  l Status HC ACL Data Packet Length HC Synchronous Data   Packet Length HC Total Num ACL Data Packet HCI _Read _Buffer _Size  0x1005  4  5   HC Total Num Synchronous Data PackeYes   Status HCI _Read _Country _Code  0x1007  4  7    Country Code  Yes  j Status HCI _Read _BD _ADDR  0x1009  4  9    BD ADDR  Yes
24-Aug.-2007  Ver.0.1    TAIYO YUDEN Confidential & Tentative  18/40 TAIYO YUDEN   EYSMJCS Control No. HD-AE-C071063                 (7/13) Control name Electrical characteristics  STAUS PARAMETERS Status Connection handle HCI _Read _Failed _Contact _Counter  0x1401 5  1  Connection Handle Failed Contact Counter Yes   Status HCI _Reset _Failed _Contact _Counter  0x1402 5  2  Connection Handle  Connection handle  Yes  Status Connection Handle HCI _Read _Link _Quality  0x1403  5  3  Connection Handle Link Quality Yes  k Status Connection Handle HCI _Read _RSSI  0x1405  5  5  Connection Handle RSSI Yes   Status Connection Handle AFH Mode HCI _Read _AFH _Channel _Map  0x1406  5  6  Connection Handle AFH Channel Map Yes  l Status Which Clock  Connection Handle AFH Mode HCI _Read _Clock  0x1407  5  7 Connection Handle  AFH Channel Map Yes  l  TESTING States HCI _Read _Loopback _Mode  0x1801  6  1    Loopback Mode  Yes   HCI _Write _Loopback _Mode  0x1802  6  2  Loopback Mode  States  Yes  g,i HCI _Enable _Device _Under _Test _Mode  0x1803 6  3    States  Yes
24-Aug.-2007  Ver.0.1    TAIYO YUDEN Confidential & Tentative  19/40 TAIYO YUDEN   EYSMJCS Control No. HD-AE-C071063                 (8/13) Control name Electrical characteristics  Notes: a) Up to seven connections: a slave of up to two masters, and/or a master of up to seven slave. Some operations restricted or non-functional in a scatternet. b)  Chip resource limits constrain the rate at which ACL and SCO connections can be made and broken to approximately20 per 15 seconds.  The time limit can be configured. b) Up to three SCO links.  Each SCO link can be routed over the chip’s PCM interface or over HCI/BCSP. Preliminary Support for SCO over USB or H4 is in place, but testing has been light. d) No HCI SCO Host Controller to Host flow control support. No HCI SCO Host to Host Controller flow control support. e) Limited support for “best effort” and “guaranteed” Qos only. f) Initial device name taken from PS Keys, and so is maintained through a reset/reboot. g) HCI Reset does not work if the device is in local loopback mode. h) Optional Paging schemes are not supported. i) Remote ACL loopback sometimes deadlocks when the device’s flow control mechanisms assert to each other. j) Bluetooth v1.1 specification command, deprecated in the v1.2 specification,or later; support retained for backwards compatibility. k) Bluetooth v1.1 specification command, renamed in the v1.2 specification,or later. Park Mode ---> Park State Exit Park Mode ---> Exit Park State Set Host Controller To Host Flow Control ---> Set Controller To Host Flow Control Change Local Name ---> Write Local Name Read SCO Flow Control Enable ---> Read Synchronous Flow Control Enable Write SCO Flow Control Enable ---> Write Synchronous Flow Control Enable Get Link Quality ---> Read Link Quality l) Command not in the Bluetooth v1.1 specification. m) Underlying Flow_Specification functionality the same as for QoS_Setup. n) Command which rewrites FROM in module p) CVSD not available with 3EV3 or 3EV5 EDR packets. q) HCI Setup Synchronous Connection command does not support HV1,HV2 and HV3 Packet Type. If you want to use those Packet Types, please use HCI Add SCO connection command.
24-Aug.-2007  Ver.0.1    TAIYO YUDEN Confidential & Tentative  20/40 TAIYO YUDEN   EYSMJCS Control No. HD-AE-C071063                 (9/13) Control name Electrical characteristics        HCI EVENT LIST                                                        Event Description  OpCode Parameters  Status  Notes Inquiry Inquiry _Complete  0x01  Status  Yes   Num Responses BD ADDR [I] Page Scan Repetition Mode [I] Page Scan Period Mode [I] Page Scan Mode [I] Class of Device [I] Inquiry _Result  0x02 Clock Offset [I] Yes   Num Responses BD ADDR [I] Page Scan Repetition Mode [I] Page Scan Period Mode [I] Page Scan Mode [I] Class of Device [I] Clock Offset [I] Inquiry _Result _with _RSSI  0x22 RSSI [I] Yes  b  Connection Management Status Connection Handle BD ADDR Link Type Connection _Complete  0x03 Encryption Mode Yes   BD ADDR Class of Device Connection _Request  0x04 Link Type Yes   Status Connection Handle Disconnection _Complete  0x05 Reason Yes   Status Connection Handle BD ADDR Link Type Transmission Interval Retransmission Window Rx Packet Length Tx Packet Length Synchronous _Connection _Complete  0x2C Air Mode Yes  b Status Connection Handle Transmission Interval Retransmission Window Rx Packet Length Synchronous _Connection _Changed  0x2D Tx Packet Length Yes  b
24-Aug.-2007  Ver.0.1    TAIYO YUDEN Confidential & Tentative  21/40 TAIYO YUDEN   EYSMJCS Control No. HD-AE-C071063                 (10/13) Control name Electrical characteristics  Authentication / Pairing Status Authentication _Complete  0x06  Connection Handle  Yes  Num Keys BD ADDR [I] Return _Link _Keys  0x15 Link Key [I] Yes   PIN _Code _Request  0x16  BD ADDR  Yes   Link _Key _Request  0x17  BD ADDR  Yes   BD ADDR Link _Key _Notification  0x18  Link Key  Yes    Encryption Status Connection Handle Encryption _Change  0x08 Encryption Enable Yes   Status Change _Connection _Link _Key _Complete  0x09  Connection Handle  Ye s   Status Connection Handle Master _Link _Key _Complete  0x0A Key Flag Yes    Remote Information Status BD ADDR Remote _Name _Request _Complete  0x07 Remote Name Yes   Status Connection Handle Read _Remote _Supported _Features _Complete  0x0B LMP Features Yes   Status Connection Handle LMP Version Manufacture Name Read _Remote _Version _Information _Complete  0x0C LMP Subversion Yes   Status Connection Handle Page Number Maximum page number Read _Remote _Extended _Features _Complete  0x23 Extended LMP Features Yes  b
24-Aug.-2007  Ver.0.1    TAIYO YUDEN Confidential & Tentative  22/40 TAIYO YUDEN   EYSMJCS Control No. HD-AE-C071063                 (11/13) Control name Electrical characteristics  Link Policy Status Connection Handle Flags Service Type Token Rate Peak Bandwidth Latency QoS _Setup _Complete  0x0D Delay Variation Yes   Status BD ADDR Role _Change  0x12 New Role Yes   Status Connection Handle Current Mode Mode _Change  0x14 Interval Yes   Status Connection Handle Flags Flow direction Service Type Token Rate Token Bucket Size Peak Bandwidth Flow _Specification _Complete  0x21 Access Latency Yes  b,c   General Num HCI Command Packets Command Opcode Command _Complete  0x0E Return Parameters Yes   Status Num HCI Command Packets Command _Status  0x0F Command Opcode Yes   Hardware _Error  0x10  Hardware Code  Yes   Number of Handles Connection Handle [I] Number _Of _Completed _Packets  0x13 HC Num HCI Data Packets [I] Yes   Data _Buffer _Overflow  0x1A  Link Type  No  a Connection Handle Max _Slots _Change  0x1B  LMP Max Slots  Yes  Status Connection Handle Read _Clock _Offset _Complete  0x1C Clock Offset Yes    Host Controller & Baseband Flush _Occurred  0x11  Connection Handle  Yes   Loopback _Command  0x19  HCI Command Packet  Yes   Status Connection Handle Connection _Packet _Type _Change  0x1D Packet Type Yes   QoS _Violation  0x1E  Connection Handle  No   BD ADDR Page _Scan _Mode _Change  0x1F  Page Scan Mode  No d BD ADDR Page _Scan _Repetition _Mode _Change  0x20  Page Scan Repetition Mode  Yes
24-Aug.-2007  Ver.0.1    TAIYO YUDEN Confidential & Tentative  23/40 TAIYO YUDEN   EYSMJCS Control No. HD-AE-C071063                 (12/13) Control name Electrical characteristics  Notes: a) Significance and expected recovery procedure is ill defined. b) Event not in the Bluetooth v1.1 specification. c) Event provoked by local Flow Specification command, even through the command is not implemented. d) Optional paging schemes not supported. Bluetooth v1.1 specification only.
24-Aug.-2007  Ver.0.1    TAIYO YUDEN Confidential & Tentative  24/40 TAIYO YUDEN   EYSMJCS Control No. HD-AE-C071063                (13/13) Control name Electrical characteristics  Module Stack                          Note: The protocol stack in the module is compliant with the Specification of the Bluetooth® System V2.0+EDR               HOSTUSB I/F USB HCI Host TransportHCI ImplementationLink Manager Link Controller Base BandRadioBluetooth®  Module
24-Aug.-2007  Ver.0.1    TAIYO YUDEN Confidential & Tentative  25/40 TAIYO YUDEN   EYSMJCS Control No. HD-AE-D071063                 (1/10) Control name Electrical characteristics  PICS for Firmware Version 21d (Build3059) The Bluetooth® functions of this module are as below. Depending on firmware version upgrade, the Bluetooth® functions are subject to change without notice.   SUMMARY Table 2-1: Controller Core Specification Item Specification Name Support 1  Core Spec Version 1.1, Adopted 5 Feb 2001 (Ver. 1.1)  No 2  Core Spec Version 1.2, Adopted 5 Nov 2003 (Ver. 1.2)  No 3  Core Spec Version 2.0, Adopted 4 Nov 2004 (Ver. 2.0)  No 4  Core Spec Version 2.0 + EDR, Adopted 4 Nov 2004(Ver. 2.0 + EDR)  Yes  Table 2-2: EDR Features Prerequisite: 2-1/4 (Ver. 2.0 + EDR) Item Feature Support 1  EDR for asynchronous transports (single slot)  Yes 2  EDR for asynchronous transports (multi-slot)  Yes 3  EDR for synchronous transports  Yes   RF RF Capabilities (based on PICS proforma for Radio):   Table A.1: RF Capabilities Values Item Capability Status Support Allowed Supported 1  Power Class (1,2 or 3)  M  Yes  1 .. 3  2 2 Power Control  C.1  Yes  -  - 3  1-slot packets supported  M  Yes - - 4  3-slot packets supported  O  Yes - - 5  5-slot packets supported  O  Yes - - 6 79 Channels  M  Yes - - 7  Support for GFSK modulation  M  Yes - - 8  Support for  π/4-DQPSK modulation  C.2 Yes - - 9  Support for 8DPSK modulation  C.3  Yes - - C.1: Mandatory to support if Power Class 1 is supported, optional to support if Power Class 2 or 3 is supported. C.2: Mandatory if SUMMARY, 2-1/4 is claimed; Optional if SUMMARY, 2-1/3 is claimed; Excluded otherwise.      C.3: Mandatory if SUMMARY, 2-1/4 is claimed; Else Optional if (RF, 1/8 AND SUMMARY, 2-1/3) is claimed;           Excluded otherwise.
24-Aug.-2007  Ver.0.1    TAIYO YUDEN Confidential & Tentative  26/40 TAIYO YUDEN   EYSMJCS Control No. HD-AE-D071063                 (2/10) Control name Electrical characteristics  Baseband Baseband Capabilities (based on PICS proforma for Baseband) Table B.1: Physical Channel Item Capability Status Support 1  Support frequency band and 79 RF channels  M  Yes 2  Adaptive Frequency Hopping Kernel  M  Yes          Table B.1a: Modulation schemes Item Capability Status Support 1  Basic Data Rate, 1 Mbps payload data rate  M  Yes 2  Enhanced Data Rate, 2 Mbps payload data rate  C.1  Yes 3  Enhanced Data Rate, 3 Mbps payload data rate  C.2  Yes     C.1: Mandatory if (SUMMARY, 2-1/4) is claimed; Optional if (SUMMARY, 2-1/3) is claimed; Excluded otherwise.           C.2: Mandatory if (SUMMARY, 2-1/4) is claimed; Optional if (BB, 1a/2 AND SUMMARY, 2-1/3) is claimed;          Excluded otherwise.         Table B.2: Link Types Item Capability Status Support 1  Support of ACL link  M  Yes 2  Support of SCO link  O  Yes 3  Support of eSCO link  O  Yes 4  Support of Enhanced Data Rate ACL links    C.1  Yes 5  Support of Enhanced Data Rate eSCO links  C.2  Yes C.1: Mandatory IF (SUMMARY, 2-2/1 OR SUMMARY, 2-2/2) is claimed;   ELSE Optional IF (SUMMARY, 2-1/3 OR SUMMARY, 2-1/4) is claimed; Excluded otherwise. C.2: Mandatory IF SUMMARY, 2-2/3 is claimed; ELSE Optional IF (SUMMARY, 2-1/3 OR SUMMARY, 2-1/4) is claimed; Excluded otherwise. Table B.3: SCO Link Support Prerequisite: B.2/2 (Support of SCO link) Values Item Capability Status Support Allowed Supported 1  SCO links to same Slave  C.1  Yes 1 .. 3  3 2  SCO links to different Slaves  O  Yes 1 .. 3  3 3  SCO links from same Master  C.1  Yes 1.. 3  3 4  SCO links from different Masters  O  No  2  - C.1: Mandatory to support at least 1 link. Prerequisite: B.2/3 (Support of eSCO link) Values Item Capability Status Support Allowed Supported 5  eSCO links to same Slave  C.2  Yes (1 .. 6)  6 6  eSCO links to different Slaves  O  Yes (2 .. 5)  3 7  eSCO links from same Master  C.2  Yes (1 .. 6)  6 8  eSCO links from different Masters  O  No  (2 .. )  - C.2: Mandatory to support at least 1 link.
24-Aug.-2007  Ver.0.1    TAIYO YUDEN Confidential & Tentative  27/40 TAIYO YUDEN   EYSMJCS Control No. HD-AE-D071063                 (3/10) Control name Electrical characteristics  Table B.4: Common Packet Types Item Capability Status Support 1  Support of ID packet type  M  Yes 2  Support of NULL packet type  M  Yes 3  Support of POLL packet type  M  Yes 4  Support of FHS packet type  M  Yes 5  Support of DM1 packet type  M  Yes  Table B.5: ACL Packet Types Item Capability  Status  Support 1  Support of DH1 packet type M Yes 2  Support of DM3 packet type O Yes 3  Support of DH3 packet type O Yes 4  Support of DM5 packet type O Yes 5  Support of DH5 packet type O Yes 6  Support of AUX1 packet type O Yes  Table B.5a: Enhanced Data Rate ACL packet types Prerequisite: B.2/4 (Support of Enhanced Data Rate ACL links)   Item Capability  Status  Support 1  Support 2-DH1 packet type C.1 Yes 2  Support 2-DH3 packet type C.2 Yes 3  Support 2-DH5 packet type C.2 Yes 4  Support 3-DH1 packet type C.3 Yes 5  Support 3-DH3 packet type C.4 Yes 6  Support 3-DH5 packet type  C.5  Yes C.1: Mandatory IF (SUMMARY, 2-2/1 OR SUMMARY, 2-2/2) is claimed; ELSE Optional IF BB, 1a/2 is claimed; Excluded otherwise. C.2: Mandatory IF SUMMARY, 2-2/2 is claimed; ELSE Optional IF BB, 1a/2 is claimed; Excluded otherwise. C.3: Mandatory IF (SUMMARY, 2-2/1 OR SUMMARY, 2-2/2) is claimed; ELSE Optional IF BB 1a/3 is claimed; Excluded otherwise. C.4: Mandatory IF SUMMARY, 2-2/2 is claimed; ELSE Optional IF (BB, 5a/2 AND BB, 5a/4) is claimed; Excluded otherwise. C.5: Mandatory IF SUMMARY 2-2/2 is claimed; ELSE Optional IF (BB, 5a/3 AND BB, 5a/4) is claimed; Excluded otherwise.  Table B.6: SCO and eSCO Packet Types      Prerequisite for items 1-4: B.2/2 (Support of SCO link) Item Capability  Status  Support 1  Support of HV1 packet type M Yes 2  Support of HV2 packet type O Yes 3  Support of HV3 packet type O Yes 4  Support of DV packet type M Yes Prerequisite for items 5-7: B.2/3 (Support of eSCO link) Item Capability  Status  Support 5  Support of EV3 packet type M Yes 6  Support of EV4 packet type O Yes 7  Support of EV5 packet type O Yes
24-Aug.-2007  Ver.0.1    TAIYO YUDEN Confidential & Tentative  28/40 TAIYO YUDEN   EYSMJCS Control No. HD-AE-D071063                 (4/10) Control name Electrical characteristics  Table B.6a: Enhanced Data Rate eSCO packet types Prerequisite: B.2/5 (Support of Enhanced Data Rate eSCO links) Item Capability  Status  Support 1  Support 2-EV3 packet type  C.1  Yes 2  Support 2-EV5 packet type  C.2  Yes 3  Support 3-EV3 packet type  C.3  Yes 4  Support 3-EV5 packet type  C.4  Yes C.1: Mandatory IF SUMMARY, 2-2/3 is claimed; ELSE Optional IF BB, 1a/2 is claimed; Excluded otherwise. C.2:Optional IF BB, 1a/2 is claimed; Excluded otherwise. C.3: Mandatory IF SUMMARY, 2-2/3 is claimed; ELSE Optional IF BB, 1a/3 is claimed; Excluded otherwise. C.4: Optional IF BB, 1a/3 is claimed; Excluded otherwise.  Table B.7: Page Procedures Item Capability Status Support 1 Support paging  M  Yes 2  Support page scan  M  Yes 3     4     5  Supports Interlaced Scan during page scan  O  Yes  Table B.8: Paging Schemes Item Capability Status Support 1 Supports mandatory scan mode) M Yes  Table B.9: Paging Modes Item Capability  Status  Support 1  Supports paging mode R0 C.1 Yes 2  Supports paging mode R1 C.1 Yes 3  Supports paging mode R2 C.1 Yes C.1: At least one of the paging scan modes must be supported.  Table B.9 (b): Paging Train Repetition Item Capability  Status  Support 1  Supports Npage >= 1 O Yes 2  Supports Npage >= 128 O Yes 3  Supports Npage >= 256 M Yes Note: The master should use Npage >= 256 unless it knows what SR mode the slave uses.                                 Table B.10: Inquiry Procedures Item Capability Status Support 1 Support inquiry  O Yes 2  Inquiry scan with first FHS  O Yes 3     4     5  Supports the dedicated inquiry access code  O Yes 6  Supports Interlaced Scan during inquiry scan  O Yes
24-Aug.-2007  Ver.0.1    TAIYO YUDEN Confidential & Tentative  29/40 TAIYO YUDEN   EYSMJCS Control No. HD-AE-D071063                 (5/10) Control name Electrical characteristics  Table B.11: Piconet Capabilities Values Item Capability Status Support Allowed Supported 1 Broadcast messages  O Yes N/A - 2 Point-to-multipoint connections  O Yes (2 .. 7)  7  Table B.12: Scatternet Capabilities Item Capability  Status  Support 1  Act as Master in one piconet and as Slave in another piconet O Yes 2  Act as Slave in more than one piconet O Yes  Table B.13: Synchronous Coding Schemes Prerequisite: B.2/2 (SCO link Support) Item Capability  Status  Support 1 A-law O Yes 2 u-law O Yes 3 CVSD O Yes 4  Transparent Synchronous Data  O  Yes   Link Manager Link Manager Capabilities (based on PICS proforma for Link Manager) Table C.1: Response Messages Item Capability  Status  Support 1 Accept message  M  Yes 2 Reject message  M  Yes  Table C.2: Supported Features Item Capability  Status  Support 1 3-slot packets  O  Yes 2 5-slot packets  O  Yes 3 Encryption  O  Yes 4 Slot offset  O  Yes 5 Timing accuracy  O  Yes 6  Role switch (Master/Slave)  O  Yes 7 Hold mode  O  Yes 8 Sniff mode  O  Yes 9 Park mode  O  Yes 10 Power Control  C.1  Yes 11  Channel quality driven data rate  O  Yes 12 SCO link  O  Yes 13 RSSI  O  Yes 14 Broadcast encryption  O  Yes 15 eSCO link  O  Yes 16  Adaptive frequency hopping  M  Yes 17  Enhanced Data Rate ACL  C.2  Yes 18  Enhanced Data Rate eSCO  C.3  Yes C.1: If Power Class 1 is supported (RF, 1/1=1) then Mandatory, else Optional. C.2: Mandatory IF (SUMMARY 2-2/1 OR SUMMARY 2-2/2) is claimed;   ELSE Optional IF (SUMMARY 2-1/3 OR SUMMARY 2-1/4) is claimed; Excluded otherwise. C.3: Mandatory IF SUMMARY 2-2/3 is claimed; ELSE Optional IF (SUMMARY 2-1/3 OR SUMMARY 2-1/4) is claimed; Excluded otherwise.
24-Aug.-2007  Ver.0.1    TAIYO YUDEN Confidential & Tentative  30/40 TAIYO YUDEN   EYSMJCS Control No. HD-AE-D071063                 (6/10) Control name Electrical characteristics  Table C.3: Authentication Item Capability  Status  Support 1  Initiate authentication before connection completed  O  Yes 2  Initiate authentication after connection completed  O  Yes 3  Respond to authentication request  M  Yes  Table C.4: Pairing Item Capability  Status  Support 1  Initiate pairing before connection completed  O  Yes 2  Initiate pairing after connection completed  O  Yes 3  Respond to pairing request  M  Yes 4  Use fixed PIN and request responder to initiator switch  C.1 Yes 5 Use variable PIN  C.1  Yes 6  Accept initiator to responder switch  C.2  Yes C.1: Mandatory to support at least one of Pairing /4 and Pairing /5. C.2: Mandatory to support if Pairing /5 AND (Pairing /1 OR Pairing /2) is supported.  Table C.5: Link Keys Item Capability  Status  Support 1  Creation of link key - Unit Key  C.1  Yes 2  Creation of link key - Combination Key  C.1  Yes 3  Initiate change of link key  O  Yes 4  Accept change of link key  M  Yes 5     6     7  Accept pairing with Unit Key  O  Yes C.1: Mandatory to support at least one of the key types.  Table C.6: Encryption Prerequisite: C.2/3 (Encryption supported) Item Capability  Status  Support 1 Initiate encryption  O  Yes 2  Accept encryption requests  M  Yes 3     4     5  Key size negotiation  M  Yes 6 Start encryption  M Yes 7  Accept start of encryption  M Yes 8 Stop encryption  M Yes 9  Accept stop of encryption  M Yes  Table C.7: Clock Offset Information Item Capability  Status  Support 1  Request clock offset information O Yes 2  Respond to clock offset requests M Yes
24-Aug.-2007  Ver.0.1    TAIYO YUDEN Confidential & Tentative  31/40 TAIYO YUDEN   EYSMJCS Control No. HD-AE-D071063                 (7/10) Control name Electrical characteristics  Table C.8: Slot Offset Information Prerequisite: C.2/4 (Slot offset) Item Capability  Status  Support 1  Send slot offset information C.1 Yes C.1: Mandatory to support if support if Role Switch/1 (Master/Slave switch) otherwise optional.  Table C.9: Timing Accuracy Information Prerequisite: C.2/5 (Timing accuracy) Item Capability  Status  Support 1  Request timing accuracy information O Yes 2  Respond to timing accuracy information requests M Yes  Table C.10: LM Version Information Item Capability  Status  Support 1  Request LM version information O Yes 2  Respond to LM version information requests M Yes  Table C.11: Feature Support Item Capability  Status  Support 1  Request supported features C.1 Yes 2  Respond to supported features requests M Yes 3  Request extended features mask  C.2  Yes 4  Respond to extended features Request  C.2  Yes C.1: Mandatory to support if any of the optional features in Supported Features /1-3, Supported Features /5, Supported Features /7-12, Supported Features /14-16, Adaptive Frequency Hopping /1 is requested by the IUT otherwise optional. C.2: Mandatory if a feature requiring another features page is supported, otherwise optional.  Table C.12: Name Information Item Capability  Status  Support 1  Request name information O Yes 2  Respond to name requests M Yes  Table C.13: Role Switch Prerequisite: C.2/6 (Role switch) Item Capability  Status  Support 1  Request Master Slave switch O Yes 2  Accept Master Slave switch requests M Yes  Table C.14: Detach Item Capability  Status  Support 1 Detach connection M Yes
24-Aug.-2007  Ver.0.1    TAIYO YUDEN Confidential & Tentative  32/40 TAIYO YUDEN   EYSMJCS Control No. HD-AE-D071063                 (8/10) Control name Electrical characteristics  Table C.14a: Setting up and Removing Enhanced Data Rate ACL Connection Item Capability  Status  Support 1  Enter Enhanced Data Rate C.1 Yes 2  Exit Enhanced Data Rate C.1 Yes       C.1: Mandatory if LMP, 2/17 supported, otherwise excluded.  Table C.14b: Setting up and Removing Enhanced Data Rate eSCO Connection Item Capability  Status  Support 1  Enter and exit eSCO using Enhanced Data Rate Packets C.1 Yes        C.1: Mandatory if LMP, 2/18 supported, otherwise excluded.  Table C.15: Hold mode Prerequisite: 2/7 (Hold mode)   Item Capability  Status  Support 1 Force hold mode O Yes 2 Request hold mode C.1 Yes 3  Respond to hold mode requests M Yes 4  Accept forced hold mode M Yes C.1: Mandatory to support if LMP, 15 /1 (Force hold mode) is supported, otherwise optional.  Table C.16: Sniff mode Prerequisite: C.2/8 (Sniff mode) Item Capability  Status  Support 1       2 Request sniff mode O Yes 3  Respond to sniff mode requests (renegotiate or reject) M Yes 4       5 Request un-sniff C.1 Yes 6  Accept un-sniff requests M Yes C.1: If LMP, 16/2 (Request sniff mode) is supported then mandatory to support, otherwise optional.  Table C.17: Park mode Prerequisite: C.2/9 (Park Mode) Item Capability  Status  Support 1       2 Request park mode O Yes 3  Respond to park mode requests M Yes 4       5  Set up broadcast scan window O Yes 6  Accept changes to the broadcast scan window M Yes 7  Modify beacon parameters O Yes 8  Accept modification of beacon parameters M Yes 9  Request Unpark using PM_ADDR C.1 Yes 10  Request Unpark using BD_ADDR C.1 Yes 11  Slave requested Unpark O Yes 12  Accept Unpark using PM_ADDR M Yes 13  Accept Unpark using BD_ADDR M Yes C.1: If LMP, 17/3 (Respond to park mode requests) is supported then at least one of LMP, 17 /9 (Unpark using PM_ADDR) or LMP, 17/10 (Unpark using BD_ADDR) is mandatory to support, otherwise optional.
24-Aug.-2007  Ver.0.1    TAIYO YUDEN Confidential & Tentative  33/40 TAIYO YUDEN   EYSMJCS Control No. HD-AE-D071063                 (9/10) Control name Electrical characteristics                                  Table C.18: Power Control Prerequisite: C.2/13 (RSSI) Item Capability  Status  Support 1  Request to increase power M Yes 2  Request to decrease power M Yes        Prerequisite: C.2/10 (Power control) Item Capability  Status  Support 3  Respond when max power reached M Yes 4  Respond when min power reached M Yes  Table C.19: Link supervision Timeout Item Capability  Status  Support 1  Set link supervision timeout value O Yes 2  Accept link supervision timeout setting M Yes  Table C.20: Quality of Service Item Capability  Status  Support 1  Channel quality driven change between DM and DH packet types C.1 Yes 2  Force/Request change of Quality of Service M Yes 3  Request change of Quality of Service M Yes C.1: Mandatory to support if support of LMP, 2 /11 is stated in the feature request, otherwise optional.  Table C.21: SCO Links      Prerequisite: C.2/12 (SCO link) Item Capability  Status  Support 1  Initiate SCO links, as Master O Yes 2  Initiate SCO links, as Slave O Yes 3  Accept SCO links O Yes 4  Remove SCO link, as Master C.1 Yes 5  Remove SCO link, as Slave C.2 Yes 6  Negotiate SCO link parameters, as Master C.3 Yes 7  Negotiate SCO link parameters, as Slave C.4 Yes C.1: Mandatory to support if LMP, 21 /1 (Initiating SCO links, as Master) is supported, otherwise optional. C.2: Mandatory to support if LMP, 21 /2 (Initiating SCO links, as Slave) is supported, otherwise optional. C.3: Mandatory to support if LMP, 21 /1 (Initiating SCO links, as Master) or LMP, 21/3 (Accept SCO links) is supported, otherwise optional. C.4: Mandatory to support if LMP, 21 /2 (Initiating SCO links, as Slave) or LMP, 21/3 (Accept SCO links) is supported, otherwise optional.Comments:  Table C.22: Multi-Slot Packages Item Capability  Status  Support 1  Accept maximum allowed number of slots to be used C.1 Yes 2  Request maximum number of slots to be used C.1 Yes 3  Accept request of maximum number of slots to be used C.1 Yes C.1: Mandatory to support if LMP, 2 /1 and/or LMP, 2 /2 is supported in the feature request, otherwise optional.
24-Aug.-2007  Ver.0.1    TAIYO YUDEN Confidential & Tentative  34/40 TAIYO YUDEN   EYSMJCS Control No. HD-AE-D071063                 (10/10) Control name Electrical characteristics  Table C.23: Paging Scheme Item Capability  Status  Support 1  Request page mode to use O Yes 2  Accept suggested page mode O Yes 3  Request page scan mode to use O Yes 4  Accept suggested page scan mode O Yes  Table C.24: Connection Establishment Item Capability  Status  Support 1  Create connection for higher layers M Yes 2  Respond to requests to establish connections for higher layers M Yes 3  Indicate that link set-up is completed M Yes  Table C.25: Test Mode Item Capability  Status  Support 1 Activate test mode O Yes 2  Ability to reject activation of test mode if test mode is disabled M Yes 3 Control test mode O Yes 4  Ability to reject test mode control commands if test mode is disabled. M Yes  Table C.26: Adaptive Frequency Hopping Prerequisite: C.2/20 (AFH) Item Capability  Status  Support 1  Support of AFH switch as master  O  Yes 2  Support of AFH switch as slave  M  Yes 3  Support of Channel Classification reporting as master  C.1  Yes 4  Support of Channel Classification reporting as slave  C.2  Yes 5  Support channel classification from host  C.3  Yes 6  Support of Channel Classification  O  Yes C.1: Optional if LMP, 26/6 is supported, otherwise excluded. C.2: Mandatory if LMP, 26/6 is supported, otherwise excluded. C.3: Mandatory if LMP, 26/1 or LMP, 26/4 is supported, otherwise optional.  Notes:  This Data Report is based on “1846_BC4-Ext_RF.ICS-2.0.E.0”, “1847_HCIStack2.0EDR_BB.ICS-2.0.E.0”,  “1848_HCIStack2.0EDR_LMP.ICS-2.0.E.0”and “SUM.ICS-2.0.E.4”.
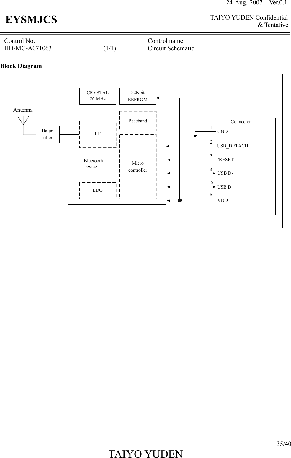
24-Aug.-2007  Ver.0.1    TAIYO YUDEN Confidential & Tentative  35/40 TAIYO YUDEN   EYSMJCS Control No. HD-MC-A071063                (1/1)  Control name Circuit Schematic  Block Diagram USB D-USB D+1Connector234VDDBalunfilterBasebandMicrocontroller32KbitEEPROMCRYSTAL26 MHzRFLDOBluetoothDeviceAntenna GNDUSB_DETACH/RESET65
24-Aug.-2007  Ver.0.1    TAIYO YUDEN Confidential & Tentative  TAIYO YUDEN                         36/40 EYSMJCS Control No. HD-AD-A071063                  (1/1)  Control name Outline/Appearance                Note:   Outline/Appearance data is PRELIMINARY, not guaranteed and subject to change without notice. Please contact Taiyo Yuden for the details of module mountings.  Unit: mm, Tolerances unless otherwise specified: +/-0.2mm
24-Aug.-2007  Ver.0.1    TAIYO YUDEN Confidential & Tentative  TAIYO YUDEN                         37/40 EYSMJCS Control No. HD-AD-B071063                 (1/1)  Control name Outline/Appearance  Indication label Label1 Case-side (ケース側 1枚目)         Label2 Case-side (ケース側 2枚目)        Label3 Back-side (基板側)          Material: PET ( UL969 ) / Label color : White  201 WW 07215204Taiyo Yuden Co.,Ltd.Product Number:EYSMJCS2.4FH1A B C D E F G H I J KCA46920-0316 01AEYSMJCSFX201 WW 07215204Taiyo Yuden Co.,Ltd.Product Number:EYSMJCS2.4FH12.4FH1A B C D E F G H I J KCA46920-0316 01AEYSMJCSFXIC: 4389B-EYSMJCSFCC ID:RYYEYSMJCS XXX-XXXXXXXIC: 4389B-EYSMJCSFCC ID:RYYEYSMJCS XXX-XXXXXXXLOT.No00037AAAAAAALOT.No00037AAAAAAA
24-Aug.-2007  Ver.0.1    TAIYO YUDEN Confidential & Tentative  TAIYO YUDEN                         38/40 EYSMJCS  Pin Descriptions  Terminal No.  Terminal name  Input/Output  Description  Remark 1 GND  -  Ground   2 PIO2/USB_DETACH  Input DETACH signal input Low    USB connect High    USB disconnect Note 1   3 /RESET  Input  Active low RESET signal with internal weak pull-up Note 2 4  USB_D-  Input/Output USB data (Negative) input-output   5  USB_D+  Input/Output USB data (Positive) input-output   6  VDD  Input  DC3.3V Power supply  Note 3  Notes:  1. Strength pull-downs (pull-ups) are equivalent to a few kOhms resistance, but are more accurately modeled as a 40uA current drain (source). 2. Weak pull-ups can be thought of 1M Ohm connections to VDD, but are more accurately modeled as a -1uA current source. 3. Pin 6 (VDD) is used for power supply of BT module. To fill the standard of “Supply voltage ripple and spike noise”, the capacitor, which has the capacity of 2.2uF or more, should be put in the terminal VDD outside as a bypass capacitor.               Control No. HD-BA-A071063                 (1/1)  Control name Pin Layout
24-Aug.-2007  Ver.0.1    TAIYO YUDEN Confidential & Tentative  TAIYO YUDEN                         39/40 EYSMJCS FCC Regulatory Information           Canada Regulatory Information          R&TTE Directive Information          Caution Please note that this users manual should not be provided to end-users.    CAUTION: To maintain compliance with FCC’s RF exposure guidelines, use only the supplied antenna. Unauthorized antenna, modification, or attachments could damage the transmitter and may violate FCC regulations. This device complies with Part 15 of the FCC Rules. Operation is subject to the following two conditions: (1) This device may not cause harmful interference. (2) This device must accept any interference received, including interference that may Cause undesired operation. Operation is subject to the following two conditions:   (1) this device may not cause interference, and   (2) this device must accept any interference, including interference that may cause undesired operation of the device.  L'utilisation de ce dispositif est autorisée seulement aux conditions suivantes :   (1) il ne doit pas produire de brouillage et   (2) l'utilisateur du dispositif doit être prêt à accepter tout brouillage radioélectrique reçu, même si ce brouillage est susceptible de compromettre le fonctionnement du dispositif. Hereby Taiyo Yuden Co., Ltd., declares that this Complete Class2 Bluetooth Module (Model No.: EYSMJCS) is in compliance with the essential requirements and other relevant provisions of Directive 1999/5/EC
24-Aug.-2007  Ver.0.1    TAIYO YUDEN Confidential & Tentative  TAIYO YUDEN                         40/40 EYSMJCS Notice  At the use of our Module, following is required to be shown under the responsibility of the manufacture who integrates it into their device.                                 The following sentence has to be displayed on the outside of the device in which the module is installed:  "Contains Transmitter Module FCC ID: RYYEYSMJCS ", or "Contains IC: 4389B-EYSMJCS "  FCC Regulatory information  CAUTION: To maintain compliance with FCC’s RF exposure guidelines, use only the supplied antenna. Unauthorized antenna, modification, or attachments could damage the transmitter and may violate FCC regulations.  This device complies with Part 15 of the FCC Rules. Operation is subject to the following two conditions: (1) This device may not cause harmful interference. (2) This device must accept any interference received, including interference that may Cause undesired operation.   Canada Regulatory information  Operation is subject to the following two conditions:   (3) this device may not cause interference, and   (4) this device must accept any interference, including interference that may cause undesired operation of the device.  L'utilisation de ce dispositif est autorisée seulement aux conditions suivantes :   (3) il ne doit pas produire de brouillage et   l'utilisateur du dispositif doit être prêt à accepter tout brouillage radioélectrique reçu, même si ce brouillage est susceptible de compromettre le fonctionnement du dispositif.  R&TTE Directive information      Hereby [Name of manufacture(*)], declares that this [type of equipment(*)] is in compliance with the essential requirements and other relevant provisions of Directive 1999/5/EC  (*) Note: Please write in your company name and type of equipment into [ ].

Navigation menu