WiSilica WISE1220 Bluetooth Module User Manual

WiSilica, Inc. Bluetooth Module

User manual

WiSe 1220 Technical Specification WiSilica Inc                          Proprietary and Confidential                   WiSe 1220 Hardware and Technical Specification                 Preliminary Version (Rev 1.1)                                                    Issued: 21/06/2017 Bluetooth Module
WiSe 1220 Technical Specification WiSilica Inc                          Proprietary and Confidential  Table of Contents General Information ............................................................................................................................... 4 Features .............................................................................................................................................. 4 General Description ............................................................................................................................ 4 Block Diagram: ........................................................................................................................................ 4 Application: ............................................................................................................................................. 5 Form factor: ............................................................................................................................................ 5 Hardware Specification: .......................................................................................................................... 5 Electrical characteristics.......................................................................................................................... 5 Absolute Maximum Ratings ................................................................................................................ 5 Recommended operating condition ................................................................................................... 6 PWM ....................................................................................................................................................... 6 Current Consumption: ............................................................................................................................ 6 RF Characteristics: ................................................................................................................................... 6 Pinout and Pin Description ..................................................................................................................... 7 Pinout Diagram ................................................................................................................................... 7 Recommended Land Pattern: ................................................................................................................. 9 Host details: ............................................................................................................................................ 9 Remote ................................................................................................................................................ 9 Smart lighting device........................................................................................................................... 9 Best practices .................................................................................................................................... 10
WiSe 1220 Technical Specification WiSilica Inc                          Proprietary and Confidential                      Revision History Rev No Date Notes Rev 1.0  07/12/2016 Draft Release Rev1.1  21/06/2017 Block diagram and host part updated.
WiSe 1220 Technical Specification WiSilica Inc                          Proprietary and Confidential  General Information Features  Bluetooth v4.2 specification complaint  Support for Bluetooth 4.2 specification host stack  12 MHz and 32.768 kHz clock system  32.768 kHz for sleep time  PWM/GPIO/UART interface  PCB printed Antenna  8 programmable GPIO’s  512 KB Internal FLASH  Debug SPI General Description  WiSe 1220 enables ultra-low-power connectivity and basic data transfer for applications previously limited by the power consumption, size constraints and complexity of other wireless standards. WiSe 1220 is intended to provide considerably reduced power consumption and cost.  Block Diagram:                                                        BLE CHIP PWM4 POWER UART GPIO OSC UART 12MHz 3V 2.4GHz FLASH 512kb I2C SPI
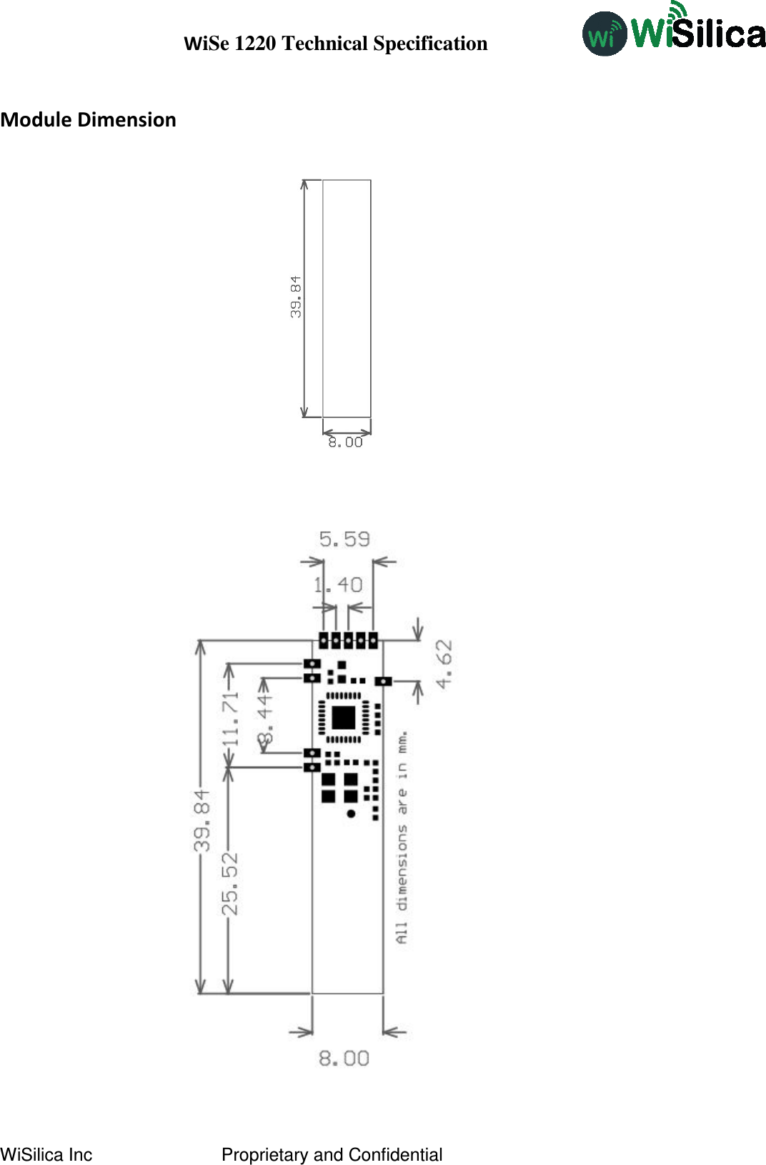
WiSe 1220 Technical Specification WiSilica Inc                          Proprietary and Confidential Application:  WiSe 1220 enables connectivity and data transfer to leading smartphone, tablet and personal computing devices including Apple iPhone, iPad, iPod and Mac products and leading Android devices.   Smart mesh light application  Smart home heating and lighting control  Health sensors like blood pressure, thermometer and glucose meter  Beacons  Security  Sensors  Form factor:  Dimension: 39.84x8mm  Hardware Specification:  COMPONENTS DESCRIPTION BLE CHIP  TLSR8269F512AT32 CRYSTAL  12MHz  Crystal Trim Value and Device ID: During the manufacturing process, all WiSe1220 Modules are tested for full RF and DC functionality. This includes measuring crystal frequency error and setting the crystal frequency trim token so the frequency error for an unmodulated RF tone is as close as possible to zero. At this time a unique Bluetooth Device Address is assigned to each module. Electrical characteristics Absolute Maximum Ratings Ratings Min Max Storage Temperature -40°C 85°C Supply voltage 2.6V 3.6V IO Supply Voltage V 3.6V Other Terminal Voltage Vss - 0.4 Vdd + 0.4V
WiSe 1220 Technical Specification WiSilica Inc                          Proprietary and Confidential Recommended operating condition Item Min Typical Max Storage Temperature -30 - 85°C Supply voltage 1.9V 3.3V 3.6V IO Supply Voltage V - 3.6V PWM Totally there are 4 PWM channels. Any of the IO’s can be configured as PWM. PWM Frequency:         Target frequency 40 kHz. Maximum voltage for logic low:    VIL   = 0 V Absolute maximum current sourced:   IMAX   =  mA Absolute maximum voltage level:     VMax = 3.6V   Current Consumption: Mode Total Typical Current at 3V Sleep Mode 6μA RX/TX active ~15mA @ 3.3V peak current RF Characteristics: Path Description Conditions Min Typ Max Unit  Operating Frequency  2402  2480 MHz  Maximum output power   7  dBm  2nd harmonic    TBD dBuV  3rd harmonic    TBD dBuV TX Modulation delta F1 average  TBD 1.3 TBD MHz  Modulation delta F1 / F2  0.8     Modulation delta F2 max   100  %  Frequency accuracy  -100 25 100 kHz  Frequency offset  -100 25 100 kHz RX Receiver Sensitivity  -90 -89 -86 dBm  Receiver Sensitivity (with dirty transmitter)   -92  dBm  Maximum received signal at 30.8% PER   -10  dBm
WiSe 1220 Technical Specification WiSilica Inc                          Proprietary and Confidential Pinout and Pin Description Pinout Diagram   PINS  NAME  FUNCTION  COMMENTS    1  RX  UART  Programmable I/O or RX    2  TX  UART  Programmable I/O or TX    3  GND  Ground  Ground    4  SWS/PWM2 PWM/ Programming pins  Single Wire Interface    5  PWM5  PWM/IO  Programmable I/O    6  PWM4_N  PWM/IO  Programmable I/O    7  PWM4   PWM/IO  Programmable I/O    8  PWM0  PWM/IO  Programmable I/O    9  PWM1  PWM/IO  Programmable I/O    10  VDD  Power  3V3 Input
WiSe 1220 Technical Specification WiSilica Inc                          Proprietary and Confidential  Module Dimension
WiSe 1220 Technical Specification WiSilica Inc                          Proprietary and Confidential Recommended Land Pattern:     Host details: The WiSe1220 module is going to be embedded with different products like Remote and Smart lighting device. Remote Remote is used to send the trigger command to the heater or the device associated with that.  It is intended to be a general purpose remote control. Also this device is the 2 x AA battery powered.  Smart lighting device The smart lighting device not only controls lighting, it creates a smart mesh which also can be used to track personnel, assets, patients, anything that is equipped with or wearing a WiSilica BLE Tag. There is a tremendous amount of possibilities when you think about security, Workflow management, inventory management, and whole building automation. Also this device is 110 to 230V AC powered.
WiSe 1220 Technical Specification WiSilica Inc   Proprietary and Confidential Best practices When designing with WiSe1220 modules, please pay attention to the following recommendations •While integrating module make sure all the module pads are soldered properly.•The module's voltage requirement is 2.5 to 3.6V, if the power supply is over 3.3V, pleaseuse a voltage regulator.•If the communicating host uses a different voltage then the BLE module, please makesure that the voltage matches on the communication ports.•For best wireless signals, please avoid packing the antenna area close to metal parts orcase.
WiSe 1220 Technical Specification WiSilica Inc   Proprietary and Confidential FCC Statement This device complies with part 15 of the FCC rules. Operation is subject to the following two conditions: (1) this device may not cause harmful interference, and (2) this device must accept any interference   received,   including   interference   that   may   cause undesired operation.  Changes or modifications not expressly approved by the party responsible for compliance could void the user’s authority to operate the equipment.  NOTE: This equipment has been tested and found to comply with the limits for a Class B digital device, pursuant to part 15 of the FCC Rules. These limits are designed to provide reasonable protection against harmful interference in a residential installation. This equipment generates uses and can radiate radio frequency energy and, if not installed and used in accordance with the instructions, may cause harmful interference to radio communications. However, there is no guarantee that interference will not occur in a particular installation. If this equipment does cause harmful interference to radio or television reception, which can be determined by turning the equipment off and on, the user is encouraged to try to correct the interference by one or more of the following measures:  ‐ Reorient or relocate the receiving antenna.  ‐ Reorient or relocate the receiving antenna.  ‐ Reorient or relocate the receiving antenna.  ‐Consult the dealer or an experienced radio/TV technician for help important announcement  Important Note: Radiation Exposure Statement This  equipment  complies  with  FCC  radiation  exposure  limits  set  forth  for  an  uncontrolled environment.   Important Note: In the event that these conditions cannot be met (for example certain laptop configurations or co-location with another transmitter), then the FCC authorization is  no  longer considered valid and the FCC ID cannot be used on the final product. In these circumstances, the OEM integrator will be responsible for re-evaluating the end product (including the transmitter) and obtaining a separate FCC authorization.   End Product Labeling The final end product must be labeled in a visible area with the following" Contains FCC ID: 2AG4NWISE1220 ".  Manual Information to the End User The OEM integrator has to be aware not to provide information to the end user regarding how to install or remove this RF module in the user’s manual of the end product which integrates this module. The end user manual shall include all required regulatory information/warning as show in this manual.

Navigation menu