ZTE R8882S1700 UMTS and LTE Remote Radio Unit User Manual 2
ZTE Corporation UMTS and LTE Remote Radio Unit 2
ZTE >
Contents
- 1. User manual
- 2. User manual 1
- 3. User manual 2
- 4. User manual 3
- 5. User manual 4
User manual 2

ZXSDRR8882
MacroRadioRemoteUnit
ProductDescription
HardwareVersion:HV2.1
ZTECORPORATION
No.55,Hi-techRoadSouth,ShenZhen,P .R.China
Postcode:518057
Tel:+86-755-26771900
Fax:+86-755-26770801
URL:http://support.zte.com.cn
E-mail:support@zte.com.cn

LEGALINFORMATION
Copyright©2014ZTECORPORATION.
Thecontentsofthisdocumentareprotectedbycopyrightlawsandinternationaltreaties.Anyreproductionor
distributionofthisdocumentoranyportionofthisdocument,inanyformbyanymeans,withoutthepriorwritten
consentofZTECORPORATIONisprohibited.Additionally,thecontentsofthisdocumentareprotectedby
contractualcondentialityobligations.
Allcompany,brandandproductnamesaretradeorservicemarks,orregisteredtradeorservicemarks,ofZTE
CORPORATIONoroftheirrespectiveowners.
Thisdocumentisprovided“asis”,andallexpress,implied,orstatutorywarranties,representationsorconditions
aredisclaimed,includingwithoutlimitationanyimpliedwarrantyofmerchantability,tnessforaparticularpurpose,
titleornon-infringement.ZTECORPORATIONanditslicensorsshallnotbeliablefordamagesresultingfromthe
useoforrelianceontheinformationcontainedherein.
ZTECORPORATIONoritslicensorsmayhavecurrentorpendingintellectualpropertyrightsorapplications
coveringthesubjectmatterofthisdocument.ExceptasexpresslyprovidedinanywrittenlicensebetweenZTE
CORPORATIONanditslicensee,theuserofthisdocumentshallnotacquireanylicensetothesubjectmatter
herein.
ZTECORPORATIONreservestherighttoupgradeormaketechnicalchangetothisproductwithoutfurthernotice.
UsersmayvisittheZTEtechnicalsupportwebsitehttp://support.zte.com.cntoinquireforrelatedinformation.
TheultimaterighttointerpretthisproductresidesinZTECORPORATION.
RevisionHistory
SerialNo.PublishingDatePublishingReason
R1.02015-01-04FirstEdition
SerialNumber:SJ-20150104112914-001
PublishingDate:2015-01-04(R1.0)
SJ-20150104112914-001|2015-01-04(R1.0)ZTEProprietaryandCondential

Contents
AboutThisManual.........................................................................................I
Chapter1ProductOverview.....................................................................1-1
1.1PositionoftheZXSDRR8882intheRadioNetwork.............................................1-1
1.2ProductFeatures................................................................................................1-1
1.3ServicesandFunctions......................................................................................1-3
1.4ProductSpecications........................................................................................1-5
1.5InstallationScenarios.........................................................................................1-7
Chapter2SystemStructure......................................................................2-1
2.1HardwareSubsystem.........................................................................................2-1
2.2SoftwareSubsystem...........................................................................................2-2
Chapter3OperationandMaintenance.....................................................3-1
3.1OperationandMaintenanceModes.....................................................................3-1
3.2OperationandMaintenanceFunctions.................................................................3-2
Chapter4Networking................................................................................4-1
4.1NetworkingDescription.......................................................................................4-1
4.2StarNetworking.................................................................................................4-1
4.3CascadeNetworking..........................................................................................4-2
4.4RingNetworking.................................................................................................4-2
Chapter5TechnicalSpecications..........................................................5-1
5.1PhysicalSpecications.......................................................................................5-1
5.2RadioPerformance............................................................................................5-3
5.3Interfaces..........................................................................................................5-3
Chapter6FCC&ICSTATEMENT................................................................6-1
Figures.............................................................................................................I
Tables............................................................................................................III
Glossary.........................................................................................................V
I
SJ-20150104112914-001|2015-01-04(R1.0)ZTEProprietaryandCondential

Thispageintentionallyleftblank.
II
SJ-20150104112914-001|2015-01-04(R1.0)ZTEProprietaryandCondential

AboutThisManual
Purpose
TheZXSDRR8882isamulti-moderemoteRFunitthatsupports2T2R/2T4RFDD.It
supportsGSM,UMTS,CDMA,andLTEcommunicationssystemsandfeaturescompact
structure,largecapacity,andeasyinstallation.
TheZXSDRR8882workswithaBBUtoconstitutethedistributedSDRBTS,thatis,
ZXSDRofZTE.
ThismanualprovidesageneraldescriptionoftheZXSDRR8882,coveringtheproduct
features,servicesandfunctions,systemarchitecture,operationandmaintenance,
networking,andtechnicalspecications.
IntendedAudience
Thismanualisintendedfor
lEngineeringpersonnelandtechnicians
lInstallationengineers
lMaintenanceengineers
WhatisinThisManual
Thismanualcontainsthefollowingchapters:
ChapterSummary
Chapter1,Product
Overview
DescribesthepositionoftheZXSDRR8882intheradionetwork,product
features,servicesandfunctions,andinstallationscenarios.
Chapter2,System
Structure
DescribesthehardwareandsoftwarestructuresoftheZXSDRR8882
andthefunctions.
Chapter3,Operationand
Maintenance
DescribestheoperationandmaintenancemodesoftheZXSDRR8882.
Chapter4,NetworkingDescribesthenetworkingmodessupportedbytheZXSDRR8882.
Chapter5,Technical
Specications
DescribesthetechnicalspecicationsoftheZXSDRR8882.
Chapter6,FCC&IC
STATEMENT
StatesthatthedevicecomplieswithPart15oftheFCCRules.
Conventions
ZTEdocumentsemploythefollowingtypographicalconventions.
TypefaceMeaning
ItalicsReferencestootherManualsanddocuments.
I
SJ-20150104112914-001|2015-01-04(R1.0)ZTEProprietaryandCondential

TypefaceMeaning
“Quotes”Linksonscreens.
BoldMenus,menuoptions,functionnames,inputelds,radiobuttonnames,
checkboxes,drop-downlists,dialogboxnames,windownames.
CAPSKeysonthekeyboardandbuttonsonscreensandcompanyname.
Note:Providesadditionalinformationaboutacertaintopic.
Checkpoint:Indicatesthataparticularstepneedstobecheckedbefore
proceedingfurther.
Tip:Indicatesasuggestionorhinttomakethingseasierormore
productiveforthereader.
II
SJ-20150104112914-001|2015-01-04(R1.0)ZTEProprietaryandCondential

Chapter1
ProductOverview
TableofContents
PositionoftheZXSDRR8882intheRadioNetwork...................................................1-1
ProductFeatures........................................................................................................1-1
ServicesandFunctions..............................................................................................1-3
ProductSpecications................................................................................................1-5
InstallationScenarios.................................................................................................1-7
1.1PositionoftheZXSDRR8882intheRadioNetwork
TheZXSDRR8882istheoutdoorremoteRadioFrequency(RF)unitoftheZTEBase
TransceiverStation(BTS).TheZXSDRR8882andaBaseBandUnit(BBU)forma
completeBTS/NodeB/eNodeB,implementingradiotransmissioninthecoveredarea,
controllingradiochannelsandrealizingthecommunicationwiththeBaseStation
Controller(BSC)/RadioNetworkController(RNC)/LongT ermEvolution(LTE).
Figure1-1showsthepositionoftheZXSDRR8882(RRU)intheradionetwork.
Figure1-1PositionoftheZXSDRR8882intheRadioNetwork
1.2ProductFeatures
TheZXSDRR8882isanoutdoorRadioRemoteUnit(RRU)withdualtransmitters.The
ZXSDRR8882workswithaBasebandUnit(BBU)toprovidealllogicalfunctionsofaBTS.
1-1
SJ-20150104112914-001|2015-01-04(R1.0)ZTEProprietaryandCondential

ZXSDRR8882ProductDescription
Basedonthedigitalintermediatefrequencyandmulti-carriertechnologies,theZXSDR
R8882iscapableoftransmittingdualchannelsofradiosignalsandreceivingfourchannels
ofradiosignals.TheZXSDRR8882canactasanindependentremoteRFunitforGlobal
SystemforMobileCommunication(GSM)/UniversalMobileTelecommunicationSystem
(UMTS)/CodeDivisionMultipleAccess(CDMA)/LongTermEvolution(LTE)
ThefeaturesoftheZXSDRR8882areasfollows:
lMultipleradioaccessmodes
TheZXSDRR8882supportssinglemode,dualmode,ormulti-mode,includingGSM,
UMTS,CDMA,andLTE.
lDistributedarchitecture
BBUsandRRUsconstitutedistributedBTSsystems,providingexibleofce
deployment.
lSmoothevolution
Throughsoftwareupgrade,theZXSDRR8882canbesmoothlyevolved.
lFlexiblecongurationandnetworking
àBecausethedual-densitymulti-carriertechnologiesareused,whentheZXSDR
R8882worksinGSMmode,itsupports2x6carriersthroughsoftware
conguration.(Asinglechannelsupports6carriers.)
àWhentheZXSDRR8882worksinUMTSmode,itsupportsupto2×4carriers.
(Asinglechannelsupports4carriers.)
àWhentheZXSDRR8882worksinCDMAmode,itsupportsupto2×8carriers.
(Asinglechannelsupports8carriers.)
àWhentheZXSDRR8882worksinGSM/UMTSdualmode,theZXSDRR8882
supports4GSMcarriers+1UMTScarrieror2GSMcarriers+2UMTScarriers
(ineachPA).
àWhentheZXSDRR8882worksinGSM/LTEdualmode,theZXSDRR8882
supports8GSMTRXs+LTE10MHz(G/Ldual-mode900MHz)or8GSMTRXs
+LTE20MHz(G/Ldual-mode1800MHz).
àWhentheZXSDRR8882worksinLTEmode,theZXSDRR8882supportsone
carrier.
àThebaseband-RFinterfaceofZXSDRR8882supportsstarandchain
networking.
lAdvancedinternalstructure
Betweeninternalboardsandmodules,blindinterconnectionandhardlink
interconnectionareused.
lEnergysavingandenvironment-friendlydesign
1-2
SJ-20150104112914-001|2015-01-04(R1.0)ZTEProprietaryandCondential

Chapter1ProductOverview
Energy-savingandenvironment-friendlyduetomulti-carrierpowerampliers,and
advancedDohertyandDigitalPre-Distortion(DPD)linearpoweramplication
technologies.
lEasyinstallationandmaintenance
Easyinstallationandmaintenanceduetocompactsizeandlightweight.
1.3ServicesandFunctions
Services
TheZXSDRR8882workswithBBUstoprovidethefollowingservices:
lGSM
àFullRate(FR)voiceservice
àEnhancedFullRate(EFR)voiceservice
àHalfRate(HR)voiceservice
àAdaptiveMultipleRate(AMR)voiceservice
à9.6KbpsCircuitSwitched(CS)domaindataservice
àGeneralPacketRadioService(GPRS)
lUMTS
àR99services
àHSDPAservices
àHSUPAservices
àHSPA+services
lCDMA
à1Xservice
àDOservice
àPTTservice
lLTE
àImprovedcapacityanddatatransmissionspeedofmobilenetworkandshortened
servicelatency,with100Mbpspeakdownlinkdatatransmissionrateand50Mbps
peakuplinkdatatransmissionrate.
àOptimizeddatatransmissionbasedonIParchitecture.Asawhole-IPnetwork,
LTEsupportsbothIPV4andIPV6andcantransmitVoIPservices.
àScalablebandwidthandexiblespectrumanalysis.
lPositioningservices
àCellID,CellID+RoundTripTime(RTT),andAssistedGlobalPositioningSystem
(AGPS)positioning
1-3
SJ-20150104112914-001|2015-01-04(R1.0)ZTEProprietaryandCondential

ZXSDRR8882ProductDescription
lMultimediaBroadcast/MulticastService(MBMS)services:
àSupportsbroadcastandmulticastfunctions,andsupportsthePoint-T o-Point
(PTP)andPoint-T o-Multipoint(PTM)multicastmodes.
àSupportsmobilitymanagement.
àSupportsthestreamingandbackgroundMBMSservices.
BasicFunctions
lCommonfunctions
TheZXSDRR8882workswithBBUstoconstitutethedistributedBTSsystem.The
ZXSDRR8882forwardssignalsthatarereceivedortobetransmittedtotheBBU
forfurtherprocessing.ByconnectingtotheBBU,theZXSDRR8882providesthe
followingfunctions:
àThroughtheantenna,theZXSDRR8882providesaccesstoterminalsand
providesRFlinktransmissionfunctions,includingRFreceiving/transmitting
duplex,lownoiseamplicationofreceivedRFsignals,amplicationofsent
RFsignals,modulation/demodulation,measurementandreport,powercontrol,
calibration,andsynchronization.
àSupportsmixed-modenetworkingstructure.
àTheZXSDRR8882isconnectedtotheBBUthroughtheopticalinterface.The
opticalinterfaceimplementsthefollowingfunctions:clocksynchronization,
propagationdelaymeasurementandcompensation,IQdatatransmission,
operationmaintenanceandconguration.
àProvidespowerampliercontrolandprotectionfunctions,including
over-power-amplicationalarms,over-temperaturealarms,andStandingWave
Ratio(SWR)alarms.Supportsprotectionagainstreversepowerconnection.
Supportsalarmqueryforoperationandmaintenance.
àThroughtheoperationandmaintenanceinterface,providessystemmanagement
functions,includingcongurationmanagement,alarmmanagement,status
checkandmonitoring.
àLocally/remotelysupportssoftwareandhardwareversionsinquiry,software
upgrade,boardresetting,powerinquiry,automaticcalibration,andRETantenna
adjustment.
lGSMmode
WhenworkinginGSMmode,theZXSDRR8882providesthefollowingfunctions:
àSupportsGSMfrequencybands.
àSupportsGSMPhaseI/PhaseII/PhaseII+.
àSupportsGPRSCS1toCS4encodingmodes.
àSupportsspacediversity,frequencydiversity,timediversity,andpolarization
diversity.
1-4
SJ-20150104112914-001|2015-01-04(R1.0)ZTEProprietaryandCondential

Chapter1ProductOverview
àThereceiveendsupportstheViterbidecodingalgorithm,improvingthesystem
receivesensibilityandchanneldecodingcapability.
àSupportsfrequencyhoppingandDiscontinuousTransmission(DTX).
àSupportsTimingAdvance(TA)calculationandsuper-distancecoverage.The
maximumcoveragedistanceis120km.
àSupportstheCo-BCCHtechnology.
lUMTSmode
WhenworkinginUMTSmode,theZXSDRR8882providesthefollowingfunctions:
àSupportsUMTSfrequencybands.
àSupportsUMTSR99,R4,R5,R6,R7,andR8.
lCDMAmode
WhenworkinginCDMAmode,theZXSDRR8882providesthefollowingfunctions:
àSupportsCDMAfrequencybands.
àTheairinterfacecomplieswiththeIS-2000ReleaseAseriesstandardsand
IS-856-Astandard.
àProvidesReceivedSignalStrengthIndicator(RSSI)query.
àProvidesreversespectrumquery.
lLTEmode
WhenworkinginLTEmode,theZXSDRR8882providesthefollowingfunctions:
àSupportsLTEfrequencybands.
àTheairinterfacecomplieswithrelated3GPPstandards.
àSupportsQPSK,16-QAM,and64-QAMonuplinkanddownlink.
àSupportsMultiple-InputMultiple-Output(MIMO).
lMixedmode
Whenworkinginmixedmode,theZXSDRR8882providesthefollowingfunctions:
àTheairinterfacecomplieswiththerelated3GPPand3GPP2standards.
àSupportsthemixed-modeconguration,suchasGU,GL,andCL,for
correspondingfrequencybands.
1.4ProductSpecications
Table1-1showsthespecicationsoftheZXSDRR8882.
Table1-1ProductSpecications
ProductSpecicationsDescription
ZXSDRR8882S9000(C)Threeopticalports;amaximumof6Gbps;GSMsingle
mode;900MHzfrequencyband;2×60W
1-5
SJ-20150104112914-001|2015-01-04(R1.0)ZTEProprietaryandCondential

ZXSDRR8882ProductDescription
ProductSpecicationsDescription
ZXSDRR8882S1800(C)Threeopticalports;amaximumof6Gbps;GSMsingle
mode,1800MHzfrequencyband;2×60W
ZXSDRR8882S9000(B)Twoopticalports;amaximumof3Gbps;GSMsinglemode,
UMTSsinglemode,orGSM/UMTSdualmode;900MHz
frequencyband;2×60W
ZXSDRR8882S9000(B6C)Twoopticalports;amaximumof3Gbps;GSMsinglemode,
900MHzfrequencyband;35MHzbandwidthforduplexer,
2×60W
Twoopticalports;amaximumof3Gbps;CDMA/GSMsingle
mode,GSM/UMTSdualmode,orCDMA/LTEdualmode;
850MHzfrequencyband;2×60W
ZXSDRR8882S8500(B6B)
Twoopticalports;amaximumof3Gbps;CDMA/LTEdual
mode;850MHzfrequencyband;2×60W
ZXSDRR8882S8000(B4A)Twoopticalports;amaximumof3Gbps;LTEsinglemode;
DDfrequencyband;2×40W
Twoopticalports;amaximumof3Gbps;LTEsinglemode
;2.6Gbpsfrequencyband;2×30W
ZXSDRR8882S2600(B4A)
Twoopticalports;amaximumof3Gbps;LTEsinglemode;
2.6Gbpsfrequencyband;2×40W,CEPT
ZXSDRR8882S2600(B6A)Twoopticalports;amaximumof3Gbps;LTEsinglemode;
2.6Gbpsfrequencyband;2Carrier,2×60W,CEPT
Twoopticalports;amaximumof3Gbps;UMTSsinglemode;
2T4R;2100MHzfrequencyband;2×60W
ZXSDRR8882S2100(B)
Twoopticalports;amaximumof3Gbps;LTEsinglemode;
singleCarrier;2100MHzfrequencyband;2×60W
Twoopticalports;amaximumof3Gbps;CDMA/GSMsingle
mode,GSM/UMTSdualmode,orCDMA/LTEdualmode;
1900MHzfrequencyband;2×50W
ZXSDRR8882S1900(B6B)
Twoopticalports;amaximumof3Gbps;CDMA/LTEdual
mode;1900MHzfrequencyband;2×60W
ZXSDRR8882S1800(B6B)Twoopticalports;amaximumof3Gbps;GSMsinglemode,
orGSM/LTEdualmode;1800MHzfrequencyband;2×
60W
ZXSDRR8882S1800(B6C)Twoopticalports;amaximumof3Gbps;2T2R,GSMsingle
mode;1800MHzfrequencyband;2×60W
ZXSDRR8882S1700(B6A)Twoopticalports;amaximumof3Gbps;LTEsinglemode;
1700MHzfrequencyband;2×60W
1-6
SJ-20150104112914-001|2015-01-04(R1.0)ZTEProprietaryandCondential

Chapter1ProductOverview
ProductSpecicationsDescription
ZXSDRR8882S8100(B6B)Twoopticalports;amaximumof3Gbps;LTEsinglemode;
810MHzfrequencyband;2×60W
ZXSDRR8882S7200(B6A)Twoopticalports;amaximumof3Gbps;LTEsinglemode;
2T2R;720MHzfrequencyband;2×60W
1.5InstallationScenarios
TheZXSDRR8882supportsthefollowinginstallationmodes:wall-mounting,
pole-mounting,andL-shapegantry-mounting.
lWall-mounting
TheZXSDRR8882canbewall-mountedindoororoutdoor.
lPole-mounting
Inpole-mountinginstallation,youcaninstallone,two,three,orfourZXSDRR8882
devicesononepole.
lL-shapegantrymounting
1-7
SJ-20150104112914-001|2015-01-04(R1.0)ZTEProprietaryandCondential

ZXSDRR8882ProductDescription
Thispageintentionallyleftblank.
1-8
SJ-20150104112914-001|2015-01-04(R1.0)ZTEProprietaryandCondential

Chapter2
SystemStructure
TableofContents
HardwareSubsystem.................................................................................................2-1
SoftwareSubsystem..................................................................................................2-2
2.1HardwareSubsystem
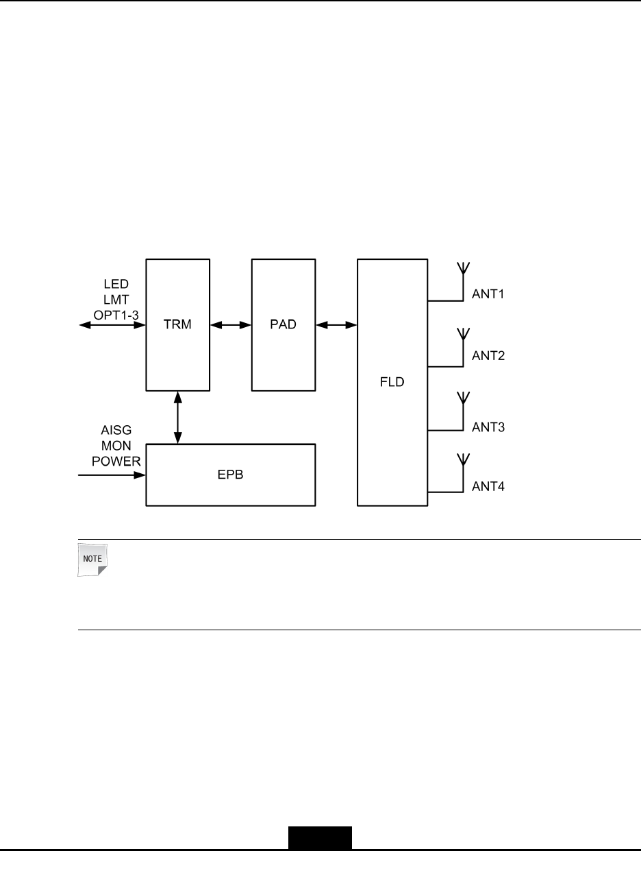
Figure2-1takestheZXSDRR8882withthreeopticalportsforexampletoshowthegeneral
hardwarearchitecture.
Figure2-1ZXSDRR8882HardwareSubsystem
Note:
TheOPT3interfaceisnotavailableforaZXSDRR8882withtwoopticalinterfaces.
TheZXSDRR8882iscomposedofMulti-modeTRXmodule(TRM),Poweramplication
module(PAD),Duplexerandlter(FLD),andEMCprotectionmodule(EPB).Thefunctions
ofeachmoduleareasfollows:
TRM
lProcessesuplinkanddownlinkRFsignals.
lProcessesopticalinterfacesignals.
2-1
SJ-20150104112914-001|2015-01-04(R1.0)ZTEProprietaryandCondential

ZXSDRR8882ProductDescription
lProcessesclocksignals.
lProvidesLEDindication.
lProvidesexternalmonitoringinterfaces.
lSupportslocalorremotemonitoring.
PAD
lAmpliesdownlinkradiosignalsreceivedfromtheTRM,andoutputstheamplied
signalstotheFLD.
lAmpliesfoursignalsreceivedfromtheFLDthroughtheLNA,andthensendsthe
ampliedsignalstotheTRM.
lProvidesapre-distortionfeedbackinterfacefortheTRM.
lProvidesaninterfacetotheTRMforVoltageStandingWaveRatio(VSWR)detection
(forwardpowerdetection).
lSupportsseparateswitch-off.
lSupportsinner-moduletemperaturedetection.
FLD
lTransmitsandreceivesuplinkanddownlinksignalsinduplexmode.
lSuppressesspuriousemissiononthedownlinktogetacceptableout-bandTx
spuriousemissionrequiredbythesystemandrelatedprotocol.
lSuppressesinterferencesignalsontheuplinktoachieveasatisednoisecoefcient.
EPB
lProvideslightningprotectionfor-48Vpowersupply.
lProvides-48Vpowerlter.
lProtectsAISGsignals(AISGpower,half-duplex485signal).
lPerformsdrycontactprotection.
lProtectstheRS485monitoringsignals.
lProvidesadaptationforexternalMONinterface,AISGinterface,andpowerinterface.
2.2SoftwareSubsystem
Figure2-2showsthesoftwaresubsystemoftheZXSDRR8882.
2-2
SJ-20150104112914-001|2015-01-04(R1.0)ZTEProprietaryandCondential

Chapter2SystemStructure
Figure2-2SoftwareArchitecture
Thelower-layersoftwaremodulesofboardsincludeBSP,DSP,andFPGA.
lBSP&OSmodule:initializesthesystemhardware,andprovidesdriverinterface
functionsandoperatingsystem.
lDSPmodule:exchangesinformationwiththeCPU,exchangescontrolsignalsand
datawiththeFPGAmodule,implementsmaintenanceandmeasurementfunctions
suchasextractingandupdatingpre-distortionparameters,anddetectingerrorsand
alarms.
lFPGAmodule:exchangescontrolsignalsanddatawiththeBSPandDSPmodules.
TheOperationSupportSub-system(OSS)isasupportlayerfortheentiresoftware.
Itprovidesahardwareirrelevantplatformonwhichthesystemsoftwarerunsto
providebasicsoftwarefunctions,suchasscheduling,timing,memorymanagement,
inter-modulecommunication,queuingcontrolling,monitoring,alarmmanagement,and
logmanagement.
TheOAMprovidesthefunctionsofversionmanagement,faultmanagement,diagnosis
test,congurationmanagement,toolmanagement,performancemanagement,system
management,dynamicdatamanagement,andcommunicationmanagement.
2-3
SJ-20150104112914-001|2015-01-04(R1.0)ZTEProprietaryandCondential

ZXSDRR8882ProductDescription
Thispageintentionallyleftblank.
2-4
SJ-20150104112914-001|2015-01-04(R1.0)ZTEProprietaryandCondential

Chapter3
OperationandMaintenance
TableofContents
OperationandMaintenanceModes............................................................................3-1
OperationandMaintenanceFunctions.......................................................................3-2
3.1OperationandMaintenanceModes
RemoteMaintenanceMode
Inremotemaintenancemode,theNetNumen™M3OMCofZTEisconnectedtothe
BSC/RNC/BBU,andthenconnectedtotheZXSDRR8882throughtheAbis/Iub/CPRI
interface.Inthisway,youcanoperateandmaintaintheZXSDRR8882throughtheOMC.
Figure3-1showsthenetworking.
Figure3-1RemoteMaintenanceMode(TakingCDMAandGSMforExample)
Inremotemaintenancemode,theOMCandNEsareconnectedthroughtheTCP/IP
protocol.OneOMCcanmaintainmultipleBTSs.
3-1
SJ-20150104112914-001|2015-01-04(R1.0)ZTEProprietaryandCondential

ZXSDRR8882ProductDescription
LocalMaintenanceMode
Inlocalmaintenancemode,theLocalMaintenanceT erminal(LMT),usuallyaPC,is
connectedtotheZXSDRR8882throughanEthernetcable.Figure3-2showsthe
networking.
Figure3-2LocalMaintenanceMode
ThroughtheLMT,youcanquerythepower,increaseordecreasethepower,andperform
calibrationontheZXSDRR8882.ThroughtheLMT,youcanmaintaintheentireBTS.
3.2OperationandMaintenanceFunctions
TheNetNumen™M3OMCprovidesatopologicalviewontheGUIinterface.Throughthe
GUIinterface,userscanviewtheinformationaboutalltheNEsintheentirenetwork.The
userscanselectarequiredNEandviewitsdetailedperformancedata,alarminformation,
andcongurationdata.TheycanalsooperateandmaintainonetypeofNEsthroughthe
topologicalview.TheOMCprovidesthefollowingfunctions:
lCongurationmanagement
Adds,queries,deletes,modiesphysicalandradioresourcedataofBTSs.Performs
dataconsistencycheck;andsupportsdynamicandstaticdatacongurationmodes.
lSecuritymanagement
Ensuresthatonlyauthorizeduserscanperformthespeciedgroupsofcommands.
lPerformancemanagement
Supportsperformanceanalysis,invocationtracing,andsignalingtracing.
lVersionmanagement
ThroughtheOMC,userscanquerythesoftwareandhardwareversionsthatarein
use.TheOMCprovidesthesoftwaredownloadmechanism,supportingsoftware
upgradeofNEs.
lFaultmanagement
Supportsalarmmanagementanddiagnosistest.MonitorstheBTSoperatingstatusin
acentralizedmanner;Collectsabnormalinformationofboardsandlinksinrealtime,
3-2
SJ-20150104112914-001|2015-01-04(R1.0)ZTEProprietaryandCondential

Chapter3OperationandMaintenance
whichhelpstheoperationandmaintenancepersonneltodeterminetheequipment
faultsandmaintaintheequipment.
3-3
SJ-20150104112914-001|2015-01-04(R1.0)ZTEProprietaryandCondential

ZXSDRR8882ProductDescription
Thispageintentionallyleftblank.
3-4
SJ-20150104112914-001|2015-01-04(R1.0)ZTEProprietaryandCondential

Chapter4
Networking
TableofContents
NetworkingDescription...............................................................................................4-1
StarNetworking..........................................................................................................4-1
CascadeNetworking..................................................................................................4-2
RingNetworking.........................................................................................................4-2
4.1NetworkingDescription
Table4-1showsthenetworkingdescriptionoftheZXSDRR8882.
Table4-1NetworkingDescription
NetworkTypeGSMUMTSCDMALTE
StarNetworkingsupportsupportsupportsupport
Cascade
Networking
support(4grades)support(4grades)support(6grades)notsupport
4.2StarNetworking
Figure4-1showsthestarnetworkingofaBBUandmultipleRRUs(ZXSDRR8882).
4-1
SJ-20150104112914-001|2015-01-04(R1.0)ZTEProprietaryandCondential

ZXSDRR8882ProductDescription
Figure4-1StarNetworking
4.3CascadeNetworking
Figure4-2showsthecascadenetworkingofaBBUandmultipleRRUs(ZXSDRR8882).
Figure4-2CascadeNetworking
4.4RingNetworking
RingnetworkingisonlyavailableforCRAN.Figure4-3showstheringnetworkingofa
BBUandmultipleRRUs(ZXSDRR8882).
Figure4-3RingNetworking
WhenZXSDRR8882providesthreeopticalports,chain(cascading)networkingcanbe
addedtotheringnetworking,asshowninFigure4-4.
4-2
SJ-20150104112914-001|2015-01-04(R1.0)ZTEProprietaryandCondential

Chapter4Networking
Figure4-4RingandChainNetworking(withThreeOpticalPorts)
4-3
SJ-20150104112914-001|2015-01-04(R1.0)ZTEProprietaryandCondential

ZXSDRR8882ProductDescription
Thispageintentionallyleftblank.
4-4
SJ-20150104112914-001|2015-01-04(R1.0)ZTEProprietaryandCondential

Chapter5
TechnicalSpecications
TableofContents
PhysicalSpecications...............................................................................................5-1
RadioPerformance....................................................................................................5-3
Interfaces...................................................................................................................5-3
5.1PhysicalSpecications
Appearance
ItemSpecications
Dimensions480mm×320mm×150mm(Height×Width×Depth)
Weight23kg
ColorWhite
PowerSupplyRequirementsandPowerConsumption
ItemSpecications
Averagepowerconsumptionin
GSMsinglemode
S44:310W(900MHz)/320W(1800MHz)
S66:295W(900MHz)/305W(1800MHz)
S66:355W(850MHz)/440W(1900MHz)
Averagepowerconsumptionin
UMTSsinglemode(900MHz)
S1:140W
S2:165W
S3:185W
S11:210W
S22:265W
S33:310W
S1MIMO:210W
S2MIMO:265W
S3MIMO:315W
5-1
SJ-20150104112914-001|2015-01-04(R1.0)ZTEProprietaryandCondential

ZXSDRR8882ProductDescription
ItemSpecications
Averagepowerconsumptionin
UMTSsinglemode(2100MHz)
S1:130W
S2:150W
S3:180W
S11:200W
S22:215W
S33:265W
S1MIMO:170W
S2MIMO:215W
S3MIMO:270W
Averagepowerconsumptionin
CDMAsinglemode310W(850MHz)/320W(1900MHz)
Averagepowerconsumptionin
LTEsinglemode330W(1800MHz)
Ratedinputvoltage–48VDC(-57VDC~-37VDC)
EnvironmentalRequirements
ItemSpecications
OperationAmbienttemperature:-40℃to+55℃
Relativehumidity:10%to100%
StorageAmbienttemperature:-40℃to+70℃
Relativehumidity:10%to100%
TransportationconditionInconditionof4K2,4Z5,4Z7,4B1,4C2,4S3,or4M3,thetrans-
portationmustbecompletedwithin180days
Reliability
ItemSpecications
Availability99.999689%
MeanTimeBetweenCriticalFail-
ures(MTBF)≥322,000hours
MeanTimeT oRecovery(MTTR)1hour
SystemserviceinterruptiontimeTheserviceinterruptiontimeoftheentiresystemislessthan1.632
minutesperyear.
WindLoad
WindSpeedFrontSideRear
150km/h422N197N422N
240km/h1092N510N1092N
5-2
SJ-20150104112914-001|2015-01-04(R1.0)ZTEProprietaryandCondential

Chapter5TechnicalSpecications
5.2RadioPerformance
CapacitySpecications
ItemSpecications
GSMsinglemodeMaximum:2×6carriers
UMTSsinglemodeMaximum:2×4carriers
CDMAsinglemodeMaximum:2×8carriers
LTEsinglemode1carrier
GSM/UMTSdualmode2×4GSMcarriers+2×1UMTScarriers,or2×2GSMcarriers+2
×2UMTScarriers
GSM/LTEdualmodelG/Ldual-mode900MHz:8GSMTRXs+LTE10MHz
lG/Ldual-mode1800MHz:8GSMTRXs+LTE20MHz
CDMA/LTEdualmode2×4CDMAcarriers+2×1LTEcarriers
RFSpecications
ItemSpecications
Workingfrequencyband
lGSM:850MHz/900MHz/1800MHz/1900MHz
lUMTS:850MHz/900MHz/1900MHz/2100MHz
lCDMA:850MHz/1900MHz
lLTE:800MHz/1800MHz/2600MHz/1700MHz/720MHz
Transmitpower
lGSM(850MHz/900MHz/1800MHz):2×60W(GMSK)/2×40
W(8PSK)
lGSM(1900MHz):2×60W(GMSK)/2×32W(8PSK)
lUMTS:2×60W(900MHz/2100MHz/850MHz),2×60W(1900
MHz)
lLTE:2×60W(S1700)/2×60W(S1800)/2×40W(S8000)/2×
30W(S2600)/2×60W(S7200)
Staticreceiversensibility
lGSM:-113.5dBm(850MHz/900MHz/1800MHz)
lUMTSsingleantenna:-125.8dBm
lUMTSdualantennas:-128.5dBm
lCDMA:–115dBm
lLTEsingleantenna:-106dBm
lLTEdualantenna:-108.6dBm
5.3Interfaces
TheZXSDRR8882providesthefollowinginterfaces:
5-3
SJ-20150104112914-001|2015-01-04(R1.0)ZTEProprietaryandCondential

ZXSDRR8882ProductDescription
ItemSpecications
Baseband-RFinterface(op-
ticalport)
ZXSDRR8882S9000(C)
Providesthreeopticalports:
lOPT1:theinterfacethroughwhichtheZXSDRR8882iscascaded
toaBBU
lOPT2:theinterfacethroughwhichtheZXSDRR8882iscascaded
toanRRU
lOPT3:theinterfacethroughwhichtheZXSDRR8882iscascaded
toabranchRRU(forCRAN)
ZXSDRR8882S1800(C)
Providesthreeopticalports:
lOPT1:theinterfacethroughwhichtheZXSDRR8882iscascaded
toaBBU
lOPT2:theinterfacethroughwhichtheZXSDRR8882iscascaded
toanRRU
lOPT3:theinterfacethroughwhichtheZXSDRR8882iscascaded
toabranchRRU(forCRAN)
ZXSDRR8882S9000(B)
Providestwoopticalports:
lOPT1:theinterfacethroughwhichtheZXSDRR8882iscascaded
toaBBU
lOPT2:theinterfacethroughwhichtheZXSDRR8882iscascaded
toanRRU
ZXSDRR8882S8500(B)
Providestwoopticalports:
lOPT1:theinterfacethroughwhichtheZXSDRR8882iscascaded
toaBBU
lOPT2:theinterfacethroughwhichtheZXSDRR8882iscascaded
toanRRU
ZXSDRR8882S8000(B)
Providestwoopticalports:
lOPT1:theinterfacethroughwhichtheZXSDRR8882iscascaded
toaBBU
lOPT2:theinterfacethroughwhichtheZXSDRR8882iscascaded
toanRRU
ZXSDRR8882S2600(B)
Providestwoopticalports:
lOPT1:theinterfacethroughwhichtheZXSDRR8882iscascaded
toaBBU
lOPT2:theinterfacethroughwhichtheZXSDRR8882iscascaded
toanRRU
ZXSDRR8882S2100(B)
Providestwoopticalports:
5-4
SJ-20150104112914-001|2015-01-04(R1.0)ZTEProprietaryandCondential

Chapter5TechnicalSpecications
ItemSpecications
lOPT1:theinterfacethroughwhichtheZXSDRR8882iscascaded
toaBBU
lOPT2:theinterfacethroughwhichtheZXSDRR8882iscascaded
toanRRU
ZXSDRR8882S1900(B)
Providestwoopticalports:
lOPT1:theinterfacethroughwhichtheZXSDRR8882iscascaded
toaBBU
lOPT2:theinterfacethroughwhichtheZXSDRR8882iscascaded
toanRRU
ZXSDRR8882S1800(B)
Providestwoopticalports:
lOPT1:theinterfacethroughwhichtheZXSDRR8882iscascaded
toaBBU
lOPT2:theinterfacethroughwhichtheZXSDRR8882iscascaded
toanRRU
ZXSDRR8882S1700(B)
Providestwoopticalports:
lOPT1:theinterfacethroughwhichtheZXSDRR8882iscascaded
toaBBU
lOPT2:theinterfacethroughwhichtheZXSDRR8882iscascaded
toanRRU
MONinterface
OneMONinterface,throughwhichtheexternalmonitoringdevicesare
connected,providinginputofRS485signalsandtwopairsofdrycon-
tacts.
EthernetinterfaceOneEthernetinterface,whichisusedforlocalmaintenance.
Antennaandfeederinter-
face
Fourantennaandfeederinterfacesthroughwhichantennasandfeeders
areconnected.
AISGinterfaceOneAISGinterface,whichisusedfortheelectricaltilttunableantenna.
PowerinterfaceOnepowerinterface,whichprovidesexternalpowerinput.
ProtectiveEarth(PE)inter-
face
OnePEinterface,throughwhichtheZXSDRR8882isconnectedtothe
PE.
5-5
SJ-20150104112914-001|2015-01-04(R1.0)ZTEProprietaryandCondential

ZXSDRR8882ProductDescription
Thispageintentionallyleftblank.
5-6
SJ-20150104112914-001|2015-01-04(R1.0)ZTEProprietaryandCondential

Chapter6
FCC&ICSTATEMENT
ThisdevicecomplieswithPart15oftheFCCRules.Operationissubjecttothefollowing
twoconditions:
1.Thisdevicemaynotcauseharmfulinterference.
2.Thisdevicemustacceptanyinterferencereceived,includinginterferencethatmay
causeundesiredoperation.
Note:
ThisequipmenthasbeentestedandfoundtocomplywiththelimitsforaClassAdigital
device,pursuanttoPart15oftheFCCRules.Theselimitsaredesignedtoprovide
reasonableprotectionagainstharmfulinterferencewhentheequipmentisoperatedin
acommercialenvironment.Thisequipmentgenerates,uses,andcanradiateradio
frequencyenergyand,ifnotinstalledandusedinaccordancewiththeinstructionmanual,
maycauseharmfulinterferencetoradiocommunications.
Operationofthisequipmentinaresidentialareaislikelytocauseharmfulinterferencein
whichcasetheuserwillberequiredtocorrecttheinterferenceathisownexpense.
6-1
SJ-20150104112914-001|2015-01-04(R1.0)ZTEProprietaryandCondential

ZXSDRR8882ProductDescription
Thispageintentionallyleftblank.
6-2
SJ-20150104112914-001|2015-01-04(R1.0)ZTEProprietaryandCondential

Figures
Figure1-1PositionoftheZXSDRR8882intheRadioNetwork................................1-1
Figure2-1ZXSDRR8882HardwareSubsystem......................................................2-1
Figure2-2SoftwareArchitecture...............................................................................2-3
Figure3-1RemoteMaintenanceMode(TakingCDMAandGSMforExample)...........3-1
Figure3-2LocalMaintenanceMode.........................................................................3-2
Figure4-1StarNetworking.......................................................................................4-2
Figure4-2CascadeNetworking................................................................................4-2
Figure4-3RingNetworking......................................................................................4-2
Figure4-4RingandChainNetworking(withThreeOpticalPorts).............................4-3
I
SJ-20150104112914-001|2015-01-04(R1.0)ZTEProprietaryandCondential

Figures
Thispageintentionallyleftblank.
II
SJ-20150104112914-001|2015-01-04(R1.0)ZTEProprietaryandCondential

Tables
Thispageintentionallyleftblank.
IV
SJ-20150104112914-001|2015-01-04(R1.0)ZTEProprietaryandCondential

Glossary
AGPS
-AssistedGlobalPositioningSystem
AMR
-AdaptiveMultipleRate
BBU
-BaseBandUnit
BSC
-BaseStationController
BSP
-BoardSupportPackage
BTS
-BaseTransceiverStation
CDMA
-CodeDivisionMultipleAccess
CS
-CircuitSwitched
DO
-DigitalOutput
DPD
-DigitalPre-Distortion
DSP
-DigitalSignalProcessing
DTX
-DiscontinuousTransmission
EFR
-EnhancedFullRate
FDD
-FrequencyDivisionDuplex
FPGA
-FieldProgrammableGateArray
FR
-FullRate
GPRS
-GeneralPacketRadioService
V
SJ-20150104112914-001|2015-01-04(R1.0)ZTEProprietaryandCondential

ZXSDRR8882ProductDescription
GSM
-GlobalSystemforMobileCommunications
HR
-HalfRate
HSDPA
-HighSpeedDownlinkPacketAccess
HSUPA
-HighSpeedUplinkPacketAccess
LMT
-LocalMaintenanceTerminal
LTE
-LongTermEvolution
MBMS
-MultimediaBroadcast/MulticastService
MIMO
-Multiple-InputMultiple-Output
MTBF
-MeanTimeBetweenFailures
MTTR
-MeanTimeT oRecovery
OAM
-Operation,AdministrationandMaintenance
OSS
-OperationSupportSubsystem
PE
-ProtectiveEarth
PTM
-PointToMultipoint
PTP
-Point-T o-Point
PTT
-Push-T o-T alk
RET
-RemoteElectricalTilt
RF
-RadioFrequency
RNC
-RadioNetworkController
VI
SJ-20150104112914-001|2015-01-04(R1.0)ZTEProprietaryandCondential

Glossary
RRU
-RemoteRadioUnit
RSSI
-ReceivedSignalStrengthIndicator
RTT
-RoundTripTime
SDR
-SoftwareDenedRadio
SWR
-StandingWaveRatio
TA
-TimingAdvance
UMTS
-UniversalMobileTelecommunicationSystem
VSWR
-VoltageStandingWaveRatio
VII
SJ-20150104112914-001|2015-01-04(R1.0)ZTEProprietaryandCondential
