ZTE R8882S1700 UMTS and LTE Remote Radio Unit User Manual 4
ZTE Corporation UMTS and LTE Remote Radio Unit 4
ZTE >
Contents
- 1. User manual
- 2. User manual 1
- 3. User manual 2
- 4. User manual 3
- 5. User manual 4
User manual 4

ZXSDRR8882
Unitémacroderadioàdistance
Descriptionduproduit
Version:HV2.1
ZTECORPORATION
NO.55,Hi-techRoadSouth,ShenZhen,R.P .Chine
CodePostal:518057
Tél:+86-755-26771900
Fax:+86-755-26770801
AdresseWeb:http://support.zte.com.cn
Courrierélectronique:support@zte.com.cn

MENTIONSLEGALES
Copyright©2013ZTECORPORATION.
Lecontenudecedocumentestprotégéparlesloissurlecopyrightetlestraitésinternationaux.Toutereproduction
ouladistributiondecedocumentoudetoutepartieduprésentdocument,sousquelqueforme,parquelque
moyen,sansl'accordpréalableécritdeZTECORPORATIONestinterdite.Enoutre,lecontenudecedocument
estprotégépardesobligationscontractuellesdecondentialité.
Touslesnomsdesociétés,demarquesetdeproduitssontdesmarquesdeserviceoudefabrique,oudesmarques
deserviceoudéposéesdeZTECORPORATIONoudeleurspropriétairesrespectifs.
Cedocumentestfourni«telquel»ettoutegarantieexpresse,impliciteoulégale,conditionsoureprésentations
sontexclues,ycompris,sanss'ylimiter,toutegarantieimplicitedequalitémarchande,d'adequationàunusage
particulier,detitreoudenon-violation.ZTECORPORATIONetsesconcédantsneserontpasresponsablesdes
dommagesrésultantdel'utilisationoulaabilitédel'informationcontenuedanslesprésentes.
ZTECORPORATIONousesconcédantspeutavoirdesdroitsdepropriétéintellectuellecourantsouenattenteou
desapplicationscouvrantlesujetrelatifàcedocument.Sauftelqu'expressémentprévudanstoutelicenceécrite
entreZTECORPORATIONetsonLedétenteurdelicence,l'utilisateurdecedocumentnedoitpasacquérirune
licencesurl'objetdesprésentes.
ZTECORPORATIONseréserveledroitd'amélioreroudefairedeschangementtechniquessurceproduitsans
avispréalable.
LesutilisateurspeuventvisiterlesiteWebdesupporttechniquedeZTEhttp://ensupport.zte.com.cnpourse
renseignersurlesinformationsconnexes.
Ledroitd'interpréterceproduitappartientàZTECORPORATION.
Historiquedelarévision
Numérode
révision
DatederévisionMotifdelarévision
R2.110/05/2015Misesàjour:
l1.2Caractéristiquesduproduit
l1.3Servicesetfonctions
l1.4Spécicationsduproduit
l5.2Spécicationsdelaperformanceradio
R2.010/03/2014Misesàjour:
l1.4Spécicationsduproduit
l5.2Spécicationsdelaperformanceradio
R1.511/10/2013Lesinformationsci-aprèsontétémodiées:
l1.4Spécicationsduproduit
R1.421/11/2012Spécicationsduproduitetindicestechniques
R1.319/10/2012IndicestechniquesduGU
SJ-20110603090757-002|2015–05–10(R2.1)CondentieletpropriétédeZTE

Numérode
révision
DatederévisionMotifdelarévision
R1.230/05/2012Lesinformationsci-aprèsontétémodiées:
l1.3Servicesetfonctions
l1.4Spécicationsduproduit
l2Architecturedusystème
l5.1Paramètresphysiquesdel’unitéRRU
l5.2Spécicationsdelaperformanceradio
Lesinformationsci-aprèsontétémisesàjour:
l4.1Descriptiondelamiseenréseau
R1.130/01/2012Lesinformationsci-aprèsontétémodiées:
l1.3Servicesetfonctions
l1.4Spécicationsduproduit
l2.1.1Architecturematérielle
R1.030/10/2011Premièreédition
Numérodesérie:SJ-20110603090757-002
Datedepublication:2015–05–10(R2.1)

Aproposdecemanuel
Objetdecemanuel
LedispositifZXSDRR8882estuneunitémacroderadioàdistanceprenantencharge
plusieursmodesdeduplexageàrépartitionenfréquencetelsque2T2R/2T4R(deux
émetteursetdeuxrécepteurs/deuxémetteursetquatrerécepteurs).Ilprendencharge
lesnormesdecommunicationincluantGSM,UMTS,CDMA,LTE.Ledispositifprésente
unestructurecompacte,aunegrandecapacitéetpeutêtreinstalléfacilement.
Utiliséensembleavecl'unitédebandedebase(BBU),ledispositifZXSDRR8882
constitueunestationdebaseZXSDR(stationdebasedistribuéesebasantsurla
plate-formeradioàbasedelogiciel)deZTE.
LeprésentmanuelfournitunedescriptiongénéraledudispositifZXSDRR8882,couvrant
lescaractéristiques,lesservicesetfonctions,lesspécicationsdusystème,lesindices
techniques,lesinformationsrelativesauxmodesdelamiseenréseau,àl’exploitationet
lamaintenanceduproduit.
Personnelvisé
Cedocumentestdestinéaupersonnelsuivant:
lPersonneltechnique.
lIngénieurschargésdel’installationdel'équipement.
lIngénieursenchargedelamaintenance.
Contenudecemanuel
ChapitreDescription
Chapitre1:Vue
d’ensembleduproduit
Introduitl’emplacementdudispositifZXSDRR8882dansleréseau,les
caractéristiques,lesfonctionsetlesscénariosd’installation.
Chapitre2:Architecture
dusystème
Décritl’architecturematérielleetlogicielledudispositifZXSDRR8882
ainsiquelesfonctions
Chapitre3:Exploitationet
maintenance
Décritlesmodesd’exploitationetdemaintenancedudispositifZXSDR
R8882etlesfonctionsderéalisationd'opérationsd’exploitationetde
maintenance
Chapitre4:Applications
demiseenréseau
DécritlesmodesdemiseenréseaududispositifZXSDRR8882.
Chapitre5:Spécications
techniques
PrésentetouslesspécicationstechniquesduproduitZXSDRR8882.
Conventions
Cemanuelutiliselesconventionssuivantes:
I
SJ-20110603090757-002|2015–05–10(R2.1)CondentieletpropriétédeZTE

Danger! !
!
Indiqueunesituationdedangerimminent.Silesmesuresnécessaires
nesontpasprises,celapourraitconduireàdesdommagesmatérielsou
desdommagescorporelsgraves.
Avertissement! !
!
Indiqueunesituationpotentiellementdangereuse.Lenon-respectde
cetavertissementpourraitentraînerdesdommagescorporelsoudes
dommagesmatérielstrèsimportants.
Attention! !
!
Indiqueunesituationpotentiellementdangereuse.Lenon-respect
pourraitentraînerdesdommagesmatériels,lapertededonnées,la
diminutiondurendementdel'équipementoud’autresconséquences
imprévisibles.
Fournitdesinformationssupplémentairessurunsujet.
II
SJ-20110603090757-002|2015–05–10(R2.1)CondentieletpropriétédeZTE

Tabledesmatières
Aproposdecemanuel..................................................................................I
Chapitre1Vued'ensembleduproduit.....................................................1-1
1.1EmplacementdudispositifZXSDRR8882dansunréseauradio...........................1-1
1.2Caractéristiquesduproduit.................................................................................1-2
1.3Servicesetfonctions..........................................................................................1-3
1.4Spécicationsduproduit.....................................................................................1-6
1.5Scénariosd'installation......................................................................................1-8
Chapitre2Architecturedusystème.........................................................2-1
2.1Sous-systèmematériel......................................................................................2-1
2.2Architecturelogicielle..........................................................................................2-2
Chapitre3Exploitationetmaintenance...................................................3-1
3.1Modesd’exploitationetmaintenance...................................................................3-1
3.2Fonctionsd’exploitationetdemaintenance..........................................................3-2
Chapitre4Applicationsdemiseenréseau.............................................4-1
4.1Descriptiondemiseenréseau............................................................................4-1
4.2Miseenréseauenétoile.....................................................................................4-1
4.3Miseenréseauenchaîne...................................................................................4-2
4.4Miseenréseauenanneau..................................................................................4-2
Chapitre5Spécicationstechniques.......................................................5-1
5.1Paramètresphysiquesdel'unitéRRU..................................................................5-1
5.2Spécicationssurlaperformanceradio................................................................5-3
5.3Spécicationssurlesinterfacesetlatransmission................................................5-4
Figures.............................................................................................................I
Tableaux........................................................................................................III
I
SJ-20110603090757-002|2015–05–10(R2.1)CondentieletpropriétédeZTE

II
SJ-20110603090757-002|2015–05–10(R2.1)CondentieletpropriétédeZTE

Chapitre1
Vued'ensembleduproduit
Tabledesmatières
EmplacementdudispositifZXSDRR8882dansunréseauradio................................1-1
Caractéristiquesduproduit.........................................................................................1-2
Servicesetfonctions..................................................................................................1-3
Spécicationsduproduit............................................................................................1-6
Scénariosd'installation..............................................................................................1-8
1.1EmplacementdudispositifZXSDRR8882dansun
réseauradio
LedispositifZXSDRR8882estuneunitémacroderadioàdistanceexternedestation
debase.Ensembleavecl'unitédebandedebase(BBU),ilconstitueunestation
émettrice-réceptricedebase(BTS)/noeudNodeB/noeudNodeBévolué(eNodeB)
intégréanderéaliserunetransmissionradioàl'intérieurdelazonedecouvertureetle
contrôledecanalradio.Ilpermetégalementderéaliserlacommunicationentreréseaux
principauxBSC(contrôleurdestationdebase)/RNC(contrôleurderéseauradio)/LTE
(évolutionàlongterme).
LagureFigure1-1illustrel’emplacementdel'unitéradioàdistance(RRU)àl'intérieurdu
réseauradio.
Figure1-1EmplacementdudispositifZXSDRR8882àl'intérieurduréseauradio
1-1
SJ-20110603090757-002|2015–05–10(R2.1)CondentieletpropriétédeZTE

ZXSDRR8882Descriptionduproduit
1.2Caractéristiquesduproduit
LedispositifZXSDRR8882estuneunitéRRU(unitéradioàdistance)externeàdeux
émetteursqui,combinéeavecl'unitéBBU(unitédebandedebase),constitueunefonction
logiquedel'ensembledelastationdebase.
Basésurunetechnologienumériquedeplusieursporteusesàfréquencemoyenne,
leproduitZXSDRR8882prendenchargelemode2T4R(deuxémetteursetquatre
récepteurs)etpeutêtreindépendammentutilisécommeunitéRRUpourlestechnologies
GSM/UMTS/CDMA/LTE.
LescaractéristiquesdudispositifZXSDRR8882sontcommesuit:
1.Moderadio
LedispositifZXSDRR8882prendenchargedesmodesd'accèsradiocomprenant
GSM(systèmemondialdetélécommunicationaveclesmobiles),UMTS(système
universeldetélécommunicationsmobiles),CDMA(accèsmultipleparrépartitionen
code),LTEévolutionàlongterme)enmodemonomode,bimodeoumultimode.
2.Structuredistribuée
Ensemble,lesunitésBBUetRRUformentunsystèmedestationdebasedistribuée
fournissantdesmodesplusexiblesdedéploiementdestations.
3.Soupleévolution
Priseencharged’uneévolutionendouceurparl'intermédiaired’unemiseàjourde
logiciel.
4.Souplecongurationetmiseenréseau
lEnutilisantlatechnologiedeplusieursporteusesàdoubledensité,lorsdeson
fonctionnementenmodeGSM,ledispositifZXSDRR8882peut,àtraversune
congurationlogicielle,prendreenchargejusqu’à2x6porteuses(unseulcanal
prendencharge6porteuses).
lPendantlefonctionnementenmodeUMTS,ledispositifZXSDRR8882prenden
chargejusqu’à2x4porteuses(unseulcanalprendencharge4porteuses).
lPendantlefonctionnementenmodeCDMA,ledispositifZXSDRR8882prenden
chargejusqu’à2x8porteuses(unseulcanalprendencharge8porteuses).
lEnmodeLTE,leproduitZXSDRR8882prendenchargeuneporteuse.
lEnG/Ubimode(c.à.dmodedoubleGSM+UMTS),ledispositifZXSDRR8882
prendencharge4porteusesenmodeGSM+uneporteuseenmodeUMTS
ou2porteusespourGSM+2porteusesenmodeUMTS(unamplicateurde
puissance).
lEnG/Lbimode(c.à.dmodedoubleGSM+LTE),ledispositifZXSDRR8882prend
encharge4porteusesenmodeGSM+uneporteuseenmodeLTE(10M)ou2
porteusesenmodeGSM+uneporteuseenmodeLTE(20M).
lEnmodeU/Lbimode,ledispositifZXSDRR8882prendencharge2x2porteuses
enmodeUMTS+2porteusesenmodeLTE(10MHz)avecunefréquencede
2100MHzenmodeU/Lbimode+1700MHzenmodeU/Lbimode.
1-2
SJ-20110603090757-002|2015–05–10(R2.1)CondentieletpropriétédeZTE

Chapitre1Vued'ensembleduproduit
lPriseenchargedelamiseenréseauenétoileetenchaînepourlesinterfaces
entrel’unitéBBUetl'unitéRRU.
5.Architectureinternedepointe
6.Economied'énergieetprotectiondel’environnement
LedispositifZXSDRR8882utilisedestechnologiesavancéesd’amplication
depuissancedeplusieursporteusestellesqueDohertyetPDP(pré-distorsion
numérique).
7.Installationfacile
Depetitetaille,léger,trèspratiquepourl’installationetlamaintenance.
1.3Servicesetfonctions
Opérationsprisesencharge
Lorsqu’ilestcombinéavecl'unitéBBU,ledispositifZXSDRR8882prendenchargeles
fonctionssuivantes:
lGSM
àServicedevoixàpleindébit.
àRenforcementdeservicedevoixàpleindébit.
àServicedevoixàdemi-débit.
àAdaptationautomatiqueauservicedevoixàplusieursdébits.
àServicededonnéesdedomainedecircuitélectriquede9,6kbps.
àServicegénéralderadiocommunicationenmodepaquet(GPRS).
lUMTS
àServiceR99
àServiceHSDPA(accèsrapideenmodepaquetsurlaliaisondescendante).
àServiceHSUPA(accèsenmodepaquetsurlaliaisonmontantehautdébit).
àServiceHSPA+(technologieévoluéed’accèsparpaquetshautdébit).
lCDMA
àService1X
àServiceDO(optimisationdesdonnées).
àServicedemessagerievocaleinstantané(PTT).
lLTE
àAméliorelacapacitéetledébitdetransmissiondesdonnéesduréseaumobile,
réduitlesdélaisdetransmission;augmenteledébitdedonnéesdevaleurde
crêtedesliaisonsdescendantesjusqu’à100Mbpsetceluidesliaisonsmontantes
jusqu’à50Mbps.
1-3
SJ-20110603090757-002|2015–05–10(R2.1)CondentieletpropriétédeZTE

ZXSDRR8882Descriptionduproduit
àSebasantsurunearchitectureIP ,latechnologieLTEpermetd’effectuerune
optimisationdelatransmissiondesdonnées,agissantcommeunréseautout-IP
etprenantenchargelesprotocolesIPv4etIPv6.LatechnologieLTEpermetde
réaliserdesservicesdevoixsurIP(VoIP).
àFournitunelargeurdebandeextensibleetpermetuneanalyseplussoupledu
spectre.
lServicedelocalisation
àServicedelocalisationparidenticationdecelluleradio(CellID),identication
decelluleradio+tempsd'aller-retour(CellID+RTT)etGPSassisté(AGPS).
lServicedediffusionmultimédia/multidiffusion(MBMS)
àFonctionsderadiodiffusionetmultidiffusion;modesdemultidiffusionPtP(point
àpoint)etPtM(pointàmultipoint).
àGestionmobile.
àServiceMBMSdetypedeuxdedonnéesetdecontexte.
Fonctionsdebase
lFonctionscommunes
LedispositifZXSDRR8882etl'unitéBBUformentunsystèmedestationdebase
distribuéepermettantletraitementenuneseuleétapeduprocessusallantde
l'émission/laréceptiondusignalparl’antenneautransfertdusignalparleproduit
ZXSDRR8882àl'unitéBBU.Unefoisconnectéàl'unitéBBU,ledispositifZXSDR
R8882prendenchargelesfonctionssuivantes:
àFonctiond’accèsdeterminalettransmissiondeliaisonradioàtraversl’antenne.
cettefonctioncomprendl'émissionetlaréceptionradio,l’amplicationàfaible
bruitdusignalradioreçu,l’amplicationdusignalradioémis,lamodulation/
démodulation,lamesureetlesrapportssurlessignaux,lecontrôledepuissance,
l’ajustementetlasynchronisation.
àPriseenchargededifférentsstandardsdemiseenréseauenmoded'agrégation
dusystèmed’antennes.
àRéalisationdesfonctionsci-aprèsàtraverslesinterfacesoptiquesde
raccordementavecl'unitéBBU:synchronisationd’horloge,lamesureduretard
detransmissionetlacompensationduretard,latransmissiondesdonnéesIQ,
lamaintenanceetlaconguration.
àFonctiondecontrôleetprotectiond’amplicateurdepuissance.Cettefonction
consisteàréaliserl’amplicationdepuissanceencasdehaussedepuissance,
fonctiondeprotectionencashaussedetempérature,etalarmed’ondes
stationnaires,etc.Ledispositifprendégalementenchargelaprotectioncontre
touteinversiondepolaritédel’alimentationélectrique.L’exploitationetla
maintenanceestmunied’unefonctionderequêted’alarmes.
1-4
SJ-20110603090757-002|2015–05–10(R2.1)CondentieletpropriétédeZTE

Chapitre1Vued'ensembleduproduit
àAtraversl’interfacedemaintenanceetexploitationlocale,ledispositifpermet
deréaliserdesfonctionsdegestiondusystème.lesfonctionscomprennent
lagestiondescongurations,lagestiond’alarmes,lavéricationdesétats,la
surveillance,etc.
àPermetd’effectuerlarequêtedelaversionmatérielleetlogicielle,delamiseàjour
delaversiondulogiciel,laréinitialisationdescartes,larequêtedelapuissance,
lecalibrageautomatique,l’ajustementdesantennesàinclinaisonréglable.
lGSMmonomode(c.-à-d.modeunique)
EnmodeGSMmonomode,lesfonctionsci-aprèssontréalisées:
àPriseenchargedelagammedefréquenceGSM.
àPriseenchargedelaPhaseI/phaseII/phaseII+enmodeGSM.
àPriseenchargedesmodesdecodageCS1~CS4enmodeGSM.
àPriseenchargedesmodesdediversitételsqueladiversitéspatiale,ladiversité
defréquences,ladiversitétemporelle,ladiversitédepolarisation.
àLeterminalrécepteurprendenchargel’algorithmededémodulationViterbian
d'améliorerlacapacitédedécodagedecanauxetlasensibilitéderéceptiondu
systèmee.
àPriseenchargedelatechnologiedesautdefréquenceetlatechnologiede
transmissiondiscontinue.
àPriseenchargedumodedecalculd’avancetemporelle(TA)etdelacouverture
surtrèslonguesdistances,aveclaplusgrandedistancedecouverturepouvant
atteindre120km.
àPriseenchargedelatechnologieCo-BCCH(canalcommundecommandede
diffusion).
lUMTSmonomode
EnmodeUMTSmonomode,ledispositifZXSDRR8882fournitlesfonctionsci-après:
àPriseenchargedelagammedefréquenceUMTS.
àPriseenchargedesversionsR99,R4,R5,R6,R7,R8.
lCDMAmonomode
EnmodeCDMAmonomode,ledispositifZXSDRR8882fournitlesfonctionsci-après:
àPriseenchargedelagammedefréquenceCDMA.
àConformeauxnormesd’interfaceradioIS-2000versionAetnormeIS-856-A.
àPermetlarequêted’indicateurd'intensitédusignalreçu(RSSI).
àPermetlarequêteduspectreinverse.
lLTEmonomode
EnmodeLTEmonomode,ledispositifZXSDRR8882fournitlesfonctionsci-après:
àPriseenchargedelagammedefréquenceLTE.
1-5
SJ-20110603090757-002|2015–05–10(R2.1)CondentieletpropriétédeZTE

ZXSDRR8882Descriptionduproduit
àConformeauxnormes3GPP(projetdepartenariatde3èmegénération)d’interface
radio.
àPriseenchargedesmodesdemodulationdeliaisonsmontantesetdescendantes
comprenantlamodulationpardéplacementdephasequadrivalente(QPSK),
lamodulationd'amplitudeenquadratureà16états(MAQ-16)etlaModulation
d'amplitudeenquadratureà64états(MAQ-64).
àPriseenchargedelatechnologieàmultiplesentréesetmultiplessorties
(MIMO).。
lMultimode(c.-à-d.agrégationdeplusieursmodes)
Enmodemultimode,ledispositifZXSDRR8882fournitlesfonctionsci-après:
àDénitiondesnormes3GPP(projetdepartenariatde3èmegénération)et3GPP2
(deuxièmeprojetdepartenariatde3èmegénération,version2)d’interfacesradio
pourdesnormesenmultimode.
àPriseenchargedelacongurationdemodemultimodecorrespondantàla
gammedefréquences,etdesmodesmultiplestelsqueGU,ULetCL.
1.4Spécicationsduproduit
PourlesspécicationsdudispositifZXSDRR8882,référez-vousauT ableau1-1.
Tableau1-1Spécicationsduproduit
SpécicationsduproduitDescription
ZXSDRR8882S9000(C)3interfacesoptiques,débitmaximal:6Gbps,G
monomode,bandedefréquence:900MHz,2×60W
ZXSDRR8882S1800(C)3interfacesoptiques,débitmaximal:6Gbps,G
monomode,bandedefréquence:1800MHz,2×60W
ZXSDRR8882S9000(B)2interfacesoptiques,débitmaximal:3Gbps,G
monomode/Umonomode/GUbimode,bandedefréquence:
900MHz,2×60W
ZXSDRR8882S9000(B6C)2interfacesoptiques,Gmonomode,bandedefréquence:
900MHz,priseenchargedelargeurdebandecomplète
radiode35M,2×60W
2interfacesoptiques,débitmaximal:3Gbps,C
monomode/Gmonomode/GUbimode/CLbimode,bandede
fréquence:850MHz,2×60W
ZXSDRR8882S8500(B6B)
2interfacesoptiques,débitmaximal:3Gbps,CLbimode,
bandedefréquence:850MHz,2×60W
ZXSDRR8882S8000(B4A)2interfacesoptiques,débitmaximal:3Gbps,Lmonomode,
bandedefréquence:Dopplerdifférentielle(DD),2×40W
1-6
SJ-20110603090757-002|2015–05–10(R2.1)CondentieletpropriétédeZTE

Chapitre1Vued'ensembleduproduit
SpécicationsduproduitDescription
2interfacesoptiques,débitmaximal:3Gbps,Lmonomode,
débit:2,6Gbps,2×30W
ZXSDRR8882S2600(B4A)
2interfacesoptiques,débitmaximal:3Gbps,Lmonomode,
débit:2.6Gbps,2×40W,ConformeàCEPT(Conférence
EuropéennedesPostesetTélécommunications).
ZXSDRR8882S2600(B6A)2interfacesoptiques,débitmaximal:3Gbps,Lmonomode,
débit:2.6Gbps,2porteuses,2×60W,ConformeàCEPT
(ConférenceEuropéennedesPostesetTélécommunications).
2interfacesoptiques,débitmaximal:3Gbps,U
monomode,2T4R(2émetteurs,4récepteurs),bandede
fréquence:2100MHz,2×60W
ZXSDRR8882S2100(B)
2interfacesoptiques,débitmaximal:3Gbps,LTE
monomodeouU/Lbimode,uneporteuse,bandede
fréquence:2100MHz,LTEmonomode2×60W,U/Lbimode
2×50W
2interfacesoptiques,débitmaximal:3Gbps,
Cmonomode/Gmonomode/GUbimode/CLbimode,bandede
fréquence:1900Mbps,2×50W
ZXSDRR8882S1900(B6B)
2interfacesoptiques,CLbimode,fréquence:1900Mbps,
2×60W
2interfacesoptiques,débitmaximal:3Gbps,G
monomode/GLbimode,bandedefréquence:1800MHz,
2×60W
ZXSDRR8882S1800(B6B)
2interfacesoptiques,débitmaximal:3Gbps,2T2R(2
émetteurs,2récepteurs),GL(50M),bandedefréquence:
1800MHz,2×60W
ZXSDRR8882S1800(B6C)2interfacesoptiques,débitmaximal:3Gbps,2T2R
(2émetteurs,2récepteurs),Gmonomode,bandede
fréquence:1800MHz,priseencharged’unelargeurde
banderadiode75M,2×60W
ZXSDRR8882S1700(B6A)2interfacesoptiques,débitmaximal:3Gbps,Lmonomode
ouU/Lbimode,bandedefréquence:1700MHz,L
monomode,2×60W,U/Lbimode2×50W
ZXSDRR8882S8100(B6B)2interfacesoptiques,débitmaximal:3Gbps,Lmonomode,
bandedefréquence:810MHz,2×60W
ZXSDRR8882S7200(B6A)2interfacesoptiques,débitmaximal:3GbpsLmonomode,
2T2R(2émetteurs,2récepteurs),bandedefréquence:720
M,2×60W
1-7
SJ-20110603090757-002|2015–05–10(R2.1)CondentieletpropriétédeZTE

ZXSDRR8882Descriptionduproduit
Note:
Dansletableauci-dessus,GreprésenteGSM,LreprésenteLTE,UreprésenteUMTSet
CreprésenteCDMA.
1.5Scénariosd'installation
LedispositifZXSDRR8882peutêtreinstallésuivantlesmodessuivants:contrelemur,
surunpylôneetsurunportique.
lInstallationcontrelemur
Ledispositifpeutêtreinstallécontrelemuràl'intérieurouàl'extérieur.
lInstallationsurunpylône
L’installationpeuts’effectuersuivantslesmodesci-après:Installationd’undispositif
ZXSDRR8882surunpylône,installationdedeuxdispositifsZXSDRR8882surun
pylône,installationdetroisdispositifsZXSDRR8882surunpylône,etinstallationde
quatredispositifsZXSDRR8882surunpylône.
lInstallationsurunportique
1-8
SJ-20110603090757-002|2015–05–10(R2.1)CondentieletpropriétédeZTE

Chapitre2
Architecturedusystème
Tabledesmatières
Sous-systèmematériel..............................................................................................2-1
Architecturelogicielle.................................................................................................2-2
2.1Sous-systèmematériel
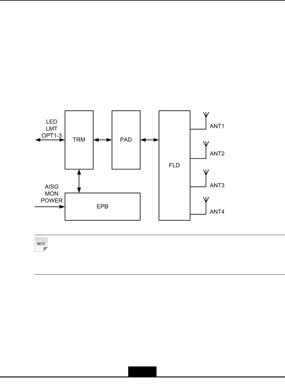
Figure2-1illustreleschémadeprincipedel’architecturematérielle.
Figure2-1StructurematérielledusystèmedudispositifZXSDRR8882(3interfaces
optiques)
Note:
LedispositifZXSDRR8882à2interfacesoptiquesnepossèdepasl’interfaceOPT3.
LedispositifZXSDRR8882secomposedesunitésTRM,PAD,FLDetEPB,etprenden
chargelesfonctionssuivantes:
Unitédetransmission/réception(TRM)
lTraitementdesignalRF(radiofréquence)desliaisonsdescendantesetmontantes.
lTraitementd’interfacesoptiques.
lTraitementd’horloge.
lLampestémoin.
2-1
SJ-20110603090757-002|2015–05–10(R2.1)CondentieletpropriétédeZTE

ZXSDRR8882Descriptionduproduit
lFournitured’interfacesdesurveillancedel’environnementextérieur.
lSurveillancelocaleouàdistance.
Amplicateurdepuissance(PAD)
lAmplielesignalRFdeliaisonsmontantesetdescendantesentréparl'unitéTRM,et
transmetcesignalàl'unitéFLD.
lAtraversl’amplicateuràfaiblebruit(LNA),amplielesignalémisparl'unitéFLDet
provenantdes4liaisons(ANT1,ANT2,ANT3,ANT4),etletransmetàl'unitéTRM.
lFournituneinterfacederétroactiondepré-distorsionàl'unitéTRM.
lFournituneinterfacededétectiondesondesstationnaires(détectiondepuissance
directe).
lFonctiondedéconnexiondecanalunique.
lFonctiondedétectiondelatempératureinternedumodule.
Filtreduplex(FLD)
lFonctiondeduplexagedusignaldeliaisonsdescendantesetmontantes.
lProtectioncontredessignauxparasitesdesliaisonsdescendantesandes’assurer
quelessignauxémisrépondentauxexigencesdusystèmeetdesnormes.
lProtectioncontrelessignauxd'interférencedebandepourlesliaisonsmontantes,
répondantauxexigencesdusystèmesurlebruit.
Unitédusous-systèmedeprotectiondecompatibilitéélectromagnétique(EPB)
lProtectionanti-foudrede–48V
lFiltredetensionde-48V
lProtectiond’interfaceAISG(Alimentationélectriquedel’interfaceAISG,signalRS
485bidirectionnelal'alternat).
lProtectiondecontactssecs.
lProtectiond’interfaceRS485desurveillance.
lFournitplusieursinterfacesexternestellesqueMON,AISG,etl’interface
d’alimentationenénergie.
2.2Architecturelogicielle
Figure2-2illustrel’architecturelogicielledudispositifZXSDRR8882.
2-2
SJ-20110603090757-002|2015–05–10(R2.1)CondentieletpropriétédeZTE

Chapitre2Architecturedusystème
Figure2-2Architecturelogicielle
LacoucheinférieurecomprendlesmodulesBSP ,DSP ,etFPGA.
lModuleBSP&OS:Permetd’initialiserlesystèmematérieletfournitdesinterfacespour
lespilotesetlesystèmed’exploitation.
lModuleDSP:Réalisel’interactiond’informationaveclemoduledel'unitécentrale,
lecontrôleetl’interactiondedonnéesaveclemoduleFPGA,l’obtentionetlamise
àjourdesparamètresdepré-distorsion,etdesfonctionsdedétectiond’erreurset
d’alarmes.
lModuleFPGA(moduledecircuitintégréprédiffuséprogrammable):Effectuele
contrôleetl’interactiondedonnéesaveclesmodulesBSPetDSP .
LemoduleOSS(sous-systèmedesupportd'opérations)estlacouchedesupportde
l'ensembledel’architecturelogicielle.Ilfournituneplate-formen’ayantpasderelation
aveclematérieletutiliséepourfairefonctionnerleslogicielsdusystème.LemoduleOSS
fournitdesfonctionsdebaselogicielletellesquelaplanication,l’horlogesystème,la
gestiondelamémoire,lacommunicationentremodules,lecontrôledesséquences,la
surveillance,lesalarmes,etlajournalisationdesdonnées.
LemoduleOAM(exploitationetmaintenance)prendenchargedesfonctionstellesque
lagestiondesversions,lagestiond’alarmes,lestestsdediagnostic,lagestiondes
congurations,lagestiondesoutils,lagestionsdesperformances,lagestiondusystème,
lagestiondesdonnéesdynamiques,etlagestiondelacommunication.
2-3
SJ-20110603090757-002|2015–05–10(R2.1)CondentieletpropriétédeZTE

ZXSDRR8882Descriptionduproduit
Cettepageestintentionnellementlaisséevide.
2-4
SJ-20110603090757-002|2015–05–10(R2.1)CondentieletpropriétédeZTE

Chapitre3
Exploitationetmaintenance
Tabledesmatières
Modesd’exploitationetmaintenance..........................................................................3-1
Fonctionsd’exploitationetdemaintenance................................................................3-2
3.1Modesd’exploitationetmaintenance
Exploitationetmaintenanceàdistance
L’exploitationetlamaintenancesontréaliséesenraccordantlesystèmeNetNumen™M3
degestionderéseauconçuparZTEauxunitésBSC(contrôleurdestationdebase),BBU
etRNC(contrôleurderéseauradio),etenraccordantledispositifZXSDRR8882aux
interfacesAbis/Iub/CPRI(interfaceradiocommunepublique).Cecirépondauxexigences
demaintenanceàdistance.Voirl’illustrationdanslaFigure3-1.
Figure3-1Modedemaintenanceàdistance( (
(enprenantGSM/CDMAcommeexemple) )
)
Enmodedemaintenanceàdistance,lesystèmedegestionderéseauetleséléments
deréseausontinterconnectésàtraversleprotocoleTCP/IP .Unsystèmedegestionde
réseaupeutassurerlamaintenancedeplusieursstationsdebase.
3-1
SJ-20110603090757-002|2015–05–10(R2.1)CondentieletpropriétédeZTE

ZXSDRR8882Descriptionduproduit
ModedemaintenanceparLMT(terminallocaldemaintenance)
Lemodedemaintenancelocaleparlebiaisd’unterminallocaldemaintenance(LMT)
s’effectueenraccordantuncâbleEthernetaudispositifZXSDRR8882,répondantaux
exigencesdemaintenancelocale.Voirl’illustrationdanslaFigure3-2.
Figure3-2Modedemaintenancelocale
Leterminallocaldemaintenanceestutilisépourlamaintenanced’unestationdebase.A
traversceterminal,onpeuteffectuerdesopérationsdebasetellesquelarequêtedela
puissance,ladiminutionoul’augmentationdelapuissance,etlecalibrage.
3.2Fonctionsd’exploitationetdemaintenance
Lesinterfacesd’utilisateursdusystèmeNetNumen™M3utilisentunestructure
topologique.T outeslesinformationsdesélémentsderéseaupeuventêtrevisualiséessur
l’interfaced’utilisateur.L’utilisateurpeutsélectionnerl'élémentderéseauqu’ilsouhaiterait
maintenir,visualiserlesdonnéesdétailléesdeperformance,lesinformationsd’alarmes
etlesdonnéesdescongurations.L’utilisateurpeutégalementeffectuerl’exploitationet
lamaintenancedecertainstypesd'élémentsderéseauàtraversleschématopologique.
Lesfonctionsprincipalessontlessuivantes:
lGestiondescongurations
Ajouter,supprimer,rechercheretmodierlesdonnéesdesressourcesphysiqueset
radio,vérierlaconsistancedesdonnéesetprendreenchargedescongurations
desdonnéesdynamiquesetstatiques.
lGestiondelasécurité
Garantirqueseulsdesutilisateursautoriséspeuventeffectuerdesopérations.
lGestiondesperformances
Effectuerl’analysedesperformances,lesuividusignaletlesuiviparinvocation.
lGestiondesversions
Fournirunmécanismedetéléchargementdulogicielpoureffectuerlamiseàjour
dulogicieldesélémentsderéseau.Atraverslesystèmedegestionderéseau,l'
utilisateurpeutvoirlesversionsdulogicieletdumatériel.
3-2
SJ-20110603090757-002|2015–05–10(R2.1)CondentieletpropriétédeZTE

Chapitre3Exploitationetmaintenance
lGestiondespannes
Lagestiondespannescomprendlagestiondesalarmes,lasurveillancecentralisée
del'étatdefonctionnementdelastationdebase,laréalisationdestestsdediagnostic.
Lagestiondespannesassureégalementlacollectedesinformationssurlespannes
descartesetliaisonsandepermettreaupersonneldemaintenanceetd’exploitation
d’analyserlesditesinformationsetréparerlespannesentempsréel.
3-3
SJ-20110603090757-002|2015–05–10(R2.1)CondentieletpropriétédeZTE

ZXSDRR8882Descriptionduproduit
Cettepageestintentionnellementlaisséevide.
3-4
SJ-20110603090757-002|2015–05–10(R2.1)CondentieletpropriétédeZTE

Chapitre4
Applicationsdemiseen
réseau
Tabledesmatières
Descriptiondemiseenréseau...................................................................................4-1
Miseenréseauenétoile............................................................................................4-1
Miseenréseauenchaîne..........................................................................................4-2
Miseenréseauenanneau.........................................................................................4-2
4.1Descriptiondemiseenréseau
Référez-vousauT ableau4-1pourladescriptiondelamiseenréseau.
Tableau4-1Descriptiondelamiseenréseau
Typedemiseen
réseau
GSMUMTSCDMALTE
Miseenréseau
enétoile
PriseenchargePriseenchargePriseenchargePriseencharge
Miseenréseau
enchaîne
Priseencharge
(niveau6)
Priseencharge
(niveau4)
Priseencharge
(niveau6)
Paspriseen
charge
4.2Miseenréseauenétoile
LaFigure4-1illustrelamiseenréseauenétoiledel'unitéBBUetdudispositifZXSDR
R8882.
4-1
SJ-20110603090757-002|2015–05–10(R2.1)CondentieletpropriétédeZTE

ZXSDRR8882Descriptionduproduit
Figure4-1Miseenréseauenétoile
4.3Miseenréseauenchaîne
LaFigure4-2illustrelamiseenréseauenchaînedel'unitéBBUetdudispositifZXSDR
R8882.
Figure4-2Miseenréseauenchaîne
4.4Miseenréseauenanneau
LaFigure4-3illustrelamiseenréseauenanneaudel'unitéBBUetdudispositifZXSDR
R8882.
Figure4-3Miseenréseauenanneau
4-2
SJ-20110603090757-002|2015–05–10(R2.1)CondentieletpropriétédeZTE

Chapitre4Applicationsdemiseenréseau
LorsqueledispositifZXSDRR8882estmunidetroisinterfacesoptiques,onpeut
effectuerunemiseencombinantunréseauenchaîneauréseauenanneau(connexion
encascade).LaFigure4-4illustreunemiseenréseaucombinantunréseauenanneau
etunréseauenchaîne.
Figure4-4Miseenréseauenanneau+réseauenchaîne(3interfacesoptiques)
4-3
SJ-20110603090757-002|2015–05–10(R2.1)CondentieletpropriétédeZTE

ZXSDRR8882Descriptionduproduit
Cettepageestintentionnellementlaisséevide.
4-4
SJ-20110603090757-002|2015–05–10(R2.1)CondentieletpropriétédeZTE

Chapitre5
Spécicationstechniques
Tabledesmatières
Paramètresphysiquesdel'unitéRRU........................................................................5-1
Spécicationssurlaperformanceradio......................................................................5-3
Spécicationssurlesinterfacesetlatransmission.....................................................5-4
5.1Paramètresphysiquesdel'unitéRRU
Référez-vousautableausuivantpourl’aspectexternedudispositifZXSDRR8882.
Aspectexternedudispositif
ElémentSpécications
Dimensions480mm×320mm×150mm(hauteur×largeur×profondeur)
Poids<23kg
CouleurBlanche
Alimentationetconsommationd'énergie
ElémentSpécications
Consommationmoyenne
d'énergieenmodeGSM
monomode
S44:310W(900MHz)/320W(1800MHz)
S66:295W(900MHz)/305W(1800MHz)
S66:355W(850MHz)/440W(1900MHz)
Consommationmoyenne
d'énergieenmodeUMTS
monomode(900MHz)
S1:140W
S2:165W
S3:185W
S11:210W
S22:265W
S33:310W
S1MIMO:210W
S2MIMO:265W
S3MIMO:315W
5-1
SJ-20110603090757-002|2015–05–10(R2.1)CondentieletpropriétédeZTE

ZXSDRR8882Descriptionduproduit
ElémentSpécications
Consommationmoyenne
d'énergieenmodeUMTS
monomode(2100MHz)
S1:130W
S2:150W
S3:180W
S11:200W
S22:215W
S33:265W
S1MIMO:170W
S2MIMO:215W
S3MIMO:270W
Consommationmoyenne
d'énergieenmodeCDMA
monomode
310W(850MHz)/320W(1900MHz)
Consommationmoyenne
d'énergieenmodeLTE
monomode
330W(1800MHz)
Tensionnominaled'entrée–48Vcc(-57V~-37Vcc)
Exigencesenvironnementales
ElémentSpécications
Températured’environnement
defonctionnement-40℃~+55℃
Humiditérelatived’environ-
nementdefonctionnement10%~100%
Températured’environnement
destockage-40℃~+70℃
Humiditérelatived’environ-
nementdestockage10%~100%
ConditionsdetransportSouslesconditions4K2/4Z5/4Z7/4B1/4C2/4S3/4M3,laduréedu
tempsdetransportnedoitpasdépasser180jours.
Fiabilité
ElémentSpécications
Disponibilité99,999689%
Tempsmoyenentredeux
pannessuccessives≥150000heures
TempsmoyenderéparationUnedemiheure
Duréed’interruptiondesser-
vicescauséeparunepanneInférieureà1,632minutes/année
5-2
SJ-20110603090757-002|2015–05–10(R2.1)CondentieletpropriétédeZTE

Chapitre5Spécicationstechniques
Chargeduvent
VitesseduventEnfaceDecôtéEnarrière
150KM/h422N197N422N
240KM/h1092N510N1092N
5.2Spécicationssurlaperformanceradio
Référez-vousautableausuivantpourlesspécicationsdelaperformanceradio.
Spécicationssurlacapacité
ElémentSpécications
CongurationenGSM
monomode2×6porteusesaumaximum
CongurationenUMTS
monomode2×4porteusesaumaximum
CongurationenCDMA
monomode2×8porteusesaumaximum
CongurationLTE
monomodeuneporteuse
CongurationenG/Ubi-
mode
2×4porteusepourGSM+2×1porteusesenmodeUMTS,ou2×2
porteusesenmodeGSM+2×2porteusesenmodeUMTS
CongurationenG/Lbi-
mode
2×4porteusesenmodeGSM+2×1porteusesenmodeLTE(10M),
ou2×2porteusesenmodeGSM+2×1porteusesenmodeLTE(20M)
CongurationenC/Lbi-
mode2×4porteusesenmodeCDMA+2×1porteusesenmodeLTE
CongurationenU/Lbi-
mode
lU/Lbimodeà2100MHz:2×2porteusesenmodeUMTS+LTEà
20MHz
lU/Lbimodeà1700MHz:2×2porteusesenmodeUMTS+LTEà
20MHz
SpécicationsRF(radiofréquence)
ElémentSpécications
Bandesdefréquence
defonctionnement
lGSM:850MHz/900MHz/1800MHz/1900MHz
lUMTS:850MHz/900MHz/1900MHz/2100MHz
lCDMA:850MHz/1900MHz
lLTE:800MHz/1800MHz/2600MHz/1700MHz/720MHz
5-3
SJ-20110603090757-002|2015–05–10(R2.1)CondentieletpropriétédeZTE

ZXSDRR8882Descriptionduproduit
ElémentSpécications
Puissanced'émission
lGSM(850MHz/900MHz/1800MHz):2×60W(modulation
gaussienneàdéphasageminimal)/2×40W(déplacementsde
phaseà8états).
lGSM(1900MHz):2×60W(modulationgaussienneàdéphasage
minimal)/2×32W(déplacementsdephaseà8états)
lUMTS:2×60W(900MHz/2100MHz/850MHz),2×60W
(1900MHz)
lLTE:2×60W(S1700)/2×60W(S1800)/2×40W(S8000)
/2×30W(S2600)/2×60W(S7200)
Sensibilitéderéception
lGSM:-113,5dBm(850MHz/900MHz/1800MHz)
lUMTS(uneantenne):-125,8dBm
lUMTS(antennedouble):-128,5dBm
lCDMA:–115dBm
lLTE(uneantenne):-106dBm
lLTEm(antennedouble):-108,6dBm
5.3Spécicationssurlesinterfacesetlatransmission
Référez-vousauTableau5-1pourlesspécicationssurlesinterfacesetlatransmission.
Tableau5-1Spécicationssurlesinterfacesetlatransmission
ElémentSpécications
Interfacesoptiques
entrel'unitédebande
debase(BBU)etl'unité
radioàdistance(RRU)
ZXSDRR8882S9000(C)
l3interfacesoptiques
lInterfaceOPT1pourlaconnexionencascadeavecl'unitéBBU/
InterfaceOPT2pourlaconnexionencascadeavecl'unitéRRU
lInterfaceOPT3pourlaconnexionencascaded'unitésRRU.
ZXSDRR8882S1800(C)
l3interfacesoptiques
lInterfaceOPT1pourlaconnexionencascadeavecl'unitéBBU/
InterfaceOPT2pourlaconnexionencascadeavecl'unitéRRU
lInterfaceOPT3pourlaconnexionencascaded'unitésRRU.
ZXSDRR8882S9000(B)
l2interfacesoptiques
lInterfaceOPT1pourlaconnexionencascadeavecl'unitéBBU/
InterfaceOPT2pourlaconnexionencascadeavecl'unitéRRU
ZXSDRR8882S8500(B)
l2interfacesoptiques
lInterfaceOPT1pourlaconnexionencascadeavecl'unitéBBU/
InterfaceOPT2pourlaconnexionencascadeavecl'unitéRRU
ZXSDRR8882S8000(B)
5-4
SJ-20110603090757-002|2015–05–10(R2.1)CondentieletpropriétédeZTE

Chapitre5Spécicationstechniques
ElémentSpécications
l2interfacesoptiques
lInterfaceOPT1pourlaconnexionencascadeavecl'unitéBBU/
InterfaceOPT2pourlaconnexionencascadeavecl'unitéRRU
ZXSDRR8882S2600(B)
l2interfacesoptiques
lInterfaceOPT1pourlaconnexionencascadeavecl'unitéBBU/
InterfaceOPT2pourlaconnexionencascadeavecl'unitéRRU
ZXSDRR8882S2100(B)
l2interfacesoptiques
lInterfaceOPT1pourlaconnexionencascadeavecl'unitéBBU/
InterfaceOPT2pourlaconnexionencascadeavecl'unitéRRU
ZXSDRR8882S1900(B)
l2interfacesoptiques
lInterfaceOPT1pourlaconnexionencascadeavecl'unitéBBU/
InterfaceOPT2pourlaconnexionencascadeavecl'unitéRRU
ZXSDRR8882S1800(B)
l2interfacesoptiques
lInterfaceOPT1pourlaconnexionencascadeavecl'unitéBBU/
InterfaceOPT2pourlaconnexionencascadeavecl'unitéRRU
ZXSDRR8882S1700(B)
l2interfacesoptiques
lInterfaceOPT1pourlaconnexionencascadeavecl'unitéBBU/
InterfaceOPT2pourlaconnexionencascadeavecl'unitéRRU
InterfaceMONUneinterfaceestfournie.Connectel'équipementdesurveillanceexterne,
fournituneinterfaceRS485etdeuxentréesdecontactssecs.
InterfaceEthernetUneinterfaceestfournie.Elleestutiliséepourlamaintenancelocale.
Interfacedecâble
d’alimentationde
l’antenne
4interfacessontfournies.Ellespermettentdeconnecterlescâbles
d’alimentationdel’antenne
InterfaceAISGUneinterfaceestfournie.Elleestutiliséepourleréglagedel’inclinaison
del’antenne
Interfaced’alimentation
encourantélectrique
Uneinterfaceestfournie.Ellefournitl’entréed’alimentationélectrique
externe.
InterfacePEde
protectiondemiseà
laterre
Uneinterfaceestfournie.Ellepermetlamiselamiseàlaterredudispositif.
5-5
SJ-20110603090757-002|2015–05–10(R2.1)CondentieletpropriétédeZTE

ZXSDRR8882Descriptionduproduit
Cettepageestintentionnellementlaisséevide.
5-6
SJ-20110603090757-002|2015–05–10(R2.1)CondentieletpropriétédeZTE

Figures
Figure1-1EmplacementdudispositifZXSDRR8882àl'intérieurduréseau
radio.......................................................................................................1-1
Figure2-1StructurematérielledusystèmedudispositifZXSDRR8882(3
interfacesoptiques)................................................................................2-1
Figure2-2Architecturelogicielle...............................................................................2-3
Figure3-1Modedemaintenanceàdistance(enprenantGSM/CDMAcomme
exemple)......................................................................................3-1
Figure3-2Modedemaintenancelocale...................................................................3-2
Figure4-1Miseenréseauenétoile..........................................................................4-2
Figure4-2Miseenréseauenchaîne........................................................................4-2
Figure4-3Miseenréseauenanneau.......................................................................4-2
Figure4-4Miseenréseauenanneau+réseauenchaîne(3interfaces
optiques).................................................................................................4-3
I
SJ-20110603090757-002|2015–05–10(R2.1)ZTEProprietaryandCondential

Figures
Thispageintentionallyleftblank.
II
SJ-20110603090757-002|2015–05–10(R2.1)ZTEProprietaryandCondential

Tableaux
Tableau1-1Spécicationsduproduit........................................................................1-6
Tableau4-1Descriptiondelamiseenréseau...........................................................4-1
Tableau5-1Spécicationssurlesinterfacesetlatransmission................................5-4
III
SJ-20110603090757-002|2015–05–10(R2.1)ZTEProprietaryandCondential