Zebra Technologies P430I-MIFARE THERMAL CARD PRINTER User Manual P430i UM
Zebra Technologies Corporation THERMAL CARD PRINTER P430i UM
Contents
- 1. USERS MANUAL 1
- 2. USERS MANUAL 2
- 3. USERS MANUAL 3
USERS MANUAL 1

980470-001 Rev. A
User’s Manual
Zebra® P430i
Card Printer

Dual-Sided Color

980470-001 Rev. B P430i User’s Manual i
Foreword
This manual contains installation and operation information for the Zebra P430i Card Printers manufactured by
Zebra Technologies Corporation, Camarillo, California.
Return Materials Authorization
Before returning any equipment to Zebra Technologies Corporation for in-warranty or out-of-warranty repair,
contact Repair Administration for a Return Materials Authorization (RMA) number. Repack the equipment in
the original packing material and mark the RMA number clearly on the outside. Ship the equipment, freight
prepaid, to the address listed below:
• For USA, Latin America, and Asia / Pacific:
Zebra Technologies Corporation
Zebra Card Printer Solutions
1001 Flynn Road
Camarillo, CA. 93012-8706.USA
Phone: +1 (805) 578-5001
FAX: +1 (805) 579-1808
• For Europe and Middle East:
Zebra Technologies Corporation
Zebra Card Printer Solutions
Pittman Way, Fulwood
Preston, PR2 9ZD
Lancashire, U.K.
Phone: +44 - 1 - 772 - 797555
FAX: +44 - 1 - 772 - 693000

ii P430i User’s Manual 980470-001 Rev. B
Foreword
Copyright Notice
© 2006 ZIH Corp.
This document contains information proprietary to Zebra Technologies Corporation. This document and the
information contained within is Copyrighted by Zebra Technologies Corporation and may not be duplicated in
full or in part by any person without written approval from Zebra. While every effort has been made to keep the
information contained within current and accurate as of the date of publication, no guarantee is given that the
document is error-free or that it is accurate with regard to any specification. Zebra reserves the right to make
changes, for the purpose of product improvement, at any time.
Trademarks
P430i is a trademark and Zebra is a registered trademark of Zebra Technologies Corporation. Windows and
MS.DOS are registered trademarks of Microsoft Corp. All other trademarks or registered trademarks are marks
of their respective holders.
Product Disposal
Product Disposal Information • Do not dispose of this product in unsorted municipal
waste. This product is recyclable, and should be recycled according to your local
standards. For more information, please see our web site at:
http://www.zebra.com/environment

Foreword
980470-001 Rev. B P430i User’s Manual iii
Declarations of Conformity
For a formal certificate, please contact the Compliance Office at Zebra’s Camarillo facility.
EUROPE: Norway Only: This product is also designed for IT power system with phase to phase voltage
230V. Earth grounding is via the polarized, 3-wire power cord.
FI: “Laite on liitettävä suojamaadoitus koskettimilla varustettuun pistorasiaan”
SE: “Apparaten skall anslutas till jordat uttag”
NO: “Apparatet må tilkoples jordet stikkontakt”
FCC Regulations
Model P430i has been tested and found to comply with the limits for a Class A digital device, pursuant to Part
15 of the FCC Rules. These limits are designed to provide reasonable protection against harmful interference
when the equipment is operated in a commercial environment. This equipment generates, uses, and can radiate
radio frequency energy and, if not installed and operated in accordance with the P430i User’s Manual, may
cause harmful interference to radio communications. Operation of this equipment in a residential area is likely
to cause harmful interference in which case the user will be required to correct the interference at his own
expense.
Pursuant to Part 15.21 of the FCC Rules, any changes or modifications to this equipment not expressly
approved by Zebra may cause harmful interference and void the FCC authorization to operate this equipment.
FCC Radiation Exposure Statement (applicable to 15.247 device only)
This equipment complies with FCC radiation exposure limits set forth for an uncontrolled environment. This
equipment should be installed and operated with minimum 20 cm between the radiator and your body. This
transmitter must not be collocated or operating in conjunction with any other antenna or transmitter unless
authorized to do so by the FCC.
Industry Canada Notice
This device complies with Industry Canada ICES-003 class A requirements.
Cet equipement est conforme a l’ICES-003 classe A de la norm Industrielle Canadian.
89/336/EEC
modified by
92/31/EEC and
93/68/EEC
EMC Directive EN 55022 (1998) RF Emissions control
EMC Directive EN 301489-3 V1.4.1 RF Emissions and Immunity for radio
equipment
EMC Directive EN55024 (2001) Immunity to Electro-Magnetic
Disturbances
73/23/EEC modified
by 93/68/EEC
Low voltage
Directive EN 60950-1 (2001) Product safety
1999/5/CE R&TTE Directive EN300330-2 V1.1.1 Radio Frequency Interferences

iv P430i User’s Manual 980470-001 Rev. B
Foreword
P430i Printer Model
The Zebra Product Number tells a story:
Here is a quick review of the Zebra Card Printer Series numbering and lettering system to help you.
Model numbers include identifiers that specify options using the following lettering conventions:
Icons
Throughout this manual, different icons highlight important information, as follows:
Part Number Description
P 4 3 0 i - _ _ _ _ _ - _ _ _ Base Printer
P430i Color Card Printer
_ _ _ _ _ - 0 _ _ _ _ - _ _ _
_ _ _ _ _ - B _ _ _ _ - _ _ _
_ _ _ _ _ - C _ _ _ _ - _ _ _
_ _ _ _ _ - D _ _ _ _ - _ _ _
_ _ _ _ _ - E _ _ _ _ - _ _ _
_ _ _ _ _ - F _ _ _ _ - _ _ _
_ _ _ _ _ - H _ _ _ _ - _ _ _
Smart Card Options
None
Contact Encoder
Contact encoder & HID iCLASS
Contact encoder & MIFARE contactless
Contact station
HID iCLASS
MIFARE contactless
_ _ _ _ _ - _ 0 _ _ _ - _ _ _
_ _ _ _ _ - _ M _ _ _ - _ _ _
Magnetic Encoder
None
Yes (select defaults below)
_ _ _ _ _ - _ _ 0 _ _ - _ _ _
_ _ _ _ _ - _ _ 1 _ _ - _ _ _
_ _ _ _ _ - _ _ 3 _ _ - _ _ _
Magnetic Encoder Defaults
None
Stripe Down, HiCo
Stripe Up, HiCo
_ _ _ _ _ - _ _ _ 0 _ - _ _ _
Memory Expansion
None
_ _ _ _ _ - _ _ _ _ A - _ _ _
_ _ _ _ _ - _ _ _ _ C - _ _ _
Interface
USB Only
USB and Ethernet
_ _ _ _ _ - _ _ _ _ _ - I _ _
_ _ _ _ _ - _ _ _ _ _ - U _ _
Power Cords
U. S. and Europe
U. K. and Australia
_ _ _ _ _ - _ _ _ _ _ - _ D 0
Windows Drivers and User Documentation / Training CD
Windows Drivers and User Documentation / Training
included on one CD (Software & Documentation Package)
which contains Multi-language documentation

Foreword
980470-001 Rev. B P430i User’s Manual v
Note • Indicates information that emphasizes or supplements important points of the main
text.
Important • Advises you of information that is essential to complete a task, or points out the
importance of specific information in the text.
Provides an example or scenario to demonstrate or clarify a section of text.
Electrostatic Discharge Caution • Warns you of the potential for electrostatic
discharge.
Electric Shock Caution • Warns you of a potential electric shock situation.
Caution • Warns you of a situation where excessive heat could cause a burn.
Caution • Advises you that failure to take or avoid a specific action could result in
physical harm to you, or could result in physical damage to the hardware.

vi P430i User’s Manual 980470-001 Rev. B
Foreword
Dual-Sided Color

980470-001 Rev. A P430i User’s Manual vii
Table of Contents
1 • Introduction . . . . . . . . . . . . . . . . . . . . . . . . . . . . . . . . . . . . . . . . . . . . . . . . . . . . 1
Printer Features . . . . . . . . . . . . . . . . . . . . . . . . . . . . . . . . . . . . . . . . . . . . . . . . . . . . . . . . . 1
Controls, Connectors, and Indicators . . . . . . . . . . . . . . . . . . . . . . . . . . . . . . . . . . . . . . . . . 2
LCD Panel . . . . . . . . . . . . . . . . . . . . . . . . . . . . . . . . . . . . . . . . . . . . . . . . . . . . . . . . . . 3
2 • Installation and Setup . . . . . . . . . . . . . . . . . . . . . . . . . . . . . . . . . . . . . . . . . . . . 5
General Information . . . . . . . . . . . . . . . . . . . . . . . . . . . . . . . . . . . . . . . . . . . . . . . . . . . . . . 5
Unpacking the Printer . . . . . . . . . . . . . . . . . . . . . . . . . . . . . . . . . . . . . . . . . . . . . . . . . . . . . 6
Installing the Print Driver Software and Setting Driver Options. . . . . . . . . . . . . . . . . . . . . 10
Installing the P430i Print Driver . . . . . . . . . . . . . . . . . . . . . . . . . . . . . . . . . . . . . . . . . 10
Loading a Ribbon . . . . . . . . . . . . . . . . . . . . . . . . . . . . . . . . . . . . . . . . . . . . . . . . . . . . . . . .11
Installing the Card Cleaning Cartridge . . . . . . . . . . . . . . . . . . . . . . . . . . . . . . . . . . . . . . . 14
Setting the Card Thickness Control . . . . . . . . . . . . . . . . . . . . . . . . . . . . . . . . . . . . . . . . . 16
Loading Cards. . . . . . . . . . . . . . . . . . . . . . . . . . . . . . . . . . . . . . . . . . . . . . . . . . . . . . . . . . 18
Card Output Hopper . . . . . . . . . . . . . . . . . . . . . . . . . . . . . . . . . . . . . . . . . . . . . . . . . . . . . 20
Connecting the Printer to your Computer . . . . . . . . . . . . . . . . . . . . . . . . . . . . . . . . . . . . . 21
Connecting Power. . . . . . . . . . . . . . . . . . . . . . . . . . . . . . . . . . . . . . . . . . . . . . . . . . . . . . . 22
Printing a Test Card . . . . . . . . . . . . . . . . . . . . . . . . . . . . . . . . . . . . . . . . . . . . . . . . . . . . . 23
Packing the P430i Printer for Shipment . . . . . . . . . . . . . . . . . . . . . . . . . . . . . . . . . . . . . . 23
3 • Printing a Card . . . . . . . . . . . . . . . . . . . . . . . . . . . . . . . . . . . . . . . . . . . . . . . . . 25
Setting Printer Properties . . . . . . . . . . . . . . . . . . . . . . . . . . . . . . . . . . . . . . . . . . . . . . . . . 25
Printing a Sample Card. . . . . . . . . . . . . . . . . . . . . . . . . . . . . . . . . . . . . . . . . . . . . . . . . . . 26
Removing Rejected Cards . . . . . . . . . . . . . . . . . . . . . . . . . . . . . . . . . . . . . . . . . . . . . . . . 27
Feeding One Card at a Time. . . . . . . . . . . . . . . . . . . . . . . . . . . . . . . . . . . . . . . . . . . . . . . 28

Table of Contents
viii P430i User’s Manual 980470-001 Rev. A
4 • Cleaning . . . . . . . . . . . . . . . . . . . . . . . . . . . . . . . . . . . . . . . . . . . . . . . . . . . . . . 29
Cleaning the Printer . . . . . . . . . . . . . . . . . . . . . . . . . . . . . . . . . . . . . . . . . . . . . . . . . . . . . 29
When to Clean . . . . . . . . . . . . . . . . . . . . . . . . . . . . . . . . . . . . . . . . . . . . . . . . . . . . . . 29
How to Clean . . . . . . . . . . . . . . . . . . . . . . . . . . . . . . . . . . . . . . . . . . . . . . . . . . . . . . . 30
Cleaning the Print Head . . . . . . . . . . . . . . . . . . . . . . . . . . . . . . . . . . . . . . . . . . . . . . . . . . 31
Card Cleaning Cartridge . . . . . . . . . . . . . . . . . . . . . . . . . . . . . . . . . . . . . . . . . . . . . . . . . . 32
When to Replace the Cleaning Roller. . . . . . . . . . . . . . . . . . . . . . . . . . . . . . . . . . . . . 32
How To Replace the Cleaning Roller . . . . . . . . . . . . . . . . . . . . . . . . . . . . . . . . . . . . . 32
5 • Troubleshooting . . . . . . . . . . . . . . . . . . . . . . . . . . . . . . . . . . . . . . . . . . . . . . . 35
Print Quality Issues . . . . . . . . . . . . . . . . . . . . . . . . . . . . . . . . . . . . . . . . . . . . . . . . . . . . . . 37
Troubleshooting the Ethernet Connection and Adapter . . . . . . . . . . . . . . . . . . . . . . . . . . 41
Resetting to Factory Defaults . . . . . . . . . . . . . . . . . . . . . . . . . . . . . . . . . . . . . . . . . . . 41
Ethernet Adapter Status Indicator. . . . . . . . . . . . . . . . . . . . . . . . . . . . . . . . . . . . . . . . 41
Network Status/Activity Indicator . . . . . . . . . . . . . . . . . . . . . . . . . . . . . . . . . . . . . . . . 42
6 • Technical Specifications . . . . . . . . . . . . . . . . . . . . . . . . . . . . . . . . . . . . . . . . . 43
General Specifications . . . . . . . . . . . . . . . . . . . . . . . . . . . . . . . . . . . . . . . . . . . . . . . . . . . 43
Ribbon Specifications . . . . . . . . . . . . . . . . . . . . . . . . . . . . . . . . . . . . . . . . . . . . . . . . . . . . 43
Card Specifications . . . . . . . . . . . . . . . . . . . . . . . . . . . . . . . . . . . . . . . . . . . . . . . . . . . . . . 44
Bar Codes . . . . . . . . . . . . . . . . . . . . . . . . . . . . . . . . . . . . . . . . . . . . . . . . . . . . . . . . . . . . . 44
Fonts . . . . . . . . . . . . . . . . . . . . . . . . . . . . . . . . . . . . . . . . . . . . . . . . . . . . . . . . . . . . . . . . . 44
Card Dimensions . . . . . . . . . . . . . . . . . . . . . . . . . . . . . . . . . . . . . . . . . . . . . . . . . . . . . . . 44
Bi-Directional Communications Interfaces . . . . . . . . . . . . . . . . . . . . . . . . . . . . . . . . . . . . 45
Mechanical Specifications. . . . . . . . . . . . . . . . . . . . . . . . . . . . . . . . . . . . . . . . . . . . . . . . . 45
Electrical . . . . . . . . . . . . . . . . . . . . . . . . . . . . . . . . . . . . . . . . . . . . . . . . . . . . . . . . . . . . . . 45
Environmental . . . . . . . . . . . . . . . . . . . . . . . . . . . . . . . . . . . . . . . . . . . . . . . . . . . . . . . . . . 46
Options . . . . . . . . . . . . . . . . . . . . . . . . . . . . . . . . . . . . . . . . . . . . . . . . . . . . . . . . . . . . . . . 46
Introduction . . . . . . . . . . . . . . . . . . . . . . . . . . . . . . . . . . . . . . . . . . . . . . . . . . . . . . . . . . . . 47
Media Loading Orientation . . . . . . . . . . . . . . . . . . . . . . . . . . . . . . . . . . . . . . . . . . . . . . . . 47
• Magnetic Card Stripe Encoder . . . . . . . . . . . . . . . . . . . . . . . . . . . . . . . . . . . . . 47
Sample Encoding Program. . . . . . . . . . . . . . . . . . . . . . . . . . . . . . . . . . . . . . . . . . . . . . . . 48
Magnetic Encoder Cleaning . . . . . . . . . . . . . . . . . . . . . . . . . . . . . . . . . . . . . . . . . . . . . . . 48
When to Clean . . . . . . . . . . . . . . . . . . . . . . . . . . . . . . . . . . . . . . . . . . . . . . . . . . . . . . 48
How to Clean . . . . . . . . . . . . . . . . . . . . . . . . . . . . . . . . . . . . . . . . . . . . . . . . . . . . . . . 48
ISO Standard Encoding . . . . . . . . . . . . . . . . . . . . . . . . . . . . . . . . . . . . . . . . . . . . . . . . . . 49
Introduction . . . . . . . . . . . . . . . . . . . . . . . . . . . . . . . . . . . . . . . . . . . . . . . . . . . . . . . . . . . . 51
Media Loading Orientation . . . . . . . . . . . . . . . . . . . . . . . . . . . . . . . . . . . . . . . . . . . . . . . . 51

Table of Contents
980470-001 Rev. A P430i User’s Manual ix
• Smart Card Contact Station . . . . . . . . . . . . . . . . . . . . . . . . . . . . . . . . . . . . . . . 51
Smart Card Contact Station Interface . . . . . . . . . . . . . . . . . . . . . . . . . . . . . . . . . . . . . . . . 52
Printer Sharing . . . . . . . . . . . . . . . . . . . . . . . . . . . . . . . . . . . . . . . . . . . . . . . . . . . . . . . . . 53
• Connecting to a Network . . . . . . . . . . . . . . . . . . . . . . . . . . . . . . . . . . . . . . . . . 53
External Print Server. . . . . . . . . . . . . . . . . . . . . . . . . . . . . . . . . . . . . . . . . . . . . . . . . . . . . 54
Internal Print Server . . . . . . . . . . . . . . . . . . . . . . . . . . . . . . . . . . . . . . . . . . . . . . . . . . . . . 54
Sales and Support Locations . . . . . . . . . . . . . . . . . . . . . . . . . . . . . . . . . . . . . . . . . . . . . . 55
• Worldwide Sales & Support . . . . . . . . . . . . . . . . . . . . . . . . . . . . . . . . . . . . . . . 55
Corporate Headquarters . . . . . . . . . . . . . . . . . . . . . . . . . . . . . . . . . . . . . . . . . . . . . . . . . . 56
Website . . . . . . . . . . . . . . . . . . . . . . . . . . . . . . . . . . . . . . . . . . . . . . . . . . . . . . . . . . . . . . . 56

x P430i User’s Manual 980470-001 Rev. A
Table of Contents
Dual-Sided Color

980470-001 Rev. A P430i User’s Manual 1
1
Introduction
Thank you for choosing the Zebra P430i Card Printer. This manual guides you to efficient start up and operation
of your new Card Printer.
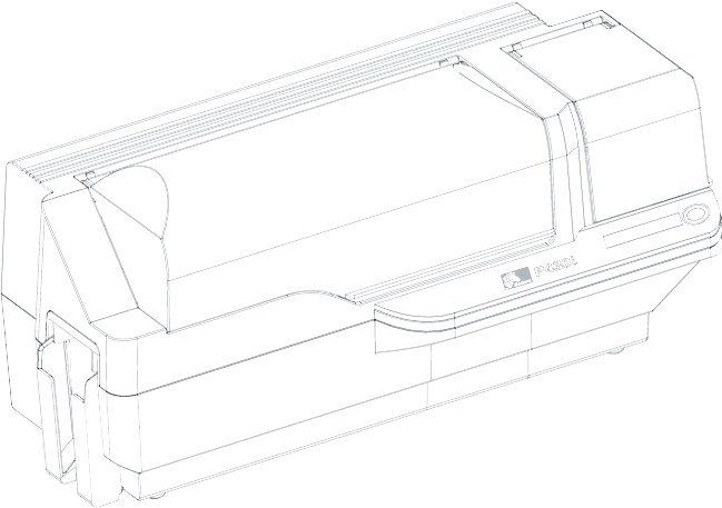
Printer Features
The following shows the main functional features found on your P430i Printer.
Dual-Sided Color
Panel
Button
Print
Head
(Optional)
Smart Card
Contact Station
Output
Hopper
(shown in
open
position)
Card
Feeder
Cover
(shown
open)
Card
Thickness
Control
Card
Cleaning
Cartridge
LCD
Display
Panel
Print Head
Carriage Latch
Print Head Carriage
(shown in open
position)
Main
Lid(shown
(Optional)
Magnetic
Encoding
Station
Ribbon
Supply
Spindle
Ribbon
Tak e-U p
Spindle
Card Flipper
Reject Bin
(Access Door shown open)

2 P430i User’s Manual 980470-001 Rev. A
Introduction
Controls, Connectors, and Indicators
Controls, Connectors, and Indicators
Your P430i Printer has an LCD Display Panel and a Panel Button on the front and a power connector, power
switch, and interface connector(s) on the rear panel.
Dual-Sided Color
LCD Display
Panel
Panel Button
Power
Switch
Power
Connector
Network
Status /
Activity
LED *
Ethernet
Adapter
Status
LED *
10/100base-T
Connector *
Ethernet Switch *
USB Connector
* These
are on the
optional
Ethernet
Adapter.
Optional DB-9
Connector location
for Smart Card
Contact Station

Introduction
Controls, Connectors, and Indicators
980470-001 Rev. A P430i User’s Manual 3
LCD Panel
The LCD Panel can display the following messages:
Message Mode
Operational
Initializing Scrolling
SELF TEST Scrolling
READY Fixed
DOWNLOADING DATA Fixed
PRINTING MONO Fixed
MAG ENCODING Fixed
CONTACT ENCODING Fixed
CONTACTLESS ENCODING Scrolling
PRINTING CYAN Fixed
PRINTING YELLOW Fixed
PRINTING MAGENTA Fixed
PRINTING BLACK Fixed
PRINTING OVERLAY Fixed
DOWNLOADING FW Fixed
Warnings (Printer will still Operate)
CLEAN PRINTER Scrolling
ENCODING ERROR (printing stops) Blinking
CONTACT ERROR Blinking
CONTACTLESS ERROR Scrolling
INVALID MAGNETIC DATA (encoding stops) Scrolling
INVALID CONTACT DATA (encoding stops) Scrolling
INVALID CONTACTLESS DATA (encoding stops) Scrolling
EMPTY FEEDER & PRESS BUTTON Scrolling
Cleaning
CLEANING PRINTER Blinking
REMOVE RIBBON THEN CLOSE HEAD Scrolling
EMPTY FEEDER & PRESS BUTTON Scrolling
LOAD CLEANING CARD INTO FEEDER Scrolling
PRESS BUTTON TO CONTINUE Scrolling
FEED LONG CLEANING CARD IN EXIT Scrolling

4 P430i User’s Manual 980470-001 Rev. A
Introduction
Controls, Connectors, and Indicators
CLEANING PRINTER Blinking
Errors (Printer will not operate)
BROKEN RIBBON Blinking
OUT OF RIBBON Blinking
MECHANICAL ERROR Blinking
OUT OF CARDS Blinking
PRINT HEAD OPEN Blinking
CHECK RIBBON Blinking
REJECT BOX FULL Blinking
LID OPEN Fixed
COMMAND ERROR Blinking
Message Mode

980470-001 Rev. A P430i User’s Manual 5
2
Installation and Setup
General Information
This section will guide you through the installation and setup of your P430i Card Printer. This consists of the
following procedures, which should be performed in the order presented.
• Unpacking the Printer
• Installing the Print Driver Software and Setting Driver Options
• Loading a Ribbon
• Installing the Card Cleaning Cartridge
• Setting the Card Thickness Control
• Loading Cards
• Connecting the Printer to your Computer
• Connecting Power
• Printing a Test Card to verify printer operation
The procedure to be followed for Packing the Printer for Shipment is given at the end of this section.
The printer should be placed in a location that allows easy access to all sides. The printer should never be
operated while resting on its side or upside down.

6 P430i User’s Manual 980470-001 Rev. A
Installation and Setup
Unpacking the Printer
Unpacking the Printer
Your P4 30i Card Printer ships in a carton and protective anti-static bag. Keep all packaging material in case you
need to move or re-ship the printer.
1. Inspect the shipping container to ensure that no damage has occurred during shipment. If any damage is
apparent, file a claim with the shipper.
2. Unlatch and remove the handles on either end of the shipping container, as shown in the figure below.
3. (See the figure on the next page as you perform the following steps.) Lift the upper part of the shipping
container off of the lower part (which will still hold the printer and its packing material).
4. Remove the packing material around the top of the printer.
Electric Shock Caution • Limit AC power supplied to the P430i Printer to 100 – 230
volts, 60 ~ 50 Hertz. Limit excess current draw to 16 amps or less, using an associated
circuit breaker or other such device. Never operate the printer in a location where
operator, computer, or printer can get wet. Personal injury could result. The printer must
be connected to an earthed electrical power source and properly protected against
electrical surges and grounding faults; the electrical reliability of the printer is based on
the reliability of the mains power source and with the earth connection.
The printer’s power supply is an internal unit that can only be serviced or replaced by
trained and authorized personnel.
U
P

Installation and Setup
Unpacking the Printer
980470-001 Rev. A P430i User’s Manual 7
5. Lift the printer out of the carton by holding it with both hands.
6. Please ensure that you have a clean and nearly dust free environment for proper operation and storage of the
printer.
7. Make sure the following items are included with your P430i printer:

8 P430i User’s Manual 980470-001 Rev. A
Installation and Setup
Unpacking the Printer
If any items are missing, please contact your dealer. To reorder, please refer to Appendix D of this
manual.
8. Remove packing tape securing the printer’s Main Cover and Card Feeder Cover.
9. Your P430i Printer ships with warning tape where the Card Cleaning Cartridge will be installed, and a pad
that protects the print head from possible damage in shipment. To remove the tape and pad, follow the
following steps:
a. Open the printer’s main lid by lifting at its lower front lip.
Power Cables (2)
Cleaning Kit
CD-ROM with Driver Wizard
and User’s Manual
Card Cleaning Cartridge
USB Cable
Dual-Sided Color