Exalt Wireless 105P25M 5 GHz Point to Point Fixed Link Radio Module User Manual r manual LMAfinal
Exalt Communications Inc. 5 GHz Point to Point Fixed Link Radio Module r manual LMAfinal
Contents
R series user manual

r-Series
Digital Microwave Radios
Installation and Management
Manual
Includes Models:
EX-4.9r, EX-4.9r-c, EX-4.9r-x, EX-4.9r-xc
EX-5r, EX-5r-c, EX-5r-x, EX-5r-xc
Part Number: 50000007
Date: 2007-06-28

Exalt Communications Inc.
r-series Installation and Management Manual
5000007 (ETS) ii
2007-05-31 (draft)
Legal Notice
The information contained herein is the property of Exalt Communications, Inc. (“Exalt”) and is
supplied without liability for errors or omissions. No part of this document may be reproduced,
in any form, except as authorized by contract or other written permission from the owner.
Any brand names and product names included in this manual are trademarks, registered
trademarks, or trade names of their respective holders.
The contents of this document are current as of the date of publication. Exalt reserves the right to
change the contents without prior notice.
The publication of information in this document does not imply freedom from patent or other
rights of Exalt or others.
© 2007 Exalt Communications Inc. All rights reserved.
The Exalt logo is a trademark of Exalt Communications, Inc.
Open-Source License Information
In addition to proprietary software/firmware, which is the sole intellectual property of Exalt, the
EX-5r Digital Microwave Radios make use of public (open-source) software/firmware within the
terms of use of their respective shared license agreements. Exalt will supply copies of any of this
code, within the terms of their individual licensing agreements, upon request.
Open-Source Code License Agreement Website
Linux Operating System GNU GPL Version 2 www.gnu.org
BusyBox CLI GNU GPL Version 2 www.gnu.org;
www.busybox.net
GoAhead Web Server Copyright (c) 2003 GoAhead Software, Inc.
All Rights Reserved. www.goahead.com
U-boot Boot Code GNU GPL Version 2 www.gnu.org
www.sourceforge.net
Net-SNMP (see Copyright Notices on page 84) www.sourceforge.net

Exalt Communications Inc.
r-series Installation and Management Manual
5000007 (ETS) iii
2007-05-31 (draft)
About this Document
This manual provides a complete description of the EX-5r family of Digital Microwave Radios
and related software. This manual provides planners, engineers, installers, system administrators,
and technicians general and specific information related to the planning, installation, operation,
management, and maintenance of these devices.
Revision History
Date Detail
2006-09-18 EX-5r release 1.0.0
2006-12-20 Draft for ETSI/CE
2007-02-12 Draft for 4.9r series
2007-04-15 Draft for WEEE, RoHS, DFS
2007-06-11 Draft for RLK, EU, Regulatory Compliance Appendix
2007-06-25 Update for DFS, removed Proxim antenna

Exalt Communications Inc.
r-series Installation and Management Manual
5000007 (ETS) iv
2007-05-31 (draft)
General Compliance and Safety
The usage of radio transmission devices is subject to specific regulatory requirements governed
by regional legislation. In most cases, the specific device must be authorized for use in a given
country and must be installed and adjusted in accordance with specific radio-frequency settings
and in a manner that has been authorized specific to the device itself in accordance with the
specific location of the device. Some users may be completely or partially restricted from use of
the device. Please consult local governmental agency/agencies for regulatory requirements
before use, or contact Exalt or your Exalt authorized dealer for assistance.
Do not modify this device in any way without the express written consent of Exalt. Modification
voids the manufacturer warranty, and may also be illegal in accordance to government
regulations. In addition, there are no user-serviceable parts or assemblies inside the product
housing. There may also be voltages, signals, and mechanisms within the device that could be
harmful to human safety.
The mounting of this device and associated peripherals and connections (inclusive of antenna
mast, antenna, cabling, egress, lightning protection devices, grounding, power, and so on) may
be subject to regional requirements for health and human safety. A qualified professional
installer and an electrician are highly recommended, and may be required by law.
Exalt cannot warranty the device or be found liable for any
unauthorized use or installation of the device.
Safety Icons
The following icons denote specific types of information.
Note This symbol means take note. Notes contain helpful suggestions or references to
materials not contained in the manual.
Caution This symbol means be careful. There is a risk of equipment damage or loss of
data. To reduce the risk, follow the instructions. This is a general warning, caution, or risk of
danger.
Warning This warning symbol means there is a risk of electric shock. This situation could
cause bodily injury. To reduce the risk, before working on any equipment, be aware of the
hazards involved with electrical circuitry and be familiar with standard practices for preventing
accidents.
Exalt Communications Inc.
r-series Installation and Management Manual
5000007 (ETS) v
2007-05-31 (draft)
Safety Notices
1. Review this entire guide for important installation instructions BEFORE attempting to
install this product.
2. This product is intended to be installed, used, and maintained by experienced
telecommunications personnel only.
3. Employ a properly licensed or authorized electrician to install or evaluate/certify the
installation of all power and grounding related to the use of this equipment and all
connected devices.
4. The device(s) shall only be connected to AC or DC sources within the device
specifications. Use a separate breaker circuit at the power source.
5. Lightning, surge protection devices, and earth grounding are required for most installations
to ensure human safety. Consult a qualified electrician.
6. Servicing of this device should be performed by authorized personnel only. Do not
disassemble this device. By opening or removing any covers you may expose yourself to
hazardous energy parts. Incorrect reassembly of this product can cause a malfunction,
and/or electrical shock, when the unit is subsequently used.
7. Do not connect or disconnect the power connection to the device when the power supply is
plugged into an AC outlet. To connect, first connect the power connection to the device,
and then apply power (or plug in) at the outlet. To disconnect, disengage power at the outlet
or unplug, and then disconnect the direct connection to the device.
8. Do not insert any object of any shape or size inside this product at any time, whether
powered or not. Objects may contact hazardous energy components that could result in a
risk of fire or personal injury.
9. Liquids shall not come in contact with, or enter the inside of the device at any time.
10. Proper ventilation and/or airflow shall be provided surrounding the equipment. Do not
block any intake or exhaust vents. Items shall not come in contact with heat-sinking
materials. Ensure that ambient operational and storage temperature specifications are
maintained at all times.
11. Equipment is suitable for mounting on noncombustible surfaces only.
12. Do not move or alter the marking labels.
13. A CSU or similar isolating device is necessary between the equipment and the public
telecommunications network. The equipment has not been evaluated for direct connection
to the public telecommunications network.
Exalt Communications Inc.
r-series Installation and Management Manual
5000007 (ETS) vi
2007-05-31 (draft)
Exalt Limited Hardware Warranty
Exalt Communications, Inc. (“Exalt”) warrants solely to the original purchaser (“Purchaser”) that
the EX-5r series or the EX-4.9r Series (the “Product”) will substantially conform in all material
respects to the relevant Exalt published specifications that apply at the time of manufacture of
such Product for two (2) years from the date of tender of Product by Exalt from FOB point
designated by Exalt (the “Warranty Period”). Proof-of-purchase in the form of an invoice,
payment of invoice, or delivery waybill must be supplied, if requested by Exalt, in case of any
dispute of warranty start date. Exalt shall within the Warranty Period, at its own option: (A) use
reasonable efforts to remedy any reproducible Product defect covered by this limited warranty
within a reasonable period of time; (B) replace the defective Product with a functionally
equivalent product (repair parts and products may be either reconditioned or new, but, if
reconditioned, shall be of the same quality as new parts or products); or (C) if Exalt determines
that it is unable to repair or replace such Product, Exalt will refund to Purchaser the amount
actually paid by Purchaser for the applicable Product. All replaced parts become the property of
Exalt. Exalt may, at its sole option, refuse to accept as defective Product that (i) is subject to the
exclusions set forth below; or (ii) cannot be demonstrated to be defective by Exalt and Purchaser
is unable to provide adequate information describing how the Product failed. Such Product will,
at Purchaser’s option and expense, either be: (a) returned to Purchaser in the state received, or (b)
repaired and returned to Purchaser. Repaired or replaced Product will be warranted for the
remainder of the original Warranty Period, but not less than ninety (90) days.
Registration
Purchaser is required to register its Product, within ninety (90) days of purchase, for full
warranty support. Unregistered or late-registered Product will receive a Warranty Period of only
one (1) year.
Exclusions
This limited warranty will not apply to: (A) any Product that: (i) has been modified or altered by
any party other than Exalt; (ii) has been subject to accident, misuse, abnormal wear and tear,
neglect, or mistreatment; (iii) has been damaged during installation of the Product; (iv) has been
damaged by the equipment or system with which the Product is used; (v) has sustained damage
to the Products’ interface or power connectors; (vi) are determined to be stolen; or (vii) has been
damaged caused by fire, power changes, other hazards, or acts of God (including without
limitation lightning); or (B) any software included in any such Product. The warranty applies
only to Products that can be identified by the Exalt trademark, trade name, serial number or logo
affixed to them. Exalt does not warrant any Product that is not manufactured by, for, or with
permission from Exalt. The Products covered by this warranty are not consumer products and
are not intended for personal, family, or household purposes.
Exalt Communications Inc.
r-series Installation and Management Manual
5000007 (ETS) vii
2007-05-31 (draft)
RMA Procedures
A return material authorization (RMA) is required prior to returning Product to Exalt for
warranty or out-of-warranty repair/evaluation. As such, Purchaser must use the following
procedure:
1. Contact Exalt (see Introduction on page 1 for current contact data) and request an RMA
number. Please be prepared to provide the serial number of the Product, the date of
purchase, and a description of the failure that is as complete as possible.
2. Pack the Product in its original container and packing or an equivalent.
3. Write the RMA number CLEARLY on the outside of the shipping box.
4. For services during the Warranty Period, cost of shipment to Exalt’s authorized service
center, taxes, duty, tariffs, risk of loss and insurance charges to Exalt shall be borne by the
Purchaser. Cost of return shipment and insurance charges shall be borne by Exalt and will
be made by Exalt’s choice of carrier and method/schedule of shipment. Purchaser may
expedite return shipments, upon request, at its own expense.
PRODUCTS RETURNED WITHOUT A DULY ISSUED RMA NUMBER WILL BE
RETURNED TO PURCHASER AT PURCHASER’S EXPENSE.
THIS EXPRESS WARRANTY IS IN LIEU OF ALL OTHER WARRANTIES, EXPRESSED,
IMPLIED OR STATUTORY, REGARDING THE PRODUCT, AND EXALT, ITS
SUPPLIERS AND LICENSORS HEREBY EXPRESSLY DISCLAIM ALL SUCH IMPLIED
AND EXPRESS WARRANTIES, INCLUDING WITHOUT LIMITATION ANY AND ALL
IMPLIED WARRANTIES OF FITNESS FOR A PARTICULAR PURPOSE, TITLE,
INTERFERENCE WITH QUIET ENJOYMENT, NON-INFRINGEMENT OF THIRD-PARTY
RIGHTS AND MERCHANTABILITY. FURTHER, EXALT DOES NOT WARRANT
RESULTS OF USE OR THAT PURCHASER’S USE OF THE PRODUCT WILL BE
UNINTERRUPTED OR ERROR FREE. NO WARRANTIES ARE MADE BY EXALT’S
SUPPLIERS OR LICENSORS. EXCEPT FOR THE EXPRESS WARRANTY STATED
HEREIN, THE PRODUCT IS PROVIDED “AS IS” AND WITH ALL FAULTS. THE ENTIRE
RISK AS TO SATISFACTORY QUALITY, ACCURACY, AND EFFORT IS WITH
PURCHASER.
REGARDLESS OF WHETHER ANY REMEDY SET FORTH HEREIN FAILS OF ITS
ESSENTIAL PURPOSE OR OTHERWISE, AND EXCEPT FOR BODILY INJURY, IN NO
EVENT WILL EXALT, ITS SUPPLIERS OR LICENSORS BE LIABLE TO PURCHASER
OR TO ANY THIRD PARTY UNDER ANY TORT, CONTRACT, NEGLIGENCE, STRICT
LIABILITY OR OTHER LEGAL OR EQUITABLE THEORY FOR ANY LOST PROFITS,
LOST OR CORRUPTED DATA, COMPUTER FAILURE OR MALFUNCTION,
INTERRUPTION OF BUSINESS, OR OTHER SPECIAL, INDIRECT, INCIDENTAL OR
CONSEQUENTIAL DAMAGES OF ANY KIND ARISING OUT OF THE USE OR
INABILITY TO USE THE PRODUCT, EVEN IF EXALT HAS BEEN ADVISED OF THE
POSSIBILITY OF SUCH LOSS OR DAMAGES AND WHETHER OR NOT SUCH LOSS OR
DAMAGES ARE FORESEEABLE.
Exalt Communications Inc.
r-series Installation and Management Manual
5000007 (ETS) viii
2007-05-31 (draft)
IN NO EVENT SHALL EXALT’S AND ITS SUPPLIERS’ AGGREGATE LIABILITY
EXCEED AN AMOUNT EQUAL TO THE PURCHASE PRICE OF THE PRODUCT PAID
BY PURCHASER THAT IS THE SUBJECT OF A CLAIM. ANY CLAIM ARISING OUT OF
OR RELATING TO THIS AGREEMENT MUST BE BROUGHT WITHIN ONE (1) YEAR
AFTER THE OCCURRENCE OF THE EVENT GIVING RISE TO SUCH CLAIM. IN
ADDITION, EXALT DISCLAIMS ALL LIABILITY OF ANY KIND OF EXALT’S
SUPPLIERS.
Exalt Communications Inc.
r-series Installation and Management Manual
5000007 (ETS) ix
2007-05-31 (draft)
Table of Contents
Legal Notice....................................................................................................................................ii
Open-Source License Information..................................................................................................ii
About this Document.....................................................................................................................iii
Revision History ........................................................................................................................iii
General Compliance and Safety..................................................................................................... iv
Safety Icons................................................................................................................................ iv
Safety Notices................................................................................................................................. v
Exalt Limited Hardware Warranty.................................................................................................vi
Registration................................................................................................................................ vi
Exclusions.................................................................................................................................. vi
RMA Procedures.......................................................................................................................vii
List of Figures.............................................................................................................................. xiv
List of Tables ................................................................................................................................ xv
Introduction..................................................................................................................................... 1
Related Documentation and Software ........................................................................................ 1
The Exalt r-Series Digital Microwave Radios............................................................................ 1
Basic Features............................................................................................................................. 3
Pre-installation Tasks...................................................................................................................... 6
Link Engineering and Site Planning ........................................................................................... 6
Familiarization with the r-Series................................................................................................. 7
Shipping Box Contents ...........................................................................................................7
Back-to-Back Bench Test and Configuration............................................................................. 8
RF Output Power Setting............................................................................................................ 9
Time Division Duplex (TDD) Factors...................................................................................... 10
Link Orientation and Synchronization...................................................................................... 11
Radio A/B Configuration...................................................................................................... 11
System Installation and Initiation Process.................................................................................... 14
Record Keeping ........................................................................................................................ 16
Installation..................................................................................................................................... 17
Mechanical Configuration and Mounting................................................................................. 17
Exalt Communications Inc.
r-series Installation and Management Manual
5000007 (ETS) x
2007-05-31 (draft)
Mounting the System............................................................................................................ 17
Radio Ports and Indicators........................................................................................................ 19
Connector Overview............................................................................................................. 19
LED Indicators...................................................................................................................... 20
RESET Button ...................................................................................................................... 21
Power ........................................................................................................................................ 21
Terminating the RF Connectors r-(x)c Series models only)................................................. 22
AC Power.............................................................................................................................. 22
Power Injector....................................................................................................................... 23
Reset to Critical Factory Settings ......................................................................................... 24
Antenna/Transmission System.................................................................................................. 24
Initial Antenna Mounting r-(x)c Series models only)........................................................... 24
Transmission Line from Antenna to Radio r-(x)c Series models only................................. 25
RF Lightning Arrestor........................................................................................................... 27
Antenna Alignment................................................................................................................... 28
Configuration and Management ................................................................................................... 30
Telnet into the Command Line Interface (CLI)........................................................................ 30
Connect to the Radio in a Telnet Session ............................................................................. 30
Telnet ........................................................................................................................................ 30
Exalt Graphical User Interface (GUI)....................................................................................... 31
Preparing to Connect............................................................................................................. 31
Make Connections ................................................................................................................ 32
Log In.................................................................................................................................... 32
Login Privileges.................................................................................................................... 33
Quick-Start................................................................................................................................ 34
Navigating the GUI................................................................................................................... 35
Summary Status Section....................................................................................................... 35
Navigation Panel................................................................................................................... 36
Radio Information Page............................................................................................................ 37
Administration Settings Page.................................................................................................... 38
System Configuration Page....................................................................................................... 40
Ethernet Interface Configuration Page...................................................................................... 44
Exalt Communications Inc.
r-series Installation and Management Manual
5000007 (ETS) xi
2007-05-31 (draft)
T1/E1 Configuration Pages....................................................................................................... 45
T1 Interface Configuration Page........................................................................................... 46
E1 Interface Configuration Page........................................................................................... 47
T1/E1 Loopback.................................................................................................................... 47
File Transfer Page..................................................................................................................... 49
File Activation Page.................................................................................................................. 52
Simple Network Management Protocol (SNMP) Configuration.............................................. 53
Alarms Page.............................................................................................................................. 54
Performance Page ..................................................................................................................... 56
Event Log Page......................................................................................................................... 59
Diagnostic Charts Page............................................................................................................. 60
Spectrum Analyzer Page........................................................................................................... 61
Reboot Page .............................................................................................................................. 62
Manual Page.............................................................................................................................. 63
Troubleshooting............................................................................................................................ 64
General Practices ...................................................................................................................... 64
Typical Indications of Issues .................................................................................................... 65
Improper RF Cable Termination............................................................................................... 66
Multipath Propagation .............................................................................................................. 67
RF Interference ......................................................................................................................... 67
Path Obstruction........................................................................................................................ 68
Misaligned Antenna.................................................................................................................. 68
Faulty Antenna.......................................................................................................................... 68
Improper Grounding ................................................................................................................. 68
Insufficient Link Margin........................................................................................................... 69
Moisture in the Transmission System....................................................................................... 69
Specifications................................................................................................................................ 70
Physical Specifications ............................................................................................................. 70
Common System Specifications............................................................................................... 70
EX-4.9r System Specifications................................................................................................. 71
System Specifications, 5.3GHz Band....................................................................................... 72
System Specifications, 5.4GHz Band....................................................................................... 73
Exalt Communications Inc.
r-series Installation and Management Manual
5000007 (ETS) xii
2007-05-31 (draft)
System Specifications, 5.8GHz Band....................................................................................... 74
Interfaces................................................................................................................................... 75
Back-to-back Bench Testing......................................................................................................... 77
Basic Test.................................................................................................................................. 77
Connections EX-5r-c only .................................................................................................... 77
EX-5r Basic Test Configuration ........................................................................................... 78
Verify Connection................................................................................................................. 78
Specification Performance Verification—EX-5r-(x)c only...................................................... 78
Interface Connections ................................................................................................................... 81
T1/E1 Connections.................................................................................................................... 81
RSL & GPS Sync Connector.................................................................................................... 82
Power/Ethernet Connector........................................................................................................ 82
Copyright Notices......................................................................................................................... 84
Net-SNMP................................................................................................................................. 84
General Regulatory Notices.......................................................................................................... 90
Dynamic Frequency Selection.................................................................................................. 90
Antennas ................................................................................................................................... 90
Region 1 Specifics ........................................................................................................................ 93
4.9 GHz Model.............................................................................................................................. 93
Federal Communications Commission (FCC), United States .................................................. 93
United States Compliance............................................................................................................. 94
Industry Canada (IC), Canada................................................................................................... 94
Antennas Supported in Canada............................................................................................. 95
Canada Compliance ...................................................................................................................... 95
EX-4.9r EIRP for the USA and Canada........................................................................................ 96
EX-5r EIRP for the US and Canada ............................................................................................. 97
5250-5350 MHz Band............................................................................................................... 97
5470-5725 MHz Band............................................................................................................... 97
5725-5850 MHz Band............................................................................................................... 98
Region 2 Specifics ........................................................................................................................ 99
Europe/ITU (ETSI and CE Mark)............................................................................................. 99
Declaration of Conformity to the R&TTE Directive 1999/5/EC........................................ 100
Exalt Communications Inc.
r-series Installation and Management Manual
5000007 (ETS) xiii
2007-05-31 (draft)
EU WEEE................................................................................................................................... 100
EU RoHS .................................................................................................................................... 101
Europe Compliance..................................................................................................................... 101
EX-5r EIRP by Country.............................................................................................................. 103
EX-5r EIRP by Country.............................................................................................................. 103
5250–5350 MHz band............................................................................................................. 103
5470–5725 MHz band............................................................................................................. 103
5725-5850 MHz band ............................................................................................................. 104
Index ........................................................................................................................................... 106
Exalt Communications Inc.
r-series Installation and Management Manual
5000007 (ETS) xiv
2007-05-31 (draft)
List of Figures
Figure 1 Exalt EX-5r (integrated antenna model)..................................................................... 2
Figure 2 Mounting and cabling—integrated antenna model..................................................... 4
Figure 3 Cabling and mounting—external antenna model ....................................................... 4
Figure 4 Radio installation tasks ............................................................................................. 15
Figure 5 Pole-mount example ................................................................................................. 17
Figure 6 EX-5r pole and wall mount (with azimuth and elevation adjustment)..................... 18
Figure 7 r-c Series pole/wall mount........................................................................................ 18
Figure 8 EX-5r connectors...................................................................................................... 19
Figure 9 Power injector connectors......................................................................................... 23
Figure 10 CLI main menu......................................................................................................... 30
Figure 11 Initiating the browser connection.............................................................................. 33
Figure 12 Browser Login screen ............................................................................................... 33
Figure 13 Radio Information page ............................................................................................ 34
Figure 14 Exalt GUI window description ................................................................................. 35
Figure 15 Summary status information..................................................................................... 36
Figure 16 Radio Information page ............................................................................................ 37
Figure 17 Administration Settings page.................................................................................... 38
Figure 18 System Configuration page....................................................................................... 40
Figure 19 Ethernet Interface Configuration page...................................................................... 44
Figure 20 T1 Interface Configuration page............................................................................... 46
Figure 21 E1 Interface Configuration page............................................................................... 47
Figure 22 External (remote) loopback....................................................................................... 48
Figure 23 External (local) loopback.......................................................................................... 48
Figure 24 Internal loopback ...................................................................................................... 48
Figure 25 File Transfer page ..................................................................................................... 49
Figure 26 File Transfer page—download file link.................................................................... 50
Figure 27 File Activation page.................................................................................................. 52
Figure 28 Alarms page .............................................................................................................. 54
Figure 29 Performance page...................................................................................................... 56
Figure 30 Event Log page ......................................................................................................... 59
Figure 31 Diagnostic Charts page ............................................................................................. 60
Exalt Communications Inc.
r-series Installation and Management Manual
5000007 (ETS) xv
2007-05-31 (draft)
Figure 32 Reboot page .............................................................................................................. 62
Figure 33 Manual page.............................................................................................................. 63
Figure 34 Basic back-to-back bench test configuration............................................................ 78
Figure 35 Ex-5r connector orientation ...................................................................................... 81
Figure 36 T1/E1 connectors ...................................................................................................... 81
Figure 37 RSL & GPS connector.............................................................................................. 82
Figure 38 Power/Ethernet connector......................................................................................... 83
List of Tables
Table 1 Connectors ................................................................................................................ 19
Table 2 LED indicators.......................................................................................................... 20
Table 3 Recommended transmission line .............................................................................. 25
Table 4 Default login information ......................................................................................... 33
Table 5 Alarm status indicators ............................................................................................. 54
Table 6 Product Approvals .................................................................................................... 89

Exalt Communications, Inc.
r-series Installation and Management Manual
5000007 (ETSI) 1
2007-06-28
Introduction
Exalt Communications, Inc. thanks you for your purchase. Our goal is to build the highest
quality, highest reliability digital microwave radio products. This commitment to quality and
reliability extends to our employees and partners alike. We appreciate any comments on how we
can improve our products, as well as your sales and Customer Care experience.
Customer Care Hotline (USA): (408) 871-9890
Toll-Free Customer Care Hotline (USA): (877) EXALT-01 (392-5801)
Direct-Dial Telephone (USA): (408) 871-1804
Website: www.exaltcom.com
Sales e-mail: sales@exaltcom.com
Customer Care e-mail: support@exaltcom.com
Mailing Address: Exalt Communications, Inc.
580 Division St.
Campbell, CA 95008
USA
Related Documentation and Software
This manual makes reference to other documentation and software files that may be necessary.
Any document or software mentioned in this manual can be found at:
http://www.exaltcom.com/support/downloads.htm
The Exalt r-Series Digital Microwave Radios
The Exalt r-series of Digital Microwave Radios is the most advanced carrier-class point-to-point
terrestrial radio communications devices operating in the 4940 to 4990 MHz and 5250 to 5850
MHz frequency bands. The EX-5r comes in the following configurations:
• r-Series has integrated software selectable polarization antenna
• r-c Series has external antenna connectors, which allows connection of either one single- or
dual-polarized antenna (with software selectable polarization)
• r-x Series is a dual-radio with integrated dual-polarized antenna
• r-xc Series is a dual-radio with external antenna connectors designed for use with a dual-
polarized antenna, or two separate single-polarization antennas mounted for dual-
polarization.
The r-Series connects voice and/or digital data from one location to another, obviating the need
for copper or fiber connectivity, or enhancing existing connectivity by providing a redundancy
solution, a primary solution, and/or additional capacity. Figure 1 shows the Exalt r-series Digital
Microwave radio.

Exalt Communications, Inc.
r-series Installation and Management Manual
5000007 (ETSI) 2
2007-06-28
Figure 1 Exalt EX-5r (integrated antenna model)
Generally, the r-Series requires a clear line-of-sight and proper path clearance to achieve a high-
performance, reliable connection. Perform professional path engineering and site planning before
installing this equipment.
The primary focus of this document is the installation and maintenance of the digital microwave
radio, and assumes that path engineering and site planning has already been performed. Please
refer to the Exalt document, Guidance for Engineering and Site Planning of Terrestrial
Wireless Links, for detailed information on these activities.
The EX-5r utilizes radio frequencies in the range of 5250 to 5850 MHz. In most countries these
frequency bands are considered as ‘license-exempt’ or ‘unlicensed.’ This means that virtually
any user may use these frequencies freely, without paying for access, or any type of pre-
notification, post-notification or registration. As a result of this designation, users may also move
or change these systems at any time, with significant flexibility to the location, orientation and
configuration of the system. However, due also to this designation, there may be uncontrolled
interference from other similar devices that occupy this spectrum. In these cases, it is up to
engineering and maintenance personnel to design the system with existing and future
interference sources in mind, recognizing that there is a chance that the interference conditions
could be very dynamic, and outages may occur on the system as a result, and that, in some very
rare cases, the system may cause interference into another system and may be required to be
disengaged or modified/re-oriented to eliminate the interference.
If the spectrum in your country is designated as ‘license-exempt’ or similar, this does not infer
that the installer may configure the system in any manner at any location. In most cases, there
are regulations, or device-based conditions that limit the use of the device, such as maximum
gain antenna, antenna types and maximum output power, as well as, in some cases, application
limits, limited geography of use, and other unique regulations. The link design engineer and/or
professional installer must determine these limitations and engineer/install the system
within the confines of all local regulations. Also, it is required to examine any regulations that
may apply to peripheral equipment, installation and cabling of the system that may be regulated
for human safety, electrical code, air-traffic control, and other safety-related categories.

Exalt Communications, Inc.
r-series Installation and Management Manual
5000007 (ETSI) 3
2007-06-28
In certain countries, the spectrum for this product is NOT considered to be license-exempt. In
these cases, there may be additional regulatory requirements concerning the location, frequency,
power, orientation, configuration, and other aspects of the system, including, in some cases, a
need for link registration, coordination, and fees that may apply to the system usage. Please
consult your local regulatory organization(s) to determine usage requirements.
The EX-4.9r utilizes frequencies in the 4940-4990MHz range, and is typically a licensed band
reserved for use by Public Safety agencies and applications. This band is not generally available
outside of North America.
In almost all cases, either for license-exempt or other designation, the product itself must be
authorized for use in your country. Either Exalt or Exalt’s agent must have applied for
certification or authorization to allow the sale and deployment of the system within the country.
It is also possible that only certain versions or configurations of the device are allowed within a
particular country. Please contact Exalt or your authorized Exalt representative for information
pertaining to your country.
Note: It is the (professional) installer’s responsibility to ensure that
the radio system is implemented in a legal fashion. Exalt is not liable
for any unsafe or illegal installations.
Basic Features
The r-Series Digital Microwave Radio is intended for all-outdoor mounting. It is accompanied
with an indoor-mounted power injector. In some cases, the EX-5r may also be mounted indoors
or in an enclosure. Depending on the configuration purchased, the associated antenna is either
integrated as part of the unit or connected separately.
For the integrated antenna model, the entire unit is typically mounted on a tower or rooftop mast
structure, with Ethernet/Power and other optional interface cables running from the unit location,
through a structure penetration, and to the power injector and connected communications
equipment.
For the external antenna model, the unit is typically mounted very close to the external antenna
to minimize RF cabling and associated losses. Alternatively, the unit may be mounted at an
easily-accessible location with longer RF cabling to the antenna. Proper lightning or surge
suppression devices and associated grounding are required for all connections.

Exalt Communications, Inc.
r-series Installation and Management Manual
5000007 (ETSI) 4
2007-06-28
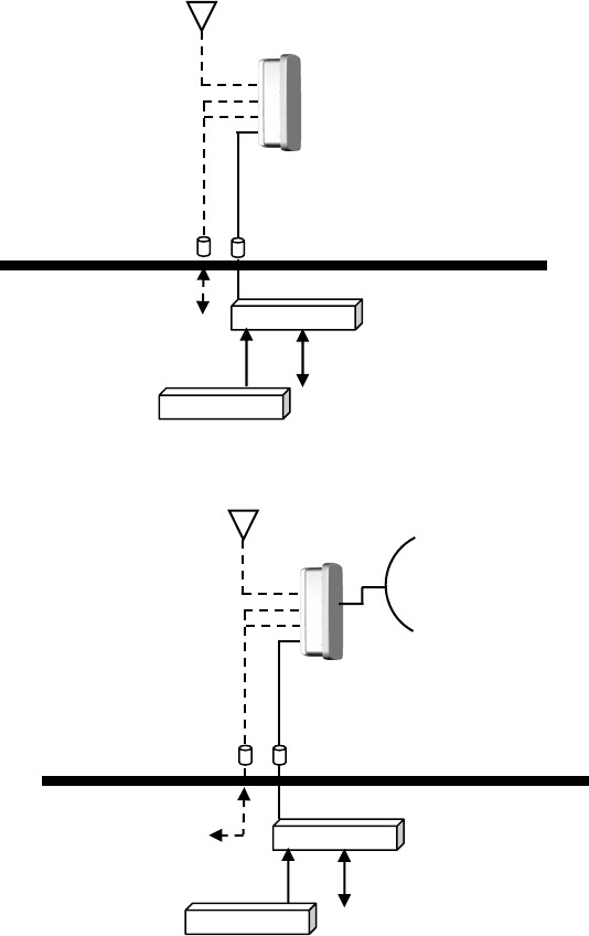
Figure 2 Mounting and cabling—integrated antenna model
Figure 3 Cabling and mounting—external antenna model
For highest performance and reliability, it is advised to minimize the length of RF cable and
associated transmission system losses between the antenna and the radio’s antenna port.
The r-Series provides connections for a combination of the following data communication
interfaces:
• 10/100BaseT Ethernet
• 4xT1/E1 interfaces for synchronous voice traffic
The EX-5r is powered by a combined Power/Ethernet cable, and associated power injector. The
power injector provides 48VDC to the unit.
The EX-5r provides the following primary features and benefits:
Power/Ethernet Lightning Arrestor (grounded)
Power/Etherne
t
Power/Etherne
t
Power Injector
Etherne
t
DC Powe
r
O
p
tional T1/E1 Li
g
htnin
g
Arrestors
(g
rounded
)
1-4xT1/E1
O
p
tional GPS Antenna
AC Ada
p
te
r
Structure Penetration
External Antenna
(
Sin
g
le or Cross-Polarized
)
Power/Ethernet Li
g
htnin
g
Arrestor
(g
rounded
)
Power/Etherne
t
Power/Etherne
t
Power Injector
Etherne
t
DC Powe
r
O
p
tional T1/E1 Li
g
htnin
g
Arrestors
(g
rounded
)
1-4xT1/E1
Optional GPS Antenna
AC Adapter
Structure Penetration
Exalt Communications, Inc.
r-series Installation and Management Manual
5000007 (ETSI) 5
2007-06-28
• Low-latency optimization and control for voice and data connections
• Very high throughput and flexible interface configurations with voice+data combinations
• Encryption for extreme wireless security
• Easy-to-use management and configuration
• Flexible utilized channel bandwidth selection for interference avoidance and frequency
coordination
• Flexible center frequency tuning for interference avoidance and frequency coordination
• Flexible capacity to meet current connection requirements and future growth needs
• Carrier-class reliability and performance
• Intuitive graphical user interface for fast and easy configuration and management
• Advanced diagnostics monitoring and analysis tools for fast and easy troubleshooting
Exalt Communications, Inc.
r-series Installation and Management Manual
5000007 (ETSI) 6
2007-06-28
Pre-installation Tasks
This section describes the steps necessary to prepare a site for the installation of the Exalt Digital
Microwave Radio.
Link Engineering and Site Planning
Design all terrestrial wireless links prior to purchase and installation. Generally, professional
wireless engineering personnel are engaged to determine the viability and requirements for a
well-engineered link to meet the users’ needs for performance and reliability.
The reader is referred to the Exalt document, Guidance for Engineering and Site Planning of
Terrestrial Wireless Links and the ExaltCalc path calculator. This document and calculator aid
in the pre-planning and engineering required to determine following attributes:
• Antenna type/gain at each end of the link
• Antenna mounting height/location for proper path clearance
• Antenna polarization orientation
• RF cabling type, length, connectors, route, and mounting
• Antenna system grounding
• Lightning arrestor type(s), location(s), and grounding
• Radio mounting location and mechanisms
• Radio grounding
• Radio transmitter output power setting
• Anticipated received signal level (RSL) at each end
• Anticipated fade margin and availability performance at each end
• Radio settings for TDD frame length and occupied bandwidth
• Anticipated throughput performance (TDM circuit support and Ethernet)
• Anticipated system latency
With respect to radio path and site planning, these radios are generally identical to other
microwave terrestrial wireless systems. Engineering of these systems requires specific
knowledge about the radios, including:
• RF specifications (transmitter output power, receiver threshold, occupied channel bandwidth,
and carrier-to-interference tolerance)
• Regulatory limitations on transmitter output power setting and antenna type/gain
• Noise/interference profile for the intended location

Exalt Communications, Inc.
r-series Installation and Management Manual
5000007 (ETSI) 7
2007-06-28
• Impact on throughput and latency relative to link distance, occupied bandwidth, and TDD
frame size setting, and the planned implementation of these parameters
Familiarization with the r-Series
The r-Series utilizes time division duplex (TDD) radio transmission. This means that the
transmitted signal in both directions uses the same center frequency and transmits in one
direction for a period of time, and then in the opposite direction for another period of time. This
total period of time is referred to as the frame length or TDD frame length, and is further
discussed in Time Division Duplex (TDD) Factors on page 25.
The two radio terminals are identical hardware, except for the TDD setting in software. When
the radios are in their default state, both radios are configured as Radio B. One end of the link
must be configured as Radio A before the two ends of the radio system can communicate.
It can be considered that Radio A is the primary radio in the link. Radio A provides the master
clock and control to Radio B. For most applications, it is not important how the radio link is
oriented, only that one end is configured for Radio A and the other for Radio B. For some
applications (such as, multi-radio hub sites or repeaters), the orientation of the radio systems may
be more critical. See Link Orientation and Synchronization on page 11 for details.
There are two ways to configure the radios for Radio A/B determination:
1. Use the Exalt browser-based graphical user interface (GUI) – preferred.
2. Connect to the radio using Telnet.
Exalt recommends using the Exalt GUI for radio configuration. This interface requires a
computer with an Ethernet port and web browser software, such as Microsoft Internet Explorer
5.0 or above. See Configuration and Management on page 30 for details on how to connect to
and use the browser-based GUI interface.
Shipping Box Contents
Unless purchased as a spare terminal, the radios are shipped as a complete hop (that is, a radio
link pair consisting of two terminals). An outer box has labeling that indicates the contents of the
box, with the part number and serial number details for both radio terminals.
Inside the outer box are two identical boxes, each of these boxes is also marked with the part
number and serial number of the individual terminal contained inside the box. The terminal box
contains the following items:
• Radio terminal (configured as Radio B)
• AC adapter
• Power injector
• Mounting kit (for pole or wall mounting)
• Accessory kit
¶ Grounding screw/washers

Exalt Communications, Inc.
r-series Installation and Management Manual
5000007 (ETSI) 8
2007-06-28
¶ Connector covers with safety ring (for covering and securing unused connectors)
¶ Weather-sealing tape (required for RF connectors on the EX-5r-c)
¶ RF connector cover (for the EX-5r-c, covering the unused RF connector, where
applicable)
¶ RSL adapter cable
• Registration card
• Quick-start guide
• 3-foot PoE cable (with safety ring)
Inspect the outer packaging and the contents of the boxes upon receipt. If you suspect any
shipping damage or issues with the contents, contact Exalt Customer Care.
Note: Register your system as soon as possible. A 2-year Warranty period
applies to products registered within 90 days of purchase. The Warranty period is
reduced to 1-year for unregistered products and products registered after the first
90 days.
The radio terminal boxes contain a single pre-terminated PoE cable intended for
bench testing and to make the short connection between the radio and the PoE
lightning arrestor near the radio. If running a longer cable from the radio to the
PoE lightning protector (such as at the egress point), use pre-terminated cables
(sold separately). Pre-terminated cables are available in different lengths to meet a
variety of applications, and can also be used for the T1/E1 connections.
Back-to-Back Bench Test and Configuration
Every Exalt digital microwave radio goes through extensive quality testing and performance
evaluation over the full operating temperature range prior to shipment. However, before
installation, it is strongly advised to perform several tests and tasks that are much more difficult
to perform once the radio link endpoints are distant from one another. A back-to-back bench test
and pre-configuration will provide confidence that the radio link is operational and properly
configured prior to installation, so that if troubleshooting is necessary, the radio hardware and
configuration settings are eliminated from the troubleshooting process. Verify the following in
the back-to-back testing:
• Confirm that the radio system is generally operational
¶ Radios power-up with planned power and wiring solutions
¶ RF link connects in both directions
¶ Traffic passes across the link
• Configure connected equipment and cabling

Exalt Communications, Inc.
r-series Installation and Management Manual
5000007 (ETSI) 9
2007-06-28
¶ Test Ethernet (CAT5) cabling, and/or T1/E1 cabling, any auxiliary connector cabling and
configure all interfaces
¶ Configure IP settings for configuration and management
¶ Configure passwords and security modes
¶ Become familiar with the configuration and management interfaces through the Exalt
GUI interface
¶ Configure radio parameters
¶ Set transmitter output power to engineered or allowed level (see RF Output Power
Setting)
¶ Set operating center frequency
¶ Set link distance, occupied channel bandwidth, and frame length
• Make detailed radio performance measurements
¶ Measure transmitter output power
¶ Measure receiver threshold performance
¶ Confirm unfaded error-free performance
Some of these tasks may not be possible or practical within a bench test environment due to the
nature of the remote connectivity of peripheral equipment. However, it is good practice to
perform as much as possible in this environment to minimize field/installation time and
troubleshooting efforts.
Detailed performance measurements are usually not required for pre-installation, but can be
easily performed at this stage and may be helpful for later troubleshooting efforts or for internal
records. During troubleshooting, there may often be a point at which a back-to-back bench test
should be performed to verify many or all of the above items, and in the case of a suspected
faulty device, to help confirm the fault and determine which end of the system is at fault and in
need of repair or replacement.
Note: See Back-to-back Bench Testing on page 77 for detailed instructions.
RF Output Power Setting
The maximum RF output power is bounded by one of the following criteria:
• Maximum RF output power setting capability of the radio device
• Maximum RF output power allowed/authorized by the local government regulations and for
this specific device
• Maximum effective isotropic radiated power (EIRP) of the transmission system
allowed/authorized by the local government regulations and for this specific device
• Desired RSL to not exceed the maximum RSL allowed by the device

Exalt Communications, Inc.
r-series Installation and Management Manual
5000007 (ETSI) 10
2007-06-28
• Desired RSL to minimize/eliminate interference into neighboring systems
Note: In many cases the radio must be pre-configured for legal maximum
output power before connecting to the antenna and transmission system.
Instructions for adjusting the output power can also be found in System
Configuration Page on page 40.
The information on how to set the proper power for each country is based on the specific
regulatory requirements based on up-to-date information for countries where these radios are
authorized is in Appendix A. A list of recommended antennas is in Antenna/Transmission
System on page 24.
Time Division Duplex (TDD) Factors
The r-Series radios are very dynamic, allowing the installer to optimize and control the
performance of the radio system for the intended application. The following parameters must be
carefully determined during the link engineering phase:
• Link distance
• Bandwidth
• TDD frame size
• Mode (modulation)
The setting of the above parameters determines the following performance factors:
• Number of supported T1/E1 channels
• Ethernet throughput
• System latency (delay)
Use the ExaltCalc calculator to determine optimum settings for the above parameters to meet the
needs of your application.
The following generalizations can be made with regards to these factors:
• The shorter the TDD frame size, the lower the latency
• The shorter the link distance, the lower the latency, the higher the throughput
• The longer the TDD frame size, the higher the throughput
• The higher the bandwidth, the higher the capacity
• The higher the mode, the higher the capacity
Note: Disable all T1/E1 ports if there are no T1/E1 interfaces connected. This
shifts all available throughput to the Ethernet interface.

Exalt Communications, Inc.
r-series Installation and Management Manual
5000007 (ETSI) 11
2007-06-28
If a selected combination of the Link Distance, Frame Size, Bandwidth, and Mode
parameters cannot support all four T1 or E1 ports, the ports that cannot be
supported are automatically disabled. Priority is placed on the T1/E1 port number.
That is, the first port to be disabled, if necessary, is the highest port number, such
as Port 4.
Link Orientation and Synchronization
Link orientation refers to the Radio A and Radio B placement in your network. Link
synchronization refers to using external or internal timing to coordinate multiple links.
For every link, one end of the radio link must be configured as Radio A, while the other end is
configured as Radio B. In single-link systems, it does not matter which end of the system is
mounted at which end of the link, and there is typically no requirement for any link
synchronization.
Link orientation and synchronization are more important for networks with site(s) where there is
more than one link of the same type or for sites using the same type of radio that are very close
to each another at one or both ends.
Configure collocated radio terminals for the same link orientation. That is, configure all radios at
the same location as Radio A or Radio B.
In addition, it can be advantageous to utilize link synchronization for collocated links. The radios
allow the use of an optional GPS synchronization kit. This synchronization controls the
transmitter and receiver frame timing so that collocated radios are transmitting at the same time
and receiving at the same time. This can substantially reduce the opportunity for self-
interference. Without synchronization, collocated radios may be transmitting and receiving at the
same time, incurring near-end interference.
Note: It is not always necessary to synchronize collocated radios. If antennas
are substantially separated or blocked from one another and/or frequency
separation tuning is used, the opportunity for near-end interference can be
eliminated.
Note: When synchronization is required or desired, one GPS kit is required
for each EX-5r link in the connected or collocated network.
Radio A/B Configuration
Use the Exalt GUI to configure the radio terminals for Radio A and Radio B orientation. Since
many other parameters also need to be set, and the Exalt GUI is needed for these configurations,
this is the best way to completely configure the radio terminals.
Radios arrive from manufacture in default configuration, orientated as Radio B and configured as
shown in Table 1.

Exalt Communications, Inc.
r-series Installation and Management Manual
5000007 (ETSI) 12
2007-06-28
Table 1 Factory default settings
Parameter EX-4.9r Series EX-5r Series
Frequency 4965 MHz 5788 MHz
Transmit Power +4dBm +4dBm
Link Distance <10 miles
Bandwidth 8 MHz
Mode Mode 1
TDD Frame Size 2ms
Link Security Key 000000000000
Administration Password password
User Password password
IP Address 10.0.0.1
IP Mask 255.0.0.0
IP Gateway 0.0.0.0
Ethernet Interface Alarm Enabled, 100/Full
T1/E1 Enabling All Disabled
Note: In many cases, the system design will not be identical to the factory
default configuration, and in some cases, these differences prohibit the installation
of the radio. If at all possible, obtain a computer and configure the radio terminals
using the browser-based GUI. See Exalt Graphical User Interface (GUI) on page
31 for details.
Radio Reset
Use the reset function if the IP address and/or passwords are lost. Use the following steps to
perform a critical parameter reset:
1. Remove power from the radio by disconnecting the AC adapter from the power injector.
2. Hold down RESET button on the power injector while applying power.
Hold the RESET button down through the entire power cycle and monitor the
DATA+POWER left LED on the power injector. Release the RESET button only after the
LED is in the steady state (45 to 60 seconds).
3. Release the RESET button.
The following configurations are reset on the radio:
• IP address = 10.0.0.1
• IP mask = 255.0.0.0
• IP gateway = 0.0.0.0
• Administration password = password
Exalt Communications, Inc.
r-series Installation and Management Manual
5000007 (ETSI) 13
2007-06-28
• User password = password
• Endpoint Identifier = Radio B
Exalt Communications, Inc.
r-series Installation and Management Manual
5000007 (ETSI) 14
2007-06-28
System Installation and Initiation Process
The tasks required for radio installation and initiation are outlined in the following figure.

Exalt Communications, Inc.
r-series Installation and Management Manual
5000007 (ETSI) 15
2007-06-28
Figure 4 Radio installation tasks
Path & Site
Analysis
Link Design
Build Antenna
Structures &
Egress
Mount
Antennas &
Transmission
Line
Install & Test
Network &
Power Wiring
Read This
Manual
Completely
Pre-configure
Radios
Perform
Back-to-Back
Test
Mount Radios
Connect
Transmission
Line
Connect
Power
Align
Antennas to
Planned RSL
Verify LEDs
for Good Link
Test Network
Connectivity
Connect &
Test Primary
Services
Test Network
Management
System
Both Transmission
System & Radio
Preparation Tasks
Must Be Complete
Transmission System Tasks Radio Preparation Tasks
Exalt Communications, Inc.
r-series Installation and Management Manual
5000007 (ETSI) 16
2007-06-28
Record Keeping
After installation, record the following items for ongoing maintenance and future
troubleshooting. Keep a record for each end of the radio link and store a copy of these records at
the radio location, at the opposite end radio location, and a central record storage location.
• GPS coordinates for antenna locations at each site
• Antenna heights above ground level (AGL), as mounted
• Antenna model numbers, serial numbers, and specifications
• Antenna polarization as mounted
• Length/type of primary transmission lines at each site (r-c Series only)
• Model number and serial number of RF lightning arrestors (r-c Series only)
• Transmitter output power setting as installed at each site
• RSL as measured after antenna alignment at each site
• Designed RSL per original design at each site
• RSL reading with far-end power off (from each end)
• Spectrum analyzer plot with far end off at each site
• (r-c Series only) Voltage standing wave ratio (VSWR)/return loss at the antenna connector(s)
at each site
• Model number and serial number of PoE and/or T1/E1 lightning arrestor(s) used
• Length(s) of PoE and/or T1/E1 cables from radio, through lightning arrestor(s) to termination
points
• Radio’s network management IP address at each site
• Radio’s network management gateway address at each site
• Radio’s operating frequency, bandwidth setting, and mode of operation
• Optionally purchased extended warranty and/or emergency service contract details
In addition, certain information may be desired for central record-keeping only:
• Security codes and login passwords (kept in a secure place)
• Photographs of complete installation
• End-user sign-off/acceptance documentation (if any)
• Photo of product identification label (part number, serial number, MAC address information)
• Site access information phone numbers, access codes, directions

Exalt Communications, Inc.
r-series Installation and Management Manual
5000007 (ETSI) 17
2007-06-28
Installation
This section presents all tasks required to install the Exalt Digital Microwave Radio.
Mechanical Configuration and Mounting
The Exalt r-Series are environmentally sealed units intended for deployment outdoors. The
device must be deployed within an ambient temperature range as specified, and with non-
restrictive airflow around the chassis. The r-c and r-xc Series’ can also be mounted in an
enclosure or indoors. The same airflow and temperature conditions apply. All r-Series models
can be mounted behind a window if window losses are considered in the link budget calculation.
Note: The power injector and power supply must be placed indoors or in an
enclosure.
Provide proper clearance for all cables and connectors attached to the device. Note that for the r-
(x)c Series, the RF cable connector may require significant clearance for the bend radius of the
coaxial cable assembly. All RF connectors, cables, and adapters must be rated for operation
within the radio’s frequency range. RF connector losses must be accounted for within the link
engineering design and output power settings.
Note: There are two RF connectors on the r-(x)c Series, which facilitate
connection to a cross-polarized antenna for polarization diversity. Seal the
secondary connector when using a single-polarized antenna. Use the N-type cover
cap and weather-seal tape included in the accessory kit to weatherproof this
connector.
Mounting the System
Use the mounting system supplied with each terminal for wall or pole mounting (Figure 5). The
pole mounting kit can accommodate a pole 2–5"/5-13cm in diameter. Install the mounting
system first, and then affix the radio to the mount. The radio can also be affixed to the mount,
and the entire assembly (including radio) mounted.
Figure 5 Pole-mount example

Exalt Communications, Inc.
r-series Installation and Management Manual
5000007 (ETSI) 18
2007-06-28
Figure 6 illustrates the r-Series pole/wall mount assembly, showing the azimuth and elevation
adjustment points.
Figure 6 EX-5r pole and wall mount (with azimuth and elevation adjustment)
Figure 7 illustrates the r-c Series pole/wall mount assembly.
Figure 7 r-c Series pole/wall mount
For the integrated antenna model, it is critical to mount the entire device at the predetermined
location for proper path clearance to the link end. Ensure that there is adequate space around the
mounting system and the radio to allow for antenna alignment for both azimuth and elevation
adjustments.
Note: Mount the r-c Series as close as possible to the antenna to minimize the
length and associated losses of RF cabling.
THREAD BAND CLAMPS THROUGH
SLOTS FOR POLE-MOUNTING USE REAR BRACKET HOLES FOR WALL-
MOUNTING
AZIMUTH ADJUSTMENT
ELEVATION ADJUSTMENT
USE REAR BRACKET HOLES FOR WALL-
MOUNTING
THREAD BAND CLAMPS THROUGH
SLOTS FOR POLE-MOUNTING

Exalt Communications, Inc.
r-series Installation and Management Manual
5000007 (ETSI) 19
2007-06-28
Radio Ports and Indicators
This section provides a brief overview of the connectors, controls, and indicators on the device.
Details about each item are in other sections of this document. Figure 8 shows the connectors on
the r-Series.
Figure 8 EX-5r connectors
Connector Overview
The primary user interfaces are shown in Figure 8. Table 1 provides details of the connectors.
Detailed pin structures for each connector are in Interface Connections on page 81.
Table 1 Connectors
Connector Description
GPS/RSL (1) Connection to (optional) external GPS antenna for network synchronization.
(2) Antenna alignment RSL voltage (during installation)
T1/E1 2&4 Ports for up to two user T1 or E1 circuits to traverse link, port numbers 2 and 4
T1/E1 1&3 Ports for up to two user T1 or E1 circuits to traverse link, port numbers 1 and 3
Power/Ethernet Connected cables traverse to the power injector (Data+Power side), and provide the following
functions:
• Primary ports for user Ethernet data (10BaseT or 100BaseT) to traverse link
• DC power from power injector
(Ground) Threaded (M5) receptacle
Note: Use a connector cover on all unused connectors for weatherproofing.
The connector covers are included in the accessory kit. Use a safety ring on each
connector to secure the connector covers.
GPS/RSL
T1/E1 2&4
T1/E1 1&3
POWER/ETHERNET

Exalt Communications, Inc.
r-series Installation and Management Manual
5000007 (ETSI) 20
2007-06-28
LED Indicators
Table 2 provides details of the LED indicators on the r-Series radios. Note that there are two
LEDs, labeled top and bottom, associated with each connector. See Alarms Page on page 54 for
information on how the Exalt GUI displays LED status.
Table 2 LED indicators
Location Type Function
T1/E1 2&4
Top Green LED Solid when T1 clocking is present for input #2.
T1/E1 2&4
Bottom Green LED Solid when T1 clocking is present for input #4.
T1/E1 1&3
Top Green LED Solid when T1 clocking is present for input #1.
T1/E1 1&3
Bottom Green LED Solid when T1 clocking is present for input #3.
GPS/RSL
Top Green LED (Future implementation)
GPS/RSL
Bottom Green LED (Future implementation)
Power/Ethernet
Top Green LED Solid when proper power is applied.
Power/Ethernet
Bottom Green LED (Future implementation)
Power Injector
DATA+POWER
Left Green LED Solid when no alarm conditions are present.
Flashing when in alarm condition.
While RESET button is pressed:
Solid when in major alarm condition (traffic affecting).
Flashing when in minor alarm condition (not traffic affecting).
Off when no alarm conditions are present.
DATA+POWER
Right Green LED Solid when proper power is applied.
During boot up, the DATA+POWER left LED on the power injector is solid green for
approximately 30 seconds, and then turns off briefly. The antenna alignment buzzer then
activates for approximately two seconds, and then the LED flashes once. After boot up

Exalt Communications, Inc.
r-series Installation and Management Manual
5000007 (ETSI) 21
2007-06-28
completes, the LED is solid when no alarm conditions are present, and flashes continuously if
alarms conditions are detected. The LED remains in this state until another boot up or until alarm
conditions change.
RESET Button
There is only one external control on the r-Series system, a button labeled “RESET” which is
located on the Power Injector. This button performs two functions: critical system parameter
reset and summary alarm information.
Use the reset function if the IP address and/or passwords are lost. Use the following steps to
perform a critical parameter reset:
1. Remove power from the radio by disconnecting the AC adapter from the power injector.
2. Hold down RESET button on the power injector while applying power.
Hold the RESET button down through the whole power cycle and monitor the
DATA+POWER left LED on the power injector. Release the RESET button only after the
LED is in the steady state (45 to 60 seconds).
3. Release the RESET button.
The following configurations are reset on the radio:
• IP address = 10.0.0.1
• IP mask = 255.0.0.0
• IP gateway = 0.0.0.0
• Administration password = password
• User password = password
• Endpoint Identifier = Radio B
A flashing left DATA+POWER LED on the power injector indicates that alarm conditions exist
on the radio. To access summary alarm information during normal operation, press and hold the
RESET button. The following is status for the left the DATA+POWER LED while holding the
RESET:
• Solid on is a link alarm (link is down or errored)
• Flashing indicates a minor alarm (does not affect traffic)
Power
The radio requires a DC power source within specifications. DC can be provided from a DC
battery source, central lab/rack supply, or from the supplied AC adapter.
Note: Read this section completely before applying power.

Exalt Communications, Inc.
r-series Installation and Management Manual
5000007 (ETSI) 22
2007-06-28
Terminating the RF Connectors r-(x)c Series models only)
Before applying power, the RF connectors must be properly terminated into a 50-Ohm load. If
this is not performed, the radio may be damaged by simply applying power. Also, there are
human safety factors to consider regarding potentially harmful RF radiation.
The following lists a few simple ways to achieve proper termination:
• Connect a 50-Ohm coaxial termination device to the RF port of the radio. The termination
must be rated to 1W (or more). Example(s) include:
¶ Broadwave Technologies P/N 552-200-002, or similar
• Connect the complete transmission system. That is, the RF cabling including the antenna.
The cabled antenna provides a proper termination for the RF output.
• Connect a fixed (or a series of fixed) 50-Ohm attenuator(s) to the RF connector, either
directly or at the end of an RF transmission line. The attenuator must be at least 30dB as
specified at the operating frequency and rated for a minimum of 1W input power. Examples
include:
¶ Broadwave Technologies P/N 352-103-xxx
¶ Bird 2-A-MFN-xx
¶ JFW Industries 50FP-xxx-H6-N
Cover any unused connector with the connector cap and apply the weather-seal tape. Both cap
and tape are included in the accessory kit.
AC Power
The AC adapter easily connects to the power injector. Refer to the input voltage requirements
stated on the label affixed to the adapter to ensure that the adapter can be used with the AC
mains supply.
The AC plug outlet provided with the adapter may need to be replaced to match the country
configuration. The adapter cable uses a standard connector for this cable for use of a pre-wired
cable appropriate to the outlet configuration. If the appropriate cable is not available, the existing
AC plug end can be severed and a replacement plug affixed. Consult a qualified electrician for
this activity.
Do not plug the adapter into the mains power. First, verify that the RF connector is properly
terminated (see Power on page 21), and then plug in the radio-side connector from the AC
adapter to the radio. If the AC mains can be turned off using a switch, disable the power, plug the
AC side of the adapter into the AC mains socket, and then enable power to the circuit. If the AC
mains cannot be turned off, plug in to the AC main socket to apply power.
Verify that the radio is active by observing LED activity on the injector and radio. All LEDs on
the radio flash at initial power cycle.
Exalt strongly recommends that the AC mains supply be fused or on a separate breaker to ensure
against over-voltage and/or over-current situations and to provide some form of protection to the
radio electronics and other devices connected to the same supply. In addition, if the AC power is

Exalt Communications, Inc.
r-series Installation and Management Manual
5000007 (ETSI) 23
2007-06-28
subject to significant spikes or variation, power conditioning is a worthwhile investment, as the
quality of mains power may have a direct impact on the device operation, performance and/or
reliability. An Uninterruptible Power Source (UPS) or other form of battery-backed system
protects against brown-out and black-out conditions, and condition the power presented to the
adapter.
Evaluate the opportunity for lightning or other similar surges to be present on the powering
system, including the ability for surges to couple to the power wiring system. If an evaluation
indicates that there is a potential likelihood for these conditions to occur, additional surge
protection is recommended for the input power wiring, especially to protect the radio electronics
between the adapter and the radio’s DC input connector.
The above statement is similarly true for every wired connection to the device. While the
configuration for surge suppression or line conditioning is of a different type for each kind of
signal interface, the opportunity for damage to the device, loss of communications and property
is significant. In some cases, there can also be a risk to human life by not protecting against
lightning entering a building through wiring or improper grounding. If you do not have
experience in this type of installation practice, consult a qualified electrician and/or telecoms
professional during the installation and wiring of the equipment.
Power Injector
The r-Series uses a power injector to send DC power to the radio over the CAT5 cable, and
including the Ethernet connections. Figure 9 shows the power injector connectors that connect
the AC adapter (included with the system) and the radio.
Figure 9 Power injector connectors
Connect the network Ethernet connection to the DATA connection of the power injector.
Connect the cable for the radio to the DATA+POWER connection of the power injector.
Ground the power injector using the grounding receptacle. The injector can also be mounted to a
wall using the bottom panel brackets. For proper safety, the ground source should be the same as
that used for AC power ground into the included AC adapter.

Exalt Communications, Inc.
r-series Installation and Management Manual
5000007 (ETSI) 24
2007-06-28
Reset to Critical Factory Settings
If necessary, the radio terminal may be reset to critical factory settings. This may be necessary if
the IP address and/or passwords for the system are not known. All other configurations are left at
their current settings. If a complete default factory configuration is desired, load the Default
Configuration File into the system, as described in System Configuration Page on page 40.
The following parameters are configured after a reset to critical factory settings:
• IP Address = 10.0.0.1
• IP Mask = 255.0.0.0
• IP Gateway = 0.0.0.0
• Administration password = password
• User password = password
See Radio Reset on page 12 for instructions on performing a reset to critical factory settings.
Antenna/Transmission System
This section provides general guidance to the mounting and connecting of the RF transmission
system, consisting of the antenna, RF cabling, and RF lightning arrestors. Consult the
manufacturer’s instructions for proper mounting, grounding, and wiring of these devices, and for
definitive direction. These manufacturer’s instructions supersede any information in this section.
The antennas permitted are identified in Table 10.
Initial Antenna Mounting r-(x)c Series models only)
The antenna must be an exact model recommended by the path and site planning engineer(s).
Mount the antenna at the proper height, mast/mounting location and polarization orientation as
determined by the path and site planning engineer(s). The model type, location, and orientation
of the antenna is critical with respect to achieving proper path clearance, as well as to mitigate
external or self-interference from nearby or collocated systems operating in or near the same
frequency band.
Warning: Mount the antenna in a restricted area and in a manner
preventing long-term human exposure to the transmitted RF energy. To comply
with FCC and Industry Canada regulations, the minimum safe distance from the
antenna for continuous human exposure is 10'/3m.
The antenna structure must be secure and safe with respect to the mounting of the antenna,
transmission system weight, radio housing, and the combined weight of any personnel that may
climb or attach to the structure.
The combined weight of items and forces on the structure must be carefully considered in the
design and construction of the structure. This must include the weight bearing on the structure in
the highest wind conditions possible in the region, and with respect to all objects affixed to the
structure.

Exalt Communications, Inc.
r-series Installation and Management Manual
5000007 (ETSI) 25
2007-06-28
If additional objects are affixed to the structure in the future, it may be important to evaluate both
the mechanical impact of these planned additions (with respect to wind and weight loading), as
well as the potential impact to RF interference and frequency coordination (if additional radio
equipment is anticipated). This is especially important if future equipment is likely to operate
within the same frequency band.
Once the antenna is mounted, cabled, and aligned, your goal is to never require modification.
This prior planning is important in the path and site planning stages and in construction of the
antenna structure.
Follow the antenna manufacturer’s instructions for mechanical mounting of the antenna. Ensure
that there is enough room around the antenna for alignment activities (moving the antenna in
vertical and horizontal arcs), and for the RF transmission line to connect to the antenna connector
unobstructed and within the specified bend radius requirements of the transmission line.
At this point, the antenna mounts should be fully secure to the structure, the feed of the antenna
securely mounted to the antenna (if the feed is a separate assembly), and the azimuth and
elevation adjustments not completely tightened in preparation of the antenna alignment activity.
It is a good practice to connect the transmission line to the antenna connector as early in the
process as possible, to reduce the opportunity for debris or moisture to enter either the antenna
connector or the transmission line connector. Use a connector cover or other temporary measures
to ensure that the connector is kept clear. Take extra care if the antenna is installed during
inclement weather to ensure that no moisture gets inside the antenna connector at any time.
Now the antenna can be aimed in the general direction required for the link. Use a compass, a
reference bearing, binoculars or any other similar device to point the antenna in the direction
(generally) of the far end radio, and then slightly tighten the azimuth and elevation adjustments
so that the antenna maintains its general position and is safe to be left without additional
securing. Refer to the Exalt white paper, Antenna Alignment, for more information on antenna
alignment techniques.
Transmission Line from Antenna to Radio r-(x)c Series models only
Most installations use a very short length of coaxial transmission line for the connection between
the antenna and the radio device. Coaxial transmission line can either have a solid or braided
shield. Solid-shield cables are more resistant to external signal coupling and interference, but are
generally stiffer than braided cables. Consult the path or site engineer(s) to ensure that the proper
materials are chosen for the installation and that all factors were considered.
Generally, the larger the diameter of the transmission line, the lower the loss. So for longer runs
of transmission line, larger diameter cables are highly advised. However, at every frequency,
there is a maximum diameter cable that supports the operating frequency. Verify the
specifications. This should is determined in the path and site planning process.
Table 3 lists representative samples of transmission line types recommended for the Exalt Digital
Microwave Radio.
Table 3 Recommended transmission line
Manufacturer Type Description Loss at 4.9GHz Loss at 5.3GHz Loss at 5.8GHz

Exalt Communications, Inc.
r-series Installation and Management Manual
5000007 (ETSI) 26
2007-06-28
Manufacturer Type Description Loss at 4.9GHz Loss at 5.3GHz Loss at 5.8GHz
Andrew LDF4-50 1/2-inch solid shield
5.6dB/100ft. 5.7dB/100' 6.0dB/100'
Andrew LDF4.5-50 5/8-inch solid shield
4.3dB/100ft. 4.4dB/100' 4.7dB/100'
Times LMR-600 1/2-inch braided shield
6.8dB/100ft. 6.9dB/100' 7.3dB/100'
Times LMR-900 5/8-inch braided shield
4.5dB/100ft. 4.6dB/100' 4.9dB/100'
RFS LCF12-50J 1/2-inch solid shield
5.5dB/100ft. 5.6dB/100' 5.9dB/100'
RFS LCF12-58J 5/8-inch solid shield
4.4dB/100ft. 4.5dB/100' 4.8dB/100'
It is critical that the transmission line and antenna be capable of supporting the same type of
connector, or easily adapted. It can be important to minimize the number of connectors and
adapters, and it is ideal that they match directly without adaptation. In most cases, transmission
line allows for N-type male connectors and antennas have N-type female connectors.
If possible, connect the primary transmission line directly to the antenna. It is desired to have the
fewest possible pieces of transmission line in the system, to minimize losses and points of failure
from connectors. The antenna can typically accommodate a direct connection if planned in
advance. Use a 90º adapter for the connection to the antenna, if necessary, but confirm that all
connectors and transmission lines are properly specified for the operating frequency with
minimum loss, proper impedance (50 Ohm) and proper VSWR characteristics.
Transmission line connector termination is a critical element of the installation. Many ‘factory
built’ RF transmission lines do not provide the proper characteristics for proper transmission,
despite their published specifications, often due to the fully or semi-automated process of factory
termination, which may not have considered the frequency of your system. When buying pre-
terminated transmission line, it is strongly advised to obtain the documentation of test
measurements on the connected transmission line showing that the loss characteristics and
VSWR are within the specified limits specifically at your operating frequency. In addition to
factory-built transmission line, self-terminated transmission line can suffer the same issues.
Caution: Always follow the manufacturer’s termination process EXACTLY,
and only use the manufacturer’s authorized tools and connectors for a given
transmission line type.
The manufacturers of transmission line typically offer instruction and certification for
transmission line termination, and may also provide videos illustrating the process. There is no
amount of extra care, education, precision, and effort that can be overstated for this process.
There is often a need for a small excess of transmission line near the antenna to accommodate
both the need for extra slack as the antenna is loosened and moved for the alignment process, and
to accommodate a drip loop for the transmission line and the initial transmission line securing
hardware and grounding near the antenna. In addition, the transmission line is typically very
stiff, and can provide undue pulling force on the antenna or radio connector. Take care to align
the cable with the connector so that it does not provide any torque or strain on the connector.
Exalt Communications, Inc.
r-series Installation and Management Manual
5000007 (ETSI) 27
2007-06-28
Consult your transmission line manufacturer for the proper transportation, hoisting, securing, and
grounding process. Always be very mindful of the entire length of transmission line to ensure
that the transmission line is never twisted, kinked, or over-bent beyond the specified bend radius.
Once a transmission line is over-bent or kinked, it will likely never recover its specified
characteristics, even after straightening, and will often be completely unusable.
The opposite end of this primary transmission line typically terminates at the radio connector. If
using a long transmission line (in excess of 3'/1m), an RF lightning arrestor is recommended to
protect the radio equipment.
As soon as practical, weatherproof the connected ends of the transmission line to the antenna and
lightning arrestor and radio. This process should be delayed as long as possible to ensure that all
systems are working properly before applying the weatherproofing. Once weatherproofing is
applied, it may have to be removed for testing or installation modification. With this in mind, if
the installation is occurring during inclement weather, take extra care at all times to ensure that
no moisture enters any connector at any time. If moisture is suspected to have compromised the
antenna or transmission line, it may render those devices useless without any means for remedy
except for full replacement.
Cap and weatherproof the second antenna connector on the radio if using a single-polarity
antenna.
Indoor Mounting
On rare occasions the antenna can be mounted indoors behind a window. In these cases, there
would not be a need for drip loops or an RF lightning arrestor. Use a very short transmission line
connected directly between the antenna and the radio mounted nearby. The weatherproofing
process can also be omitted.
RF Lightning Arrestor
RF lightning arrestors provide a direct path to ground for lightning strikes that may couple to or
directly hit the outdoor transmission system or antenna structure. The RF lightning arrestor
prevents any associated voltage and current from entering the radio equipment, other equipment,
or humans.
The following lightning arrestors are examples of proper devices for Exalt Digital Microwave
Radios:
• Polyphaser AL-LSXM
• Andrew BB-BNFNFE-26
Mount and ground the RF lightning arrestor in accordance to the manufacturer’s
recommendations. Place it as close as possible to the radio equipment. Minimize the distance to
the radio to lessen the opportunity for lightning to couple to or strike the unprotected section of
transmission line (if any). Consult a qualified electrician or installer in all cases of grounding and
lightning arrestor implementation.

Exalt Communications, Inc.
r-series Installation and Management Manual
5000007 (ETSI) 28
2007-06-28
Antenna Alignment
Antennas must be installed at both ends of the planned link to commence precision alignment.
Refer to the Exalt white paper, Antenna Alignment. The r-Series has an integrated antenna.
Antennas are typically aligned using the radio hardware for precise alignment. However, there
are many very useful tools available to aid in this process, inclusive of devices specifically
designed for the purpose of aligning antennas. Some examples are:
• XL Microwave Path Align-R
• Teletronics 17-402
Use of these devices may be extremely advantageous as compared to using the radio, because
they employ many unique facilities to aid in this process. Using these tools also makes it possible
to align the antennas before the radio equipment is delivered. However, many installers
successfully use the radios as the means for antenna alignment.
The following are the primary facilities when using the radio to align the antenna:
• RSL voltage connection using a volt meter (recommended)
Insert the included adapter into the GPS connector on the radio housing and the opposite end
connected to a volt meter.
The RSL test point DC voltage is inversely proportional and numerically calibrated to the
received signal level. The voltage rises as the antennas are less in alignment, and falls as
antennas are more in alignment. The voltage measurement corresponds to the received signal
level in measurements of dBm (a negative number for RSL measurements). For example, an
RSL of -60dBm yields an RSL voltage measurement of 0.60VDC; an RSL of -45dBm
measures 0.45VDC.
• Audio alignment buzzer
Enable the audio alignment buzzer through the Exalt GUI. When enabled, the radio enclosure
emits a sound. The pitch rises when higher (better) levels of RSL are achieved. Align the
antennas until the highest pitch is accomplished. The tone is continuous when the two ends of
the radio system are in communication. Otherwise, the buzzer beeps.
• Exalt GUI RSL reading indicates the current RSL in dBm.
Note: There is a slight delay in RSL readings in the GUI as the RSL levels
change. In this case, fine alignment can be done in small adjustments allowing a
small gap of time so that the impact of the adjustment on the GUI display catches
up to real time.
Note: Only use the browser-based GUI for antenna alignment if there are no
other means available. If this method is required, refer to Exalt Graphical User
Interface (GUI) on page 31. The RSL reading can be read on a PC or any
Exalt Communications, Inc.
r-series Installation and Management Manual
5000007 (ETSI) 29
2007-06-28
handheld computing device that supports an HTML browser and Ethernet
connectivity.

Exalt Communications, Inc.
r-series Installation and Management Manual
5000007 (ETSI) 30
2007-06-28
Configuration and Management
This section describes the command line interface (CLI) and Exalt graphical user interface
(GUI).
Telnet into the Command Line Interface (CLI)
Use a Telnet connection to access the CLI in the Exalt Digital Microwave Radios. Use the CLI to
set key parameters on the system.
Connect to the Radio in a Telnet Session
Make the Telnet connection to the radio through the Ethernet port. Use Windows and perform
the following steps:
1. Open a command prompt or MS-DOS prompt (Start>Run).
2. Type C:\>Telnet <IP Address> at the command line:
The default IP address is 10.0.0.1
Note: The accessing computer must be on the same IP subnet as the radio.
Telnet
Use Telnet when prompted to enter the administration level login and password. The default
administration login is admin and password is password. It is recommended that the default
administration password be reset by performing a radio reset (see Reset to Critical Factory
Settings on page 24).
Figure 10 shows the three menu choices available after log in.
Figure 10 CLI main menu
Select 1 or 2 to display the Configuration or Status menus, respectively. Select 3 to exit the
session. The following selections can be made on all screens:
• 0 = back to previous screen
• 9 = help

Exalt Communications, Inc.
r-series Installation and Management Manual
5000007 (ETSI) 31
2007-06-28
• Ctrl+\ (control and backslash keys) = exit session
The following depicts the complete tree structure:
1. Radio information
2. Configuration
a. Current IP settings
b. Current system configuration
c. Set IP address and mask (admin only)
d. Set IP default gateway (admin only)
e. Administration (admin only)
– System time and date
– System reboot
– Password
– File transfer
– File activation
3. Status
¶ Alarm summary
¶ Radio alarm
¶ Radio status
¶ Radio performance
¶ Radio performance reset (admin only)
4. Exit
Exalt Graphical User Interface (GUI)
The Exalt GUI is the primary user interface for configuring and troubleshooting the radio and
radio system. A computer or hand-held device with a conventional HTML browser and Ethernet
port is required. Microsoft Internet Explorer is the preferred browser. Netscape, Mozilla, and
Firefox are also supported.
Preparing to Connect
If the radios are new, both radios are preconfigured as Radio B, and have the same IP address.
The initial priority is to configure one radio to Radio A and assign different IP addresses, unique
to each radio.
There are two ways to change the IP address:
1. Reset the radio to the critical default factory settings (see Radio Reset on page 12)

Exalt Communications, Inc.
r-series Installation and Management Manual
5000007 (ETSI) 32
2007-06-28
2. Connect to the GUI using the default IP address (10.0.0.1), and change the IP address
through the GUI interface.
Note: To connect to the radio’s Ethernet port and use the GUI interface, the
accessing computer must match the radio’s IP address subnet. It is therefore
necessary to either change the radio’s IP address through the CLI to match the
subnet of the computer, or change the computer’s IP address to match the subnet
of the radio (such as, a computer IP address of 10.0.0.10 if trying to connect to a
radio set to the factory default IP address of 10.0.0.1).
To configure a radio as Radio A, connect to the GUI and change the configuration, as discussed
in this section.
Make Connections
It is recommended that one radio at a time be configured, on a bench, before taking the radios to
the field for installation:
• (EX-5r-(x)c only) Terminate the RF connector with a 50-Ohm termination or a fixed
attenuator of at least 20dB (see Terminating the RF Connector on page 22).
• Apply power to the radio (see Power on page 21).
Note: Do not connect the radios in a back-to-back configuration. If the radios
are set to their factory default settings, both radios are configured as Radio B and
cannot communicate. Both radios also have the same IP address, which causes IP
address conflicts.
Note: The IP address subnet of the accessing computer must match the radio’s
IP address subnet to connect using Ethernet (see Preparing to Connect).
Once connected to the radio using Ethernet, log in to the Exalt GUI.
Log In
Use the following steps to log in to the Exalt GUI.
1. Open a browser window.
Microsoft Internet Explorer is the recommended browser. Netscape, Mozilla, and Firefox
are also supported. If there are issues with your browser, please report it to Exalt Customer
Care. You may be required to use a different browser to immediately overcome issues.
2. Type the IP address of the radio in the address bar.

Exalt Communications, Inc.
r-series Installation and Management Manual
5000007 (ETSI) 33
2007-06-28
Figure 11 Initiating the browser connection
The following window displays after pressing the Enter key or clicking the Go button in
the browser window.
Figure 12 Browser Login screen
Login Privileges
There are two levels of login privileges:
• Administrator (admin) – assigned complete permissions to view, edit, and configure
• User (user) – assigned limited, view-only permissions with no edit or configuration rights
The default login names and passwords are as follows:
Table 4 Default login information
Privilege level User name Default password
Administrator admin password
User user password
Administrator login credentials are required for configuration purposes. Type the user name and
passwords for Administrator level and click OK. The following screen displays.

Exalt Communications, Inc.
r-series Installation and Management Manual
5000007 (ETSI) 34
2007-06-28
Figure 13 Radio Information page
Quick-Start
To establish a link on the bench, apply the following basic configurations to the radio terminal.
Use the steps in the Quick Start Guide included with the radio. A summary of the items that
need to be configured are:
• Radio IP address for each end.
¶ Each end must have a different IP address and cannot match the accessing computer’s IP
address or any address assigned if radios are part of a larger network.
¶ It may be required to change the IP address of the accessing computer after changing the
IP address of the radio so that the IP subnet matches.
¶ The radio IP address is listed on the Administration Settings page.
• Set one radio as Radio A.
¶ The radio selected as Radio A must be configured.
¶ Radio A/B selection is the Endpoint Identifier parameter on the System Configuration
page.
¶ Even though both radios are set as Radio B by default, confirm this configuration on the
radio intended to be Radio B.

Exalt Communications, Inc.
r-series Installation and Management Manual
5000007 (ETSI) 35
2007-06-28
If all other parameters are still configured at their factory default settings, the radios can now be
connected back-to-back to verify that the link is communicating and perform any other desired
tests. See Back-to-back Bench Testing on page 77 for test information.
Navigating the GUI describes each page of the GUI. Most configuration parameter settings are
intuitive. The following link parameters must match at both ends for the link to communicate:
• Link Security Key (Administration Settings page)
• Bandwidth (System Configuration page)
• RF Frequency (System Configuration page)
• Link Distance (System Configuration page)
• TDD Frame Size (System Configuration page)
Note: Changing any of these parameters causes a temporary loss of link. The
GUI displays a warning and provides an opportunity to cancel changes.
Navigating the GUI
The GUI provides the primary interface for all configuration and management. There are three
sections of the main GUI window:
• Summary status information section (upper-left corner)
• Navigation panel
• Main window
Figure 14 Exalt GUI window description
Summary Status Section
This section of the Exalt GUI provides a review of the system status.
MAIN WINDOW
NAVIGATION
PANEL
SUMMARY
STATUS

Exalt Communications, Inc.
r-series Installation and Management Manual
5000007 (ETSI) 36
2007-06-28
In the screens in Figure 15, the top bar illustrates the alarm condition of the link. The information
inside the bar is equivalent to the entry of the Link Name set by the administrator in the
Administration Settings page (see Administration Settings Page on page 38).
The color of the panel indicates alarm status:
• Green indicates the system is communicating and all functions are normal
• Yellow indicates a minor non-traffic affecting alarm condition
• Red indicates a major traffic affecting alarm condition
The left panel summarizes the alarm conditions of the local radio (the radio that matches the IP
address). The information displayed is the IP address and the endpoint identifier (Radio A or
Radio B). The right panel summarizes the alarm conditions of the remote radio (the radio linked
to the local radio).
Note: The ‘local’ radio might be the near-end or the far-end radio,
depending on the management interface connection. The terms local and remote
refer to the orientation of the radio terminals relative to the IP address you are
managing. When making certain changes to a near-end radio without first making
changes to the far-end radio, the link may become disconnected unless
configuration changes are reverted to their original settings. When making
changes that may disrupt the link, always change the far-end radio first, and
then the near-end radio to match.
The Summary Status Section allows the Exalt GUI to be a rudimentary management system.
Minimize the browser window to display just the top bar or the top bar and radio information,
and open several browsers on the desktop. When a window status changes to yellow or red, you
can quickly maximize that window to determine the issues.
Figure 15 Summary status information
Navigation Panel
In the navigation panel, pages with sub-pages have a plus (+) to the left of the page link. Click
the plus sign or page name title to view sub-page titles. The pages can be collapsed to hide the
sub-pages when a minus (–) sign appears to the left of the page link.

Exalt Communications, Inc.
r-series Installation and Management Manual
5000007 (ETSI) 37
2007-06-28
Management pages are indicated with an X to the left of the page name. Click the X or page
name to display the page within the main window.
Radio Information Page
This page provides general information about the local radio terminal. This information is
helpful for troubleshooting and for record keeping.
Figure 16 Radio Information page

Exalt Communications, Inc.
r-series Installation and Management Manual
5000007 (ETSI) 38
2007-06-28
Administration Settings Page
This page allows contains general parameters for the radio system. The Current Value column
lists entries actual settings. Desired changes are entered in the New Value column.
After all desired changes are entered, click the Update button to accept and enable changes.
Figure 17 Administration Settings page
Most entries on this page are self-explanatory. The following lists unique or important
parameters.
• Fill in the date and time fields as soon as practical. Events are captured with time/date
stamps, which is valuable information for troubleshooting.
• Set the Link Security Key to something other than the factory default setting (12 characters,
all zeros) at each end. The link security key must match at both sides of the link. If the

Exalt Communications, Inc.
r-series Installation and Management Manual
5000007 (ETSI) 39
2007-06-28
security key remains at the factory setting, the radio link is open to sabotage by a party with
the same radio model. Each link should have a unique security key. If using the same security
key for every link in the network, the radio could link to any other radio with the same
security key. This is problematic in multi-radio networks.
¶ Note that the security key must be exactly 12 characters. Any printable ASCII character
can be used. The link security key is case sensitive.
Note: Changing the link security key interrupts transmission until the opposite
end is changed to match. Always change the far-end radio first, and then
change the near-end radio.
• Reset the admin and user passwords. These passwords should not match. If the admin
password remains at the factory default setting, it provides an opportunity for random
reassignment by a network-connected user.
¶ The new password must be entered twice: once in the main window and again in the
confirmation window. If the passwords do not match and the Update button clicked, the
password is not changed and remains set to the previous password.
• The License Key is set to all zeros. Enter the license key provided by Exalt to access
extended features or diagnostic capabilities. Click Update to accept the changes and enable
the new features. License keys are issued by radio serial number, so ensure that the license
key used was issued for this particular radio.

Exalt Communications, Inc.
r-series Installation and Management Manual
5000007 (ETSI) 40
2007-06-28
System Configuration Page
This page contains several critical system parameters.
Figure 18 System Configuration page
Most entries on this page are self-explanatory. The following lists unique or important
parameters.
• Set the Radio Transmit Power (dBm) parameter to the designed level. The professional
installer sets this value or dictates the value of this setting to the system administrator
following the system design and local regulations. In many cases, this value must be set to a
proper value to comply with legal restrictions. Improper values can result in liability to the
user and/or installer.

Exalt Communications, Inc.
r-series Installation and Management Manual
5000007 (ETSI) 41
2007-06-28
Note: Changing Radio Transmit Power may temporarily interrupt traffic.
Small changes in output power do not normally interrupt traffic, but larger
changes may.
¶ Do not adjust the Radio Transmit Power parameter to a value higher than is legally
allowed.
¶ Do not adjust the Radio Transmit Power parameter lower than the link budget and fade
margin can afford.
The link may be lost and unrecoverable through GUI control. If the link is lost due to
reduction of Radio Transmit Power, travel to the radio location(s) may be required to
reset the value.
• Set the Bandwidth (MHz) parameter to the designed level. The value of this is determined in
the design/engineering stage. The Bandwidth parameter must also match at both ends of the
link. In conjunction with the Mode parameter, the Bandwidth parameter directly relates to the
capacity, latency, and the number of TDM circuits supported. The transmitter and receiver
bandwidth are modified using this parameter, making it critical that it be set with respect to
the local RF noise and interference profile, and/or in relation to any multi-link network
design.
Note: Changing Bandwidth will temporarily interrupt traffic. The
Bandwidth parameter must match at each end. Adjust the far-end radio first,
and then the near-end radio. Changing Bandwidth changes the radio’s threshold.
A narrower bandwidth has better threshold performance and improved
interference immunity, therefore if changing to a wider bandwidth, there is an
opportunity that the link may be lost and unrecoverable through GUI control.
Check the available fade margin and interference profile to determine if the
impact to threshold and increased bandwidth is acceptable to maintain the link
and the desired performance. If the link is lost due to increasing the Bandwidth
parameter, travel to the radio location(s) may be required to reset the value.
• Set the Mode parameter to the designed selection. The value of this setting is determined in
the design/engineering stage. The Mode parameter must match at both ends of the link. In
conjunction with the Bandwidth parameter, the Mode parameter setting directly relates to the
capacity of the system, as well as critical RF parameters, including receiver threshold,
carrier-to-interference ratio, and in some cases, maximum radio transmit power.
Note: Changing Mode will temporarily interrupt traffic. The Mode setting
must match at each end. Adjust the far-end radio first, and then the near-end
radio. Changing Mode changes the radio’s threshold, carrier-to-interference ratio,
and also may have impact on the Radio Transmit Power. A lower mode has better
threshold performance and carrier-to-interference ratio, and in some cases, higher
output power, therefore if changing to a higher mode (for example, from Mode 1
to Mode 2), there is an opportunity that the link may be lost and unrecoverable
through GUI control. Check the available fade margin and interference profile,

Exalt Communications, Inc.
r-series Installation and Management Manual
5000007 (ETSI) 42
2007-06-28
and determine if the impact to RF performance is sufficient to maintain the link
and desired performance. If the link is lost due to increasing the Mode parameter,
travel to the radio location(s) may be required to reset the value.
• Set the RF Frequency (GHz) parameter to the designed point. The value of this setting is
determined in the design/engineering stage. RF Frequency must match at both ends of the
link. It may be critical to set RF Frequency with respect to the local RF noise and
interference profiles, and/or in relation to any multi-link network design.
The frequency selection section includes the ability to select from either the complete list of
frequencies (“All”) that can be tuned for the selected band and bandwidth, or a pre-selected
list of non-overlapping center frequencies (“Preferred”) that Exalt determined provides the
most flexible collocation opportunities for large networks of Exalt radios
The frequency selection section includes a band selection button that must be enabled for the
frequency band of operation for which the link was engineered. In some cases, some bands
may not be selectable due to regulatory constraints.
Note: Changing RF Frequency will temporarily interrupt traffic. The RF
Frequency parameter setting must match at each end. Adjust the far-end radio
first, and then the near-end radio. If the RF Frequency parameter is changed to a
frequency with interference, the link may be lost and unrecoverable through GUI
control. If the link is lost due to changing the RF Frequency parameter, travel to
the radio location(s) may be required to reset the value.
• Set the Endpoint Identifier so that one end of the link is set to Radio A and the opposite end
set to Radio B. In single-link networks, it is unimportant which end is designated A or B. In
multi-link networks, however, it may be important to orient the links so that at any
collocation site (where there are multiple radios of the same type at the same site), all radios
are set to the same Endpoint Identifier (A or B). See Link Orientation and Synchronization
on page 11.
Note: Changing Endpoint Identifier parameter requires a reboot of the radio to
take effect. The reboot temporarily interrupts traffic.
• Set the Link Distance (miles) parameter to the range that is equal to or greater than the actual
link distance. The value of this setting is determined in the design/engineering stage.
Note: Changing Link Distance parameter will temporarily interrupt
traffic. The Link Distance setting must match at each end and must not be less
than the actual link distance. Adjust the far-end radio first, and then the near-end
radio. If the Link Distance parameter is changed to a setting less than the actual
distance, the link may be lost and unrecoverable through GUI control. If the link
is lost due to this situation, travel to the radio location(s) may be required to reset
the value. If the Link Distance parameter setting is set to a distance unnecessarily
higher than the actual link distance, the radio may have substantially reduced
performance with respect to throughput and latency.

Exalt Communications, Inc.
r-series Installation and Management Manual
5000007 (ETSI) 43
2007-06-28
• Set the TDD Frame Size (ms) parameter to the designed level. The value of this setting is
determined in the design/engineering stage. The TDD Frame Size parameter must match at
both ends of the link. The TDD Frame Size parameter setting directly relates to the capacity,
latency, and number of TDM circuits that can be supported over the given link distance. In
multi-link networks, especially where there are collocated links, it is also important to set all
radios to the same TDD Frame Size setting to avoid self-interference. Future enhancement:
The GPS or internal sync function may be necessary for these networks. See Time Division
Duplex (TDD) Factors and Link Orientation and Synchronization for more information.
Note: Changing the TDD Frame Size parameter will temporarily
interrupt traffic. TDD Frame Size parameters must match at each end.
Adjust the far-end radio first, and then the near-end radio. If the TDD Frame Size
parameter is set to a value that cannot be supported for the link distance, the link
may be lost and unrecoverable through GUI control. If the link is lost due to this
situation, travel to the radio location(s) may be required to reset the value.
• Antenna Port parameter
¶ r-c Series only: The antenna port selection allows selection of either the A or B connector
on the front face of the radio housing. Only set this parameter if using a dual-polarized
antenna or two separate antennas.
¶ r-Series only: The antenna port selection toggles between the vertically and horizontally
polarized integrated antennas. Ensure that both link ends match polarization.
Note: Changing antenna port will temporarily interrupt traffic. The
polarization of the antennas at each end must match at each end – adjust the far-
end radio first, then the near-end radio.
• Buzzer Timeout (minutes) parameter creates an audio signal for antenna alignment. Turn on
the buzzer continuously during antenna alignment or preset a period of time that the buzzer
will sound. If the buzzer stops before alignment activities are complete, change the selection
and press the Update button or select the ON option until alignment activities are complete.

Exalt Communications, Inc.
r-series Installation and Management Manual
5000007 (ETSI) 44
2007-06-28
Ethernet Interface Configuration Page
This page allows the administrator to set the alarm, and duplex settings of the Ethernet
connection.
Figure 19 Ethernet Interface Configuration page
To ignore Ethernet alarms, disable the alarming of the MAIN connector.
Set the Ethernet interfaces on the radio and connected equipment to 100/full-duplex for best
performance. If the Ethernet ports are set to auto-negotiation, poor throughput performance may
be a result, as well as intermittent disconnections of the Ethernet connection.

Exalt Communications, Inc.
r-series Installation and Management Manual
5000007 (ETSI) 45
2007-06-28
T1/E1 Configuration Pages
These pages allow the administrator to selectively enable or disable the T1 or E1 circuits, one at
a time. For enabled T1/E1 circuits, additional configuration, including loopback functions, are
available. Disable the unused T1 or E1 so that the alarms are turned off and more throughput is
allocated to the Ethernet interface. Every enabled T1 or E1 input, even if there is no T1 or E1
signal present, reduces the aggregate throughput of the Ethernet interface by roughly 3Mbps (for
T1) or 4Mbps (for E1).
This page toggles between T1 and E1, as required, by clicking the Set to T1 or Set to E1 button.
A warning displays that a reboot is necessary, and the radio reboots if the administrator
continues. This will interrupt traffic. It may be necessary to re-login to the radio after the reboot
completes. T1/E1 mode self-coordinates across the link if the link is active. This means that it
only needs to be set while connected at one end. In addition, enabling and disabling T1/E1
circuits also self-coordinates across the link if the link is active. If a link is not active and T1/E1
enabling is a mismatch when a link is first created, the Radio A configuration for T1/E1 enabling
supersedes the settings on the Radio B configuration, and changes the settings on Radio B.
Note: Certain combinations of the TDD Frame Size, Link Distance, Mode,
and Bandwidth parameter settings limit the number of T1/E1 circuits that can be
carried by the radio. In these cases, certain fields on the T1/E1 Interface
Configuration pages are not available, starting with the highest port number. For
example, for a 4x T1/E1 radio version, if only three (3) circuits can be carried,
port 4 is not available for configuration and is disabled. If only two circuits can be
carried, both ports 3 and 4 are not available. Increasing the TDD frame size and
Mode parameters, and/or increasing the Bandwidth parameter results in an
increase in the supported number of T1/E1 circuits. For ‘-16’models, the highest
number channels that are configurable (based on the currently installed license
key) are disabled if they cannot be supported with the current settings.

Exalt Communications, Inc.
r-series Installation and Management Manual
5000007 (ETSI) 46
2007-06-28
T1 Interface Configuration Page
This page allows the administrator to enable/disable each individual T1 channel, set the Line
Build Out (LBO), Line Code (either AMI or B8ZS), and AIS enabling/disabling for each input.
If enabled, the radio places an AIS code on the output of the associated interface if and when the
link fails or when there is no T1 signal available from the far end to provide the user at the local
end. Loopback controls are also provided (see T1/E1 Loopback on page 47).
Figure 20 T1 Interface Configuration page

Exalt Communications, Inc.
r-series Installation and Management Manual
5000007 (ETSI) 47
2007-06-28
E1 Interface Configuration Page
This page allows the administrator to enable/disable each individual E1 channel. The AIS can
also be enabled and disabled for each input. If enabled, the radio places an AIS code on the
output of the associated interface if and when the link fails or when there is no E1 signal
available from the far end to provide the user at the local end. Loopback controls are also
provided (see T1/E1 Loopback).
Figure 21 E1 Interface Configuration page
T1/E1 Loopback
Loopback is provided for any enabled T1 or E1 port. As shown in Figure 22 and Figure 23, the
choices are:
• No Loopback (default)
• External (local)
• External (remote)
• Internal
Note: Only one Internal loopback can be enabled at any time.
All loopback configurations control the loop at the Line Interface integrated circuit, which is the
device wired directly to the front panel ports.

Exalt Communications, Inc.
r-series Installation and Management Manual
5000007 (ETSI) 48
2007-06-28
External loopback modes are used in conjunction with an external test source. The designation of
‘local’ or ‘remote’ refers to where the loopback is occurring relative to the location where the
loopback is implemented. That is, on the radio being accessed, if External (remote) is selected,
this loops the signal back at the remote radio interface back towards the local radio. Likewise, if
External (local) is selected, the signal loops back at the local interface towards the remote radio
(Figure 22 and Figure 23).
Figure 22 External (remote) loopback
Figure 23 External (local) loopback
When a local T1/E1 port is configured for External (remote) loopback, it is the same as
configuring the remote radio for External (local) loopback.
Internal loopback uses an internal test source, and sends the test source signal across the link,
looped at the remote radio’s interface, returned to the local radio, and looped at the local radio’s
interface back to the source. The inputs at both ends are looped back at the line level. Figure 24
illustrates the internal loopback function.
Figure 24 Internal loopback
LOCAL REMOTE
IN
OUT OUT
IN
LOCAL REMOTE
IN
OUT OUT
IN
LOCAL REMOTE
IN
OUT OUT
IN

Exalt Communications, Inc.
r-series Installation and Management Manual
5000007 (ETSI) 49
2007-06-28
File Transfer Page
This page allows the administrator to upload and download files to and from the radio. Two
types of files can be uploaded: configuration and radio firmware. When uploading
Configuration Files, current configuration parameters are immediately overwritten, and
the unit automatically reboots. When uploading radio firmware files, the file is placed into
reserve memory space. After the new radio firmware file uploads, use the File Activation page to
enable the files (see File Activation Page on page 52).
Up to three types of files can be downloaded: configuration, radio firmware, and MIB. The MIB
file refers to the Management Information Base related to the Simple Network Management
Protocol (SNMP) function, and is only available on models which support SNMP. See Simple
Network Management Protocol (SNMP) on page 53 for more information.
Note: Check the File Activation page before uploading radio firmware files.
New file uploads overwrite the secondary file location. If important files reside in
the primary or secondary file location, download them before uploading the new
files. Only the active radio firmware file can be downloaded. Therefore, to
download the reserve file, it must first be activated (using the Swap button). See
File Activation Page on page 52.
Figure 25 File Transfer page

Exalt Communications, Inc.
r-series Installation and Management Manual
5000007 (ETSI) 50
2007-06-28
Use the following steps to download a file.
1. Select the type of file to download (configuration or radio firmware).
2. Click the Download button and wait for the radio to prepare the file for download.
For the MIB file download, a second page/link appears (Figure 26).
3. Left-click the link on the page to download the file to a desired location.
Figure 26 File Transfer page—download file link
File download and upload is useful when configuring several radios with similar settings. A copy
of the configuration file can also help restore radio settings. In addition, a copy of the Exalt
default configuration file is helpful to restore the radio to factory settings.
Note: Do not change the name of any download file. The configuration file
must be named config.nv. To keep track of multiple configuration files, use a
folder naming system or temporarily rename the file, however, it must be named
config.nv before it can be uploaded to a radio. Never change radio firmware file
names under any circumstances.
If copying the same configuration file into multiple radios, take as some parameters will match
and that may be undesirable. However, it may be easier to change just a subset of parameters
rather than every parameter. The following parameters can cause problems or confusion if they
match at each of a link:
• Radio Name
Exalt Communications, Inc.
r-series Installation and Management Manual
5000007 (ETSI) 51
2007-06-28
• Endpoint Identifier
• IP Address
• IP Subnet Mask
• Default Gateway
The following parameters can match at both ends of the link:
• Link Name
• Link Security Key (although each link should be different)
• Admin and User passwords
• Bandwidth
• RF Frequency
• Link Distance
• TDD Frame Size
• T1/E1 configurations
• Ethernet configurations

Exalt Communications, Inc.
r-series Installation and Management Manual
5000007 (ETSI) 52
2007-06-28
File Activation Page
Use this page to move stored or uploaded files for use on the radio. The page indicates which file
is currently in use, and which file is available for use. Click the Swap button to place the file in
the Alternative File column into the active state and move the file in the Current File column to
the Alternative File column.
Figure 27 File Activation page
Note: In all cases, the radio reboots after a new file is selected using the Swap
function. This places the radio out of service for a short time.

Exalt Communications, Inc.
r-series Installation and Management Manual
5000007 (ETSI) 53
2007-06-28
Simple Network Management Protocol (SNMP) Configuration
Use SNMP to manage networked devices and execute the following functions:
• GET: Obtain information from the device, such as a configuration setting or parameter.
• SET: Change a configuration setting on the device.
• TRAP: The device proactively informs the management station of a change of state, usually
used for critical alarms or warnings.
Note: Currently the SNMP implementation does not support TRAP functions.
For critical alarms, use the GET command for specific alarm conditions.
One feature of the SNMP implementation is that system configuration changes do not take effect
using the SET command. Instead, groups of configuration settings can be preconfigured for
global change, and a single ‘Save’ (Commit) command implements all changes.
When some parameters are changed, a link may drop and/or management control lost. MIB files
allow many parameters to be set at once, allowing only a temporarily dropped link or
management control issue. The opposite end radio can be quickly reconfigured, with little
downtime for the link and management control. The save (Commit) command is similar to the
Update button.
Dropped links or management control issues do not occur with every parameter change. Many
configuration changes do not impact traffic or management access.
EX-series radios utilize SNMPv3, a high security version of SNMP, to ensure secure access to
and storing of management data. The SNMPv3 security string matches the admin and user
passwords. Passwords must be eight characters or longer.
Note: Currently not all EX-series radios implement SNMP. Check the
software release notes to verify that the function is available. Generally, the radio
supports SNMP when MIB files are listed on the File Activation Page.
The SNMP MIBs are organized similar to the GUI. Become familiar with the GUI before using
the SNMP function.

Exalt Communications, Inc.
r-series Installation and Management Manual
5000007 (ETSI) 54
2007-06-28
Alarms Page
This page provides an easy-to-read summary of the alarm status of both local and remote radios.
The colors on this page reflect the color of the alarms displayed on the radio front panel.
However, additional detail displays on this page to aid in quick assessment of issues and status.
Figure 28 Alarms page
Table 5 lists alarm status conditions that appear on this page.
Table 5 Alarm status indicators
Label Status
Link Indicates RF link status:
Green Solid = Error-free connection (BER<10e-6)
Yellow Solid = Errored connection (10e-3>BER >10e-6)
Red Solid = No link (BER>10e-3)
Ethernet Main Green Solid = Data present
Off = No data present

Exalt Communications, Inc.
r-series Installation and Management Manual
5000007 (ETSI) 55
2007-06-28
Label Status
T1/E1 Input Green = Enabled and connection present (clocking confirmed)
Red = Enabled and no connection present
Grey = Disabled or unavailable due to configuration
Temperature Green Solid = Normal temperature range
Yellow Solid = Exceeding normal temperature range
The Temperature alarm monitors the internal temperature of the unit based on specific points
inside the radio chassis. It is normal for the internal temperature to be above the ambient
temperature, so the temperature reading may be higher than the highest specified ambient
temperature. When the internal electronics reach a point that is higher than the normal
temperature rise at the highest ambient temperature, the temperature alarm turns yellow. Power
down the radio as soon as possible, and investigate the cause of the temperature rise before the
radio is put back into service. In almost all cases, a temperature alarm is due to an external cause.

Exalt Communications, Inc.
r-series Installation and Management Manual
5000007 (ETSI) 56
2007-06-28
Performance Page
This page provides statistical information about the performance of the system in relation to the
integrity of the user data and the RF link.
Figure 29 Performance page
• The Current BER field indicates the current bit error rate of the link. If the link is operating
perfectly, this should indicate zero. Generally, the link should remain at a BER less than
1x10-6 (1 bit out of every million bits errored). This is the threshold performance
specification and the standard to which the link was engineered. However, radio links can
and are affected by weather, interference, and other external sources and will occasionally
have a higher error rate. A link remains operational unless the BER exceeds 1x10-3 (1 bit out
of every hundred bits errored). Consult the link design engineer for an understanding of the
predicted error rate of the radio link as it has been designed. Many applications are
unaffected by bit errors, but TDM circuits (for example, T1 or E1) are more sensitive. Also,
if the link operator is providing a service guarantee, this value may need to be monitored or
examined in cases of service issues. The behavior of BER in relation to other alarms or
measurements and external events can be very helpful in troubleshooting activities.
• Current RSL is the measurement of the received signal level at the radio antenna port. This is
the measured level of the RF signal coming from the opposite end of the radio link. The link
was engineered to a specific RSL by the link design engineer, and this RSL should be
obtained during installation and remain relatively stable during the operation of the link. RSL

Exalt Communications, Inc.
r-series Installation and Management Manual
5000007 (ETSI) 57
2007-06-28
can and will vary as a result of weather changes and other external sources, such as path
obstructions. Once again, this variation was part of the original design to achieve a certain
level of performance over time. Bit errors occur when the RSL falls to a level within roughly
3dB of the threshold specification. When the RSL falls below the threshold specification, the
link disconnects and will not reconnect until the RSL is above the threshold specification.
The behavior of RSL in relation to other alarms or measurements and external events can be
very helpful in troubleshooting activities.
• Errored Seconds (ES) indicates the total number of seconds that occurred where there was at
least one bit error since the last time that the radio statistics counter was reset. Generally, ES
are not a significant concern, so long as they are not continuous or above the anticipated
performance based on the original link engineering goals. If ES are continuous or at a high
rate, this is normally an indication of poor link performance due to poor RSL or interference,
or severe impact by weather or other environmental factors. However, similar to the
performance factors previously listed, ES can and will occur in any radio link. Once again,
consult the link engineer to determine the original design goals, and compare actual
performance to these expectations to determine if any improvements are necessary or if other
problems may be causing excessive ES.
Note: Unavailable Seconds do not register as ES. In other words, the ES
counter counts all seconds that are errored NOT INCLUDING the seconds that
were classified as unavailable. The total number of seconds with errors or outages
is the sum of ES and Unavailable Seconds.
• Unavailable Seconds (also called UAS) are similar to ES, but this counter keeps track of
every second where the bit error rate equals or exceeds 1x10-3, as well as any seconds where
there is a complete loss of radio communication, over the period since the last counter reset.
If Unavailable Seconds are continuous or at a high rate, this is normally an indication of poor
link performance due to poor RSL or interference, or severe impact by weather or other
environmental factors. However, similar to the performance factors listed above, Unavailable
Seconds can and do occur in any radio link. Consult the link engineer to determine the
original design goals, and compare actual performance to these expectations to determine if
any improvements are necessary or if other problems may be causing excessive Unavailable
Seconds.
• Minimum RSL indicates the worst (lowest) received signal level that occurred since the last
counter reset. It is helpful to know if the RSL dropped significantly from the normal level, or
has reached a level near or below threshold.
• Minimum RSL Timestamp indicates the date and time when the Minimum RSL occurred.
This is helpful for general troubleshooting, and especially comparing to items in the event
log or diagnostic charts from the same time period.
• Maximum RSL indicates the best (highest) RSL that occurred since the last counter reset.
This indicates the best performance of the radio link, which is normally equal to the installed
value, and is usually the designed value.

Exalt Communications, Inc.
r-series Installation and Management Manual
5000007 (ETSI) 58
2007-06-28
• Time Since Reset indicates the amount of time passed since the last counter reset. This helps
to quantify the seriousness of other statistics, such as ES and Unavailable Seconds, if there
have been high numbers of ES and/or Unavailable Seconds over a relatively short period of
time.
Each end of the link statistics on this page can be independently reset using the Reset Statistics
button for the local or remote radio. It is good practice to reset the statistics at the time that the
link is commissioned (after all antenna alignment is complete and stable RSL at designed levels
is achieved, and no more system reboots are anticipated). Make a habit of viewing this page
regularly, make records of the performance, and reset the statistics so that the counters can more
precisely pinpoint issues.
Note: Resetting statistics from one end also resets the statistics for the same
radio at the opposite end. That is, if the Local statistics are reset, logging into the
remote end shows the Remote statistics on that end (which is the local radio in the
first condition) as being reset at the same time.

Exalt Communications, Inc.
r-series Installation and Management Manual
5000007 (ETSI) 59
2007-06-28
Event Log Page
Use this page to review a list of the events logged by the radio. The following items are listed in
the event log:
• Alarms
• Alarms clearing (Normal)
• Radio Reboots
Every event is tagged with the time that the event occurred, and a severity and type. The event
log also allows filtering to limit the view of the log to the lowest level of desired information.
For example, a filter level of Minor displays Minor, Major, and Critical severity events.
The log contains the last 200 events. Events are deleted on a FIFO basis, erasing the oldest
entries to make room for the newest entries.
The event log can be cleared and be downloaded from the radio (some models may require a
software upgrade to enable this feature). A screen capture of the browser window can serve as a
useful record.
Figure 30 Event Log page

Exalt Communications, Inc.
r-series Installation and Management Manual
5000007 (ETSI) 60
2007-06-28
Diagnostic Charts Page
Use this page as an aid in troubleshooting. This page illustrates the historical (and current)
performance for three parameters: RSL, Radio Temperature, and BER.
The horizontal scale illustrates 120 points of time measurement and is synchronized on all three
graphs. The scale displays in minutes, hours, or days from the last two hours (120 minutes), five
days (120 hours), or four months (120 days). All information is stored, so all of these periods are
available for short- and long-term performance analysis. The right side of a graph represents the
most recent measurement, and data ‘marches’ from the right-to-left at every interval.
The vertical scale of each chart independently scales to show the maximum resolution based on
the maximum variation of the data over the selected time measurement.
Figure 31 Diagnostic Charts page
Use the cursor to point to any spot on any of the three charts, and all three charts illustrate the
measurements taken for that time interval in the upper-left corner of each chart. The time interval
Exalt Communications, Inc.
r-series Installation and Management Manual
5000007 (ETSI) 61
2007-06-28
is indicated by T=(value). This is followed by the value of the measurement, listing the highest
value, lowest value and average value measured over that time interval.
For example, in Figure 31 the displayed time interval is minutes, and the cursor is held at the
T=17 mark on the horizontal axis. The measurements shown indicate performance from 17
minutes ago. The high/low/average values shown on each chart are measurements made across
that specific one-hour interval.
Changes in RSL often have an impact on BER, and this can be confirmed by looking for
synchronized events. When BER events occur without corresponding changes in RSL, this
normally indicates interference, atmospheric changes, transmission system issues (such as
problems with cables, connectors or antennas), or possibly radio hardware problems.
It is also useful to help determine if changes in radio temperature are occurring, and if they are
having any impact on RSL or BER. If the radio is mounted in an environmentally controlled
location, this has less relevance. However, temperature monitoring can be helpful to ensure that
the radio is operating within specifications.
Spectrum Analyzer Page
This page is not currently available. A built-in spectrum analyzer will be available in future
releases, and documented.

Exalt Communications, Inc.
r-series Installation and Management Manual
5000007 (ETSI) 62
2007-06-28
Reboot Page
Use this page to reboot the radio. The function may never be required, but can be used in
emergencies. All configurations that require a reboot automatically reboot on administrator
confirmation.
Figure 32 Reboot page

Exalt Communications, Inc.
r-series Installation and Management Manual
5000007 (ETSI) 63
2007-06-28
Manual Page
The manual (this document or the version that matches the installed firmware) is available within
the GUI. Adobe Acrobat Reader 5.5 or higher is required (go to www.adobe.com to download
Acrobat Reader). Click the Manual link and the manual displays within the browser window.
Once the manual displays, click the save button on the PDF toolbar to download the manual
locally.
Figure 33 Manual page

Exalt Communications, Inc.
r-series Installation and Management Manual
5000007 (ETSI) 64
2007-06-28
Troubleshooting
This section provides information regarding troubleshooting of common issues and alarms on
these radios. Exalt Digital Microwave Radio systems are designed by Exalt’s expert engineers
with extensive experience through multiple generations of microwave radio design. These new-
generation systems contain extensive diagnostic tools, alarm indications, and troubleshooting
aids. And, as compared to other systems in their class, are easier to install, maintain, and
troubleshoot. The GUI provides information to aid in troubleshooting (see Diagnostic Charts
Page on page 60).
Contact Exalt Customer Care for further assistance with issues with your Exalt radio and with
suggestions on how the radio and documentation can be improved.
General Practices
Troubleshooting a microwave radio link can be a complex task. Approach troubleshooting as a
process of elimination, and first determine which portions of the system are operating properly.
In a vast majority of cases, failures or poor performance of microwave links is attributed to
something other than the microwave radio hardware. In this respect, the back-to-back bench test
(see Back-to-back Bench Testing on page 77) is very important to determine if radio hardware is
operating properly and eliminate many variables in the troubleshooting process.
If a back-to-back bench test fails, then the radio hardware is either broken or the radios are
improperly configured. Upgrade the radio to the most current release of firmware, and/or reset
the radio to its critical factory settings, following the quick start guide instructions and those in
Configuration and Management, helps to confirm if configuration issues cause failure. The most
common issues with microwave radio links are:
• An improperly terminated RF cable
• Multipath propagation
• RF interference
• Path obstruction
• Misaligned antenna
• Faulty antenna
• Improper grounding
• Insufficient link margin in the design/implementation
• Moisture in the transmission system (antenna feed and/or RF cable)
If the radio link has been operating without issues and is exhibiting new poor performance
behavior or becomes completely inoperative, the troubleshooting process should pay close
attention to any conditions that may have changed between the time when the system was
working without issue and the time when the issues started.
Exalt Communications, Inc.
r-series Installation and Management Manual
5000007 (ETSI) 65
2007-06-28
Also, it can be helpful to compare some performance parameters of the system before and after
the presence of issues. Often the source of the issues can be determined by thoughtful
consideration of changes, such as:
• Changes in weather, including high winds
• Changes made to the radio equipment, transmission system, or connected equipment
• New radio systems or electronic equipment the nearby radio or transmission system
• New construction nearby either end of the link, or along the path
• Tree growth, flooded fields, or changes in rivers/lakes along the path
Verify that configurations are set as follows:
• RF matches at each end of the link
• Bandwidth matches at each end of the link
• Link distance matches at each end of the link
• TDD Frame Length matches at each end of the link
• Endpoint Identifier is different at each end of the link (one end Radio A, one end Radio B)
• Ethernet interfaces are enabled, as desired
• AUX Ethernet is set for in-band or out-of-band NMS, as desired
• T1/E1 enabling matches at each end of the link
• Link security key matches at each end of the link
Also, use the ExaltCalc tool in the design phase to determine the optimum setting for the
Bandwidth and TDD Frame Length parameters for the given link distance, and provides
guidance to the expected RF link performance, as well as throughput, latency, and number of
supported T1/E1 circuits.
Typical Indications of Issues
In many cases, microwave radio users do not notice changes or degradation to the radio system
until the radio system fails completely or becomes highly errored or significantly intermittent.
However, regular management of the radio system can help indicate changes in performance that
have not yet impacted user performance, but may impact performance at a later date if left
unchecked or unaddressed. The administrator can use this as an opportunity to be proactive and
monitor the radio link performance regularly, watching for unexplained or unexpected changes
in performance and trends in performance changes.
Most importantly, monitoring radio system RSL over time indicates the performance of the radio
system. Address any long-term drop in RSL and erratic or unsteady RSL. Some RSL changes are
expected and weather patterns and the related multipath can cause dramatic RSL changes
resulting in system outage. However, that outage should not occur at a significantly greater rate

Exalt Communications, Inc.
r-series Installation and Management Manual
5000007 (ETSI) 66
2007-06-28
than the designed long-term performance. Consult the path design engineer for more information
about link reliability expectations and anticipated RSL deviation.
In addition, regular inspection of the transmission system (RF cables and antennas) and paying
close attention to changes along the path, such as construction or tree height, or new microwave
radio installations nearby, can be extremely helpful and proactive.
When link performance is very poor, alarms on the radio front panel and within the radio’s
management system indicates particular failures. Consult this manual for more information on
the specific alarms and diagnostics, or contact Exalt Customer Care for assistance.
Exalt Customer Care is primarily motivated to determine if the radio hardware is faulty and
require return for repair, and to help execute an effective and efficient repair and return process
for radio terminals believed to be faulty. However, Exalt Customer Care provides advice
regarding the total radio system and RF path engineering and environment, and advises on
troubleshooting.
End users should first contact the installer and/or designer of the system. In many cases, an in-
depth understanding of RF design is required, and on-site analysis and special test equipment,
may be necessary. Compared to phone support from Exalt Customer Care, troubleshooting is
much more expeditious if the professional installer and/or link designer examines the system and
reviews the management information in the GUI. In turn, if the professional installer and/or link
designer contacts Exalt Customer Care, the process to rectify the system is much more expedient
due to the in-depth knowledge related to the implementation and the RF environment.
Improper RF Cable Termination
Improper RF cable termination is a very common problem. In many cases, this is a problem that
occurs during installation and is not a problem that suddenly appears. However, if cables are
moved or flexed, especially near the termination points, and radio errors, changes in RSL, or
other performance issues occur, this is a certain sign of this issue.
Another relatively easy method to test for this condition is to decrease the output power of the
radio system (at each end, one end at a time). A poor RF cable termination may be reflecting too
much RF energy back into the radio system, and reducing output power reduces the reflected
energy at a faster rate than the transmitted energy towards the far end. Be careful not to reduce
the output power to the point where the radio’s threshold is reached. Typically, a reduction of
just 3 to 6dB is enough to determine if this is the issue. If the reduction of output power clears
the error condition, this is the likely cause.
Use a reflectometer or meter that can read VSWR at the operating frequency to identify poor
terminations as well as poor antenna feeds.
Note: The Praxsym VSWR meter is an excellent tool for this purpose

Exalt Communications, Inc.
r-series Installation and Management Manual
5000007 (ETSI) 67
2007-06-28
Multipath Propagation
Multipath propagation is a term that encompasses changes to the RF path, such as reflections
and/or refraction, causing partial or complete destruction of the radio signal, and thus excessive
bit errors and/or system outages.
Rapid changes in temperature, inversion layers, humidity, air pressure, water evaporation, as
well as standing water or moisture on objects along the path are all examples of changes that can
cause multipath propagation. New building construction near either end of the path or along the
path can cause new reflection characteristics.
If your system has been operating without issue and is suddenly experiencing issues that are
symptomatic of a certain time of day or related to change in climatic events or some of the
external factors listed above, this is likely the cause. Consult a professional RF path engineer in
these cases. Often, minor repositioning of the antennas at either or both ends can reduce or
eliminate these problems.
RF Interference
RF interference is usually indicative of another radio system nearby either end of your radio
system or aimed towards one or both ends of your radio system – usually at or near the same
frequency and usually with a similar signal level.
Other forms of RF interference also exist, such as electronic equipment placed close to the radio
chassis or transmitters that couple onto the cabling or grounding system of the radio. Microwave
ovens and wireless communication devices used near the equipment or cabling are examples of
electronic equipment interference.
Note: The Exalt EX-5 series Digital Microwave Radios operate in license-
exempt bands. Microwave ovens, wireless Internet devices and cordless phone
technology may also use this frequency band. It may be necessary to separate the
radio chassis, cabling system and antenna from these devices.
RF interference, like most other causes of problems, is indicated by significant bit errors and/or
system outages.
One means to determine presence of interference is the use of a spectrum analyzer that covers the
same range as the radio system. A professional RF engineer can use a spectrum analyzer to
locate sources of interference, measure these sources, and determine potential remedies to take to
operate in the presence of interference.
If a spectrum analyzer is not available, the radio’s RSL port can help determine RSL levels of
interfering signals. By turning the far-end radio off, the residual RSL measured by the radio
indicates the level of interference seen by the radio. It is possible that interference levels below
that which can be measured still have an impact on the radio system – especially if the radio
system has low fade margin or is using a high order modulation.
Exalt Digital Microwave Radios provides considerable flexibility to tune to different frequencies
across the bands within which they operate. This is the easiest method to use to try to avoid
Exalt Communications, Inc.
r-series Installation and Management Manual
5000007 (ETSI) 68
2007-06-28
existing interference. In addition, the occupied bandwidth of the radio can be reduced. This,
along with re-tuning, can be very effective, however throughput is reduced.
Repositioning the antenna and/or changing polarization, or upgrading the antenna to a higher
gain, and/or using a high-performance antenna, are all secondary means that can be used. It may
be necessary to perform combinations of both radio changes (retuning, occupied bandwidth
reduction) and antenna system changes (position, polarization, upgrade).
The EX-4.9r radio operates under licensed regulations. If interference is suspected, the local
frequency coordination organization, or other users of the spectrum should be consulted before
re-tuning the radio to a different frequency channel.
Path Obstruction
A path obstruction is defined as an object, such as a building or tree, impeding the proper path of
the radio system. If the system design was proper at the time of installation and issues arise at a
later date, an updated path profile and survey may be necessary to identify changes in path
clearance.
Misaligned Antenna
At the time of initial installation, it is critical that the antennas at each end are properly aligned
and that the designed RSL is achieved. However, antennas may become misaligned due to high
winds, changes in the guy-wiring systems keeping the antenna mast stable, or loosening of the
antenna mounting hardware. A reduction in the RSL of the link is symptomatic of this condition,
but this condition is not the only condition that results in a reduction of RSL. However, if
conditions occur where the antenna alignment may be suspected, the mechanics must be
inspected and the antennas realigned.
Faulty Antenna
A faulty antenna is rare, but is still a possibility. In some cases, the mechanics of the antenna
feed can get moisture inside, or a bad or weak connection in the pin and connector structure of
the antenna may occur. A VSWR measurement of the antenna connection can be made to verify
this condition.
Improper Grounding
In addition to being a potential human safety issue, improper system grounding is a somewhat
common condition that can cause continuous bit errors or bit errors when metal objects come in
contact with the radio, transmission system, or racking system. If touching the radio causes
errors, grounding is the cause. It can be difficult to identify grounding problems, but a
professional electrician can normally inspect a system and identify if there are deficiencies in the
grounding system.
Exalt Communications, Inc.
r-series Installation and Management Manual
5000007 (ETSI) 69
2007-06-28
Insufficient Link Margin
Ideally, the link was designed with enough link margin (fade margin) to allow for multipath
propagation and atmospheric fading and still remain reliable. In some cases, link margin is
compromised by economic factors, such as using low-cost RF cabling or lower-cost antennas
that have less gain or deficient performance compared to higher cost transmission system
components. In some cases, there may be antenna size restrictions that forced the design to not
have the desired amount of link margin.
If the link was designed with poor link margin, there are likely many cases of bit errors and
outages. The antenna system and transmission line can be upgraded to help reduce this. If the
link design was installed with sufficient margin, but RSL is reduced, the remaining link margin
may no longer be enough to maintain a reliable link. The causes of RSL reduction were
previously described, but are usually due to new path obstruction(s) or antenna misalignment due
to wind or mechanical factors. The antenna height or location can be changed to overcome new
obstructions. Realignment of the antenna, and/or improvement to mechanical structures can help
overcome antenna misalignment.
Moisture in the Transmission System
If the connectors on cables and antennas and egress junctions are not properly weatherproofed,
moisture can get into the transmission system and cause significant error conditions and erratic
performance. In many cases, the transmission system must be replaced. A VSWR meter is one
means to identify such issues. Physical inspection can be helpful, and if changes to the
weatherproofing occur (such as cracks), the weatherproofing must be replaced before it leaks.

Exalt Communications, Inc.
r-series Installation and Management Manual
5000007 (ETSI) 70
2007-06-28
Specifications
This section presents specifications for the EX-5r series of Digital Microwave Radios.
Physical Specifications
Physical Configuration Outdoor unit (ODU)
Dimensions (H x W x D) 13 x 13 x 4.25"/33 x 33 x 10.8 cm
Weight 15 lbs; 6.8 kg
Operating Temperature –40 to +149°F /–40 to +65°C;
Altitude 15,000'/4.6 km
Humidity 100% condensing
Environmental NEMA4/IP56
Safety EN 60950-1, IEC 60950-1
EMC EN 301 489-17
Common System Specifications
Tuning Resolution 1MHz (5MHz for 4.9 GHz Products)
Power Control Step Size 0.5dB
Selectable Modulation Modes Mode 1 (QPSK); Mode 2 (16QAM)
Selectable Channel Bandwidths 8MHz, 16MHz, 32MHz*, 64MHz*
Selectable Frame Lengths (ms) 0.5, 1, 2, 2.5, 4, 5
Maximum Aggregate User Capacity
Error Floor 10-12
Frequency Stability +7 ppm
Link Security 96-bit Security Code
*Not all BW selections are available in every country. And, in some cases, certain BW selections
are only available after purchasing a software upgrade license key, for countries where wider
operating bandwidths are allowed.
Mbps Mode 1 Mode 2
8 /10 MHz 13 27
16 / 20 MHz 27 54
32 / 40 MHz* 55 110
64 MHz* 110 216

Exalt Communications, Inc.
r-series Installation and Management Manual
5000007 (ETSI) 71
2007-06-28
EX-4.9r System Specifications
Frequency Band 4940 to 4990 MHz
Tunable Range 4945 to 4985 MHz
Output Power (at full power, Mode 1) +24dBm (20MHz BW)
+22dBm (10MHz BW)
+20dBm (40MHz BW)
Output Power (at minimum power) +4dBm
Selectable Channel Bandwidths 10MHz, 20MHz,*
Receiver Threshold (BER=10-6)
Maximum RSL Mode 1: -25dBm error-free; 0dBm no damage
Non-overlapping channels 10MHz: 5; 20MHz: 2
Regulatory Compliance FCC Part 90; IC RSS-111
FCC ID TTM-104P90R
IC ID 6254A-104P90R
Emission Designator(s)
*For the EX-4.9r, firmware options are required to enable Mode 2/20MHz BW
dBm Mode 1 Mode 2
10MHz -86 -78
20MHz -83 -75*
10MHz 10M9W7D
20MHz 21M8W7D

Exalt Communications, Inc.
r-series Installation and Management Manual
5000007 (ETSI) 72
2007-06-28
System Specifications, 5.3GHz Band
Frequency Band 5250 to 5350 MHz
Tunable Range 5260 to 5332 MHz
Output Power (at full power) +13dBm (0.02W)
Output Power (at minimum power) -7dBm
Receiver Threshold (BER=10-6)
Maximum RSL Mode 1: -25dBm error-free; 0dBm no damage
Non-overlapping channels 8MHz: 10; 16MHz: 5; 32MHz*: 2; 64MHz*: 1
Regulatory Compliance FCC 15.407; IC RSS-210; EN 301 893
Contains FCC ID TTM-105P25M
IC ID 6254A-105P25R
Emission Designator(s)
*Not all BW selections are available in every country. And, in some cases, certain BW selections
are only available after purchasing a software upgrade license key, for countries where wider
operating bandwidths are allowed.
dBm Mode 1 Mode 2
8MHz -86 -78
16MHz -83 -75
32MHz* -80 -72
64MHz* -77 -69
8MHz 8M7W7D
16MHz 17M2W7D
32MHz* 34M5W7D
64MHz* 67M9W7D

Exalt Communications, Inc.
r-series Installation and Management Manual
5000007 (ETSI) 73
2007-06-28
System Specifications, 5.4GHz Band
Frequency Band 5470 to 5725 MHz
Tunable Range 5488 to 5715 MHz
Output Power (at full power) +13dBm (0.02W)
Output Power (at minimum power) -7dBm
Receiver Threshold (BER=10-6)
Maximum RSL Mode 1: -25dBm error-free; 0dBm no damage
Non-overlapping channels 8MHz: 29; 16MHz: 14; 32MHz*: 7; 64MHz*: 3
Regulatory Compliance FCC 15.407; IC RSS-210; EN 301 893
Contains FCC ID TTM-105P25M
IC ID 6254A-105P25R
Emission Designator(s)
*Not all BW selections are available in every country. And, in some cases, certain BW selections
are only available after purchasing a software upgrade license key, for countries where wider
operating bandwidths are allowed.
dBm Mode 1 Mode 2
8MHz -86 -78
16MHz -83 -75
32MHz* -80 -72
64MHz* -77 -69
8MHz 8M7W7D
16MHz 17M2W7D
32MHz* 34M5W7D
64MHz* 67M9W7D

Exalt Communications, Inc.
r-series Installation and Management Manual
5000007 (ETSI) 74
2007-06-28
System Specifications, 5.8GHz Band
Frequency Band 5725 to 5850 MHz
Tunable Range 5731 to 5844 MHz
Output Power (at full power) +24dBm (0.25W), Mode 1
+21dBm (0.13W), Mode 2
Output Power (at minimum power) +4dBm
Receiver Threshold (BER=10-6)
Maximum RSL Mode 1: -25dBm error-free; 0dBm no damage
Non-overlapping channels 8MHz: 15; 16MHz: 7; 32MHz*: 3; 64MHz*: 1
Regulatory Compliance FCC 15.247; IC RSS-210; EN 302 502
Contains FCC ID TTM-105P25M
IC ID 6254A-105P25R
Emission Designator(s)
*Not all BW selections are available in every country. And, in some cases, certain BW selections
are only available after purchasing a software upgrade license key, for countries where wider
operating bandwidths are allowed.
(dBm) Mode 1 Mode 2
8MHz -86 -78
16MHz -83 -75
32MHz* -80 -72
64MHz* -77 -69
8MHz 9M1W7D
16MHz 16M5W7D
32MHz* 31M8W7D
64MHz* 61M6W7D
Exalt Communications, Inc.
r-series Installation and Management Manual
5000007 (ETSI) 75
2007-06-28
Interfaces
RF (x2, EX-5r-(x)c only)
Connector N-type female
Impedance 50 Ohms
T1/E1 (x2, 2 interfaces each)
Connector RJ-45 (RJ48C), female
T1 Impedance 100 Ohms, balanced
T1 Line Codes AMI, B8ZS, selectable
T1 LBO Settings (in ft.) 0-133, 133-266, 266-399, 399-533, 533-655
T1 Clocking Speed 1.544 Mbps
T1 Compliance ANSI T1.102-1987; ITU-T; G.823; GR-49T-CORE
E1 Impedance 120 Ohms, balanced
E1 Line Codes HDB3
E1 Clocking Speed 2.048 Mbps
E1 Compliance CEPT-1; G.703; ITU-T-G703
Ethernet
Connectors RJ-45, female, auto-MDIX
Interface Speed 10 or 100 Mbps
Duplex Half, full, auto, selectable
Compliance 802.3
Sync-In
Connector RJ-45, female
Signal 1pps (GPS)
Power — Power Injector
Connector 6-pin barrier strip
Input Voltage 48VDC
Consumption <60 W (1.25A)
Exalt Communications, Inc.
r-series Installation and Management Manual
5000007 (ETSI) 76
2007-06-28
Integrated Antenna (EX-5r(-x) only)
Gain (midband) 20dBi
3dB Beamwidth 15 degrees
Polarization Switch-selectable vertical or horizontal
Exalt Communications, Inc.
r-series Installation and Management Manual
5000007 (ETSI) 77
2007-06-28
Back-to-back Bench Testing
Use back-to-back bench testing to test the radio before installation, pre-configure the radio and
connected equipment before installation, or in the troubleshooting process to identify if the radio
hardware is the source of a system issue. It is a critical process, and often required or highly
desirable for any installation or troubleshooting exercise. This section describes how to properly
configure the radio hardware and accessories for a proper back-to-back bench test.
For radio testing, there are two types of back-to-back configurations:
1. Basic test (test general operation)
2. Specification performance verification (EX-5r-c only)
Basic Test
The basic test is a simple test of radio functionality. It verifies that the radios are properly
configured to communicate to one another, and verifies general radio performance as
operational.
For the basic test, the following items are needed:
• Radio pair
• Powering source
• Computer/terminal with Ethernet port
EX-5r-c only
• RF interconnect cable(s) (any length – short is best)
• Fixed or variable attenuation, between 60 and 90dB (note: attenuation for basic test does not
to be calibrated or precise)
Connections EX-5r-c only
Connect the items as follows:
1. Connect attenuation and (known-good) RF cable(s) between radio pair, shown in Figure 34.
2. Configure one radio as Radio A; the other as Radio B
3. Power on radio pair

Exalt Communications, Inc.
r-series Installation and Management Manual
5000007 (ETSI) 78
2007-06-28
Figure 34 Basic back-to-back bench test configuration
EX-5r Basic Test Configuration
When the radios are near one another, the integral antenna provides the connection. Place an
RF-absorptive material such as wood or RF absorbing foam between the units to provide
attenuation.
Caution: Do not point the radios directly towards one another when they are in close
proximity.
Power received from an adjacent radio at full power will damage both radios. Turn the
transmitter power down and separate the radios as far apart as possible. Use an RF-absorptive
material in between the antennas for additional safety.
Verify Connection
After connecting and powering on, observe the front panel LEDs to verify that the LINK and
STATUS LEDs are green. If so, the radios are communicating and all radio-related alarm
conditions are normal.
It can be beneficial to have a computer to verify configuration in case of red LEDs or to pre-
configure the radio as desired for operation. Follow the instructions in Configuration and
Management.
Specification Performance Verification—EX-5r-(x)c only
The specification performance verification is a more detailed test that allows you to verify that
the radio’s output power and threshold specifications are being met. This is typically a test that
would only be performed in a troubleshooting scenario, but can be performed before installation
to provide a detailed record or ensure radio performance before installation.
This test is identical to the basic test, but in place of the fixed attenuation, it requires the use of
calibrated variable attenuation, or a set of calibrated fixed attenuators, or a combination of both,
adding to a total attenuation value of 120dB, as measured at the operating frequency of the radio.
In addition, a volt meter or computer is also required.
RADIO B RADIO A
ATTENUATION
(60-90DB)
RF PORTS
POWER
INJECTOR
AC POWER
(CONNECT LAST)
COMPUTER
POWER
INJECTOR
AC POWER
(CONNECT LAST)

Exalt Communications, Inc.
r-series Installation and Management Manual
5000007 (ETSI) 79
2007-06-28
Connect the system as shown in Figure 34, using the combination of fixed and variable
attenuation between the radio’s RF ports. Connect the volt meter to either radio’s RSL test point
and associated reference ground connection.
In this test, it is desirable to use pre-tested RF cables, known to be good, and the insertion loss is
known at the operating frequency. If the cables are short (6'/2m or less), you can estimate the
loss, including connectors, to be less than 1dB each. The estimate of cable loss is critical to the
overall confidence of the measurements made in this test.
There are two critical specifications that can be tested in this configuration:
1. RF output power
2. Radio receiver threshold
To measure transmitter output power, simply insert any value of attenuation between the radios
between 60 and 90dB. Ensure that both RF output power settings are at maximum. Use the volt
meter to measure RSL in both directions. The RSL measured value should match the appropriate
value according to the inserted attenuation, such as:
RSL = RF Output Power – cabling losses – total attenuation
Verify output power by adjusting output power using the Exalt GUI (in administration mode)
and evaluate the corresponding change to the RSL measurement.
For threshold testing, the key is to insert a measured amount of loss that is close to, but not
exceeding the radio’s specified system gain. System gain is the difference between RF output
power and receiver threshold. At your selected modulation and bandwidth settings, determine the
specified threshold performance, and choose a value of attenuation (including cable losses) that
adds to roughly 5 to 15dB less than the system gain.
For example, for a setting of Mode1 and 8 MHz, if the threshold for your measurement is
-86dBm, the output power is +24dBm, so the system gain is 110dB. Choose a value of total
attenuation in the range of roughly 100–105dB. Once this attenuation is inserted, verify RSL
readings as in the first step, and then, using the GUI, reduce radio output power in 1dB steps
until the receiving radio (the one whose output power not being adjusted) Link LED turns from
green to yellow. This indicates that threshold has been reached. At this point, verify the equation
for system gain using the new output power level setting and verify that the threshold
performance is meeting or exceeding the published specification.
Note: Due to the variation of measurements and accuracies involved in this
test, you may read a measurement that is 1dB to as much as 2dB off of the
expected value. It should be of no concern unless the value is more than 3dB
worse than expected.
Once threshold is verified in this direction, repeat the process in the opposite direction by
adjusting RF output power of the radio at the opposite end. Return the first radio to its original
power setting before adjusting the second radio.
Perform threshold measurement tests for all combinations of bandwidth and mode (modulation)
being used–especially when troubleshooting. It should not be necessary to vary center frequency,
Exalt Communications, Inc.
r-series Installation and Management Manual
5000007 (ETSI) 80
2007-06-28
as this does not have any appreciable impact on system gain performance, however, try any
setting combination to gain confidence in the radio performance parameters.

Exalt Communications, Inc.
r-series Installation and Management Manual
5000007 (ETSI) 81
2007-06-28
Interface Connections
This section provides the pin number assignment and wiring information for the connectors on
the EX-5r. All connectors are shown as viewed from the radio front panel, as shown in Figure
35.
Figure 35 Ex-5r connector orientation
T1/E1 Connections
There are two connectors for T1/E1, each connector has two T1/E1 circuits available. Figure 36
illustrates the pin orientation and functionality of these connectors.
Figure 36 T1/E1 connectors
Pin Function
1 Tip Out (from radio) – Ch.1 & 2
2 Ring Out (from radio) – Ch.1 & 2
3 Tip Out (from radio) – Ch.3 & 4
4 Tip In (to radio) – Ch.1 & 2
5 Ring In (to radio) – Ch.1 & 2
6 Ring Out (from radio) – Ch.3 & 4
7 Tip In (to radio) – Ch.3 & 4
8 Ring In (to radio) – Ch.3 & 4
8
1
POWER/ETHERNET
GPS/RSL
T1/E1 2&4
T1/E1 1&3

Exalt Communications, Inc.
r-series Installation and Management Manual
5000007 (ETSI) 82
2007-06-28
RSL & GPS Sync Connector
This connector can be used during the antenna alignment process, to provide a received signal
level (RSL) voltage to a voltmeter. The connector is also used for connection to an optional Exalt
GPS antenna for the purposes of GPS synchronization. The figure below illustrates the pin
orientation and functionality for this connector.
Figure 37 RSL & GPS connector
Power/Ethernet Connector
This connector is the primary connector on the radio, and must be connected to provide power to
the radio, and primary Ethernet communications for traffic and Ethernet. The figure below
illustrates the pin orientation and functionality for this connector.
The Ethernet connector implements Auto-MDIX, and therefore either ‘straight’ or ‘crossover’
Ethernet cables may be used, independent of the wiring of the connected device. The wiring
follows typical wiring for Power-over-Ethernet (PoE), however the power consumption
requirement for the EX-5r does not allow for ‘standard’ (802.3af) PoE, and only the Exalt power
injector shall be used. In addition, the Exalt power injector provides critical reset and alarm
capability that would not be available from a generic PoE injector, even if the power
consumption requirement is met.
Pin Function
1 +5V out to GPS antenna
2 Ground
3 Tx Data to GPS antenna
4 Enable signal to GPS antenna
5 Rx Data from GPS antenna
6 1pps signal from GPS antenna
7 Received Signal Level (RSL)
8 Unused
8
1

Exalt Communications, Inc.
r-series Installation and Management Manual
5000007 (ETSI) 83
2007-06-28
Figure 38 Power/Ethernet connector
Pin Function
1 Paired with Pin 2
2 Paired with Pin 1
3 Paired with Pin 6
4 +DC Power (48V) In
5 +DC Power (48V) In
6 Paired with Pin 3
7 -DC Power (48V) In
8 -DC Power (48V) In
8
1
Exalt Communications, Inc.
r-series Installation and Management Manual
5000007 (ETSI) 84
2007-06-28
Copyright Notices
This section presents copyright notices for third-party software licensed to Exalt
Communications, Inc.
Net-SNMP
The following copyright notice applies to the open-source licensing agreement for Net-SNMP.
Copyright 1989, 1991, 1992 by Carnegie Mellon University
Derivative Work - 1996, 1998-2000
Copyright 1996, 1998-2000 The Regents of the University of California
All Rights Reserved
Permission to use, copy, modify and distribute this software and its documentation for any
purpose and without fee is hereby granted, provided that the above copyright notice appears in
all copies and that both that copyright notice and this permission notice appear in supporting
documentation, and that the name of CMU and The Regents of the University of California not
be used in advertising or publicity pertaining to distribution of the software without specific
written permission.
CMU AND THE REGENTS OF THE UNIVERSITY OF CALIFORNIA DISCLAIM ALL
WARRANTIES WITH REGARD TO THIS SOFTWARE, INCLUDING ALL IMPLIED
WARRANTIES OF MERCHANTABILITY AND FITNESS. IN NO EVENT SHALL CMU
OR THE REGENTS OF THE UNIVERSITY OF CALIFORNIA BE LIABLE FOR ANY
SPECIAL, INDIRECT OR CONSEQUENTIAL DAMAGES OR ANY DAMAGES
WHATSOEVER RESULTING FROM THE LOSS OF USE, DATA OR PROFITS, WHETHER
IN AN ACTION OF CONTRACT, NEGLIGENCE OR OTHER TORTIOUS ACTION,
ARISING OUT OF OR IN CONNECTION WITH THE USE OR PERFORMANCE OF THIS
SOFTWARE.
Network Associates Technology, Inc.
Copyright (c) 2001-2003, Networks Associates Technology, Inc
All rights reserved.
Redistribution and use in source and binary forms, with or without modification, are permitted
provided that the following conditions are met:
* Redistributions of source code must retain the above copyright notice, this list of conditions
and the following disclaimer.
Exalt Communications, Inc.
r-series Installation and Management Manual
5000007 (ETSI) 85
2007-06-28
* Redistributions in binary form must reproduce the above copyright notice, this list of
conditions and the following disclaimer in the documentation and/or other materials provided
with the distribution.
* Neither the name of the Networks Associates Technology, Inc nor the names of its
contributors may be used to endorse or promote products derived from this software without
specific prior written permission.
THIS SOFTWARE IS PROVIDED BY THE COPYRIGHT HOLDERS AND
CONTRIBUTORS ''AS IS'' AND ANY EXPRESS OR IMPLIED WARRANTIES,
INCLUDING, BUT NOT LIMITED TO, THE IMPLIED WARRANTIES OF
MERCHANTABILITY AND FITNESS FOR A PARTICULAR PURPOSE ARE
DISCLAIMED. IN NO EVENT SHALL THE COPYRIGHT HOLDERS OR
CONTRIBUTORS BE LIABLE FOR ANY DIRECT, INDIRECT, INCIDENTAL, SPECIAL,
EXEMPLARY, OR CONSEQUENTIAL DAMAGES (INCLUDING, BUT NOT LIMITED TO,
PROCUREMENT OF SUBSTITUTE GOODS OR SERVICES; LOSS OF USE, DATA, OR
PROFITS; OR BUSINESS INTERRUPTION) HOWEVER CAUSED AND ON ANY
THEORY OF LIABILITY, WHETHER IN CONTRACT, STRICT LIABILITY, OR TORT
(INCLUDING NEGLIGENCE OR OTHERWISE) ARISING IN ANY WAY OUT OF THE
USE OF THIS SOFTWARE, EVEN IF ADVISED OF THE POSSIBILITY OF SUCH
DAMAGE.
Cambridge Broadband, Ltd.
Portions of this code are copyright (c) 2001-2003, Cambridge Broadband Ltd.
All rights reserved.
Redistribution and use in source and binary forms, with or without modification, are permitted
provided that the following conditions are met:
* Redistributions of source code must retain the above copyright notice, this list of conditions
and the following disclaimer.
* Redistributions in binary form must reproduce the above copyright notice, this list of
conditions and the following disclaimer in the documentation and/or other materials provided
with the distribution.
* The name of Cambridge Broadband Ltd. may not be used to endorse or promote products
derived from this software without specific prior written permission.
THIS SOFTWARE IS PROVIDED BY THE COPYRIGHT HOLDER ``AS IS'' AND ANY
EXPRESS OR IMPLIED WARRANTIES, INCLUDING, BUT NOT LIMITED TO, THE
IMPLIED WARRANTIES OF MERCHANTABILITY AND FITNESS FOR A PARTICULAR
PURPOSE ARE DISCLAIMED. IN NO EVENT SHALL THE COPYRIGHT HOLDER BE
LIABLE FOR ANY DIRECT, INDIRECT, INCIDENTAL, SPECIAL, EXEMPLARY, OR
CONSEQUENTIAL DAMAGES (INCLUDING, BUT NOT LIMITED TO, PROCUREMENT
OF SUBSTITUTE GOODS OR SERVICES; LOSS OF USE, DATA, OR PROFITS; OR
BUSINESS INTERRUPTION) HOWEVER CAUSED AND ON ANY THEORY OF
LIABILITY, WHETHER IN CONTRACT, STRICT LIABILITY, OR TORT (INCLUDING
Exalt Communications, Inc.
r-series Installation and Management Manual
5000007 (ETSI) 86
2007-06-28
NEGLIGENCE OR OTHERWISE) ARISING IN ANY WAY OUT OF THE USE OF THIS
SOFTWARE, EVEN IF ADVISED OF THE POSSIBILITY OF SUCH DAMAGE.
Sun Microsystems, Inc.
Copyright © 2003 Sun Microsystems, Inc., 4150 Network Circle, Santa Clara,
California 95054, U.S.A. All rights reserved.
Use is subject to license terms below.
This distribution may include materials developed by third parties.
Sun, Sun Microsystems, the Sun logo and Solaris are trademarks or registered trademarks of Sun
Microsystems, Inc. in the U.S. and other countries.
Redistribution and use in source and binary forms, with or without modification, are permitted
provided that the following conditions are met:
* Redistributions of source code must retain the above copyright notice, this list of conditions
and the following disclaimer.
* Redistributions in binary form must reproduce the above copyright notice, this list of
conditions and the following disclaimer in the documentation and/or other materials provided
with the distribution.
* Neither the name of the Sun Microsystems, Inc. nor the names of its contributors may be used
to endorse or promote products derived from this software without specific prior written
permission.
THIS SOFTWARE IS PROVIDED BY THE COPYRIGHT HOLDERS AND
CONTRIBUTORS ''AS IS'' AND ANY EXPRESS OR IMPLIED WARRANTIES,
INCLUDING, BUT NOT LIMITED TO, THE IMPLIED WARRANTIES OF
MERCHANTABILITY AND FITNESS FOR A PARTICULAR PURPOSE ARE
DISCLAIMED. IN NO EVENT SHALL THE COPYRIGHT HOLDERS OR
CONTRIBUTORS BE LIABLE FOR ANY DIRECT, INDIRECT, INCIDENTAL, SPECIAL,
EXEMPLARY, OR CONSEQUENTIAL DAMAGES (INCLUDING, BUT NOT LIMITED TO,
PROCUREMENT OF SUBSTITUTE GOODS OR SERVICES; LOSS OF USE, DATA, OR
PROFITS; OR BUSINESS INTERRUPTION) HOWEVER CAUSED AND ON ANY
THEORY OF LIABILITY, WHETHER IN CONTRACT, STRICT LIABILITY, OR TORT
(INCLUDING NEGLIGENCE OR OTHERWISE) ARISING IN ANY WAY OUT OF THE
USE OF THIS SOFTWARE, EVEN IF ADVISED OF THE POSSIBILITY OF SUCH
DAMAGE.
Sparta, Inc.
Copyright (c) 2003-2005, Sparta, Inc
All rights reserved.
Redistribution and use in source and binary forms, with or without modification, are permitted
provided that the following conditions are met:
Exalt Communications, Inc.
r-series Installation and Management Manual
5000007 (ETSI) 87
2007-06-28
* Redistributions of source code must retain the above copyright notice, this list of conditions
and the following disclaimer.
* Redistributions in binary form must reproduce the above copyright notice, this list of
conditions and the following disclaimer in the documentation and/or other materials provided
with the distribution.
* Neither the name of Sparta, Inc nor the names of its contributors may be used to endorse or
promote products derived from this software without specific prior written permission.
THIS SOFTWARE IS PROVIDED BY THE COPYRIGHT HOLDERS AND
CONTRIBUTORS ''AS IS'' AND ANY EXPRESS OR IMPLIED WARRANTIES,
INCLUDING, BUT NOT LIMITED TO, THE IMPLIED WARRANTIES OF
MERCHANTABILITY AND FITNESS FOR A PARTICULAR PURPOSE ARE
DISCLAIMED. IN NO EVENT SHALL THE COPYRIGHT HOLDERS OR
CONTRIBUTORS BE LIABLE FOR ANY DIRECT, INDIRECT, INCIDENTAL, SPECIAL,
EXEMPLARY, OR CONSEQUENTIAL DAMAGES (INCLUDING, BUT NOT LIMITED TO,
PROCUREMENT OF SUBSTITUTE GOODS OR SERVICES; LOSS OF USE, DATA, OR
PROFITS; OR BUSINESS INTERRUPTION) HOWEVER CAUSED AND ON ANY
THEORY OF LIABILITY, WHETHER IN CONTRACT, STRICT LIABILITY, OR TORT
(INCLUDING NEGLIGENCE OR OTHERWISE) ARISING IN ANY WAY OUT OF THE
USE OF THIS SOFTWARE, EVEN IF ADVISED OF THE POSSIBILITY OF SUCH
DAMAGE.
Cisco, Inc.
Copyright (c) 2004, Cisco, Inc and Information Network
Center of Beijing University of Posts and Telecommunications.
All rights reserved.
Redistribution and use in source and binary forms, with or without modification, are permitted
provided that the following conditions are met:
* Redistributions of source code must retain the above copyright notice, this list of conditions
and the following disclaimer.
* Redistributions in binary form must reproduce the above copyright notice, this list of
conditions and the following disclaimer in the documentation and/or other materials provided
with the distribution.
* Neither the name of Cisco, Inc, Beijing University of Posts and Telecommunications, nor the
names of their contributors may be used to endorse or promote products derived from this
software without specific prior written permission.
THIS SOFTWARE IS PROVIDED BY THE COPYRIGHT HOLDERS AND
CONTRIBUTORS ''AS IS'' AND ANY EXPRESS OR IMPLIED WARRANTIES,
INCLUDING, BUT NOT LIMITED TO, THE IMPLIED WARRANTIES OF
MERCHANTABILITY AND FITNESS FOR A PARTICULAR PURPOSE ARE
DISCLAIMED. IN NO EVENT SHALL THE COPYRIGHT HOLDERS OR
CONTRIBUTORS BE LIABLE FOR ANY DIRECT, INDIRECT, INCIDENTAL, SPECIAL,
Exalt Communications, Inc.
r-series Installation and Management Manual
5000007 (ETSI) 88
2007-06-28
EXEMPLARY, OR CONSEQUENTIAL DAMAGES (INCLUDING, BUT NOT LIMITED TO,
PROCUREMENT OF SUBSTITUTE GOODS OR SERVICES; LOSS OF USE, DATA, OR
PROFITS; OR BUSINESS INTERRUPTION) HOWEVER CAUSED AND ON ANY
THEORY OF LIABILITY, WHETHER IN CONTRACT, STRICT LIABILITY, OR TORT
(INCLUDING NEGLIGENCE OR OTHERWISE) ARISING IN ANY WAY OUT OF THE
USE OF THIS SOFTWARE, EVEN IF ADVISED OF THE POSSIBILITY OF SUCH
DAMAGE.
Fabasoft R&D Software GmbH & Co.
Copyright (c) Fabasoft R&D Software GmbH & Co KG, 2003
oss@fabasoft.com
Author: Bernhard Penz
Redistribution and use in source and binary forms, with or without modification, are permitted
provided that the following conditions are met:
* Redistributions of source code must retain the above copyright notice, this list of conditions
and the following disclaimer.
* Redistributions in binary form must reproduce the above copyright notice, this list of
conditions and the following disclaimer in the documentation and/or other materials provided
with the distribution.
* The name of Fabasoft R&D Software GmbH & Co KG or any of its subsidiaries, brand or
product names may not be used to endorse or promote products derived from this software
without specific prior written permission.
THIS SOFTWARE IS PROVIDED BY THE COPYRIGHT HOLDER ``AS IS'' AND ANY
EXPRESS OR IMPLIED WARRANTIES, INCLUDING, BUT NOT LIMITED TO, THE
IMPLIED WARRANTIES OF MERCHANTABILITY AND FITNESS FOR A PARTICULAR
PURPOSE ARE DISCLAIMED. IN NO EVENT SHALL THE COPYRIGHT HOLDER BE
LIABLE FOR ANY DIRECT, INDIRECT, INCIDENTAL, SPECIAL, EXEMPLARY, OR
CONSEQUENTIAL DAMAGES (INCLUDING, BUT NOT LIMITED TO, PROCUREMENT
OF SUBSTITUTE GOODS OR SERVICES; LOSS OF USE, DATA, OR PROFITS; OR
BUSINESS INTERRUPTION) HOWEVER CAUSED AND ON ANY THEORY OF
LIABILITY, WHETHER IN CONTRACT, STRICT LIABILITY, OR TORT (INCLUDING
NEGLIGENCE OR OTHERWISE) ARISING IN ANY WAY OUT OF THE USE OF THIS
SOFTWARE, EVEN IF ADVISED OF THE POSSIBILITY OF SUCH DAMAGE.

Exalt Communications, Inc.
r-series Installation and Management Manual
5000007 (ETSI) 89
2007-06-28
Appendix A - Regulatory Compliance
As of this printing, Exalt Communications, Inc. has approvals for the products that are covered
by this manual as indicated in Table 6 below. If your application or country is not listed, please
check with your Sales Representative for the current status.
Table 6 Product Approvals
Country EX-4.9r
series EX-5r series,
5.3 GHz EX-5r series,
5.4 GHz EX-5r series,
5.8 GHz
Austria 8 8 8
Belgium 8
Canada 8 8 8 8
Cyprus 8 8
Czech Republic 8 8 8
Denmark 8 8 8
Estonia 8 8
Finland 8 8
France 8 8 8
Germany 8 8 8
Ghana 8 8
Great Britain 8 8 8
Hungary 8 8 8
Iceland 8 8 8
Ireland 8 8 8
Italy 8 8 8
Liechtenstein 8 8 8
Lithuania 8 8 8
Luxembourg 8 8
Mexico 8 8
Netherlands 8 8 8
Norway 8 8 8
Poland 8 8 8
Portugal 8 8 8
Romania 8 8 8

Exalt Communications, Inc.
r-series Installation and Management Manual
5000007 (ETSI) 90
2007-06-28
Slovak Republic 8 8 8
Slovenia 8 8 8
Spain 8 8 8
Sweden 8 8 8
Switzerland 8 8 8
Turkey 8 8 8
United States 8 8 8 8
General Regulatory Notices
Dynamic Frequency Selection
Dynamic Frequency Selection (DFS) may be required by regional legislation in some frequency
bands in order to avoid causing interference to radar systems. Prior to the start of any
transmission, the device equipped with DFS monitors the spectrum and is not permitted to
transmit on a part of the spectrum that is already in use for radar transmissions for a period of 30
minutes. During operation of the device, the spectrum is continually monitored by the DFS to
detect if radar begins transmission on a frequency that is being used by the device to transmit on.
If the DFS software detects radar, the device must move off channel within a specified time
period so that the device transmission does not interfere with the radar transmission. The device
equipped with DFS is required to stay off that part of the spectrum for a minimum of 30 minutes,
after which time the device may then check the spectrum for radar transmissions and begin
transmitting if no radar is detected.
Antennas
The EX-4.9r may use any antenna.
The following Table list antennas recommended for use with the EX-5r-Series radios. In some
countries, antennas exceeding a certain level of gain may be unlawful. Refer to RF Output Power
Setting in this Appendix for details on regulatory limits.
Exalt Communications, Inc.
r-series Installation and Management Manual
5000007 (ETSI) 91
2007-06-28
Table 7 lists antennas supported by the EX-5r family of Digital Microwave Radios.
Table 7 EX-5r supported antennas
Manufacturer Model # Description Mid-band Gain dBi
(mid-band) 3dB (Azimuth/Elevation) Beamwidth
(degrees)
Andrew P2F-52-N 2-foo
t
Dish 29.4 5.4
Andrew P3F-52-N 3-foot Dish 33.4 3.8
Andrew P4F-52-NXA 4-foot Dish 34.9 3.0
Andrew P6F-52-NXA 6-foot Dish 37.6 1.8
Andrew HP2F-52-NPA 2-foot HP Dish 29.0 5.4
Andrew HP3F-52-NPA 3-foot HP Dish 33.0 3.8
Andrew HP4F-52-NPA 4-foot HP Dish 34.5 3.0
Andrew HP6F-52-NPA 6-foot HP Dish 37.2 1.8
Andrew FPA5250D06-N 6-inch Panel 18.0 19.3
Andrew FPA5250D12-N 1-foot Panel 23.6 9.6
Gabriel DFPS.5-52 6-inch Panel 18.0 19.0
Gabriel DFPD1-52 1-foot Panel 23.5 9.4
Gabriel DFPD2-52 2-foot Panel 28.0 4.6
Gabriel QF2-52-N 2-foot Dish 28.5 5.6
Gabriel QF2.5-52-N 2.5-foot Dish 31.2 4.4
Gabriel QF4-52-N 4-foot Dish 34.8 2.7
Gabriel QF6-52N 6-foot Dish 37.8 1.9
Gabriel HQF2-52-N 2-foot HP Dish 28.2 5.7
Gabriel HQF4-52-N 4-foot HP Dish 34.4 2.8
Gab
r
iel HQF6-52-N 6-foot HP Dish 37.4 1.9
MTI MT-485001 7.5-inch Panel 19.0 18.0
MTI MT-485002 1-foot Panel 23.0 9.0
MTI MT-486004 18-inch Panel 26.0 6.0
MTI MT-486001 2-foot Panel 28.0 4.5
Radio Waves FP.5-5-18 6-inch Panel 18.0 20.0
Radio Waves FP1-5-24 1-foot Panel 23.8 10.0
Radio Waves FP2-5-28 2-foot Panel 28.0 4.5
Radio Waves SP1-5.2 1-foot Dish 22.5 11.1
Radio Waves SP2-5.2 2-foot Dish 29.0 6.1
Radio Waves HP2-5.2 2-foot HP Dish 28.6 6.1
Radio Waves SP3-5.2 3-foot Dish 32.0 4.0
Radio Waves SP4-5.2 4-foot Dish 34.8 3.0
Radio Waves SP6-5.2 6-foot Dish 37.9 2.0
RFS SPF2-52A 2-foot Dish 27.9 6.2
RFS SPF3-52A 3-foot Dish 31.4 4.2
RFS SPF4-52A 4-foot Dish 33.9 3.1
RFS SPF6-52A 6-foot Dish 37.4 2.1
Exalt Communications, Inc.
r-series Installation and Management Manual
5000007 (ETSI) 92
2007-06-28
Manufacturer Model # Description Mid-band Gain dBi
(mid-band) 3dB (Azimuth/Elevation) Beamwidth
(degrees)
RFS SDF4-52A 4-foot HP Dish 33.9 3.1
RFS SDF6-52A 6-foot HP Dish 37.4 2.1
RFS MA0528-19AN 7.5-inch Panel 19.0 18.0
RFS MA0528-23AN 1-foot Panel 23.0 9.0
RFS MA0528-28AN 2-foot Panel 28.0 4.5

Exalt Communications, Inc.
r-series Installation and Management Manual
5000007 (ETSI) 93
2007-06-28
Region 1 Specifics
Region 1 is designated for USA and Canada installations.
Note: The professional installer is responsible to ensure that RF output power is properly
adjusted to not exceed the regulatory limit.
4.9 GHz Model
The EX-4.9r is a licensed-band product operating within Part 90 of the FCC regulations and
RSS-111 of Industry Canada. This band is specifically reserved for Public Safety applications
and related agencies.
Transmitter power reduction may be required, depending on transmission system gains and
losses, in accordance with instructions found in RF Output Power Setting on page 9.
The transmitter power of the device must be reduced by 1 dB for every 1 dB that the antenna
gain exceeds 26 dBi (inclusive of transmission system losses).
In this Appendix you will find information about the Regulatory Compliance Regulations in your
particular country.
Federal Communications Commission (FCC), United States
The device is allowed to be used provided it does not cause interference to other devices. It is not
guaranteed to provide protection against interference from other electronic and radio devices.
The system has been tested and found to comply with the limits of a Class B digital device,
pursuant to Part 15 of the FCC Rules. These limits are designed to provide reasonable protection
against harmful interference in a residential installation. This equipment generates uses and can
radiate radio frequency energy and, if not installed and used in accordance with the instructions,
may cause harmful interference to radio communications. However, there is no guarantee that
interference will not occur in a particular installation. If this equipment does cause harmful
interference to radio or television reception, which can be determined by turning the equipment
off and on, the user is encouraged to try to correct the interference by one of more of the
following measures:
• Reorient or relocate the receiving antenna.
• Increase the separation between the equipment and receiver.
• Connect the equipment into an outlet on a circuit different from that to which the receiver is
connected.
• Consult the dealer or an experienced radio/TV technician for help.
Shielded cables and I/O cords must be used for this equipment to comply with the relevant FCC
regulations.
Changes or modifications not expressly approved in writing by Exalt may void the user’s
authority to operate this equipment.

Exalt Communications, Inc.
r-series Installation and Management Manual
5000007 (ETSI) 94
2007-06-28
This device must be professionally installed.
To comply with regulations, the output power of this device may need to be adjusted in
accordance to the associated transmission system. See RF Output Power Setting in this Appendix
for details.
The antenna associated with the EX-5r family shall be mounted in a location that is at least
10’/3m away from humans that may be subject to long-term or continuous exposure.
Important: Where required by regional regulations, DFS is enabled by the system keys and
cannot be disabled.
United States Compliance
The EX-5r product family operates under FCC Rule Parts 15.247 and/or 15.407 as a license-
exempt device. The EX-4.9r products operate under FCC Rule Part 90 as a licensed device. They
may only be used as a point-to-point transmission device for fixed or temporary-fixed (non-
mobile) installations. The devices are subject to the following restrictions:
• Do not use external amplifiers to boost the power or overcome transmission system losses,
unless the specific amplifier/cable/antenna combination has expressly been authorized by the
FCC. The output power must never exceed +30 dBm.
• Cross-border transmissions are expressly prohibited, except with written permission from
both the FCC and the governing body of the neighboring country (Cofetel for Mexico;
Industry Canada for Canada).
• Use only parabolic dish antennas or directional flat-panel antennas. No other types of
antennas (omni-directional, yagi, and so on) are authorized. Parabolic dishes of either grid or
solid type are allowed. Maximum mid-band gain of each type of antenna certified is:
¶ EX-4.9r models:
– Parabolic dish: 26dBi (larger gains are allowed, with Tx power reduction)
– Directional flat panel: 26 dBi (larger gains are allowed, with Tx power reduction)
¶ EX-5r models:
– Parabolic dish: 37.9 dBi (6'/1.8m diameter)
– Directional flat panel: 28 dBi (~2'/61cm square)
Industry Canada (IC), Canada
This device complies with RSS-210 of Industry Canada. Operation is subject to the following
two conditions:
3. this device may not cause interference, and
4. this device must accept any interference, including interference that may cause undesired
operation of the device.
Exalt Communications, Inc.
r-series Installation and Management Manual
5000007 (ETSI) 95
2007-06-28
Antennas Supported in Canada
The EX-5r family has been designed to operate with the antennas listed in Table 11 which have a
maximum gain of 37.9 dBi. Antennas not included in the list or having a gain greater than 37.9
dBi are prohibited for use with this device. The required antenna impedance is 50 Ohms.
The antenna associated with the EX-5r family shall be mounted in a location that is at least
10’/3m away from humans that may be subject to long-term or continuous exposure.
Important: Where required by regional regulations, DFS is enabled by the system keys and
cannot be disabled.
Canada Compliance
The EX-5r models operate under RSS-210 of Industry Canada regulations. The EX-4.9r model
operates under RSS-111 of Industry Canada regulations. Operation is subject to the following
conditions, unless express permission is granted by Industry Canada to operate in a different
manner:
• External amplifiers cannot be used to boost the power or to overcome transmission system
losses, unless the specific amplifier/cable/antenna combination is expressly authorized by
Industry Canada.
• Cross-border transmissions are expressly prohibited, except with written permission from
both Industry Canada and the governing body of the neighboring country (FCC for USA)
• Only parabolic dish antennas or directional flat-panel antennas may be used. No other types
of antennas (omni-directional, yagi, and so on) are authorized. Parabolic dishes of either grid
or solid type are allowed. Maximum gain of each type of antenna allowed is:
¶ EX-4.9r models:
– Parabolic dish: 26 dBi (larger gains are allowed with Tx power reduction)
– Directional flat panel: 26 dBi (larger gains are allowed with Tx power reduction)
¶ EX-5r models:
– Parabolic dish: 37.9 dBi (6'/1.8m diameter)
– Directional flat panel: 28 dBi (~2'/61cm square)
A complete list of allowed antennas can be found in United States Compliance
The EX-5r product family operates under FCC Rule Parts 15.247 and/or 15.407 as a license-
exempt device. The EX-4.9r products operate under FCC Rule Part 90 as a licensed device. They
may only be used as a point-to-point transmission device for fixed or temporary-fixed (non-
mobile) installations. The devices are subject to the following restrictions:
• Do not use external amplifiers to boost the power or overcome transmission system losses,
unless the specific amplifier/cable/antenna combination has expressly been authorized by the
FCC. The output power must never exceed +30 dBm.
Exalt Communications, Inc.
r-series Installation and Management Manual
5000007 (ETSI) 96
2007-06-28
• Cross-border transmissions are expressly prohibited, except with written permission from
both the FCC and the governing body of the neighboring country (Cofetel for Mexico;
Industry Canada for Canada).
• Use only parabolic dish antennas or directional flat-panel antennas. No other types of
antennas (omni-directional, yagi, and so on) are authorized. Parabolic dishes of either grid or
solid type are allowed. Maximum mid-band gain of each type of antenna certified is:
¶ EX-4.9r models:
– Parabolic dish: 26dBi (larger gains are allowed, with Tx power reduction)
– Directional flat panel: 26 dBi (larger gains are allowed, with Tx power reduction)
¶ EX-5r models:
– Parabolic dish: 37.9 dBi (6'/1.8m diameter)
– Directional flat panel: 28 dBi (~2'/61cm square)
Industry Canada (IC), Canada on page 94.
EX-4.9r EIRP for the USA and Canada
For the EX-4.9r model within the 4940–4990 MHz band, the maximum EIRP allowed is +50
dBm. The maximum conducted power of the radio is +24 dBm for Mode 1 and +21 dBm for
Mode 2. The following formula is used to determine the output power:
P = CP – G + L
where:
P = Maximum transmitter output power of radio, in dBm
CP = Maximum Conducted Power of transmitter output power of radio, in
dBm
G = Specified gain of antenna, in dBi, from 4940 to 4990 MHz
L = Total transmission system losses of all elements between the radio’s RF
connector and the antenna’s RF connector (all cables, connectors,
lightning suppressors), in dB, as specified or measured between 4940
and 4990 MHz
Exalt Communications, Inc.
r-series Installation and Management Manual
5000007 (ETSI) 97
2007-06-28
EX-5r EIRP for the US and Canada
5250-5350 MHz Band
For the EX-5r models within the 5250–5350 MHz band, the maximum transmit power is 30
dBm. The maximum output of the radio is +13 dBm.
P = CP – G + L
where:
P = Maximum transmitter output power of radio, in dBm
CP = Maximum Conducted Power of transmitter output power of radio, in
dBm
G = Specified gain of antenna, in dBi, from 5250 to 5350 MHz
L = Total transmission system losses of all elements between the radio’s RF
connector and the antenna’s RF connector (all cables, connectors,
lightning suppressors), in dB, as specified or measured between 5250
and 5350 MHz
5470-5725 MHz Band
For the EX-5r models within the 5470-5725 MHz band, the maximum EIRP allowed is 30 dBm.
The maximum output power of the radio is +13 dBm.
P = CP – G + L
where:
P = Maximum transmitter output power of radio, in dBm
CP = Maximum Conducted Power of transmitter output power of radio, in
dBm
G = Specified gain of antenna, in dBi, from 5470 to 5725 MHz
L = Total transmission system losses of all elements between the radio’s RF
connector and the antenna’s RF connector (all cables, connectors,
lightning suppressors), in dB, as specified or measured between 5470
and 5725 MHz
Exalt Communications, Inc.
r-series Installation and Management Manual
5000007 (ETSI) 98
2007-06-28
5725-5850 MHz Band
For the EX-5r models within the 5725–5850 MHz band, the maximum EIRP allowed is 61.9
dBm. The maximum output power of the radio is +24 dBm in Mode 1 and +21 dBm in Mode 2.
P = CP – G + L
where:
P = Maximum transmitter output power of radio, in dBm
CP = Maximum Conducted Power of transmitter output power of radio, in
dBm
G = Specified gain of antenna, in dBi, from 5725 to 5850 MHz
L = Total transmission system losses of all elements between the radio’s RF
connector and the antenna’s RF connector (all cables, connectors,
lightning suppressors), in dB, as specified or measured between 5725
and 5850 MHz

Exalt Communications, Inc.
r-series Installation and Management Manual
5000007 (ETSI) 99
2007-06-28
Region 2 Specifics
The countries that are covered by this region are: Austria, Belgium, Cyprus, Czech Republic,
Denmark, Estonia, Finland, France, Germany, Great Britain, Greece, Hungary, Iceland, Ireland,
Italy, Latvia, Liechtenstein, Lithuania, Luxembourg, Malta, Norway, Poland, Portugal, Slovak
Republic, Slovenia, Spain, Sweden, Netherlands, Switzerland, and Turkey.
Note: The professional installer is responsible to ensure that RF output power is properly
adjusted to not exceed the regulatory limit.
Europe/ITU (ETSI and CE Mark)
The EX-5r family complies with ETS 301 893 for the 5.3 and 5.47 GHz bands for license-
exempt use for most countries recognizing ETSI or ITU band assignments. This band is not yet
harmonized for all countries recognizing ETSI or ITU band assignments These bands require
Dynamic Frequency Selection (DFS) and Transmitter Power Control (TPC) for radar-detection
and avoidance. There is a +30dBm EIRP limit applied to this band. Transmitter power must be
adjusted accordingly with respect to the RF cabling losses and antenna gains associated with
each terminal.
The EX-5r family complies with ETS 302 502 for the 5.8 GHz band. This band is not yet
harmonized for all countries recognizing ETSI or ITU band assignments. Consult the individual
country regulations or your Exalt Communications representative for details. This band requires
DFS and TPC for radar-detection and avoidance. There is a +33dBm EIRP limit for use of the
10MHz BW setting (called 8MHz on GUI), and a +36dBm EIRP limit for use of the 20MHz BW
setting (called 16MHz on GUI).
All models comply with the requirements for CE Mark (EN 60950-1 and IEC 60950-1) and
EMC (EN 301 489-17). No substitutions shall be made, and all wiring and grounding
instructions contained in this manual must be followed to ensure safety in accordance to the
standards.

Exalt Communications, Inc.
r-series Installation and Management Manual
5000007 (ETSI) 100
2007-06-28
Declaration of Conformity to the R&TTE Directive 1999/5/EC
English: This equipment is in compliance with the essential requirements and other relevant provisions of
Directive 1999/5/EC.
Deutsch: Dieses Gerät entspricht den grundlegenden Anforderungen und den weiteren entsprecheneden
Vorgaben der Richtlinie 1999/5/EU.
Dansk: Dette udstyr er i overensstemmelse med de væsentlige krav og andre relevante bestemmelser i Directiv
1999/5/EF.
Español: Este equipo cumple con los requisitos esenciales asi como con otras disposiciones de la Directive
1999/5/EC.
¸ëëçíáò: Áõôüò ï åîïðëéóìüò óõììïñöþíåôáé ìå ôéò ïõóéþäåéò áðáéôÞóåéò êáé ôéò ëïéðÝò äéáôÜîåéò ôçò
Ïäçãßáò 1999/5/EÊ.
Français: Cet appareil est conforme aux exigencies essentialles et aux autres dispositions pertinantes de la
Directive 1999/5/EC.
Íslenska: Þessi búnaður samrýmist lögboðnum kröfum og öðrum ákvæðum tilskipunar 1999/5/ESB.
Italiano: Questo apparato é conforme ai requisiti essenziali ed agli altri principi sanciti dalla Direttiva 1999/5/EC.
Nederlands: Deze apparatuur voldoet aan de belangrijkste eisen en andere voorzieningen van richtlijn 1999/5/EC.
Norsk: Dette utstyret er i samsvar med de grunnleggende krav og andre relevante bestemmelser i EU-directiv
1999/5/EC.
Português: Este equipamento satisfaz os requisitos essenciais e outras provisões da Directiva 1999/5/EC.
Suomalainen: Tämä laite täyttää direktiivin 1999/5/EY oleelliset vaatimukset ja on siinä asetettujen muidenkin ehtojen
mukainen.
Svenska: Denna utrustning är i överensstämmelse med de väsentliga kraven och andra relevanta bestämmelser i
Direktiv 1999/5/EC.
For 5 GHz radios, the following standards were applied:
• Radio: EN 301 893, EN 302 502
• EMC: EN 301 489-1, EN 301 489-17
• Safety: EN 60950-1, IEC 60950-1
The following CE mark is affixed to the product:
EU WEEE
Exalt is committed to meeting the requirements of the European Union’s Waste Electrical and
Electronic Equipment (WEEE) Directive. The Directives require producers of electrical and
electronic equipment to finance the take-back for re-use or recycling of their products placed on
the EU market after 13 August 2005.
Exalt products that are within the scope of the Directives are labeled with a crossed-out
"wheelie-bin" symbol as required by the Directives. This indicates that the product was placed on
the market after 13 August 2005 and that end-users should segregate the product from other
wastes at end-of-life.
The WEEE Directives are being implemented in each of the 28 EU and European Economic
Area (EAA) countries through national legislation. This has resulted in considerable variation in
the detailed requirements across the EU, many of which require presence in the EU. As a result,
Exalt’s WEEE compliance approach is to require the distributors and/or resellers in the EU to

Exalt Communications, Inc.
r-series Installation and Management Manual
5000007 (ETSI) 101
2007-06-28
comply with each country’s national legislation by registration of the distributor or reseller as the
producer and for the reseller/distributor to carry out and fulfill the legislative requirements of
each national compliance scheme.
Below is the crossed out wheelie bin symbol as required by the WEEE Directive.
EU RoHS
RoHS is the acronym used to refer to the European Union (EU) Directive 2002/95/EC on the
Restriction of the use of certain hazardous substances in electrical and electronic equipment.
Hazardous materials are those chemicals and substances that are legislatively, market, or
customer banned or restricted for use in products and/or manufacturing. There are six (6) RoHS
substances: lead (Pb), cadmium (Cd), mercury (Hg), hexavalent chromium (Cr+6),
polybrominated biphenyls (PBB) and polybrominated diphenylethers (PBDE). Other countries
may be introducing legislation that results in similar restrictions of hazardous substances. Many
Exalt products will continue to use lead-based solder under the exemption allowed for network
infrastructure equipment. Small amounts of lead, cadmium, mercury, hexavalent chromium,
PBB, and PBDE can also be found in a few electrical and electrical components.
Europe Compliance
The EX-4.9r devices are currently not permitted in any EU member or affiliate countries. The
EX-5r family operates under EN 301 893 and EN 302 502 rules as a license-exempt device. All
of these permitted devices must be professionally installed. They may only be used as a point-to-
point transmission device for fixed or temporary-fixed (non-mobile) installations. The devices
are subject to the following restrictions:
• Do not use external amplifiers to boost the power or overcome transmission system losses,
unless the specific amplifier/cable/antenna combination has expressly been authorized by the
specific country regulations. The output power must never exceed that specified in the Tables
1 and 2.
• Use only parabolic dish antennas or directional flat-panel antennas. No other types of
antennas (omni-directional, yagi, and so on) are authorized. Parabolic dishes of either grid or
solid type are allowed. Maximum mid-band gain of each type of antenna certified is:
¶ EX-5r models:
Exalt Communications, Inc.
r-series Installation and Management Manual
5000007 (ETSI) 102
2007-06-28
– Parabolic dish: 37.9 dBi (6'/1.8m diameter)
– Directional flat panel: 28 dBi (~2'/61cm square)
Exalt Communications, Inc.
r-series Installation and Management Manual
5000007 (ETSI) 103
2007-06-28
EX-5r EIRP by Country
Table 13 summarizes the maximum power by band and country for Exalt’s EX-5r series
products.
5250–5350 MHz band
For the EX-5r models within the 5250–5350 MHz band, the maximum transmit power is 23
dBm. The maximum output of the radio is +13 dBm.
P = CP – G + L
where:
P = Maximum transmitter output power of radio, in dBm
CP = Maximum Conducted Power of transmitter output power of radio, in
dBm
G = Specified gain of antenna, in dBi, from 5250 to 5350 MHz
L = Total transmission system losses of all elements between the radio’s RF
connector and the antenna’s RF connector (all cables, connectors,
lightning suppressors), in dB, as specified or measured between 5250
and 5350 MHz
5470–5725 MHz band
For the EX-5r models within the 5470-5725 MHz band, the maximum EIRP allowed is 30 dBm.
The maximum output power of the radio is +13 dBm.
P = CP – G + L
where:
P = Maximum transmitter output power of radio, in dBm
CP = Maximum Conducted Power of transmitter output power of radio, in
dBm
G = Specified gain of antenna, in dBi, from 5470 to 5725 MHz
L = Total transmission system losses of all elements between the radio’s RF
connector and the antenna’s RF connector (all cables, connectors,
Exalt Communications, Inc.
r-series Installation and Management Manual
5000007 (ETSI) 104
2007-06-28
lightning suppressors), in dB, as specified or measured between 5470
and 5725 MHz
5725-5850 MHz band
For the EX-5r models, within the 5725-5850 MHz band, the maximum transmit power with
respect to specific country EIRP regulations is determined based on the channel bandwidth. The
EIRP power limit is 33 dBm for 10 MHz channels and 36 dBm for 20 MHz channels. The Exalt
EX-5r series maximum transmitter conducted power is +24 dBm. Use the following equation to
determine the EIRP:
P = CP – G + L
where:
P = Maximum transmitter output power of radio, in dBm
CP = Maximum Conducted Power of transmitter output power of radio, in
dBm
G = Specified gain of antenna, in dBi, from 5725-5850 MHz
L = Total transmission system losses of all elements between the radio’s RF
connector and the antenna’s RF connector (all cables, connectors, lightning
suppressors), in dB, as specified or measured between 5725 and 5850 MHz

Exalt Communications, Inc.
r-series Installation and Management Manual
5000007 (ETSI) 105
2007-06-28
Table 8 Region 2 Country Specific Power Levels for EX-r Series
Country Maximum EIRP Output
Power, 5.3 GHz band Maximum EIRP Output
Power, 5.4 GHz band Maximum EIRP Output
Power, 5.8 GHz band
(BW dependent) see note
1
Austria 23 dBm 30 dBm 5 dBm
Belgium 30 dBm
Cyprus 23 dBm 30 dBm
Czech Republic 23 dBm 30 dBm 5 dBm
Denmark 23 dBm 30 dBm 33/36 dBm
Estonia 23 dBm 30 dBm
Finland 23 dBm 30 dBm
France 23 dBm 30 dBm 33/36 dBm
Germany 23 dBm 30 dBm 33/36 dBm
Great Britain 23 dBm 30 dBm 33/36 dBm
Hungary 23 dBm 30 dBm 33/36 dBm
Iceland 23 dBm 30 dBm 33/36 dBm
Ireland 23 dBm 30 dBm 33/36 dBm
Italy 23 dBm 30 dBm 33/36 dBm
Liechtenstein 23 dBm 30 dBm 5 dBm
Lithuania 23 dBm 30 dBm 33/36 dBm
Luxembourg 23 dBm 30 dBm
Netherlands 23 dBm 30 dBm 33/36 dBm
Norway 23 dBm 30 dBm 33/36 dBm
Poland 23 dBm 30 dBm 33/36 dBm
Portugal 23 dBm 30 dBm 5 dBm
Romania 23 dBm 30 dBm 33/36 dBm
Slovak Republic 23 dBm 30 dBm 5 dBm
Slovenia 23 dBm 30 dBm 33/36 dBm
Spain 23 dBm 30 dBm 33/36 dBm
Sweden 23 dBm 30 dBm 33/36 dBm
Switzerland 23 dBm 30 dBm 5 dBm
Turkey 23 dBm 30 dBm 33/36 dBm
Note 1: If the output power is designated as 33/36 dBm, the EIRP is limited to 33 dBm for 10
MHz bandwidth transmissions and 36 dBm for 20 MHz bandwidth transmissions.
Exalt Communications, Inc.
r-series Installation and Management Manual
5000007 (ETSI) 106
2007-06-28
Index
A
AC adapter, 21, 22
accessory kit contents, 7
Administration Settings page, 38
administrator privileges, 33
AIS enabling/disabling, 46
alarm conditions, 36
alarms, 44, 54, 59
clearing, 59
Temperature, 55
Alarms page, 54
AMI, 46
antenna port parameter, 43
antennas
alignment, 28, 68
EX-5r
Canada, 95
US, 91
mounting, 3, 24
indoor, 27
mounting height, 6
polarization orientation, 6
site preparation considerations, 6
system grounding, 6
transmission line, 25
troubleshooting, 68
B
B8ZS, 46
back-to-back bench test, 8, 77
back-to-back bench test configuration, 78
bandwidth, 5, 6
Bandwidth parameter, 41, 51
battery source, 21
BER, 60
browsers, 31
buzzer timeout selection parameter, 43
C
cables
Ethernet (CAT5), 9
RF, 4, 6
T1/E1, 9
troubleshooting
improper RF cable termination, 66
carrier-to-interference tolerance, 6
center frequency, 9
center frequency tuning, 5
channel bandwidth, 5
CLI, 30
main menu, 30
menu options, 30
configuration file, 49
connectors, 19
GPS/RSL, 19
Power/Ethernet, 19, 82
T1/E1, 81
T1/E1 1&3, 19
T1/E1 2&4, 19
contact information, 1
Current BER field, 56
Current RSL field, 56
D
data communication interface, 4
date and time, 38
DC power source, 21
Diagnostic Charts page, 60
dimensions, 70
documentation, related, 1
duplex
100/full-duplex, 44
duplex settings, 44
E
E1 channels, 47
E1 Interface Configuration page, 47
effective isotropic radiated power (EIRP), 9
encryption, 5
Endpoint Identifier, 34, 42, 51
Errored Seconds (ES) field, 57
Ethernet, 6
Ethernet configuration parameters, 51
Ethernet connectors, 82
Ethernet interface, 75
throughput settings, 45
Ethernet Interface Configuration page, 44
Event Log page, 59
ExaltCalc tool, 10, 65
external loopback modes, 48
F
factory default settings, 24, 50
fade margin, 6, 69
features, 4
File Activation page, 49, 52
File Transfer page, 49
file transfers, 49
files
activating stored, 52
default configuration file, 50
frame length. See TDD frame
frequency
center, 7
Exalt Communications, Inc.
r-series Installation and Management Manual
5000007 (ETSI) 107
2007-06-28
G
gateway (default), 51
GPS/RSL connector, 19
GPS/RSL LED, 20
grounding, 68
GUI
Administration Settings page, 38
Alarms page, 54
browsers supported, 31
description, 31
Diagnostic Charts page, 60
E1 Interface Configuration page, 47
Ethernet Interface Configuration page, 44
Event Log page, 59
File Activation page, 49, 52
File Transfer page, 49
IP address (default), 32
log in, 32
login privileges, 33
navigation panel, 35, 36
Performance page, 56
Radio A configuration, 32
Radio Information page, 37
Reboot page, 62
Spectrum Analyzer page, 61
summary status information, 35
System Configuration page, 40
T1 Interface Configuration page, 46
T1/E1 Configuration page, 45
H
hop, 7
I
interfaces
Ethernet, 75
power, 75
RF, 75
T1/E1, 75
interference, 57
interference profile, 6
IP address, 51
IP address conflicts, 32
IP address subnet, 32
IP settings, 9
IP subnet mask, 51
L
latency optimization, 5
LEDs
GPS/RSL, 20
Power Injector, 20
Power/Ethernet, 20
T1/E1 1&3, 20
T1/E1 2&4, 20
License Key, 39
lightning arrestor, 6
lightning arrestors, 27
Line Build Out (LBO), 46
Line Code, 46
link, 6
orientation, 11
RF link testing, 8
synchronization, 11
Link Distance parameter, 42, 51
link margin, 69
Link Name parameter, 51
link parameters, 35
Link Security Key, 38
Link Security Key parameter, 51
login names, 33
login privileges, 33
loopback, 46, 47
external (local), 47
external (remote), 47
internal, 47
M
Maximum RSL field, 57
MIB files, 49
Minimum RSL field, 57
Minimum RSL Timestamp field, 57
Mode parameter, 41
mounting
hardware, 17
multipath, 65
multipath propagation, 67
muting, 44
N
noise profile, 6
P
parameters
antenna port, 43
buzzer timeout selection, 43
passwords, 9, 33, 51
path obstruction, 68
performance degradation, 65
Performance page, 56
power
system LEDs and, 22
Power connector, 82
power injector, 22
power interface, 75
Power/Ethernet connector, 19
R
radio
default settings, 11
Exalt Communications, Inc.
r-series Installation and Management Manual
5000007 (ETSI) 108
2007-06-28
grounding, 6, 68
initiation tasks, 14
installation tasks, 14
maximum transmit power setting, 41
mounting, 6, 17
parameters, 9
rebooting, 59, 62
transmitter output power, 6
Radio A, 11
Radio A configuration, 7
radio configuration, 7
radio features, 4
radio firmware files, 49
radio frequency, 2
Radio Information page, 37
radio mount
enclosure, 3
connections, 4
indoor, 3
connections, 4
Radio Name parameter, 50
Radio Transmit Power parameter, 40
Reboot page, 62
received signal level (RSL). See RSL
receiver threshold, 6
receiver threshold performance, 9
record keeping, 16
regulatory requirements, 10
EX-4.9r FCC EIRP, 96
EX-5r FCC EIRP, 98
USA, 94, 95
regulatory rquirements
Canada, 95
RESET button, 21
RF cable length, 4
RF connector termination, 22
RF Frequency parameter, 42, 51
RF interface, 75
RF interference, 67
RF lightning arrestor, 27
RF output power, 9
RSL, 9
current RSL readings, 56
diagnostics, 60
Maximum RSL field, 57
Minimum RSL Timestamp field, 57
monitor for performance, 65
RSL voltage, 28
S
security mode, 9
Set to E1 button, 45
Set to T1 button, 45
shipping box contents, 7
site preparation, 6
SNMP, 53
specifications, 70
Spectrum Analyzer page, 61
Swap button, 49, 52
System Configuration page, 40
system latency, 6
system parameters
default settings, 24
system performance, 56
system reboot, 59
system settings
Current BER field, 56
Errored Seconds (ES) field, 57
grounding, 68
Maximum RSL, 57
Minimum RSL field, 57
Time Since Reset field, 58
Unavailable Seconds field, 57
system specifications, 70
T
T1 clocking, 20
T1 Interface Configuration page, 46
T1/E1 1&3 connector, 19
T1/E1 2&4 connector, 19
T1/E1 2&4 LED, 20
T1/E1 circuits, 45
T1/E1 Configuration page, 45
T1/E1 configuration parameters, 51
T1/E1 connections, 81
T1/E1 connectors, 81
T1/E1 interfaces, 75
T1/E1 loopback, 47
TDD factors, 10
TDD frame length, 6, 7
TDD frame size, 7
TDD Frame Size parameter, 43, 51
TDM circuit, 6
TDM circuits, 41
TDM interfaces, 11
Telnet session, 30
temperature, 60
Temperature alarm, 55
testing, 77
back-to-back bench, 8
threshold, 79
threshold measurement, 79
threshold measurement tests, 79
threshold testing, 79
time division duplex (TDD). See TDD frame
Time Since Reset, 58
transmission line
coaxial, 25
transmitter
output power, 9
transmitter output power, 6
troubleshooting, 60, 64
U
Unavailable Seconds (UAS), 57
unfaded error-free performance, 9
Exalt Communications, Inc.
r-series Installation and Management Manual
5000007 (ETSI) 109
2007-06-28
Update button, 38
user privileges, 33 V
voltage test, 28
VSWR, 66

5000007
2006-09-19
© 2006 Exalt Communications Inc.
580 Division St. Campbell, CA 95008 USA