Recognition Source IRL2001 Modular integrated reader/lock User Manual 381030
Recognition Source, LLC Modular integrated reader/lock 381030
Contents
WISI manual

P
P
PR
R
RE
E
EL
L
LI
I
IM
M
MI
I
IN
N
NA
A
AR
R
RY
Y
Y
INSTALLATION INSTRUCTIONS
WIRELESS
INTEGRATED STRIKE
INTERFACE
(WISI)
3820 Stern Avenue
St. Charles, IL 60174
Phone: 630-762-4450
Fax: 630-762-4455
P/N: M053-xxx-x001

3820 Stern Avenue
St. Charles, IL 60174
(630) 762-4450
P/N: M053-xxx-x001 (630) 762-4444 fax Page 2 of 19
INSTALLATION INSTRUCTIONS
Wireless Integrated Strike Interface (WISI)
NOTE: These instructions are for installing the Wireless Integrated Strike Interface (WISI), a component of a
Wyreless Access System. After completing this installation refer to the “Configuring and Operating the Wyreless
Access System” manual.
Table of Contents
1. Wyreless AccessTM System Components........................................................................................................3
1.1 Overview .......................................................................................................................................................3
1.2 WISI Components & Sales Models ...............................................................................................................4
2. Installing the WISI ..........................................................................................................................................6
2.1 Tools – Hardware Required...........................................................................................................................6
2.2 Determining the Best WPIM and WISI Locations ........................................................................................6
2.3 Mounting the WISI Components...................................................................................................................7
2.4 Connecting the Access Control Peripherals...................................................................................................8
3. Using the WISI Without a Card Reader......................................................................................................14
4. Battery Operated Strike Mechanical Specifications...................................................................................15
5. FCC/UL Compliance & Warnings...............................................................................................................17
5.1 FCC Compliance .........................................................................................................................................17
5.2 UL Compliance............................................................................................................................................17
5.3 Warnings......................................................................................................................................................17
6. Contacting Recognition Source ....................................................................................................................18
7. Revision History.............................................................................................................................................19

3820 Stern Avenue
St. Charles, IL 60174
(630) 762-4450
P/N: M053-xxx-x001 (630) 762-4444 fax Page 3 of 19
1. Wyreless AccessTM System Components
1.1 Overview
Every access control system that uses Wyreless AccessTM contains two different types of modules (Figure
1-1):
• at least one Wireless Panel Interface Module (WPIM), and
• at least one Wyreless Access Point Module (WAPM)
Access
Control
Panel
Wyreless
Panel
Interface
Module
(WPIM)
Wyreless
Access
Point
Module
(WAPM)
Access
Point
RF Communication
Access Control Panel Location Access Point Location
Wired
Communication
Wired
Communication
Figure 1-1 – Wyreless Access System Block Diagram
Recognition Source’s product line contains several different expressions of each module.
The WPIM is wired to the access control panel and ideally is installed very close to the access control
panel. The WPIMs installation location is determined by the location of the WAPMs with which it will
communicate using RF.
The WAPM is installed at the access point where access will be controlled and/or monitored. Depending
on the application and which WAPM is used, some wiring at the access control point may be required.
Regardless of which WPIM or WAPM module is used, the communication link between the WPIM and
WAPM is always RF.
This manual describes the installation of a Wireless Integrated Strike Interface (WISI) which is a WAPM.

3820 Stern Avenue
St. Charles, IL 60174
(630) 762-4450
P/N: M053-xxx-x001 (630) 762-4444 fax Page 4 of 19
1.2 WISI Components & Sales Models
The WISI includes a Card Reader Assembly (HID proximity, magnetic, or Wiegand), a Control
Transceiver Module, and a Battery Pack (located inside the Control Transceiver Module) (Figure 1-2 and
Figure 1-3).
If the access point where the WISI will be used requires a strike, then an optional Battery Operated Strike
(BOS) Assembly (Figure 1-2) must also be ordered. There is one BOS that is approved for the WISI. It
comes with three faceplates for use with cylindrical locksets, mortise locksets without a deadbolt, or a
mortise panic exit devices with or without a deadlatch. The BOS is available from Recognition Source as
a BOS-100 or directly from Locknetics as a 9110 TRI-BP.
NOTE: Using any other strike with the WISI may damage the Control Transceiver Module and
will void the WISI warranty.
Figure 1-2 – WISI & Peripherals
Figure 1-3 – WISI Battery Pack

3820 Stern Avenue
St. Charles, IL 60174
(630) 762-4450
P/N: M053-xxx-x001 (630) 762-4444 fax Page 5 of 19
MODEL CARD READER MOUNTING LOCATION
WISI-MS Magnetic Surface indoor
WISI-PROX HID Proximity Surface indoor
Table 1-1- WISI Sales Model Table
MODEL SUPPLIER LOCATION
BOS-100 Recognition Source indoor
9110 TRI-BP Locknetics indoor
Table 1-2- WISI Battery Operated Strikes

3820 Stern Avenue
St. Charles, IL 60174
(630) 762-4450
P/N: M053-xxx-x001 (630) 762-4444 fax Page 6 of 19
2. Installing the WISI
2.1 Tools – Hardware Required
• Hammer
• 9/32” & 3/4” drill bits
• Flat and Phillips head screwdrivers (1/8” wide flat blade for screw terminals)
• Pencil
• Transceiver Control Box Mounting Kit (K381-000-001), provided, including four zinc, pan head
Phillips, 8-18 X 1 ½” sheet metal screws and four heavy-duty anchors
• Card Reader Mounting Kit (K384-002-001), provided, including two black, flat head Phillips, 8-18 X
1 ½” sheet metal screws and two heavy-duty anchors
2.2 Determining the Best WPIM and WISI Locations
Proper selection of WPIM and WISI Transceiver Control Box mounting locations insures reliable RF
communications.
The WPIM manual contains a section for determining the best location for the WPIM.
The maximum distance between WPIM and a WISI is 200’ horizontally when installed inside a building
on the same floor that uses normal building construction materials. Never locate the WISI and WPIM
more than one (1) floor apart. If on different floors, limit the maximum horizontal distance to 100’. The
maximum distance is 1000’ for a line of sight installation.
This section provides additional application specific help and guidelines to select the best mounting
location for the WISI Transceiver Control Box:
• Mount the WISI Transceiver Control Box inside the protected area.
• Mount the WISI Transceiver Control Box on the wall, at least 55” from the floor
• Mount the WISI Transceiver Control Box within 6 cable feet of the Card Reader
• If a Battery Operated Strike is used, mount the WISI Transceiver Control Box within 15 cable feet of
the Strike.

3820 Stern Avenue
St. Charles, IL 60174
(630) 762-4450
P/N: M053-xxx-x001 (630) 762-4444 fax Page 7 of 19
2.3 Mounting the WISI Components
2.3.1 TRANSCEIVER CONTROL BOX – A 1” hole is provided in the back of the Transceiver Control
Box for routing wires in & out. If needed, additional hole(s) can be drilled in the lower left hand
corner of the Transceiver Control Box. Wire routing inside the enclosure is very important. Improper
wire routing will reduce the RF range. Keep the wires inside the enclosure as short as possible (i.e. do
not coil any excess wire inside the enclosure) (Figure 2-1 & Figure 2-2).
NOTE: Do not run wires across the printed circuit board.
Figure 2-1 – Improper Wire Routing
Figure 2-2 – Proper Wire Routing
2.3.1.1 Remove the Transceiver Control Box cover.
2.3.1.2 Place the Transceiver Control Box (cover removed) against the wall in the position it was
successfully “link” tested.
2.3.1.3 Using Transceiver Control Box as a template, mark the four corner mounting holes and the ½”
wire hole (if used) with a pencil.
2.3.1.4 Drill a 9/32” hole at each mounting mark, 1 ¾” deep, and a ½” hole at the wire hole mark (if
used).
2.3.1.5 Insert the four anchors provided firmly into the holes so they are flush with the wall.
2.3.1.6 Depending on the installation, you may want to screw the Transceiver Control Box to the wall
now or wait until the rest of the components are installed to facilitate wire routing.
2.3.2 CARD READER – Using the Card Reader Hole Drilling Template (Error! Reference source not
found.), mark the wall for the 9/32” mounting holes, and the 3/4 “ wiring hole. The WISI package
contains screws for drywall mounting. If you have a different mounting surface than drywall, you will
need to provide suitable mounting hardware, and determine the proper hole size. Route the Card
Reader wires into the Transceiver Control Box.
2.3.3 BATTERY OPERATED STRIKE - If the installation uses a strike, mount the strike assembly into
the door jamb. Follow the directions packaged with the strike assembly (also refer to section 4,
page15). Route the strike wires into the Transceiver Control Box.
2.3.4 DOOR POSITION SWITCH – If the installation uses a door position switch, mount it using the
manufacturer’s installation instructions. Route the door position switch wires into the Transceiver
Control Box.

3820 Stern Avenue
St. Charles, IL 60174
(630) 762-4450
P/N: M053-xxx-x001 (630) 762-4444 fax Page 8 of 19
2.3.5 REQUEST TO EXIT DEVICE – If the installation uses a separate request to exit device, mount it
using the manufacturer’s installation instructions. Route the request to exit device wires into the
Transceiver Control Box.
NOTE: The only recommended Request To Exit Device to use with a WISI is a momentary
switch. Unless powered from a separate source using a powered device like a PIR will result in
a very short battery life.
2.3.6 REQUEST TO ENTER DEVICE – If the installation uses a request to enter device, mount it using
the manufacturer’s installation instructions. Route the request to enter device wires into the
Transceiver Control Box.
NOTE: The only recommended Request To Enter Device to use with a WISI is a momentary
switch. Unless powered from a separate source using a powered device like a PIR will result in
a very short battery life.
2.4 Connecting the Access Control Peripherals
The access control peripherals for the WISI are connected to the Transceiver Control PCB via two 10
terminal connectors, J3 & J4 (Figure 2-3 & Figure 2-4).
Figure 2-3 – WISI Transceiver Control Box with Cover Removed

3820 Stern Avenue
St. Charles, IL 60174
(630) 762-4450
P/N: M053-xxx-x001 (630) 762-4444 fax Page 9 of 19
Figure 2-4 – WISI Typical Wiring Diagram

3820 Stern Avenue
St. Charles, IL 60174
(630) 762-4450
P/N: M053-xxx-x001 (630) 762-4444 fax Page 10 of 19
2.4.1 CARD READER
NOTE: Use only the supplied Card Reader. If the WISI is to be used without a Card Reader, please
refer to section 3, page 14, below.
The Card Reader connects to the Transceiver Control Module through J3 using 10 wires. The Card
Reader Assembly is shipped with the mating J3 connector already installed on the end of a 6’ cable.
If this cable length is acceptable for the installation, then just plug the mating connector into J3. If the
cable needs to be shortened, remove the mating connector, shorten the cable to the desired length,
strip the wires, tin the wires, and reconnect the wires to the mating connector following the
information in Table 2-1.
WISI Terminal Card Reader
Cable Wire Description
GRN_LED ORANGE Card Reader’s green LED control
RED_LED BROWN Card Reader’s red LED control
BEEPER YELLOW Card Reader’s beeper control
DCJ_POS BLUE Card Reader’s positive DC jack terminal
RDR_CLK WHITE Card Reader’s clock or data1 signal
RDR_DAT GREEN Card Reader’s data or data0 signal
CARD_PRES PURPLE Card Reader’s card present signal
RDR_PWR GRAY Card Reader’s positive DC power (switched)
PROX_PWR RED Card Reader’s positive DC power for proximity reader (non-switched)
J3
GND BLACK Card Reader’s DC ground
Table 2-1 – Card Reader Connector (J3)
2.4.2 BATTERY OPERATED STRIKE
If used, the Battery Operated Strike connects to the Transceiver Control Module through J4 using 2
wires. The Battery Operated Strike is shipped with a 15’ cable. Trim the cable to the desired length,
strip the wires, tin the wires, and connect the wires to the mating connector following the information
in Table 2-2. The color of the wires provided with the strike can not be guaranteed to be black and
white. If this is the case, take your best guess (a 50/50 chance), connect the two wires from the strike
in any order. If the strike unlocks when it should lock or locks when it should unlock, then switch the
wires. No damage will be done, you just won’t get the proper lock/unlock operation.
WISI Terminal
Battery
Operated
Strike Wire
Description
STK_LK BLACK
J4
STK_UL WHITE
If the Battery Operated Strike wires are not black and white, see text
above.
Table 2-2 – Battery Operated Strike Connections (J4)

3820 Stern Avenue
St. Charles, IL 60174
(630) 762-4450
P/N: M053-xxx-x001 (630) 762-4444 fax Page 11 of 19
2.4.3 DOOR POSITION SWITCH
If used, a Door Position Switch connects to the Transceiver Control Module through J4 using 2 wires.
Trim the cable to the desired length, strip the wires, tin the wires, and connect the wires to the mating
connector following the information in Table 2-3. Either wire can go to either connection, i.e. the
connection is non-polar.
WISI Terminal Description
DR_POS_A
J4
DR_POS_B
A dry contact closure across these terminals indicates to the ACP that
the access point portal is closed.
An open circuit indicates to the ACP that the access point portal is
open.
Table 2-3 – Door Position Switch Connections (J4)
2.4.4 REQUEST TO EXIT DEVICE
NOTE: The only recommended Request To Exit Device to use with a WISI is a momentary
switch. Unless powered from a separate source using a powered device like a PIR will result in
a very short battery life.
If used, a Request To Exit Device connects to the Transceiver Control Module through J4 using 2
wires. Trim the cable to the desired length, strip the wires, tin the wires, and connect the wires to the
mating connector following the information in Table 2-4. Either wire can go to either connection, i.e.
the connection is non-polar.
WISI Terminal Description
RT_EXIT_A
J4 RT_EXIT_B A dry contact closure across these terminals initiates a request to exit.
Table 2-4 – Request To Exit Device Connections (J4)
2.4.5 REQUEST TO ENTER DEVICE
NOTE: The only recommended Request To Enter Device to use with a WISI is a momentary
switch. Unless powered from a separate source using a powered device like a PIR will result in
a very short battery life.
If used, a Request To Enter Device connects to the Transceiver Control Module through J4 using 2
wires. Trim the cable to the desired length, strip the wires, tin the wires, and connect the wires to the
mating connector following the information in Table 2-5. Either wire can go to either connection, i.e.
the connection is non-polar.
WISI Terminal Description
RT_ENT_A
J4 RT_ENT_B A dry contact closure across these terminals initiates a request to enter.
Table 2-5 – Request To Enter Device Connections (J4)

3820 Stern Avenue
St. Charles, IL 60174
(630) 762-4450
P/N: M053-xxx-x001 (630) 762-4444 fax Page 12 of 19
2.4.6 BATTERY PACK INSTALLATION
The Transceiver Control Module is shipped with a Battery Pack with a connector attached but maybe
unconnected (Figure 1-3 & Figure 2-3).
2.4.6.1 If the WISI enclosure cover is on, use the Phillips screwdriver to remove WISI cover. There are
4 cover screws, one in each corner (Figure 1-2).
2.4.6.2 Install the Battery Pack into the Transceiver Control Module enclosure using the Velcro
provided (Figure 2-5).
Figure 2-5 – Positioning the Battery Pack to Connect the Wires
2.4.6.3 Connect the Battery Pack Connector to its mating connector that is factory connected to J4
(Figure 2-6).
Figure 2-6 – Battery Pack Installed
2.4.6.4 Do not install the WISI cover at this time. The WISI needs to be linked before installing the
WISI cover, follow the instructions in the “Configuring & Operating a Wyreless Access
System” manual.
WISI Terminal
Battery
Connector
Wire
Description
+12V RED Positive battery pack wire to this terminal
J4
GND BLACK Negative battery pack wire to this terminal
Table 2-6 – Battery Pack Connections (J4)

3820 Stern Avenue
St. Charles, IL 60174
(630) 762-4450
P/N: M053-xxx-x001 (630) 762-4444 fax Page 13 of 19
This completes the installation of the WISI. Do not install the WISI cover yet, this will be
done after the Panel Interface Module (PIM) is installed and during system configuration.
If the Wireless Panel Interface Module (WPIM) that will control this WISI is not installed,
now is the time to install it, please refer to the “PIM Installation Instruction” manual.
If the WPIM is installed, then you are ready to configure your Wyreless Access System,
please refer to the “Configuring & Operating a Wyreless Access System” manual.

3820 Stern Avenue
St. Charles, IL 60174
(630) 762-4450
P/N: M053-xxx-x001 (630) 762-4444 fax Page 14 of 19
3. Using the WISI Without a Card Reader
The WISI is usually installed with the Card Reader that is supplied with the WISI. Some applications may
not require the Card Reader, such as an access point that only needs a strike or an access point that just needs
a Request to Exit or Door Position switches.
When the WISI application does not require a card reader, two jumpers need to be added to the Card Reader
Connector (J3) to insure that the WISI’s DC current draw is minimized to maximize the battery life.
The two reader signal connections, RDR_CLK & RDR_DAT, need to be grounded by jumping them to the
GND connection (Table 3-1 & Figure 3-1).
WCM Terminal Description
RDR_CLK Card Reader’s clock or data1 signal
RDR_DAT Card Reader’s data or data0 signal
J3
GND Card Reader’s DC ground
Table 3-1 – WISI Card Reader Connector
Figure 3-1 – WISI Without Card Reader Jumpers

3820 Stern Avenue
St. Charles, IL 60174
(630) 762-4450
P/N: M053-xxx-x001 (630) 762-4444 fax Page 15 of 19
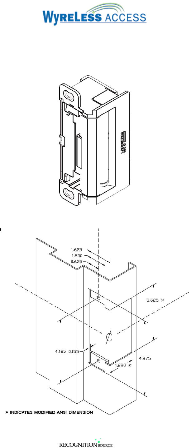
4. Battery Operated Strike Mechanical Specifications
Figure 4-1, Figure 4-2, and Figure 4-3 show the mechanical dimensions of the battery operated strike (BOS-
100). These figures are provided for convenience only and the documentation provided with the strike
should be used for actual installation dimensions.
Figure 4-1 – BOS-100 Perspective View
Figure 4-2 – BOS-100 Door Jamb Preparation Dimensions

3820 Stern Avenue
St. Charles, IL 60174
(630) 762-4450
P/N: M053-xxx-x001 (630) 762-4444 fax Page 16 of 19
Figure 4-3 – BOS-100 Top View Dimensions

3820 Stern Avenue
St. Charles, IL 60174
(630) 762-4450
P/N: M053-xxx-x001 (630) 762-4444 fax Page 17 of 19
5. FCC/UL Compliance & Warnings
5.1 FCC Compliance
• This device has been authorized by the FCC Rules and Industry Canada.
• This device complies with the limits for a Class B digital device and a Class B intentional radiator,
pursuant to Part 15 of the FCC Rules and with RSS-210 of Industry Canada. Operation is subject to
the following two conditions: (1) This device may cause harmful interference, and (2) this device
must accept any interference received, including interference that may cause undesired operation.
• The Wyreless Access System Component must be installed by qualified professionals or contractors
in accordance with FCC part 15.203, Antenna Requirements.
• Do not use any antenna other than the one provided with the unit.
5.2 UL Compliance
• The Wireless Integrated Strike Interface (WISI) listing under UL294 as an access control system
accessory.
• Access equipment manufactured and/or sold by Recognition Source, LLC, is not rated for, or
intended for use in life safety installations.
• The Wireless Integrated Strike Interface (WISI) shall not be installed in the fail-secure mode unless
permitted by the local authority having jurisdiction and shall not interfere with the operation of panic
hardware.
• The Wireless Integrated Strike Interface (WISI) shall only be installed where free egress is always
allowed.
5.3 Warnings
• RF Exposure - To comply with FCC RF exposure requirements for mobile transmitting devices this
transmitter should only be used or installed at locations where there is normally at least a 20 cm
separation between the antenna and all persons.
• Do not co-locate and operate in conjunction with any other antenna or transmitter.
• Use only the Battery Pack specified in this instruction manual.
• Do not subject Battery Pack to fire or high temperatures.
• Do not attempt to recharge, short out or disassemble Battery Pack.
• Follow local regulations for alkaline battery disposal.
• Immediately remove the batteries and discontinue use if:
- the product is impacted after which the interior is exposed, or
- the product emits a strange smell, heat, or smoke.
• Changes or modifications not expressly approved by Recognition Source could void the users
authority to operate the equipment.

3820 Stern Avenue
St. Charles, IL 60174
(630) 762-4450
P/N: M053-xxx-x001 (630) 762-4444 fax Page 18 of 19
6. Contacting Recognition Source
For questions regarding Wyreless Access™:
(630) 762-4450
(630) 762-4444 fax

3820 Stern Avenue
St. Charles, IL 60174
(630) 762-4450
P/N: M053-xxx-x001 (630) 762-4444 fax Page 19 of 19
7. Revision History
Version Date Changes
x001 11/26/03 preliminary in house release for comments