Visonic PWRMAXPRO Security Control Panel User Manual DE5468IP2 w2002
Visonic Inc. Security Control Panel DE5468IP2 w2002
Visonic >
Contents
- 1. Users Manual Revised
- 2. Installars Guide Part 1 Revised
- 3. Installers Guide Part 2
- 4. Installers Guide Part 1 Revised
Installers Guide Part 2

16 DE5468IP
4.4.21 “Not Active” (fig. 4.4, location 21)
Here you determine the time limit for reception of signals
from sensors used to monitor the activity of sick, elderly or
disabled people. If no device detects and reports
movement at least once within the defined time limit, a
“not-active” alert is initiated.
Options: 3, 6, 12, 24, 48, 72 hours and no act disable.
4.4.22 Back Light (fig. 4.4, location 22)
Here you determine whether the keypad back lighting will
remain on at all times or will come on when a key is
pressed and go off within 10 seconds if no further
keystrokes are sensed.
The two options are: always on and off after 10 s.
4.4.23 Duress (fig. 4.4, loc. 23)
A duress alarm (ambush) message can be sent to the
central station if the user is forced to disarm the system
under violence or menace. To initiate a duress message,
the user must disarm the system with the duress code
(2580 by default). Here you can change the code digits or
enter "0000" to disable the duress feature. The system
does not allow the user to program the duress code
saved in this memory location as an existing user code.
4.4.24 Piezo Siren (fig. 4.4, location 24)
Here you determine whether the internal siren will sound or
remain silent upon alarm (according to the user
preference). Options: piezo siren on, piezo siren off.
4.4.25 Reset Option (fig. 4.4, location 25)
(Not applicable in the USA)
Here you determine whether the system can be rearmed
(after an event) by the user or only by the installer.
Options: user reset or engineer reset.
If Engineer Reset is selected, the system can be rearmed
only by the installer; by entering and exiting the installer
menu, by entering and exiting the event log (see section 7),
or by remote telephone. To perform Engineer Reset via the
telephone, establish communication with the PowerMax Pro
(see user guide, par. 6.3A, steps 1-5) and continue as
follows:
a. [*], [installer code], [#]
b. Wait for 2 beeps
c. [*], [1], [#]
d. [*], [99], [#]
4.4.26 Tamper Option (fig. 4.4, location 26)
Here you determine whether zone tamper will be reported
or ignored. Available options are: zone tamper ON and
zone tamper OFF.
4.4.27 Siren On Line (fig. 4.4, location 27)
Here you determine whether the siren will be activated or not
when the telephone line fails during system armed state.
Available options are: enable on fail, disable on fail.
4.4.28 Memory Prompt (fig. 4.4, location 28)
Here you determine whether the user will receive
indication that an alarm has been activated.
Available options are: enable and disable.
4.4.29 Disarm Option (fig. 4.4, location 29)
Here you determine when it is possible to disarm the system:
A. Any time.
B. In AWAY mode, during entry delay, by using the
PowerMax Pro keypad or wireless device (keyfob).
C. In AWAY mode, during entry delay, by using a wireless
device (keyfob) only (this is set as a default in UK to
comply with DD423).
D. During entry delay, or by using the PowerMax Pro
keypad in AWAY mode.
Options: any time, on entry all, on entry wireless, or
entry + away kp.
4.4.30 Bell/Rep. Option (fig. 4.4, location 30)
Here you determine whether an alarm will be initiated
(siren / report) when there is a supervision / jamming
failure during AWAY arming state.
Available options are: EN standard and other. When "EN
standard" is selected, if there is supervision / jamming
failure during AWAY arming, the siren is activated and the
events are reported as tamper events. When "Other" is
selected, there is no such activity during AWAY arming.
4.4.31 Low-Bat Ack (fig. 4.4, location 31)
Here you determine whether the user will hear or will not
hear low battery sound when he tries to disarm the system
with a keyfob whose battery voltage is low.
Available options are: keyfob L-B on (the user has to
acknowledge the keyfob low battery message) or keyfob
L-B off (the user does not have to acknowledge the keyfob
low battery message).
4.4.32 Screen Saver (fig. 4.4, location 32)
Here you can determine that if no key is pressed during
more than 30 seconds, the display will be “PowerMax” (to
prevent possible intruder of knowing the system status).
You can determine that normal display will return after
pressing the button followed by entering user code
(Refresh by Code) or after pressing any key (Refresh by
Key).
If Refresh by Key is selected, the first pressing of any key
(except Fire and Emergency) will cause normal display
return and the second press will perform the key function.
Regarding the Fire and Emergency keys, the first key
press will cause normal display return and also will perform
the Fire/Emergency function.
Options: scrn saver OFF, refresh by code, refresh by key.
4.4.33 Confirm Alarm (fig. 4.4, location 33)
Here you determine that if 2 successive alarms will occur
during a specific period, the second alarm will be
considered as a confirmed alarm (for confirmed alarm
reporting, see par. 4.5.12 REPORT CNF ALARM).
Options: disable 30 min., 45 min., 60 min., or 90 min.
4.4.34 AC FAIL REP (fig. 4.4, location 34)
Here you determine the time interval between AC power
failure occurrence and the failure reporting. Options: 5
minutes, 30 minutes, 60 minutes or 180 minutes.
4.4.36 User Permission (fig. 4.4, location 36)
Here you determine whether the access to the INSTALLER
MODE requires user permission. If you select ENABLE, the
installer mode will be accessible only through the user
menu after entering the user code.
Options: Enable, Disable.

DE5468IP 17
READY 00:00
USER SETTINGS
NORMAL MODE
ENTER CODE
1. NEW INSTL CODE
2. ENROLLING
3. DEFINE ZONES
5. DEFINE COMM
[installer code]
INSTALLER MODE
05: ABORT TIME
09: EXIT MODE
13: SWINGER STOP
17: AUX BUTTON A
status
instant
01: ENTRY DELAY 1 02: ENTRY DELAY 2 03: EXIT DELAY 04: BELL TIME
06: ALARM CANCEL 07: QUICK ARM
quick arm ON
quick arm OFF
08: BYPASS
manual bypass
no bypass
force arm
10: PIEZO BEEPS 11: TROUBLE BEEPS 12: PANIC ALARM
cross zone ON
cross zone OFF
14: CROSS ZONING 15: SUPERVISION
superv time 1 h
superv time 2 h
superv time 4 h
superv time 8 h
16: NOT READY
normal
in supervision
4. DEFINE PANEL
entry dly2 00 s
entry dly2 15 s
entry dly2 30 s
entry dly2 45 s
entry dly2 60 s
entry dly2 3 m
entry dly2 4 m
exit delay 30 s
exit delay 60 s
exit delay 90 s
exit delay 120 s
exit delay 3 m
exit delay 4 m
bell time 1 m
bell time 4 m
bell time 8 m
bell time 10 m
bell time 15 m
bell time 20 m
cancel time 1 m
cancel time 5 m
cancel time 15 m
cancel time 60 m
cancel time 4 h
cancel inactive
enable beeps
off when home
disable beeps
enable beeps
off at night
disable beeps silent panic
audible panic
disable panic
shut after 1
shut after 2
shut after 3
no shutdown
superv time 12 h
disable
PGM / X-10
entry dly1 00 s
entry dly1 15 s
entry dly1 30 s
entry dly1 45 s
entry dly1 60 s
entry dly1 3 m
entry dly1 4 m
abort time 00 s
abort time 15 s
abort time 30 s
abort time 45 s
abort time 60 s
abort time 2 m
abort time 3 m
restart exit
off by door
normal
bell time 3 m
abort time 4 m
Note: The currently saved
options are displayed with
dark box at the right side of
the display. To review the
options, repeatedly click
or until the
desired option is displayed,
then click OK (a dark box
will be displayed at the right
side).
Note: Force arm is not
applicable to the UK.
6. DEFINE GSM
in
USA
in
USA
in
USA in
USA
8. DEFINE OUTPUTS
9. DEFINE VOICE
10. DIAGNOSTICS
11. USER SETTINGS
12. FACTORY DEFLT
13. SERIAL NUMBER
<OK> TO EXIT
14. START UL/DL
7. DEFINE PWRLNK
skip exit delay
19: JAM DETECT
UL (20/20)
EN (30/60)
class 6 (30/60)
disabled
21: NOT ACTIVE
no act time 3 h
no act time 6 h
no act time 12 h
no act time 24 h
no act time 48 h
no act time 72 h
no act disable
22: BACK LIGHT
always on
off after 10 s
23: DURESS
duress code 2580
(Change the code or
enter 0000 to disable
duress function)
Note: Duress code is not
applicable to the UK.
24: PIEZO SIREN
piezo siren on
piezo siren off
25: RESET OPTION
user reset
enginner reset
Not applicable
in the USA
26: TAMPER OPTION
zone tamper on
zone tamper off
27: SIREN ON LINE
enable on fail
disable on fail
28:MEMORY PROMPT
enable
disable
29: DISARM OPTION
any time
on entry wrless
entry + awake kp
on entry all
Not applicable
in the USA
in
UK
30: BELL/REP. OPT
EN standard
other
31: LOW-BAT ACK
keyfob L-B on
keyfob L-B off
32: SCREEN SAVER
scrn saver OFF
refresh by code
refresh by key
34: AC FAIL REP
5 minutes
30 minutes
60 minutes
180 minutes
36: USER PERMIT
Disable
Enable
in
UK
33: CONFIRM TIME
disable
30 minutes
45 minutes
60 minutes
90 minutes
20:LATCHKEY
latchkey on
latchkey off
18: AUX B 2-W-KF
status
instant
PGM / X-10
skip exit delay
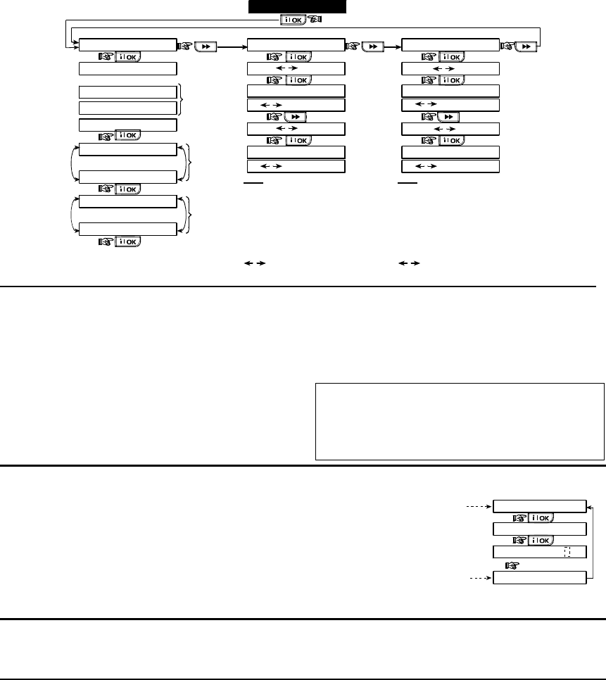
Figure 4.4 - DEFINE PANEL Flow Chart

18 DE5468IP
4.5 DEFINING COMMUNICATION PARAMETERS
Preliminary Guidance
This mode allows you to adapt the telephone
communication parameters to the local requirements.
Compatible central station receivers are:
Osborne-Hoffman model 2000, Ademco Model 685,
FBII Model CP220, Radionics Model D6500, Sur-Gard
Model SG-MLR2-DG and Silent Knight Model 9500.
IMPORTANT: In telephone / pager number locations and
account number locations, you may be required to enter
hexadecimal digits. In telephone number locations, these
digits are used as codes to control the dialer:
Hex.
Digit
Keying
Sequence
Code
Significance
A <#>
⇒
<0> Applicable only at the beginning of a
number - the dialer waits 10 seconds
or waits for dial tone, whichever
comes first and then dials.
B <#>
⇒
<1> Inserts an asterisk (J)
C <#>
⇒
<2> Inserts a pound sign (#)
D <#>
⇒
<3> Applicable only at the beginning of a
number - the dialer waits 5 seconds
for dial tone and goes on hook if none
is received.
E <#>
⇒
<4>
A
pplicable only in the middle of the
number - the dialer waits 5 seconds
F <#>
⇒
<5> Not applicable in phone numbers
To enter a series of digits, use the following keys:
<Numeric keypad> - to enter the number
- moves the cursor from left to right
- moves the cursor from right to left
- deletes everything after the cursor (to the right).
4.5.1 Autotest Time (fig. 4.5, location 01)
Here you determine the time at which the telephone line
will be tested and reported to the central station.
4.5.2 Autotest Cycle (fig. 4.5, location 02)
Here you determine the time interval between consecutive
telephone line test messages sent to the central station.
The control panel performs this at regular intervals to verify
proper communications.
The options are: test every 1, 5, 7, 14, 30 days and test off.
4.5.3 Area Code (fig. 4.5, location 03)
Here you enter the system tel. area code (up to 4 digits).
4.5.4 Out Access No (fig. 4.5, location 04)
Here you enter the number that is used as a prefix to
access an outside telephone line (if exists).
4.5.5 First Central Station Tel. (fig. 4.5, loc. 05)
Here you program telephone number of the 1st central station
(including area code, 16 digit max) to which the system will
report the event groups defined in memory location 11 (see
note in fig. 4.5).
4.5.6 First Account No. (fig. 4.5, location 06)
Here you enter number that will identify your specific alarm
control system to the first central station. The number
consists of 4 or 6 hexadecimal digits (see note in fig. 4.5).
4.5.7 2ND Central Station Tel. (fig. 4.5, loc. 07)
Here you program telephone number of the 2nd central station
(including area code, 16 digit max) to which the system will
report the event groups defined in memory location 11 (see
note in fig. 4.5).
4.5.8 Second Account No. (fig. 4.5, loc. 08)
Here you enter number that will identify your system to the
2nd central station. The account number consists of 4 or 6
hexadecimal digits (see note in fig. 4.5).
4.5.9 Report Format (fig. 4.5, location 09)
Here you select the reporting format used by the control panel
to report events to central stations (see note in figure 4.5).
The options are: Contact-ID SIA 4/2 1900/1400
4/2 1800/2300 Scancom (see Appendix C - code lists).
4.5.10 4/2 Pulse Rate (fig. 4.5, location 10)
Here you select the pulse rate at which data will be sent to
central stations if any one of the 4/2 formats has been
selected in Location 09 REPORT FORMAT (see note in
fig. 4.5). The options are: 10, 20, 33 and 40 pps.
4.5.11 Reporting to Central Stations
(fig. 4.5, location 11) (see note in fig. 4.5).
Here you determine which types of event will be reported
to central stations. Due to lack of space in the display,
abbreviations are used: alarm is “alrm”, alert is “alrt” and
open/close is “o/c”. The asterisk (J) is a separator
between events reported to central station 1 and events
reported to central station 2.
Messages are divided by type into three groups:
GROUP EVENTS REPORTED
Alarms Fire, Burglary, Panic, Tamper
Open/Close Arming AWAY, Arming HOME, Disarming
Alerts No-activity, Emergency, Latchkey
"Alarm" group has the highest priority and "Alert" group
has the lowest priority.
The selectable options are as follows:
Plan name Sent to center
1
Sent to center 2
all -o/c J backup All but open/close All but open/close if center 1
doesn’t respond
all J all All All
all-o/c J all -o/c All but open/close All but open/close
all –o/c J o/c All but open/close Open/close
all (–alrt) J alrt All but alerts Alerts
Alrm J all (–alrm) Alarms All but alarms
Disable report Nothing Nothing
all J backup All All if cent. 1 doesn’t respond
Note: “All” means that all 3 groups are reported and also
trouble messages - sensor / system low battery, sensor
inactivity, power failure, jamming, communication failure etc.
4.5.12 Report CNF Alarm (fig. 4.5, location 12)
Here you determine whether the system will report whenever
2 or more events (confirmed alarm) occur during a specific
period (see par. 4.4.33 and note in figure 4.5).
Available options are: enable report, disable report,
enable + bypass (enabling report and bypassing the
detector - applicable to PowerMax Pro that is compatible
with DD423 standard).
4.5.13 Send 2WV Code (fig. 4.5, location 13)
Here you determine whether the system will send two-way
voice code to the central station (to turn the central station
from data communication to voice communication state) by
using pre-selected SIA or Contact-ID communication format
only (see note in fig. 4.5). Options: send and don't send.
4.5.14 Two-Way Voice Central Stations
(fig. 4.5, loc. 14). (See note in fig. 4.5).
Here you select the timeout for 2-way voice communication
with Central Stations, or enable the central station to ring
back for 2-way voice function. This option is applicable only
after reporting an event to the central station. (The central
station person can press [3] for listen-in", [1] for "speak out"
or [6] for listening and speaking).
The options are: 10, 45, 60, 90 seconds, 2 minutes, ring
back and disable (no two-way voice communication).

DE5468IP 19
Note: If "Ring Back" is selected, you should select
"Disable Report" for private telephone (see par. 4.5.20 -
Reporting to Private Telephones), otherwise the central
station will establish communication with the PowerMax
Pro (after an event occurrence) in the normal manner (and
not after one ring).
4.5.15 Ring Back Time (fig. 4.5, location 15)
Here you determine the period during which the central
station can establish 2-way voice communication with the
PowerMax Pro (after 1 ring), if:
A. Alarm type message was received by central station.
B. Ring Back function was selected (see par. 4.5.14).
The options are: 1, 3, 5 or 10 min. (see note in fig. 4.5).
4.5.16 Dialing Attempts (fig. 4.5, location 16)
Here you determine how many times the communicator will
dial the central station’s number. (see note in fig. 4.5).
The options are: 2, 4, 8, 12, and 16 attempts.
Attention! A maximum of 2 dialing attempts is permitted
by the Australian Telecommunication Authority.
4.5.17 Set Private Tel. No. (fig. 4.5, location 17)
Here you program the four telephone numbers (including
area code) of the private subscriber to which the system
will report the event groups defined in Location 20.
4.5.18 Two-Way Voice - Private Phones
(fig. 4.5, location 18)
Here you determine whether 2-way voice communication
with private telephones will be allowed or not.
The two options are: enable 2-way and disable 2-way.
4.5.19 Private Tel. Dialing Attempts
(fig. 4.5, location 19)
Here you determine how many times the communicator will
dial the called party’s number (private telephone).
The options are: 1, 2, 3 and 4 attempts.
Attention! A maximum of 2 dialing attempts is permitted
by the Australian Telecommunication Authority.
4.5.20 Reporting to Private Telephones
(fig. 4.5, location 20)
Here you determine which event groups will be reported to
private telephone subscribers. The options are as follows:
Term Description
all All messages
all (-op/cl) All messages, except open/close
all (-alerts) All messages, except alerts
alarms Alarm messages
alerts Alert messages
op/cl Open/close
disable report No message will be reported
Note: “All” means all events including the L. BAT and AC
FAIL trouble messages.
4.5.21 Tel. Acknowledge (fig. 4.5, location 21)
Here you determine whether the system will use the
single acknowledge or the all acknowledge mode when
reporting to private telephones.
Note: In the single acknowledge mode, receiving an
acknowledge signal from a single telephone is sufficient to
consider the current event closed and call off the
communication session. The remaining telephones serve
for backup purposes only. In the all acknowledge mode, an
acknowledge signal must be received from each telephone
before the current event is considered reported.
The options are: single ack and all ack.
4.5.22 Pager Tel. No. (fig. 4.5, location 22)
Here you program the telephone number (including area
code) of the pager to which the system will report (if any).
4.5.23 Pager’s PIN No. (fig. 4.5, location 23)
Here you enter the pager’s PIN code - a digital sequence
that is the pager’s address. The paging company’s
computer needs this input for routing messages to the
specific pager. The PIN sequence precedes any digital
message that the PowerMax Pro sends to the pager to
report an event. It may include digits, pauses and special
characters (
∗
or #). Call the paging company to find out
what the pager’s PIN code should consist of.
Important! In this location, special characters can be
entered as shown below:
To Insert Keying Sequence Character Displayed
∗
<#>
⇒
<1> B
# <#>
⇒
<2> C
5 sec pause <#>
⇒
<3> E
Enter the pager’s PIN number (up to 16 digits, including
special characters, depending on pager system protocol).
4.5.24 Reporting to a Pager (fig. 4.5, loc. 24)
Here you determine which event groups will be reported to
the pager. (For the abbreviations, refer to par. 4.5.11).
The options are: all alarms + alerts all (- op/cl)
trbl + op/cl trbl op/cl disable report
4.5.25 Recent Closure (fig. 4.5, location 25)
Here you enable or disable the “recent closing” report, that
is sent to the central station if an alarm occurs within 2
minutes from the expiry of the exit delay.
The options are: recent close ON and recent close OFF.
4.5.26 Remote Access (fig. 4.5, location 26)
Here you give or deny permission to access the system
and exercise control from a remote telephone.
The options are: rem. access ON and rem. access OFF.
4.5.27 Mast. DL Code (fig. 4.5, location 27)
Here you determine the master installer 4-digit password
for downloading/uploading data into/from the PowerMax
Pro memory. (See note in fig. 4.5).
Attention! If "0000" is used, it will not enable connection of
the PowerMax Pro to the PC for upload/download
purpose.
4.5.28 Inst. DL Code (fig. 4.5, location 28)
Here you determine the installer 4-digit password for
downloading data into the PowerMax Pro memory.
Attention! If "0000" is used, it will not enable connection of
the PowerMax Pro to the PC for upload/download
purpose.
4.5.30 Zone Restore (fig. 4.5, location 30)
Here you determine whether a zone restore will be
reported or not. Options: report restore and don't report.
4.5.31 Upload Option (fig. 4.5, location 31)
Here you determine whether the PowerMax Pro data can
be uploaded into a computer while the system is in disarm
state or any time (in HOME/AWAY arming & disarm state).
The options are: when system OFF and any time.

20 DE5468IP
(See note)
Note
The currently saved options
are displayed with dark box
at the right side of the display.
To review the options,
repeatedly click or
until the desired option
is displayed, then click OK (a
dark box will be displayed at
the right side).
22: PAGER TEL #
xxxxxxxxxxxxxxxx
(Enter Tel. No.)
23: PAGER PIN #
xxxxxxxxxxxxxxxx
(Enter PIN No.)
24: REPORT PAGER
all
alarm +alert
all (-op/cl)
trbl + op/cl
trbl
op/cl
disable report
13: SEND 2WV CODE
send
don’t send
(See note)
11: REPORT CNTR
all - o/c * backup
all * all
all - o/c * all - o/c
all - o/c * o/c
all (-alrt) * alrt
alrm * all (-alrm)
disable report
all * backup
(See note)
07: 2ND CNTR TEL
xxxxxxxxxxxxxxxx
(Enter Tel. No.)
(See note)
08: 2ND ACCOUNT #
xxxxxx
(Enter account No.)
(See note)
(See appendix - code list)
09:REPORT FORMAT
contact ID
SIA
4/2 1900/1400
4/2 1800/2300
Scancom
(See note)
10: 4/2 PLS RATE
10 pps
20 pps
33 pps
40 pps
(See note)
21: TEL ACKNWLDGE
single ack
all ack
20: REPORT PRVT
all
all (-op/cl)
all (-alerts)
alarms
alerts
op/cl
disable report
19: PRVT ATTEMPTS
1 attempt
2 attempts
3 attempts
4 attempts
18: VOICE PRVT
enable two-way
disable two-way
2 attempts
4 attempts
8 attempts
12 attempts
16 attempts
16: DIAL ATTEMPTS
(See note)
1 minute
3 minutes
5 minutes
10 minutes
15: RINGBACK TIME
(See note)
time out 10 s
time out 45 s
time out 60 s
time out 90 s
time out 2 m
ring back
disable
14: VOICE C.S.
(See note)
17: SET PRVT TEL#
1st private tel#
2nd private tel#
3rd private tel#
4th private tel#
xxxxxxxxxxxxxxxx
(Enter Tel. No.)
12: RPRT CNF ALRM
enable report
disable report
(See note)
enable + bypass
06: 1ST ACCOUNT #
xxxxxx
(Enter account No.)
(See note)
05: 1ST CNTR TEL
xxxxxxxxxxxxxxxx
(Enter Tel. No.)
(See note)
02:AUTOTST CYCLE
01: AUTOTEST TIME
Test time 12:00 P
(Enter test time)
03:AREA CODE 04: OUT ACCESS No
xxxx
(Enter tel. area
code, up to 4-digit)
x
(Enter ext. tel. line
access code, 1-digit)
25: RECENT CLOSE
recent cl. on
recent cl. off
27: MAST. DL CODE
26:REMOTE ACCESS
rem. access on
rem. access off
28: INST. DL CODE 30: ZONE RESTORE
report restore
don’t report
32: DIAL METHOD
tone (dtmf)
pulse
31: UPLOAD OPTION
when system OFF
any time
35: SYS INACT REP
disable
rep after 7d
34: UL/DL TEL #
rep after 14d
rep after 30d
rep after 90d
xxxxxxxxxxxxxxxx
(Enter Tel. No.)
33: LINE FAIL REP
don’t report
immediately
5 minutes
30 minutes
60 minutes
180 minutes
test every 1d
test every 5d
test every 7d
test every 14d
test every 30d
test OFF
xxxx
downl. code AAAA
(Enter 4-digit code)
(”0000” is not valid)
xxxx
downl. code BBBB
(Enter 4-digit code)
(”0000” is not valid)
4. DEFINE PANEL
5. DEFINE COMM.
<OK> TO EXIT
USER SETTINGS
ENTER CODE
1. NEW INSTL CODE
2. ENROLLING
3. DEFINE ZONES
INSTALLER MODE
[inst. code] (see note)
READY 00:00
NORMAL MODE
Note
For Control Panel that has
installer code & master
installer code, the following
functions are available only if
the MASTER INSTALLER
code is entered:
05: 1ST CNTR TEL
06: 1ST ACCOUNT #
07: 2ND CNTR TEL
08: 2ND ACCOUNT #
09: REPORT FORMAT
10: 4/2 PLS RATE
11: REPORT CNTR
12: RPRT CNF ALRM
13: SEND 2WV CODE
14: VOICE C.S.
15: RINGBACK TIME
16: DIAL ATTEMPTS
27: MAST. DL CODE
Not applicable
in the USA
38:AMBIENT LEVEL
Applicable for USA only
high
low
Figure 4.5 - DEFINE COMM Flow Chart

DE5468IP 21
4.5.32 Dialing Method (fig. 4.5, location 32)
Here you determine the dialing method used by the
automatic dialer built into the PowerMax Pro control panel.
The options are: Pulse and DTMF (tone).
4.5.33 Line Failure Report (fig. 5, loc. 33)
Here you determine if the telephone line disconnection will
be reported or not and determine the delay between
detection of line disconnection and the failure reporting. If
the telephone line is disconnected, the message "tel line
fail" will be stored in the event log.
The options are: don't report, immediately, 5 minutes,
30 minutes, 60 minutes or 180 minutes.
4.5.34 UL/DL Tel. Number (fig. 4.5, loc. 34)
Here you enter the telephone number (up to 16 digits) of the
UL/DL server.
Note: Only for use with panels monitored by compatible
central stations. Leave empty if not being used.
4.5.35 System Inactivity Report (fig. 4.5, loc. 35)
Here you determine whether the central station will receive
a message if the system is inactive (not armed) during a
defined period (days).
The options are: disable, rep. after 7d, rep. after 14d, rep.
after 30d, rep. after 90d.
4.5.38 Ambient Level (fig. 4.5 loc. 38)
Applicable for USA only. In this section you select the
ambient noise level of the installation. If it is relatively noisy
environment, set it to High (default setting) If it is very quiet
environment, set to Low.
4.6 DEFINING GSM PARAMETERS
This mode is applicable only if your PowerMax Pro is
connected to the internal / external GSM unit. By using this
mode, you can:
1. Define that the GSM unit is installed / not installed.
2. Define 4 cellular phone numbers to which events will be
reported via SMS text message.
3. Define which types of events will be reported to SMS
phone numbers.
4. Define whether the GSM unit will serve as:
• GSM IS BACKUP – The system will try to report events
using the PSTN line, and if that fails, it will try the
GSM line (SMS messages are always sent using the
GSM line).
• GSM IS PRIMARY –The system will try dialing using
GSM line first, and if that fails, it will try the PSTN line
(SMS messages are sent using GSM anyway).
• GSM ONLY –The system will report events by using
only the GSM line.
• SMS ONLY –The system will not use GSM line for
anything else than for SMS messages.
5. Define whether GSM line failure will not be reported, or
will be reported after 2/5/15/30 minutes.
An illustrated process is shown in figure 4.6. In this
illustration, each selected option is displayed with a dark
box at the right side. To review the options, repeatedly
click or button, until the desired option is
displayed, then click button.
4.6.1 GSM Installation
Here you define whether the GSM unit is installed or not
installed. Available options are: installed or not installed.
4.6.2 1st, 2nd, 3rd & 4th SMS Number
Here you define the first, second, third and fourth SMS
phone number (including area code, 16 digits maximum) to
which pre-selected events types (see next paragraph) will
be reported.
4.6.3 Reporting to SMS Phone Number
Here you determine the types of events that will be
reported to the pre-selected SMS phone numbers.
Event messages are divided by type into three groups:
GROUP EVENTS REPORTED
Alarms Fire, Burglary, Panic, Tamper
Open/Close Arming AWAY, Arming HOME, Disarming
Alerts No-activity, Emergency, Latchkey
The selectable options are detailed in the next table.
Option Description
All All event types
all (-op/cl) All event types except open/close
all (-alerts) All event types except alerts
Alarms Alarms only
Alerts Alerts only
op/CL Open/close only
Disable report No events reporting
Note: “All” means that all 3 groups are reported and also
trouble messages - sensor / system low battery, sensor
inactivity, power failure, jamming, communication failure etc.

22 DE5468IP
<OK> TO EXIT
5. DEFINE COMM.
4. DEFINE PANEL
3. DEFINE ZONES
2. ENROLLING
1. NEW INSTL CODE
ENTER CODE
INSTALLER MODE
USER SETTINGS
NORMAL MODE
READY 00:00
[installer code]
6. DEFINE GSM
5. 4th SMS number
1. GSM INSTALL 2. 1st SMS number 3. 2nd SMS number 4. 3rd SMS number
6. REPORT SMS 7. GSM line failure
don’t report
2 minutes
8. GSM line purpose
SMS only
GSM is primary
GSM only
all
all (-op/cl)
all (-alerts)
alarms
alerts
op/cl
Installed
Not installed
xxxxxxxxxxxxxxxx
(Enter GSM No.)
xxxxxxxxxxxxxxxx
(Enter GSM No.)
xxxxxxxxxxxxxxxx
(Enter GSM No.)
xxxxxxxxxxxxxxxx
(Enter GSM No.) 5 minutes
15 minutes
30 minutes
disable report
GSM is backup
5. 4th SMS number 6. REPORT SMS
all
all (-op/cl)
all (-alerts)
alarms
alerts
op/cl
xxxxxxxxxxxxxxxx
(Enter GSM No.)
disable report
9. phones to CS 10. SMS to CS
SMS as backup
always
disable
use phone 4
use phones 3+4
Figure 4.6 - DEFINE GSM
4.6.4 GSM Line Failure Reporting
Here you determine whether GSM network failure will be
reported after 2 min., after 5 minutes, after 15 min., or after
30 minutes. Available options: don't report, 2 min, 5 min,
15 min, or 30 min.
4.6.5 GSM Line Purpose
Define whether the GSM unit will serve as a backup for the
regular telephone line, as a primary communication
channel or as the only telephone channel or for sending
SMS only. Available options are: GSM is backup, GSM is
primary, GSM only or SMS only.
4.6.6 Phones to Central Station
Here you determine the report format of the third and
fourth pre-selected SMS phone numbers. Available
options are: disable, use phone 4 or use phone 3+4.
4.6.7 SMS to Central Station
Here you determine if an SMS message will always be
reported to the central station via telephones 3 or 4, or only
in case of a failure of a reported event via the PSTN line.
Available options are: always or SMS as backup.
Note: This feature is enabled only if use phone 4 or use
phone 3+4 is selected in section 4.6.6.
4.7 DEFINING POWERLINK
This mode enables you to enroll/delete the internal / external PowerLink and to enable/disable PowerLink communication failure
reporting. The process is as follows:
INSTALLER MODEUSER SETTINGSNORMAL MODE
READY 00:00
3. DEFINE ZONES2. ENROLLINGENTER CODE [installer code] 1. NEW INSTL CODE
5. DEFINE COMM.4. DEFINE PANEL 7. DEFINE PWRLNK6. DEFINE GSM
2: PWRLNK FAILURE
disable report
rep. of presence
<OK> to enroll <OFF> to delete
1: INSTALL
Deleting PowerLink
Enrolling PowerLink
Note: Enrolling success
is accompanied by a
confirmation sound.
Figure 4.7 - DEFINE POWERLINK
4.8 DEFINING OUTPUT PARAMETERS
4.8.1 Preliminary Guidance
This mode allows you:
a. Events/conditions selection under which PGM
(programmable) output and fifteen “X-10” devices will
function.
b. Function type selection for every X-10 unit and PGM output.
c. General definitions selection for X-10 units.
d. Selection of the internal siren or STROBE light (that will
be activated according to system programming).
e. Enrolling 2-way X-10 units.
The process is shown in Fig. 4.8. Each selected option is
displayed with a dark box at the right side. To review the
options, repeatedly click or button, until
the desired option is displayed, then click
button.

DE5468IP 23
4.8.2 Define PGM
For the PGM output, you can select disable, turn on, turn
off or pulse active (turn on for predefined period, selected
by PULSE TIME), as follows:
BY ARM AWAY (upon AWAY arming).
BY ARM HOME (upon HOME arming).
BY DISARM (upon disarming).
BY MEMORY (activated upon registration of an alarm in
the memory, turned off upon memory clearing).
BY DELAY (during exit / entry delays).
BY KEYFOB (upon AUX button pressing in the keyfob
transmitter / MCM-140+, if “PGM/X-10” is selected in
“Define Panel” menu, locations 17 and 18).
BY ZONES (by disturbance in each of 3 selected zones,
irrespective of arming / disarming). If you select toggle,
the PGM output will be turned on upon event
occurrence in these zones and will be turned off upon
next event occurrence, alternately.
BY LINE FAIL: PGM output is ON if telephone line is
disconnected.
4.8.3 Defining INT/STRB
Here you determine whether the INT output will be used for an
internal siren or for a strobe. If strobe is selected, the INT
output will be activated when an alarm occurs until the system
is disarmed and rearmed again (i.e. clearing alarm memory).
4.8.4 X-10 GENERAL DEF
For X-10 devices, you can select the following actions:
FLASH ON ALARM (you can select no flash or all light
flash, to control X-10 lighting devices in alarm conditions).
TRBL INDICATION (you can select don't indicate or
indicate for X-10 failure indication by the TROUBLE LED).
FAIL REPORT (You can select report to central
station 1, report to central station 2, report to pager,
report to private telephone and send SMS, for X-10
devices failure reporting).
3 PHASES & FREQ (you can select disable 3 phase, 3
phase 50 Hz, or 3 phase 60 Hz to define the X-10 signal
transmission type).
LOCKOUT TIME (You can enter daytime limits between
which X-10 lighting devices controlled by sensors will be
off, even when the associated sensors are triggered).
4.8.5 X-10 UNIT DEFINE
For the fifteen X-10 units you can perform the following
programming actions:
a. House code selection (a code letter from A to P that will
distinguish the site in which the system is installed from
other sites in the neighborhood).
b. Specific number definition for every X-10 unit (01 – 15).
c. Enrolling 1-way X-10 units
d. Enrolling 2-way X-10 units (that can perform status reporting).
Note: If a 2-way X-10 unit is installed without enrolling,
interference to the 1-way X-10 units operation may
occur.
e. For each X-10 unit you can select disable, turn on,
turn off or pulse active (turn on for predefined period,
selected by PULSE TIME), upon the following
conditions:
BY ARM AWAY (upon AWAY arming).
BY ARM HOME (upon HOME arming).
BY DISARM (upon disarming).
BY MEMORY (activated upon registration of an alarm in
the memory, turned off upon memory clearing).
BY DELAY (during exit / entry delays).
BY KEYFOB (upon AUX button pressing in the
keyfob transmitter / MCM-140+, if “PGM/X-10” is
selected in “Define Panel” menu, location 17).
BY ZONES (by disturbance in each of 3 selected
zones, irrespective of arming / disarming). If you
select toggle, the PGM output will be turned on upon
event occurrence in these zones and will be turned
off upon next event occurrence, alternately.

24 DE5468IP
X-10 GENERAL DEFDEFINE INT/STRB X-10 UNIT DEFINE
SET HOUSE CODE
device No. - -
D- -: TYPE/FEATURE
internal siren
strobe
DEFINE PGM
(enter device No.)
house code =A
house code =B
house code =P
(*)
PGM (*)
PGM
disable
turn on
pulse active
turn off
Dxx: BY DELAY
disable
turn on
pulse active
turn off
disable
turn on
pulse active
turn off
toggle
Dxx: BY KEYFOB
disable
turn on
pulse active
turn off
disable
turn on
pulse active
turn off
disable
turn on
pulse active
turn off
(*)
(**)
PGM
Dxx: BY ZONES
x - zone Z: _ _
(ENTER ZONE NUMBERS)
disable
turn on
pulse active
turn off
toggle
(SELECT BY OR )
a - zone
c - zone b - zone
Note:PGM BY LINE FAIL function is
applicable for PGM only - not for X-10.
by line fail no
by line fail yes
PGM: BY LINE FAIL
(*)
PGM
Dxx: BY DISARM
(*)
PGM (*)
PGM (*)
PGM
Dxx: BY ARM AWAY Dxx: BY ARM HOME Dxx: BY MEMORY
pulse time 2s
pulse time 30s
pulse time 4m
pulse time 2m
Dxx: PULSE TIME
(*)
PGM
(First display is READY
or NOT READY)
READY 00:00
NORMAL MODE
USER SETTINGS
ENTER CODE
1. NEW INSTL CODE
2. ENROLLING
4. DEFINE PANEL
[installer code]
INSTALLER MODE
3. DEFINE ZONES
5. DEFINE COMM
INSTALLER MODE
Dxx: LOCATION
See detail “A”
(next page)
attic
back door
basement
bathroom
custom 5
(***)
PLEASE WAIT
if already
enrolled
(Turn X-10 to Learn mode)
Enter learn Mode
ONE WAY UNIT TWO WAY UNIT
<OK> to Enroll
test fail
enroll OKenroll fail
test OK
Enroll FAIL
(Exit X-10 Learn mode)
Exit Learn Mode
PLEASE WAIT
<OK> to test
<OFF> to Delete
8. DEFINE OUTPUTS
9. DEFINE VOICE
<OK> TO EXIT
6. DEFINE GSM
7. DEFINE PWRLNK
not installed
Figure 4.8 - Define Outputs Flow Chart
*
**
If PGM is selected, the letters "PGM" will be displayed instead of "Dxx".
Upon selecting any one of the 3 options (zone a, b and c) you may enter a zone number and then select "disable", "turn on",
"turn off", "pulse active" or "toggle".

DE5468IP 25
*** The currently saved option is displayed with a dark box at the right side. To review the options, repeatedly click
button until the desired option is displayed, then click (a dark box will be displayed at the right side). For zone name
list, refer to paragraph 4.3 (DEFINE ZONE TYPES).
Each X-10 unit has default zone name ( 01- front door, 02 - garage, 03 - garage door, 04 - back door, 05 – child room, 06 –
office, 07 – dining room, 08- dining room, 09 – kitchen, 10 – living room, 11 – living room, 12 – bedroom, 13 – bedroom, 14 –
guest room, 15 – master bedr).
X-10 GENERAL DEFDEFINE INT/STRB X-10 UNIT DEFINEDEFINE PGM
Select “start”/”stop”and
enter the desired time.
report to PAGER
disable
enable
FAIL REPORT
xxxx - 00:00 A
start - HH:MM A
stop - HH:MM A
LOCKOUT TIME
send SMS
disable
enable
disable 3 phase
3 phase 50 Hz
3 phase 60 Hz
3 PHASE & FREQ
disable
enable
rep to private
FLASH ON ALARM
no flash
all light flash
report to C.S. 1
disable
enable
report to C.S. 2
disable
enable
TRBL INDICATION
don’t indicate
indicate
Figure 4.8 - Detail A
4.9 DEFINE VOICE
4.9.1 Record Speech
This mode allows you to record short-duration speech
messages for the following purposes:
• House identity is a message announced automatically
when events are reported to private telephones.
• 4 User Names can be recorded and assigned to users
numbered 5-8. In case of event, the relevant user
name will be added to the message that will be
reported via the telephone.
• 5 custom zone names can be recorded and assigned
to specific zones. These names are useful if none of
the 26 fixed zone names are found suitable for a
certain zone (see fig. 4.3).
The recording process is shown below.
4.9.2 Voice Box Mode
This mode allows you to determine whether two-way voice
communication is to be sounded either via an external
speakerphone, via the PowerMax Pro, or via both.
HOUSE IDENTITY USER #5 NAME USER #6 NAME USER #7 NAME USER #8 NAME
RECORDING ENDED
TALK NOW
RECORD A MESSAGE
(e.g. “John’s house”)
(*) (*)
- don’t release
Release button [2] (**)
Record users 5 - 8 names (for example, David, Rose, Mark, etc.).
The process is identical to HOUSE IDENTITY recording process.
USER TERM #1 USER TERM #2 USER TERM #3 USER TERM #4 USER TERM #5
Record users terms 1-5 (e.g. Living room, Library, etc.), identical to HOUSE IDENTITY recording process.
RECORD SPEECH
9. DEFINE VOICE
(see figure 4.1a)
No Voice Box
Voice Box Only
Voice Box Mixed
VOICE BOX MODE
(*) RECORD MESSAGE is displayed momentarily. The dark square boxes slowly disappear,
one by one, until end of recording time.
(**) To check the recorded message, press the key and listen to the
playback.
Figure 4.9 - Speech Recording Flow Chart
4.10 DIAGNOSTIC TEST
This mode allows you to test the function of all protected area
wireless sensors / wireless sirens / wireless keypads and to
receive / review information regarding the received signal
strength. Three reception levels are sensed and reported:
Received Signal Strength Indication:
Reception Buzzer Response
Strong Happy Tune twice ( - - - –––– ) ( - - - ––––)
Good Happy Tune ( - - - –––– )
Poor Sad tune ( –––––––– )
The diagnostic test process is shown in figure 4.10.

26 DE5468IP
When you are instructed to perform "walk test", walk
throughout the site to check the detectors / sensors. When
a detector/sensor is triggered into alarm, its name, number
and the alarm reception level should be indicated (for
example, "Bathroom", "Z19 strong") and the buzzer should
sound according to the alarm reception level (1 of 3).
IMPORTANT! Reliable reception must be assured. Therefore,
a "poor" signal strength is not acceptable. If you get a
"poor" signal from a certain detector, re-locate it and re-test
until a "good" or "strong" signal strength is received. This
principle should be followed during the initial testing and also
throughout subsequent system maintenance.
(Perform walk test)
BATHROOM
DIAG. TESTING
FRONT DOOR
Z1 POOR
Z19 STRONG
(alternating for 5 sec.)
LIVING ROOM
Z2 OK
(alternating for 5 sec.)
Example
of test
result
display
(Each time the OK button is pressed,
the next test result is displayed)
(see figure 4.1a) 10. DIAGNOSTICS
Example
of test
result
display
Example
of test
result
display
DIAG. TESTING
WL SENSORS TEST
S1 CPU
WL SIRENS TEST
S1 CPU=STRONG
WAIT
S2 CPU
PLEASE WAIT...
S2 CPU=STRONG
WL KEYPADS TEST
Z1 CPU
Z1 CPU=STRONG
WAIT
Z2 CPU
PLEASE WAIT...
Z2 CPU=STRONG
Note
STRONG/GOOD/POOR/
“NOT OK” (with siren No.,
S1 or S2 before) is
displayed according to the
wireless siren signal
strength).
S1=siren 1. S2 = siren 2.
CPU = Control Panel Unit
= 2 way comm.
Note
STRONG/GOOD/POOR/
“NOT OK” (with keypad
No., Z1 or Z2 before) is
displayed according to the
wireless siren signal
strength).
Z1=keypad 1 Z2=keypad 2
CPU = Control Panel Unit
= 2 way comm.
Figure 4.10 - Diagnostic Test Flow Chart
4.11 USER FUNCTIONS
This mode provides you with a gateway to the user
functions through the regular user programming menu. You
may:
• Program the 4 (private) telephone numbers
• Program user codes
• Enroll keyfobs
• Enroll proximity tags
• Select the voice option
• Set the auto arm option
• Set arming time
• Set the squawk option
• Set the system time and time format
• Set the date and date format
• Define PowerLink
• Set the time scheduler
Refer to the User Guide for detailed procedures.
Caution! If after having programmed the user codes the
system does not recognize your installer code, this
indicates you must have programmed a user code that is
identical with your installer code. If so, access the user
menu and change the code that is identical with your
installer code. This will re-validate your installer code.
4.12 RETRIEVING FACTORY DEFAULTS
If you want to reset the PowerMax Pro parameters to the
factory default parameters, you should enter the installer
menu and perform the "FACTORY DEFLT" function, as
described in the right side illustration. To get the relevant
parameters defaults, contact the PowerMax Pro dealer.
Note: For PowerMax Pro with 2 installer codes,
INSTALLER code and MASTER INSTALLER code, only
the master installer code enables to perform factory default
function.
12. FACTORY DEFLT
[installer code]
<OK> to restore
ENTER CODE:
PLEASE WAIT ...
Entering to/exit from the FACTORY
DEFLT menu is shown in figure 4.1a
This is a brief display after which all
the factory defaults are retrieved.
4.13 SERIAL NUMBER
The menu "13. SERIAL NUMBER" enables reading the
system serial number for support purposes only.
4.14 CALLING UPLOAD/DOWNLOAD SERVER
Note
This option is only used during the installation of panels
monitored by compatible central stations.
This option allows the installer to initate a call to the
upload/download server. The server uploads the
PowerMax Pro configuration to its data base and can
unload predefined parameters to the PowerMax Pro.

DE5468IP 27
READY 00:00
USER SETTINGS
NORMAL MODE
ENTER CODE
1. NEW INSTL CODE
2. ENROLLING
3. DEFINE ZONES
5. DEFINE COMM
[installer code]
INSTALLER MODE
4. DEFINE PANEL
COMMUNICATING TEL # NOT DEFINED
DOWNLOADING DIAL ATTEMPT FAIL
DOWNLOAD OK DOWNLOAD FAILED
Displayed during
dialing process
Displayed for half
a minute approx.
accompanied by sad
(failure) melody
If UL/DL server
tel. # was not
defined before
(see par. 4.5.34)
If UL/DL server
tel. # is already
defined (see
par. 4.5.34)
Dialing
OK
Dialing
failed
Download
OK
Download
failed
Displayed during
download process
Displayed for half
a minute approx.
accompanied by sad
(failure) melody
Displayed for half
a minute approx.
accompanied by sad
(failure) melody
Displayed for half
a minute approx.
accompanied by happy
(success) melody
8. DEFINE OUTPUTS
9. DEFINE VOICE
10. DIAGNOSTICS
11. USER SETTINGS
12. FACTORY DEFLT
13. SERIAL NUMBER
<OK> TO EXIT
14. START UL/DL
6. DEFINE GSM
7. DEFINE PWRLNK
Figure 4.14 – Start UL/DL
5. TESTING PROCEDURES
5.1 Preparations
Make sure all windows and doors are closed. If all zones
are secured (undisturbed), the display should read:
READY HH:MM
If the display is “NOT READY”, query the control panel by
pressing the button repeatedly. The source(s)
of the problem(s) will be displayed and read aloud. Take the
necessary measures to eliminate the problem(s) before
testing the system (see next paragraph).
5.2 Diagnostic Test
To verify proper function of all detectors in the system, a
comprehensive diagnostic test is required. To perform this
test, refer to figure 4.10.
5.3 Keyfob Transmitter Test
Initiate transmission from each transmitter enrolled as a
keyfob unit (according to the list in Table A2, Appendix A).
Use each transmitter to arm the control panel AWAY and
immediately disarm it. Upon pressing the keyfob unit’s
AWAY key, the ARM indicator should light.
The display should respond as follows:
ARMING AWAY
PLEASE EXIT NOW
The exit delay beeps will begin.
Press the keyfob unit’s DISARM ( ) key. The ARM indicator
should extinguish, the announcement “Disarm, ready to arm"
should be heard and the display should revert to:
READY HH:MM
Test the AUX button in each keyfob in accordance with the
information noted in Table A.2, Appendix A. Verify that the
AUX button performs its duty as programmed.
If the AUX (@) button is defined as “STATUS”, system
status should be displayed and announced upon
pressing the button.
If the AUX (@) button is defined as “INSTANT”, press
the AWAY button and then the AUX button. The
response should be:
ARMING INSTANT
(alternating)
PLEASE EXIT NOW
and the exit delay beeps will start. Press the DISARM ( )
key immediately to disarm.
If the AUX (@) button is programmed as “PGM / X-10”
and permitted to activate one or several X-10 units,
pressing (@) should activate the appliance controlled by
the chosen X-10 unit(s).
If the AUX (@) button is programmed as “PGM / X-10”
and permitted to activate the PGM output, pressing (@)
should activate the device wired to the PGM output.
5.4 Appliance ON/OFF Test
The “X-10 unit assignment” information that you noted in
Appendix B of this manual is very useful for this test.

28 DE5468IP
Go over the table in Appendix B column by column. If, for
instance, the “BY ARM AWAY” column has “X”s marked in
the rows pertaining to units 1, 5 and 15 - then arm AWAY
the system and verify that the appliances controlled by
these units are actually activated upon arming.
Continue in the same manner in the following columns,
always creating the state or event that will activate the
relevant units. Verify that all appliances are activated as
programmed.
IMPORTANT! Before testing “BY TIMER” and “BY ZONE”,
make sure that these forms of control are permitted - click
repeatedly and verify that the display shows:
BY TIMER ON
and:
BY SENSOR ON
A dark box at the extreme right means that these functions
are enabled.
The easiest way for test timed activation is to select the
ninth item in the installer’s menu (”10. USER SETTINGS”)
and set the system clock a few minutes before the relevant
“start time”. Do not forget to return the clock to the correct
time after completion of this test.
5.5 Emergency Transmitter Test
Initiate transmission from each transmitter enrolled to an
emergency zone (according to the list in Table A3,
Appendix A). For example, upon pressing the transmit
button of an emergency transmitter enrolled to zone 22,
the display should read:
Z22 EMERGENCY
(alternating)
VIOLATED
It is advisable to let the central station know that you are
conducting this test, or just disconnect the telephone line from
the PowerMax Pro during the test, to prevent false alarms.
6. MAINTENANCE
6.1 Dismounting the Control Panel
A. Remove the screw that fastens the front unit to the back
unit (see figure 3.1H).
B. Remove the 3 screws that fasten the back unit to the
mounting surface (see figure 3.1A) and remove the
control panel.
6.2 Replacing the Backup Battery
Replacement and first-time insertion of battery pack is
similar (see figure 3.1C).
With fresh battery pack, correct insertion and tightened
battery compartment lid, the TROUBLE indicator should
extinguish. However, the “MEMORY” message will now
blink in the display (caused by the “tamper” alarm you
triggered when opening the battery compartment lid). Clear
it by arming the system and immediately disarming.
6.3 Fuse Replacement
The PowerMax Pro has two internal fuses that have
automatic reset. Therefore, there is no need to replace
fuses.
When over current condition occurs, the fuse cuts off the
circuit current. Upon fault current being removed for
several seconds
, the fuse is automatically reset and allows current flow
through the circuit again.
6.4 Replacing/Relocating Detectors
Whenever maintenance work involves replacement or re-
location of detectors, always perform a full diagnostic test
according to par. 4.10.
Remember! A "poor" signal is not acceptable, as stated at
the end of the test procedure.
7. READING THE EVENT LOG
Up to 100 events can be stored the event log. You can
access this log and review the events, one by one. If the
event log fills up completely (100 events), the oldest event
is deleted upon registration of each new event.
The date and time of occurrence are memorized for each
event.
When reading the event log, events are shown in
chronological order - from the newest to the oldest. Access
to the event log is provided by clicking the key and
not through the installer’s menu. Reading and erasing
process of the event log is shown in the next drawing.
Oldest Event
Latest Event
LIST OF EVENTS
CODE _ _ _ _
(Enter 4-digit
installer code)
(*)
(**)
<OK TO EXIT
CLEAR EVENT LOG
<OFF> TO DELETE
(Return to normal
operation)
(***)
Figure 7 - Reading / Erasing the Event Log
* While the system is in normal operation mode, click to review the event log.
** Event is displayed in 2 parts, for example, "Z13 alarm" then "09/02/00 3:37 P". The two displays will be shown
alternately until clicking again to move to the next event or until the end of the event log (4 minutes).
*** Applicable only if installer code is entered.

DE5468IP 29
APPENDIX A. Detector Deployment & Transmitter Assignments
A1. Detector Deployment Plan
Zone
No.
Zone Type Sensor Location or Transmitter Assignment
(in non-alarm or emergency zones)
Chime
(Yes / No)
Controls PGM
(X = YES)
Controls
X-10 Unit No.
1
2
3
4
5
6
7
8
9
10
11
12
13
14
15
16
17
18
19
20
21
22
23
24
25
26
27
28
29 (*)
30 (*)
Zone Types: 1 = Interior follower
<
2 = Perimeter
<
3 = Perimeter follower
<
4 = Delay 1
<
5 = Delay 2
<
6 = 24 h
silent
<
7 = 24 h audible
<
8 = Fire
<
9 = Non-alarm
<
10 = Emergency
<
11 = Gas
<
12 = Flood
<
13 = Interior.
Zone Locations: Note down the intended location for each detector. When programming, you may select one of 26
available zone names (plus 5 custom zone names that you can add - see Figure 4.3 - Define Zones).
* Zones 29 & 30 only are hardwired zones.
A2. Keyfob Transmitter List
Transmitter Data AUX button Assignments
No. Type Holder Status or Arming
“instant”
PGM Control X-10 Unit Control
1
2
3
4
Mark the boxes of the X-10 units to be
activated - see par. 4.7.
5
Indicate the desired function
(if any) – see par. 4.4.17
(Aux button).
Indicate whether
this output will be
activated or not –
see par. 4.7.
1 F 2 F 3 F 4 F 5 F
6
System status F Yes F No F 6 F 7 F 8 F 9 F 10 F
7
Arming “instant” F 11 F 12 F 13 F 14 F 15 F
8

30 DE5468IP
A3. Emergency Transmitter List
Tx # Transmitter Type Enrolled to Zone Name of holder
1
2
3
4
5
6
7
8
9
10
A4. Non-Alarm Transmitter List
Tx # Transmitter Type Enrolled to Zone Name of holder Assignment
1
2
3
4
5
6
7
8
9
10
APPENDIX B. X-10 Unit and PGM Output Assignments
Unit Controlled ON ON ON ON ON ON ON by Timer ON by Zone No. ON
No. Appliance by arm
HOME
by arm
AWAY
by
disarm
by
Memory
by
Delay
by
Keyfob
ON
Time
OFF
Time
a b c by line
fail
1 -
2 -
3 -
4 -
5 -
6 -
7 -
8 -
9 -
10 -
11 -
12 -
13 -
14 -
15 -
PGM

DE5468IP 31
APPENDIX C. Event Codes
Contact ID Event Codes
Code Definition Code Definition
101 Emergency 351 Telco fault
110 Fire 373 Fire detector trouble
113 Flood alarm 381 Loss of supervision
RF
120 Panic 383 Sensor tamper
121 Duress 384 RF low battery
122 Silent 393 Fire detector clean me
123 Audible 401 O/C by user
131 Perimeter 403 Auto arm
132 Interior 406 Cancel
134 Entry/Exit 408 Quick arm
137 Tamper/CP 426 Door open event
139 Burglary verified 441 Armed home
151 Gas alarm 454 Fail to close
180 Gas trouble 455 Fail to arm
301 AC loss 456 Partial arm
302 Low system battery 459 Recent close event
311 Battery disconnect 570 Bypass
313 Engineer reset 602 Periodic test report
321 Bell 607 Walk test mode
344 RF receiver jam detect 641 Senior watch trouble
350 Communication trouble
SIA Event Codes
Code Definition Code Definition
AR AC Restore GJ Gas trouble restore
AT AC Trouble HA Holdup Alarm (duress)
BA Burglary Alarm LR Phone Line Restore
BB Burglary Bypass LT Phone Line Trouble
BC Burglary Cancel OP Opening Report
BR Burglary Restore OT Fail to Arm
BT Burglary Trouble /
Jamming
PA Panic Alarm
BV Burglary Verified QA Emergency Alarm
BZ Missing Supervision RN Engineer Reset
CF Forced Closing RP Automatic Test
CI Fail to Close RX Manual Test
CL Closing Report RY Exit from Manual Test
CP Auto Arm TA Tamper Alarm
CR Recent Close TR Tamper Restore
EA Door Open WA Flood alarm
FA Fire Alarm WR Flood alarm restore
FT Fire Detector Clean XR Sensor Battery Restore
FJ Fire detector trouble XT Sensor Battery Trouble
FR Fire Restore YR System Battery Restore
GA Gas alarm YT System Battery Trouble /
Disconnection
GR Gas alarm restore YX Service Required
GT Gas trouble
4/2 Event Codes
Note: The report to central station is on the following zones: First wireless siren - zone 31, second wireless siren - zone 32,
GSM - zone 33, first 2-way keypad (MKP-150) - zone 35, second 2-way keypad (MKP-150) - zone 36.
Alarms
Zone # 1 2 3 4 5 6 7 8 9 10 11 12 13 14 15 16 17 18 19 20 21 22 23 24 25 26 27 28 29 30
1st digit 4 4 4 4 444 4 4 4 4 4444555555555 5 5 5 5 5 5
2nd digit 1 2 3 4 567 8 9 A B CDEF123456789 A B C D E F
Restorals
Zone # 1 2 3 4 5 6 7 8 9 10 11 12 13 14 15 16 17 18 19 20 21 22 23 24 25 26 27 28 29 30
1st digit C C C C CCC C C C C CCCCDDDDDDDDD D D D D D D
2nd digit 1 2 3 4 567 8 9 A B CDEF123456789 A B C D E F
Supervisory trouble
Zone # 1 2 3 4 5 6 7 8 9 10 11 12 13 14 15 16 17 18 19 20 21 22 23 24 25 26 27 28
1st digit 6 6 6 6 666 6 6 6 6 6666777777777 7 7 7 7
2nd digit 1 2 3 4 567 8 9 A B CDEF123456789 A B C D
Low Battery
Zone # 1 2 3 4 5 6 7 8 9 10 11 12 13 14 15 16 17 18 19 20 21 22 23 24 25 26 27 28
1st digit 8 8 8 8 888 8 8 8 8 8888999999999 9 9 9 9
2nd digit 1 2 3 4 567 8 9 A B CDEF123456789 A B C D
Forced Arming – 8 users
User No. 1 2 3 4 5 6 7 8
1st digit A A A A A A A A
2nd digit 1 2 3 4 5 6 7 8
Zone Bypass
Zone # 1 2 3 4 5 6 7 8 9 10 11 12 13 14 15 16 17 18 19 20 21 22 23 24 25 26 27 28 29 30
1st digit A A A A AAA A A A A AAAABBBBBBBBB B B B B B B
2nd digit 1 2 3 4 567 8 9 A B CDEF123456789 A B C D E F

32 DE5468IP
Panic / 24 Hours - 8 users
User No. 1 2 3 4 5 6 7 8 Panic CP Duress
1st digit 2 2 2 2 2 2 2 2 2 2
2nd digit 1 2 3 4 5 6 7 8 9 A
Arm HOME and AWAY (Closing)
User No. 1 2 3 4 5 6 7 8 Cancel alarm Recent Close
1st digit E E E E E E E E E E
2nd digit 1 2 3 4 5 6 7 8 9 C
Disarm (Opening)
User No. 1 2 3 4 5 6 7 8
1st digit F F F F F F F F
2nd digit 1 2 3 4 5 6 7 8
Trouble
Event Fuse
Fail
Fuse
Restore
Jamming Jamming
Restore
AC
Failure
AC
Restore
CPU Low
Battery
CPU Low
Battery Restore
CP
Tamper
1st digit 2 2 2 2 1 1 1 1 1
2nd digit C D E F 1 2 3 4 6
Event CP Tamper
Restore
No Active COMM. &
LINE Restore
Enter Test Exit Test Auto Test
1st digit 1 1 1 1 1 1
2nd digit 7 8 A D E F
Understanding the Scancom Reporting Protocol Data Format
The SCANCOM data format consists of 13 decimal digits divided
into 4 groups, from left to right, as shown at the right side.
Each channel is associated with a specific event as follows:
1st "C": Fire 5th "C": Alarm cancel
2nd "C": Personal attack 6th "C": Emergency
3rd "C": Intruder 7th "C": Second alarm
4th "C": Open/close 8th "C": Trouble messages
aaaa cccc cccc s
Account
Code
Channels
1 - 4
Channels
5 - 8 System Status:
no trouble,
test, low battery
The digit in this position conveys
the status of channel 1
The digit in this position conveys
the status of channel 8
Scancom Data Format
APPENDIX D. Programmable Zone Types
D1. Delay Zones
A delay zone has exit and entry delays set by you in the
course of programming the system. Warning beeps will
sound throughout these delays, unless you choose to mute
them.
• Exit Delay - The exit delay begins once the user arms
the system. It allows him to leave via interior zones and
a doorway before arming actually takes effect. When the
exit delay starts, the buzzer beeps slowly and maintains
a slow beeping rate until the last 10 seconds, during
which it beeps rapidly. The PowerMax Pro has two types
of delay zones, for which different delay times may be
set.
• Entry Delay - The entry delay begins once the user
enters the protected area via a specific doorway (his
entry is sensed by a delay zone detector). To avoid an
alarm, he must reach the keypad via interior zones
(which become "follower zones" during the entry delay)
and disarm the system before the delay expires. When
the entry delay starts, the buzzer beeps slowly until the
last 10 seconds, during which it beeps rapidly.
D2. Emergency Zones
You can provide incapacitated, sick or elderly people with
a miniature single-button transmitter to be carried on the
neck like a pendant or to be worn on the wrist like a watch.
In distress situations, they can press the button on their
transmitter, causing the PowerMax Pro to send an
emergency call to the central monitoring station or to
private telephones designated by the installer.
To make this possible, define the required number of
zones as emergency zones and enroll a portable
transmitter to each one of these zones. When completed,
ask the master user to distribute these transmitters to their
potential users.
D3. Fire Zones
A fire zone uses smoke detectors and is permanently
active (a fire alarm is triggered regardless of whether the
system is armed or disarmed). Upon detection of smoke, a
pulsating siren sounds immediately and the event is
reported via the telephone line.

DE5468IP 33
D4. Flood Zone
A flood zone is permanently active (a flood alarm is
triggered regardless of whether the system is armed or
disarmed). Upon detection of flood leak, the event is
reported via the telephone line.
D5. Gas Zone
A gas zone is permanently active (a gas alarm is triggered
regardless of whether the system is armed or disarmed).
Upon detection of gas leak, the event is reported via the
telephone line.
D6. Interior Zone
Interior zones are zones within the protected premises that
have nothing to do with perimeter protection. Their most
important feature is that they allow free movement within
the protected area without initiating an alarm, provided that
the system is armed in the "HOME" mode. People can
therefore stay at home and move about freely, as long as
they do not disturb a PERIMETER zone.
Once the system is armed in the AWAY mode (all zones are
protected), interior zones will initiate an alarm if violated.
D7. Interior Follower Zones
"Interior Follower" zone is a zone that is located between
entry/exit zone and the alarm system control panel. This
zone is temporarily ignored by the alarm system during
entry/exit delay periods, to enable you to walk (without
causing an alarm) in front of a motion detector that is
associated with the Interior Follower zone, after you enter
through an entry zone on the way to the control panel, or
when leaving the protected premises after system arming.
D8. Non-Alarm Zones
A non-alarm zone does not directly participate in the alarm
system. Its main use is to perform auxiliary remote control
tasks such as opening/closing a gate,
activating/deactivating courtesy light and similar
applications. No alarm, silent or otherwise, is associated
with a non-alarm zone.
For remote control of electrical devices, you can define the
desired number of non-alarm zones and enroll a portable
transmitter or a wireless device (detector) to this type of
zone. Then, you must ensure that these zones are
permitted to control the PGM output, or the X-10 units or
both (see par. 4.8). Next, you can select the zones (3 at
most) that will control each output. The outputs, in turn, will
control the external electrical devices.
Note: A device control can also be carried out by holders
of all keyfob transmitters, by pressing the AUX [
M
] button.
This method will work provided that you programmed the [
M
]
button for PGM/X-10 control (see Par. 4.4.17 and 4.4.18), and
that you programmed the PGM output and the X-10 units to
be controlled by keyfob transmitters (see par. 4.8).
D9. Perimeter Zones
Perimeter zones rely on detectors designed to protect
doors, windows and walls. An immediate alarm is initiated
when such a zone is violated by opening the door/window
or by trying to break the wall.
D10. Perimeter Follower Zones
A non-entry/exit zone, typically a perimeter zone located
on an entry/exit path, that is treated as an entry/exit zone
during an entry/exit time.
D11. 24-Hour Zones
24 hour zones are mainly used for PANIC buttons, perimeter
detectors and anti-tamper protection. They therefore trigger an
alarm in both armed and disarmed states.
• 24 Hour Zone - Silent. - Upon detection, this zone
initiates a silent alarm, meaning that the sirens do not
function. Instead the PowerMax Pro dials telephone
numbers and reports the event to central stations and/or
to private telephones, as programmed.
• 24 Hour Zone - Audible. - Upon detection, this zone
initiates a siren alarm. The PowerMax Pro also dials
telephone numbers and reports the event to central
stations and/or to private telephones, as programmed.
APPENDIX E. PowerMax Pro Compatible Devices
E1. PowerMax Pro Compatible Detectors
Each detector compatible with the PowerMax Pro system
is packed with its own installation instructions. Read them
carefully and install as indicated.
A. PIR Motion Detectors
The wireless passive infrared (PIR) motion detectors used
in the system are of the PowerCode type. The PowerMax
Pro is capable of “learning” each detector’s identification
code and linking it to a specific zone (see par. 4.3 in this
Guide). Some units are shown below:
NEXT®
K9-85 MCW
MCPIR-3000
or K-940 MCW
DISCOVERY
K9-80/MCW
Note: K-940 MCW, Discovery K9-80/MCW and NEXT®
K9-85 MCW are pet immune units.
In addition to its unique 24-bit identification code, each
detector transmits a message, containing status
information:
• The detector is in alarm (or not).
• The detector is being tampered with (or not).
• The battery voltage is low (or normal).
• “This is a supervisory message”.
If any of these detectors detects motion, it sends out a
message to the alarm control panel. If the system is in the
armed state, an alarm will be triggered.
B. Magnetic Contact Transmitter
MCT-302 is a PowerCode magnetic-
contact transmitter used to detect the
opening of a door or a window. The alarm
contacts are closed as long as the door or
window remains closed.
MCT-302
The unit has an extra alarm input that acts as if it were a
separate wireless transmitter. It sends (or does not send) a
“restored to normal“ message to the alarm system,
depending on the setting of an on-board “DIP” switch. The
“restore” message informs you, through the control panel’s
display, whether the door or window is open or closed.
C. MCT-100 Wireless Adapter for Wired Detectors
MCT-100 is a PowerCode device used
mainly as a wireless adapter for 2 regular
magnetic switches installed on 2 windows in
the same room. It has two inputs, behaving
as separate wireless transmitters with
different PowerCode IDs. Each input sends
(or does not send) a “restored“ message to
the alarm system, depending on the setting
of an on-board “DIP” switch.
MCT-100

34 DE5468IP
D. Wireless Smoke Detector
MCT-430. A photoelectric smoke
detector equipped with a
PowerCode-type transmitter. If
enrolled to a fire zone, it initiates a
fire alarm upon detection of smoke.
MCT-430
E. Glass Break Detector MCT-501
An acoustic detector equipped with a
PowerCode-type transmitter. Since it
restores automatically after detection, this
unit does not send a restoral message to
the control panel.
MCT-501
E2 PowerMax Pro Compatible
Transmitters
Note: Each transmitter is packed with its own instructions
for battery installation and use. Be sure to pass these
documents on to the “Master User“ of the alarm system.
The PowerMax Pro system is compatible with multi-button
and single button key-ring and hand-held transmitters that
use PowerCode and CodeSecure coding methods.
Multi-button PowerCode transmitters transmit the same
code each time the same button is pressed. They can be
used for emergency signaling, for activating the PGM
output or for controlling appliances via X-10 units. They
can not be used for arming / disarming.
CodeSecure transmitters are of the rolling code type - they
transmit a new code each time the same button is pressed.
This provides a higher security level, especially in arming /
disarming applications, because the code can not be
copied (“grabbed”) by unauthorized people.
Following are the basic details of several compatible
transmitters. The possible applications for each push-
button are indicated in each drawing.
A. MCT-234
‘Keyfob’ transmitter - one
unit is supplied with
PowerMax Pro. You can
program the AUX (auxiliary)
button to perform various
tasks, in accordance with
the user’s needs.
Pressing AWAY and
HOME together for 2 sec.
initiates PANIC alarm.
Pressing AWAY for 2 sec.
initiates Latchkey arming.
DISARM
AWAY
AUX
HOME
MCT-234
B. MCT-237
Two-way ‘Keyfob’
transmitter - one unit is
supplied with PowerMax
Pro. You can program the
AUX (auxiliary) buttons to
perform various tasks, in
accordance with the
user’s needs.
Pressing A and B together
for 2 sec. initiates PANIC
alarm. Pressing AWAY
twice within 2 sec. initiates
Latchkey arming.
DISPLAY
DISARM
STATUS /
PARTITION
(OPTION)
AUX 2
AUX 1
HOME
AWAY
MCT-237
C. MCT-231 / 201*
(N.A. in North America)
Single-button pendant units.
The MCT-231 (Code- Secure)
and the MCT-201
(PowerCode) can be enrolled
to perform functions as shown.
Both units look alike.
MCT-231 / 201
D. MCT-134 / 104*
(N.A. in North America)
4-button hand-held units. MCT-
134 (CodeSecure) can replace
the MCT-234 keyfob. MCT-104
(PowerCode) can perform
emergency and non- alarm
functions. Both units look alike. MCT-134 / 104
E. MCT-132 / 102*
(N.A. in North America) 2-
button units. MCT-132
(CodeSecure) can perform
functions as shown. MCT-102
(PowerCode) can perform
emergency and non-alarm
tasks. Both units look alike.
MCT-132 / 102
F. MCT-131 / 101*
(N.A. in North America) Single-
button units. The MCT-131
(CodeSecure) and the MCT-
101 (PowerCode) can be
enrolled to perform functions as
shown. Both units look alike. MCT-131 / 101
G. MCT-211*
Water-proof, wrist-worn Power
-Code transmitter. Can be
enrolled to perform
emergency or non-alarm
functions.
MCT-211
E3 PowerMax Pro Compatible WL Siren
The MCS-700/710 (*) wireless siren can be
integrated with the PowerMax Pro in areas in
which wiring action is difficult or impossible.
The MCS-700/710 is a fully supervised, 2-way
communication device (it includes a receiver,
to receive activation commands from the
alarm system, and a transmitter to periodically
transmit its status signal to the alarm system).
Wireless
Siren
When an identifiable activation command is received from
the PowerMax Pro, the siren activates its sounder and the
flash light (strobe light every 1.5 seconds).
E4. PowerMax Pro Compatible GSM
Modem
The internal / external GSM modem
enables the PowerMax Pro system
to operate over a cellular network.
For details regarding the external
GSM modem features and
connections, refer to the GSM
Modem installation instructions.
External
GSM
Internal
GSM
E5. PowerLink
The internal / external PowerLink
enables you to view and control
the PowerMax Pro system over
the Internet. For details
regarding the external PowerLink
features and connections, refer
to the PowerLink user guide.
External
PowerLink
Internal
PowerLink

DE5468IP 35
Federal Communications Commission (FCC) Statements
FCC PART 15 STATEMENT
This device complies with Part 15 of the FCC Rules. Operation is subject to the following two conditions: (1) This device may
not cause harmful interference, and (2) This device must accept any interference received, including interference that may
cause undesired operation.
WARNING! Changes or modifications to this unit not expressly approved by the party responsible for compliance
could void the user's authority to operate the equipment.
The digital circuits of this device has been tested and found to comply with the limits for a Class B digital device, pursuant to
Part 15 of the FCC Rules. These limits are designed to provide reasonable protection against harmful interference in
residential installations. This equipment generates, uses and can radiate radio frequency energy and, if not installed and used
in accordance with the instructions, may cause harmful interference to radio and television reception. However, there is no
guarantee that interference will not occur in a particular installation. If this device does cause such interference, which can be
verified by turning the device off and on, the user is encouraged to eliminate the interference by one or more of the following
measures:
– Re-orient or re-locate the receiving antenna.
– Increase the distance between the device and the receiver.
– Connect the device to an outlet on a circuit different from the one which supplies power to the receiver.
– Consult the dealer or an experienced radio/TV technician.
FCC PART 68 STATEMENT
This equipment complies with Part 68 of the FCC rules. On the front cover of this equipment is a label that contains, among
other information, the FCC registration number and ringer equivalence number (REN) for this equipment. If requested, this
information must be provided to the telephone company.
This equipment uses the following jacks: An RJ31X is used to connect this equipment to the telephone network. The REN is
used to determine the quantity of devices which may be connected to the telephone line. Excessive RENs on the telephone
line may result in the devices not ringing in response to an incoming call. In most, but not all areas, the sum of the RENs
should not exceed five (5.0). To be certain of the number of devices that may be connected to the line, as determined by the
total RENs, contact the telephone company to determine the maximum REN for the calling area. If this equipment causes
harm to the telephone network, the telephone company will notify you in advance that temporary discontinuance of service
may be required. If advance notice is not practical, the telephone company will notify the customer as soon as possible. Also,
you will be advised of your right to file a complaint with the FCC if you believe necessary. The telephone company may make
changes in its facilities, equipment, operations, or procedures that could affect the operation of the equipment. If this happens,
the telephone company will provide advance notice that will enable you to make the necessary modifications in order to
maintain uninterrupted service.
If trouble is experienced with this equipment, please contact the manufacturer for repair and warranty information. If the
trouble is causing harm to the telephone network, the telephone company may request that you remove the equipment from
the network until the problem is resolved.
There are no user serviceable components in this product, and all necessary repairs must be made by the manufacturer.
Other repair methods may invalidate the FCC registration on this product.
This equipment cannot be used on telephone company-provided coin service. Connection to Party Line Service is subject to
state tariffs.
When programming or making test calls to an emergency number, briefly explain to the dispatcher the reason for the call.
Perform such activities in the off-peak hours; such as early morning or late evening.
Alarm dialing equipment must be able to seize the telephone line and place a call in an emergency situation. It must be
able to do this even if other equipment (telephone, answering system, computer modem, etc.) already has the telephone
line in use. To do so, alarm dialing equipment must be connected to a properly installed RJ31X jack that is electrically in
series with and ahead of all other equipment attached to the same telephone line. If you have any questions concerning
these instructions, you should consult your telephone company or a qualified installer about installing the RJ31X jack and
alarm dialing equipment for you.
Supplier Declaration of Conformity (SdoC)
Visonic, located at 30, 24 Habarzel street, Tel Aviv 69710, Israel, hereby certifies that the Wireless Alarm Control Panel model
“PowerMax Pro”, bearing the labeling identification number US:VSOAL03BPOWERMAX PRO complies with the Federal
Communication Commission’s (“FCC”) Rules and Regulations 47 CFR Part 68, and the Administrative Council on Terminal
Attachments (“ACTA”) adopted technical criteria: TIA/EIA/IS-968, Telecommunications - Telephone Terminal Equipment -
Technical Requirements for Connection of Terminal Equipment to the Telephone Network, July 2001.
09/10/2002
Yaacov Kotlicki
Chairman

36 DE5468IP
WARRANTY
Visonic Ltd. and/or its subsidiaries and its affiliates ("the Manufacturer") warrants its
products hereinafter referred to as "the Product" or "Products" to be in conformance with
its own plans and specifications and to be free of defects in materials and workmanship
under normal use and service for a period of twelve months from the date of shipment by
the Manufacturer. The Manufacturer's obligations shall be limited within the warranty
period, at its option, to repair or replace the product or any part thereof. The
Manufacturer shall not be responsible for dismantling and/or reinstallation charges. To
exercise the warranty the product must be returned to the Manufacturer freight prepaid
and insured.
This warranty does not apply in the following cases: improper installation, misuse,
failure to follow installation and operating instructions, alteration, abuse, accident or
tampering, and repair by anyone other than the Manufacturer.
This warranty is exclusive and expressly in lieu of all other warranties, obligations or
liabilities, whether written, oral, express or implied, including any warranty of
merchantability or fitness for a particular purpose, or otherwise. In no case shall the
Manufacturer be liable to anyone for any consequential or incidental damages for breach
of this warranty or any other warranties whatsoever, as aforesaid.
This warranty shall not be modified, varied or extended, and the Manufacturer does not
authorize any person to act on its behalf in the modification, variation or extension of this
warranty. This warranty shall apply to the Product only. All products, accessories or
attachments of others used in conjunction with the Product, including batteries, shall be
covered solely by their own warranty, if any. The Manufacturer shall not be liable for any
damage or loss whatsoever, whether directly, indirectly, incidentally, consequentially or
otherwise, caused by the malfunction of the Product due to products, accessories, or
attachments of others, including batteries, used in conjunction with the Products.
The Manufacturer does not represent that its Product may not be compromised and/or
circumvented, or that the Product will prevent any death, personal and/or bodily injury
and/or damage to property resulting from burglary, robbery, fire or otherwise, or that the
Product will in all cases provide adequate warning or protection. User understands that a
properly installed and maintained alarm may only reduce the risk of events such as
burglary, robbery, and fire without warning, but it is not insurance or a guarantee that
such will not occur or that there will be no death, personal damage and/or damage to
property as a result.
The Manufacturer shall have no liability for any death, personal and/or bodily
injury and/or damage to property or other loss whether direct, indirect, incidental,
consequential or otherwise, based on a claim that the Product failed to function.
However, if the Manufacturer is held liable, whether directly or indirectly, for any loss or
damage arising under this limited warranty or otherwise, regardless of cause or origin,
the Manufacturer's maximum liability shall not in any case exceed the purchase price of
the Product, which shall be fixed as liquidated damages and not as a penalty, and shall
be the complete and exclusive remedy against the Manufacturer.
Warning: The user should follow the installation and operation instructions and among
other things test the Product and the whole system at least once a week. For various
reasons, including, but not limited to, changes in environmental conditions, electric or
electronic disruptions and tampering, the Product may not perform as expected. The
user is advised to take all necessary precautions for his /her safety and the protection of
his/her property.
6/91
VISONIC LTD. (ISRAEL): P.O.B 22020 TEL-AVIV 61220 ISRAEL. PHONE: (972-3) 645-6789, FAX: (972-3) 645-6788
VISONIC INC. (U.S.A.): 65 WEST DUDLEY TOWN ROAD, BLOOMFIELD CT. 06002-1376. PHONE: (860) 243-0833, (800) 223-0020. FAX: (860) 242-8094
VISONIC LTD. (UK): FRASER ROAD, PRIORY BUSINESS PARK, BEDFORD MK44 3WH. PHONE: (0870) 730-0800 FAX: (0870) 730-0801
INTERNET: www.visonic.com
VISONIC LTD. 2006 POWERMAX PRO Installer guide DE5468IP (REV. 2, 9/06)