f u n k e AVIONICS FSG90 VHF/AM aviation analogue voice COMM transceiver User Manual Standard Maintenance REV 1
f.u.n.k.e. AVIONICS GmbH VHF/AM aviation analogue voice COMM transceiver Standard Maintenance REV 1
Contents
- 1. FSG 90EPC Portable case manual part one
- 2. FSG 90EPC Portable case manual part two
- 3. Frontpanel Module without case part one
- 4. Frontpanel Module without case part two
- 5. Desktop case with front module part one
- 6. Desktop case with front module part two
- 7. FSG 90F ops manual part one
- 8. FSG 90 Maintenance Manual part one
- 9. FSG 90 Maintenance Manual part two
FSG 90 Maintenance Manual part two
![)6*)6*+«0+]1R/%$2-762')61R % ::9+)$0$,5%$1'75$16&(,9(56'XDO0RGHN+]N+]RU´RQO\N+]µFKDQQHOVSDFLQJ0DLQWHQDQFH2YHUKDXODSSOLHVIRU)6* DUWLFOHQR )DSSOLHVIRU)6*+ DUWLFOHQR )%HIRUHPDLQWDLQLQJWKHWUDQVFHLYHUUHDGWKLVPDQXDOWKRURXJKO\SOHDVH.HHSIRUIXUWKHUXVH'RFXPHQW1R 050$UWLFOH1R '5HYLVLRQ1XPEHU 'DWHRI,VVXH 1RYHPEHU$YLRQLFV'LYLVLRQ(USIWLQJHU 6WUDVVH ' /DQGVEHUJ *(50$1<7HOHSKRQH)D[HPDLOILUPD#GLWWHOFRP,QWHUQHWKWWSZZZGLWWHOFRP](https://usermanual.wiki/f-u-n-k-e-AVIONICS/FSG90.FSG-90-Maintenance-Manual-part-two/User-Guide-169920-Page-1.png)
![)6*6\VWHP$LUEDQG7UDQVFHLYHU3DJHLL 1RYHPEHU0$,17(1$1&(0$18$/5(9,6,21,16758&7,216$1'+,6725<0$18$/ 0505(9,6,21 :KHUH55DSSHDUVLQWKH$&7,21FROXPQUHPRYHWKHSDJHQRZLQWKLV0DLQWHQDQFH2YHUKDXO0DQXDODQGUHSODFHLWZLWKWKHHQFORVHGSDJHRWKHUZLVH$''RU'(6752<SDJHVDVOLVWHG5HWDLQWKHVHLQVWUXFWLRQVLQWKHIURQWRIWKH0DLQWHQDQFH2YHUKDXO0DQXDODVD5(&25'2)5(9,6,2163$*( $&7,21 5($621)25&+$1*(7LWOHLL 55 1HZ-762$XWKRUL]DWLRQQXPEHU6XEMHFWWRWHFKQLFDOFKDQJHV 3ULQWHGLQ*HUPDQ\ ](https://usermanual.wiki/f-u-n-k-e-AVIONICS/FSG90.FSG-90-Maintenance-Manual-part-two/User-Guide-169920-Page-2.png)
![)6*6\VWHP7DEOHRI&RQWHQW1RYHPEHU 3DJHLLL7$%/(2)&217(173DJH0DLQWHQDQFH0DQXDO5HYLVLRQ,QVWUXFWLRQVDQG+LVWRU\ LL7DEOHRI&RQWHQW LLL/LVWRI,OOXVWUDWLRQV Y8VHG6\PEROV Y$EEUHYLDWLRQVDQG$FURQ\PV YL6(&7,217+(25<2)23(5$7,21 *HQHUDO %DVLF'HVLJQ '&3RZHU6XSSO\9ROWDJH5HJXODWLRQ /RZ6XSSO\9ROWDJH:DUQLQJ,QGLFDWLRQ )UHTXHQF\6\QWKHVL]HU &RQWURO+HDG'LVSOD\0LFURSURFHVVRU&KDQQHO0HPRU\ 7UDQVPLW±5HFHLYH6ZLWFKRYHU 5HFHLYHU5; 7UDQVPLWWHU7; 7UDQVPLWWHU7;(QXQFLDWRU $XWRPDWLF7UDQVPLW%ORFNLQJFDQEHGLVDEOHG $XGLR)UHTXHQF\$PSOLILHU $XGLR6ZLWFKLQJ&RQWURO 2SHUDWLQJ)UHTXHQFLHVDQGDVVLJQHG,&$2&KDQQHO1DPHV N+]DQGN+]FKDQQHOVSDFLQJVFKHPDWLFRYHUYLHZ 6(&7,216(59,&($1'5(3$,5 *HQHUDO &LUFXLW'LDJUDPV /HYHOV 2YHUKDXO *HQHUDO 6ROGHULQJ:RUN +DQGOLQJRI(OHFWURVWDWLF'HYLFHV &OHDQLQJ 'LVDVVHPEOLQJWKH)6*;WUDQVFHLYHU $VVHPEO\,QIRUPDWLRQ 1HFHVVDU\(TXLSPHQWIRU7HVWLQJ5HSDLU6HWXS 5HFRPPHQGHG7HVWVHWXSWREHVHOIDUUDQJHG 7URXEOH6KRRWLQJ ](https://usermanual.wiki/f-u-n-k-e-AVIONICS/FSG90.FSG-90-Maintenance-Manual-part-two/User-Guide-169920-Page-3.png)

![)6*6\VWHP7DEOHRI&RQWHQW1RYHPEHU 3DJHY/,672),//8675$7,216)LJXUH 3DJH %ORFN'LDJUDP)6*; 2SHUDWLRQDO'LDJUDP)6*; 2SHUDWLQJ)UHTXHQFLHVDQGDVVLJQHG,&$2&KDQQHO1DPHV 6FKHPDWLF2YHUYLHZN+]DQGN+]&KDQQHO6SDFLQJ ([SORGHG9LHZ)6*; -XPSHU33RVLWLRQ 5HFRPPHQGHG7HVW6HWXS )6*$UWLFOH1R))LQDO$VVHPEO\ )6*+$UWLFOH1R))LQDO$VVHPEO\ 86('6<0%2/6,QWKLVPDQXDOWKHIROORZLQJV\PEROVDUHXVHG'$1*(5GHVFULEHVDQLPPHGLDWHWKUHDWHQLQJGDQJHU)DLOLQJWRREVHUYHWKHQRWHPD\FDXVHGHDWKRUKHDY\LQMXULHV&$87,21GHVFULEHVDVSHFLDOQRWHIRURSHUDWLRQ)DLOLQJWRREVHUYHWKHQRWHPD\FDXVHGDPDJHRIWKHWUDQVFHLYHUDQGRUVWRUHGGDWDPD\EHGHOHWHG6(783RUXVHUSURJUDPPHGPHPRU\,03257$17GHVFULEHVH[SODQDWLRQVDQGRWKHUXVHIXOKLQWV)DLOLQJWRREVHUYHWKHQRWHPD\FDXVHGHJUDGHGSHUIRUPDQFHDQGRUXQVDWLVI\LQJRSHUDWLRQ](https://usermanual.wiki/f-u-n-k-e-AVIONICS/FSG90.FSG-90-Maintenance-Manual-part-two/User-Guide-169920-Page-5.png)
![)6*6\VWHP$EEUHYLDWLRQV3DJHYL 1RYHPEHU$%%5(9,$7,216$1'$&521<06$& $LUFUDIW$1 $UWLFOH1XPEHU:DOWHU'LWWHO$) $XGLR)UHTXHQF\$*& $XWRPDWLF*DLQ&RQWURO$K $PSHUHKRXU$0 $PSOLWXGH0RGXODWLRQ$17 $QWHQQD$VV\ $VVHPEO\$:* $PHULFDQ:LUH*DXJHFFZ &RXQWHUFORFNZLVHWXUQOHIW &+ &KDQQHO&76 5HDG\WR7UDQVPLWFZ &ORFNZLVHWXUQULJKW G% 'HFLEHOGLD 'LDPHWHU(0) (OHFWURPRWLYH)RUFHYROWDJHRIDQRSHQFLUFXLW(87 (TXLSPHQW8QGHU7HVW)&+ )UHTXHQF\&KDQQHO)/ )OLJKW/HYHOJ $FFHOHUDWLRQGXHWRJUDYLW\*1' *URXQG+, +LJK3RZHU+] +HUW],&$2 ,QWHUQDWLRQDO&LYLO$YLDWLRQ2UJDQL]DWLRQ,) ,QWHUPHGLDWH)UHTXHQF\N+] .LORKHUW]/&' /LTXLG&U\VWDO'LVSOD\/(' /LJKW(PLWWLQJ'LRGH/2 /RZ3RZHU/26 /LQH2I6LJKWP 0RGXODWLRQP$ 0LOOLDPSHUHV0' 0RGH0+] 0HJDKHUW]0,& 0LFURSKRQHP: 0LOOLZDWW10 1DXWLFDOPLOHVQ: 1DQRZDWW 3(3 3HDN(QYHORSH3RZHU3// 3KDVH/RFNHG/RRSSSP SDUWVSHUPLOOLRQ377 3XVK7R7DONS: 3LFRZDWW 3:5 3RZHU5) 5DGLR)UHTXHQF\UPV (IIHFWLYHYDOXHURRWPHDQVTXDUH576 ,QYLWDWLRQWRVHQG5; 5HFHLYH5[' 5HFHLYHGDWD611 6LJQDOWR1RLVH5DWLR6,1$' 5DWLR63.5 /RXGVSHDNHU64 6TXHOFK67%< 6WDQGE\672 6WRUH6:5 6WDQGLQJ:DYH5DWLR7+' 7RWDO+DUPRQLF'LVWRUWLRQ727 7LPHRXWWLPHU7; 7UDQVPLW7[' 7UDQVPLWGDWD9&2 9ROWDJH&RQWUROOHG2VFLOODWRU9GF 9ROWVGLUHFWFXUUHQW9+) 9HU\+LJK)UHTXHQF\92/ 9ROXPH96:5 9ROWDJH6WDQGLQJ:DYH5DWLR::DWW2KP& 'HJUHHV&HQWLJUDGH) 'HJUHHV)DKUHQKHLW](https://usermanual.wiki/f-u-n-k-e-AVIONICS/FSG90.FSG-90-Maintenance-Manual-part-two/User-Guide-169920-Page-6.png)
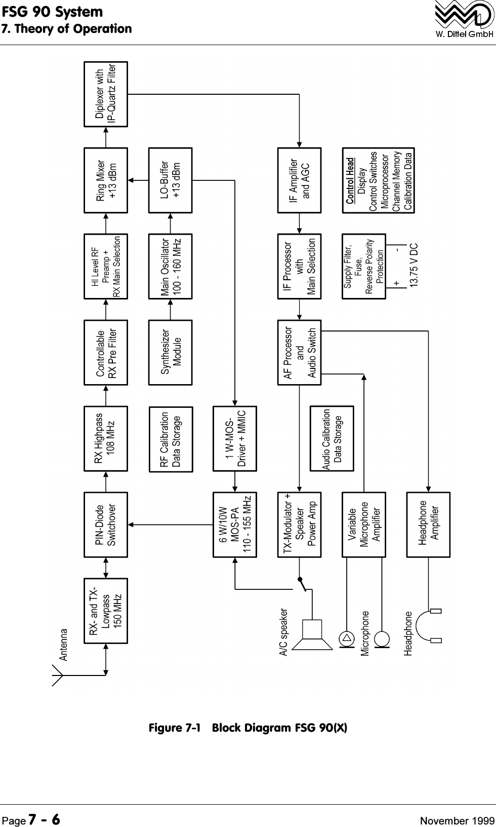
![)6*6\VWHP7KHRU\RI2SHUDWLRQ1RYHPEHU 3DJH6(&7,217+(25<2)23(5$7,21 *HQHUDO7KH)6*6\VWHPFRQVLVWVRIWKHIROORZLQJFRUHPRGXOHV &RQWURO+HDG 7;5;0RGXOH $XGLR0RGXOH(OHFWULFDOIXQFWLRQJURXSVFRQWDLQD'&6XSSO\/HYHO&RQWURO9ROWDJH5HJXODWRUVE)UHTXHQF\6\QWKHVL]HUF &RQWURO+HDG'LVSOD\0LFURSURFHVVRU&KDQQHO0HPRU\G7UDQVPLW5HFHLYH7UDQVIHU6ZLWFKLQJH5HFHLYHU5;I 7UDQVPLWWHU7;J$XGLR$PSOLILHUDQG$XGLR6ZLWFKLQJ %DVLF'HVLJQ5HIHUULQJWR%ORFN'LDJUDP)LJXUHDQG2SHUDWLRQDO'LDJUDP)LJXUHWKHEDVLFGHVLJQRIWKH)6*;'XDO0RGH9+)$06\VWHP7UDQVFHLYHUVZLOOEHGLVFXVVHG '&3RZHU6XSSO\9ROWDJH5HJXODWLRQ7KH)6*6\VWHPRSHUDWHVIURPQRPLQDO9RU9VXSSO\9GF2SHUDWLRQIURP9GFV\VWHPVUHTXLUHVDQH[WHUQDO9GFWR9GFFRQYHUWHU6XSSO\DERYH9WRPD[9GFLVUHJXODWHGLQWHUQDOO\WR9GF0LFURSURFHVVRUFRQWUROOHG'&VXSSO\VZLWFKLQJDQGVWDELOL]DWLRQFLUFXLWU\VHWVWKH)6*;LQWR21RU2))PRGHDFFRUGLQJWRWKH212))92/VZLWFKSRVLWLRQRQIURQWSDQHOLIVXSSO\LVSUHVHQW'&3RZHU21GHWHFWLRQDXWRPDWLFDOO\VWDUWVWKHPLFURSURFHVVRU7KHSRZHUVXSSO\FRQWURODQGILOWHULQJFLUFXLWU\PRQLWRUVWKHDOORZHGORZHVWVXSSO\YROWDJH%HORZ9GFWR9GFVXSSO\WKHZKROHUDGLRLVDXWRPDWLFDOO\GLVFRQQHFWHGIURP'&VXSSO\5HVHWWR21IXQFWLRQLVDFKLHYHGDXWRPDWLFDOO\DWVRPH9GF$QH[WHUQDOLQOLQHIXVHSUHYHQWVIURPRYHUORDGLQJ5HYHUVHG'&VXSSO\SRODULW\GRHVQRWKDUPGXHWRDUHYHUVHSRODULW\SURWHFWLRQGLRGHDQGWKLVIXVH7KH)6*;'&VXSSO\YROWDJHLQSXWDVZHOODVDOOZLULQJLQWHUIDFHLVH[WHQVLYHO\ILOWHUHG7KLVVXSSOLHVWKHDXGLRSRZHUDPSOLILHUDXGLRVZLWFKLQJUHOD\DQGWKH7UDQVPLWWHU5)SRZHUDPSOLILHUYLDPRGXODWLRQWUDQVIRUPHU,QWHJUDOYROWDJHUHJXODWRUVSURYLGHVWDELOL]HG9GFDQG9GFIRUWKHORZSRZHUFLUFXLWV$VZLWFKHG9GFRXWSXWPD[P$SURWHFWHGE\LQWHJUDODXWRPDWLFVHOIKHDOLQJPXOWLIXVHSURYLGHVSRZHUVXSSO\IRUDFFHVVRULHVHJGLVSOD\OLJKWLQJ /RZ6XSSO\9ROWDJH:DUQLQJ,QGLFDWLRQ:KLOHEHLQJVXSSOLHGEHWZHHQWR9GFWKHSURFHVVRUFRQWUROOHGPRQLWRULQJFLUFXLWU\FDXVHVWKHEDU'&VXSSO\OHYHOGLVSOD\WRIODVKLQVHFRQGF\FOHFRQWLQXRXVO\IRUORZVXSSO\XVHUZDUQLQJ](https://usermanual.wiki/f-u-n-k-e-AVIONICS/FSG90.FSG-90-Maintenance-Manual-part-two/User-Guide-169920-Page-7.png)
![)6*6\VWHP7KHRU\RI2SHUDWLRQ3DJH 1RYHPEHU )UHTXHQF\6\QWKHVL]HU7KH)UHTXHQF\6\QWKHVL]HUSURYLGHVWUDQVPLVVLRQDQGLQMHFWLRQIUHTXHQFLHVIRU VHOHFWHG,&$2UDGLRFKDQQHOQDPHVZLWKN+]FKDQQHOVSDFLQJDQG VHOHFWHGIUHTXHQFLHVZLWKN+]FKDQQHOVSDFLQJ7KHIUHTXHQF\V\QWKHVL]HUUHTXLUHVOHVVWKDQPVHFWLPHWRVWDELOL]HDIWHUVZLWFKLQJIURPWUDQVPLWWRUHFHLYHPRGHDQGYLFHYHUVD'XULQJWKLVVZLWFKLQJWLPHZURQJIUHTXHQFLHVDUHEORFNHGWKURXJKWKH3//FRQWUROFLUFXLW3KDVH/RFNHG/RRS6LQFHWKHILUVWKHWHURG\QHIUHTXHQF\RSHUDWHV0+]DERYHWKHFKDQQHOIUHTXHQF\WKHV\QWKHVL]HUIUHTXHQF\LVWR0+]LQWUDQVPLWPRGH7KH5HFHLYHULQMHFWLRQIUHTXHQF\UDQJHLVWR0+]$OO9&2IUHTXHQFLHVDUH3//3KDVH/RFNHG/RRSFRQWUROOHG7KH9&2RXWSXWSDVVHVSURJUDPPDEOHIUHTXHQF\GLYLGHUV7KHLUGLYLVLRQUDWLRFRUUHVSRQGVZLWKVHOHFWHGRSHUDWLQJIUHTXHQF\,IDQ\IUHTXHQF\RUSKDVHGLIIHUHQFHRFFXUVEHWZHHQWKHDFFXUDWHDQGE\WKH9&2RXWSXWSURGXFHGN+]IUHTXHQF\E\GLYLVLRQUDWLRDFFRUGLQJWRWKHUHTXLUHGIUHTXHQF\WKH9&2IUHTXHQF\ZLOOEHFRUUHFWHGXQWLODQ\GLIIHUHQFHEHFRPHVEDODQFHG7KLVWXQHVWKHUDGLRIDVWDQGH[DFWO\WRWKHFRUUHFWRSHUDWLQJFKDQQHO3XOVHRUSKDVHQRLVHLVHOLPLQDWHGLQWKH9&2/RRSILOWHU7KHV\QWKHVL]HUHPSOR\VDQDSSURSULDWHFXVWRPL]HGK\EULG7KHKLJKO\DFFXUDWHFU\VWDOFRQWUROOHG0+]UHIHUHQFHRVFLOODWRULVDJDLQFRPSUHKHQVLYHO\PLFURSURFHVVRUFRQWUROOHG7HPSHUDWXUHFDOLEUDWLRQGDWDDUHVWRUHGLQGLYLGXDOO\RQHDFKPRGXOHRYHU&&RSHUDWLQJWHPSHUDWXUHUDQJHLQ&VWHSV7KLVHQVXUHVWKHUHTXLUHGIUHTXHQF\DFFXUDF\RIEHWWHUWKDQSSPRYHUWKHZKROHWHPSHUDWXUHUDQJH &RQWURO+HDG'LVSOD\0LFURSURFHVVRU&KDQQHO0HPRU\7KH&RQWURO+HDG0RGXOHLQFOXGHVD3URFHVVRU&RQWUROOHU%RDUGZLWKFRQWUROVZLWFKHVE/&'/LTXLG&U\VWDO'LVSOD\%RDUG3URFHVVRU&RQWUROOHU%RDUGZLWKFRQWUROVZLWFKHV7KLVERDUGFRQWDLQVURWDU\VZLWFKHVIRU212))92/DQG)&+DQGWKHSXVKNH\V672640'DQG7UDQVIHUÙ$GGHGWRWKH)&+VZLWFKLVDSXVKVZLWFK7KUHH((3520VVWRUHXQLWRSHUDWLRQDOVHWWLQJVSDUWLDOO\WKHFDOLEUDWLRQGDWDDQGXVHUGDWDPHPRU\FKDQQHOV2QH((3520LVORFDWHGRQWKH3URFHVVRU%RDUGRQHKDQGOHVLQGLYLGXDOFRUUHFWLRQFDOLEUDWLRQGDWDRQWKH7;5;%RDUGDQGRQHKDQGOHVLQGLYLGXDOFRUUHFWLRQFDOLEUDWLRQGDWDRQWKH$XGLR%RDUG7KHFORFNLVSURGXFHGE\DFU\VWDORVFLOODWRU:LWKVXIILFLHQWXQLWVXSSO\YROWDJHDUHVHWFLUFXLWSURYLGHVWKHPLFURFRQWUROOHUUHVHW$FFHVVWRXQLWLQWHUQDOIXQFWLRQVDQGWKHLUFDOLEUDWLRQUHTXLUHVFXVWRPL]HGFRQWUROLQWHUIDFHDQGDVSHFLILFFRQWURODOLJQPHQWVRIWZDUHEXWWKLVLVDYDLODEOHRQO\IRUDXWKRUL]HGSDUWLHV7KHPLFURSURFHVVRUKDQGOHVIROORZLQJIXQFWLRQV +DQGVKDNHIRUFRPPXQLFDWLRQYLDWKHLQWHJUDOVLJQDOEXVZLWKLQWHJUDOLQWHUIDFHVDQGZLWKH[WHUQDOFRQWUROLQWHUIDFHZLWKSURSULHWDU\3&FRPSXWHUSURJUDP ((3520PDQDJHPHQWRIXVHUPHPRU\FKDQQHOV &\FOLFVWDWXVTXHVWLRQLQJRIWKHXVHUEXWWRQV672640'7UDQVIHUÙDQGRIWKHXVHUVHOHFWRUVZLWFKHV212))92/DQG)&+ &RQWURORIWKH/&GLVSOD\ 6TXHOFKVZLWFKLQJORJLFYROWDJHV](https://usermanual.wiki/f-u-n-k-e-AVIONICS/FSG90.FSG-90-Maintenance-Manual-part-two/User-Guide-169920-Page-8.png)
![)6*6\VWHP7KHRU\RI2SHUDWLRQ1RYHPEHU 3DJH 0RGXODWLRQGHSWKFRQWUROLQFRQQHFWLRQZLWKWKHYRLFHSURFHVVRU 0RQLWRULQJRIVXSSO\YROWDJHUDQJH7RRORZVXSSO\LQLWLDWHVIODVKLQJRIWKHEDU'&VXSSO\V\PERO)DUWRRORZVXSSO\GLVFRQQHFWVWKHWUDQVFHLYHU 6HWWLQJRIYDULRXVHOHFWURQLFSRWHQWLRPHWHUOHYHOFRQWURO 0LQXWH7UDQVPLW7LPH2XW7LPHUDQGFRPSOHWHGLVSOD\IODVKLQJ 7UDQVPLWWHUEORFNLQJGXULQJ5HFHLYHLIDFWLYDWHGGHDFWLYDWHGLQ6(783 6(783PDQDJHPHQW/&'/LTXLG&U\VWDO'LVSOD\%RDUG$Q/&GLVSOD\FRQWUROOHUDQGWKH/&'DUHORFDWHGRQWKH'LVSOD\%RDUG7KH/LTXLG&U\VWDO'LVSOD\FDQEHLOOXPLQDWHG7KHRSHUDWRUFDQFKRRVHRQHGLVSOD\PRGHRXWRIWKUHHPRGHV7KHRSHUDWLQJIUHTXHQF\LQN+]VSDFLQJRQO\ZLWKGLJLWGLVSOD\RURSHUDWLQJFKDQQHOQDPHLQN+]DQGN+]PRGHEXWZLWKGLJLWGLVSOD\LVVHOHFWDEOHE\WKHURWDWHDQGSXVK)&+VHOHFWRUVZLWFKRQWKHIURQWSDQHO7KLVNQRELVXVHGDOVRWRVHOHFWLQGLYLGXDOWUDQVFHLYHUDGMXVWPHQWVWKURXJK6(783,ILQWKH6(783HJIRUDLUILHOGYHKLFOHWKHIUHHIUHTXHQF\FKDQQHOQDPHXVHUDFFHVVLVEORFNHGRQO\SUHVHWFKDQQHOVDUHXVDEOH 7UDQVPLW±5HFHLYH6ZLWFKRYHU$QWHQQDVZLWFKRYHUEHWZHHQ7UDQVPLWWHURXWSXWDQG5HFHLYHULQSXWLVSHUIRUPHGXVLQJVROLGVWDWHGLRGHVZLWFKLQJFLUFXLWU\ 5HFHLYHU5;$ZLGHEDQGIL[HGWXQHGDQWHQQDKLJKSDVVILOWHUUHGXFHVLQWHUIHUHQFHFDXVHGE\VLJQDOVEHORZ0+]7KLVDYRLGVLQWHUIHUHQFHIURP)0EURDGFDVWWUDQVPLVVLRQVFDOOHG,&$2$QQH[)0,QWHUPRGXODWLRQLPPXQLW\7KHFRPPRQO\XVHGWUDQVPLWWHUORZSDVVDQWHQQDILOWHUDWWHQXDWHVUHFHLYHULQWHUIHUHQFHLQSXWDERYH0+])RXUUHVRQDQWUHFHLYHU5)LQSXWFLUFXLWVDUHWXQHGE\DFFXUDWHO\WHPSHUDWXUHFRQWUROOHG9DULFDSVIROORZHGE\D)(75)SUHDPSOLILHUVRXUFHFLUFXLWDQGDK\EULGPL[HU7KHUHFHLYHULVDGXDOKHWHURG\QHW\SH7KHILUVWLQWHUPHGLDWHIUHTXHQF\,)LV0+]WKHVHFRQG,) N+]+\EULG,QDFFRUGDQFHZLWKWKHFKDQQHOVSDFLQJVHOHFWHGVZLWFKHGEXWVHSDUDWHN+]DQGN+]FU\VWDO,)ILOWHUVSURYLGHQHFHVVDU\FKDQQHOVSDFLQJVHOHFWLYLW\7KHK\EULGN+],)DPSOLILHUFRQWDLQVWKH0+]VHFRQGFRQYHUVLRQRVFLOODWRUDQGPL[HUDXWRPDWLFJDLQFRQWURO$*&FLUFXLWU\IRUWKHIURQWHQG3,1GLRGHVDQGDVSHFLILFDXWRPDWLF$0FDUULHU)0QRLVHVTXHOFKJDWHFLUFXLWWRFRQWUROSURSHUO\WKHUHFHLYHGVLJQDOFKDUDFWHULVWLFV$JDLQSURFHVVRUFRQWUROOHGWHPSHUDWXUHFRPSHQVDWHGVTXHOFKWKUHVKROGVHQVXUHVDFFXUDWH6TXHOFKIXQFWLRQDOLW\$WOHDVWG%5)VHOHFWLYLW\WRJHWKHUZLWKEHWWHUWKDQG%LQEDQGLQWHUPRGXODWLRQFDSDELOLW\ZLWKLQDQGRXWVLGHWKH9+)$0EDQGEHVLGHVDGMDFHQWFKDQQHOVHPSOR\VDOVRDWXQHGPLUURUDWWHQXDWLRQQRWFK7KLVFRPSOH[5)ILOWHUDUUDQJHPHQWUHTXLUHVDFFXUDWHWHPSHUDWXUHFRQWUROOHGDOLJQPHQW7KH±G%P,&$2$QQH[LQWHUPRGXODWLRQLPPXQLW\DJDLQVW)0EURDGFDVWLQWHUIHUHQFHDJDLQHPSOR\VFRPSOH[SURFHVVRUFRQWUROOHGDQGWHPSHUDWXUHFRPSHQVDWHGIURQWHQGDOLJQPHQW7KHUHFHLYHU5)JDLQFRQWUROLVFDSDEOHWRKDQGOH5)LQSXWVLJQDOVEHWZHHQ9G%PDQGPRUHWKDQ9G%PZLWKOHVVWKDQG%DXGLRRXWSXWOHYHOFKDQJH7KHVTXHOFKFLUFXLWU\DGDSWVDJDLQPLFURSURFHVVRUFRQWUROOHGDQGWHPSHUDWXUHFRPSHQVDWHGWKH64RSHQLQJWKUHVKROGLQIRXUVWHSVGHIDXOWDSSUR[9](https://usermanual.wiki/f-u-n-k-e-AVIONICS/FSG90.FSG-90-Maintenance-Manual-part-two/User-Guide-169920-Page-9.png)
![)6*6\VWHP7KHRU\RI2SHUDWLRQ3DJH 1RYHPEHUG%PRUE\WKH6(783GHWHUPLQHG9RU9RUIRUWHVWVm95)OHYHOVWRZLWKVWDQG5)LQWHUIHUHQFH7KH$0)0FRPELQHGVTXHOFKFLUFXLWVFRQWUROWKHDXGLRDPSOLILHU0DQXDORYHUULGHSURYLGHVWKH64FRQWUROEXWWRQRQWKHXQLW¶VIURQWSDQHO7KHUHFHLYHULVVXSSOLHGZLWKVWDELOL]HG9GF7KHUHFHLYHUDXGLRRXWSXWLVIHGWRWKHDXGLRDPSOLILHUIRUIXUWKHUSURFHVVLQJ 7UDQVPLWWHU7;7KHWUDQVPLWWHU5)DPSOLILHULVRIZLGHEDQGGHVLJQDQGLQFOXGHVWKUHHVWDJHV 5),VRODWLRQDPSOLILHU00,& 5)'ULYHUDPSOLILHU 5)SRZHUDPSOLILHU)(7ZLWK'UDLQPRGXODWLRQ$OO5)DPSOLILHUVWDJHVDUHFRXSOHGE\ZLGHEDQG/&QHWZRUNVRUWKURXJKIHUULWHWUDQVIRUPHUV7KHORZSDVVDQWHQQD5)ILOWHULVXVHGDOVRE\WKHUHFHLYHU'LRGHVZLWFKLQJLVHPSOR\HGWRFRQQHFWHLWKHUUHFHLYHULQSXWRUWUDQVPLWWHURXWSXWWRWKHDQWHQQD2QO\SURSHUO\WXQHGIUHTXHQFLHVDUHJHQHUDWHG5)SRZHUUDGLDWLRQLVDFFXUDWHO\FRQWUROOHGE\VXSSO\YROWDJHVZLWFKLQJRIWKH00,&LVRODWLRQDPSOLILHU 7UDQVPLWWHU7;(QXQFLDWRU7KHWUDQVPLWPRGHLVLQGLFDWHGE\WKHVWHDGLO\YLVLEOHWUDQVPLW/&'V\PERO7;(QXQFLDWRUGXULQJWUDQVPLW&RQWUDU\WRWKLVDFRQWLQXRXVO\IODVKLQJFRPSOHWHGLVSOD\LQGLFDWHVWKDWWKHPLQXWHVFRQWLQXRXVWUDQVPLWWLPHRXWWLPHUKDVGLVDEOHGWKHWUDQVPLWWHU7KLVLQGLFDWHVHJDOVRVWXFN377EXWWRQRUDGHIHFWLYH377OLQH$IWHUFRUUHFWLRQRIWKHUHDVRQIRU377EORFNLQJDQGDIWHUVZLWFKLQJWKH)6*;DJDLQ21QRUPDORSHUDWLRQLVUHVXPHG,QHPHUJHQF\VLWXDWLRQVHJZLWKFRQWLQXHGVWXFN377EXWWRQHYHU\VZLWFKLQJ2))DQG21DJDLQRIWKH)6*;DOORZVDQRWKHUWUDQVPLVVLRQSHULRGIRUPD[LPXPPLQXWHVGXUDWLRQ7KLVDOORZVUHSHDWHGFRQWLQXRXVWUDQVPLVVLRQZKHQUHTXLUHG $XWRPDWLF7UDQVPLW%ORFNLQJFDQEHGLVDEOHG:KHQWKLVIXQFWLRQLVLQWKH6(783QRUPDOO\DFWLYDWHGWKH)6*;LVFDSDEOHWRDYRLG7UDQVPLWZKLOH5HFHLYHLVDFWLYH7KLVWUDQVPLWSURWHFWLRQIXQFWLRQVXSSRUWVDYRLGDQFHRIFKDQQHOEORFNLQJZKLFKLVRFFXSLHGE\RWKHUXVHUVDQG5)LQWHUIHUHQFHGLVWXUEDQFHRQWKHRSHUDWLQJFKDQQHO:LWKWKHWUDQVPLWEORFNLQJIXQFWLRQDFWLYDWHGLQ6(783DQGLIWUDQVPLWWLQJLVQHHGHGZKLOH5HFHLYHLVDFWLYHRQWKLVFKDQQHODIWHUPRPHQWDU\GLVDEOLQJRIWKH6TXHOFKE\SUHVVLQJWKH64EXWWRQWUDQVPLWEORFNLQJLVGHDFWLYDWHGWUDQVPLVVLRQLVWKHQLQVWDQWO\SRVVLEOH,QWKH6(783WKLVWUDQVPLWEORFNLQJFDQEHFRQWLQXRXVO\GHDFWLYDWHGQRWUHFRPPHQGHG $XGLR)UHTXHQF\$PSOLILHU7KHDXGLRLQWHUDFWLRQFLUFXLWU\IRUVLJQDOVZLWFKLQJDQGDXGLROHYHOLQJLQ7UDQVPLWDQG5HFHLYHLVDJDLQH[WHQVLYHO\PLFURSURFHVVRUFRQWUROOHG7KHORZQRLVHPLFURSKRQHDXGLRDPSOLILHUIHDWXUHVVHSDUDWHLQSXWVIRUG\QDPLFQRQDPSOLILHGDQGIRUFDUERQDPSOLILHGPLFURSKRQHV5HFHLYHGDXGLRLVOHYHOHGDERYHPRGXODWLRQGHSWK$SURSULHWDU\DXGLRK\EULGLQFOXGHVWKHYRLFHSURFHVVRUDQGDXGLROHYHOFRPSUHVVRU7KLVSURYLGHVERWKWKH7UDQVPLWWHUDQG5HFHLYHUFRQVWDQWDXGLROHYHOFRQWURO$FWLYHYRLFHDXGLREDQGSDVVILOWHULQJN+]N+]HQVXUHVPHHWLQJRIERWKWKHWRXJKN+]7UDQVPLWWHU5)VSHFWUXPPDVNUHTXLUHPHQWVDQGDOVRVXIILFLHQW](https://usermanual.wiki/f-u-n-k-e-AVIONICS/FSG90.FSG-90-Maintenance-Manual-part-two/User-Guide-169920-Page-10.png)
![)6*6\VWHP7KHRU\RI2SHUDWLRQ1RYHPEHU 3DJHDWWHQXDWLRQRIDXGLRLQWHUIHUHQFHEHDWWRQHVLQDUHDVZKHUHWKHVLPXOWDQHRXVN+]&/,0$;7UDQVPLWRSHUDWLRQPRGHLVXVHG6HSDUDWHDXGLRSRZHUDPSOLILHUVSURYLGHXSWR:DWWVVSHDNHURXWSXWDQGLQGHSHQGHQWP:SKRQHDXGLRRXWSXW7KHPLFURSKRQHLQSXWOHYHOVHQVLWLYLW\IRUPD[LPXPPRGXODWLRQGHSWKSOXVOHYHOFRQWUROLVDGMXVWDEOHLQWKH6(783IURPP9P9IRUG\QDPLFQRQDPSOLILHGPLFURSKRQHVRUIURPP9P9IRUDPSOLILHGG\QDPLFRUDPSOLILHGHOHFWUHWRUFDUERQVWDQGDUGPLFURSKRQHV7KH5)RXWSXWSRZHUDPSOLILHUXVHVVRXUFHDPSOLWXGHPRGXODWLRQFRQWUROFLUFXLWU\7RJHWKHUZLWKWKHFXVWRPL]HGDXGLRSURFHVVRUK\EULGWKLVDFKLHYHVRSWLPL]HGYRLFHDFRXVWLFVSURFHVVLQJIRUYHU\KLJK$9(5$*(92,&(PRGXODWLRQGHSWK)6*;PRGXODWLRQVRXQGVWKHUHIRUHDOZD\VVWURQJORXGDQGFOHDU3URSULHWDU\)6*;YRLFHDXGLRSURFHVVLQJDFKLHYHVVWURQJDQGFULVSWUDQVPLWWHUPRGXODWLRQYRLFHTXDOLW\DWN+]DQGVSHFLILFDOO\DOVRDWN+]FKDQQHOVSDFLQJ7KHUHIRUHQRDXGLRTXDOLW\GLIIHUHQFHH[LVWV7KHSURFHVVRUFRQWUROOHGPD[LPXPPRGXODWLRQGHSWKLVLQGLYLGXDOO\RSWLPL]HGIRUKLJKDGMDFHQWFKDQQHOSRZHUDWWHQXDWLRQGXULQJDXWRPDWLFILQDOFDOLEUDWLRQDWSURGXFWLRQWHVWLQJDQGFDQDJDLQQRWEHFKDQJHGPDQXDOO\,IUHTXLUHGWKURXJKWKH6(783WKHXVHUFDQSURSHUO\PDWFKWKHPLNHRXWSXWOHYHOWRWKHPRGXODWLRQLQSXWOHYHOUHTXLUHGWRUHDFKDKLJKHUWKDQ$0PRGXODWLRQFRPSUHVVLRQVWDUWLQJSRLQW7KLVDFFXUDWHO\HQVXUHVIRUHDFKXQLWSURGXFHGEHWWHUWKDQG%N+]W\SLFDOO\G%DQGEHWWHUWKDQG%N+]W\SLFDOO\G%DGMDFHQWFKDQQHODWWHQXDWLRQ%RWKWKHWUDQVPLWDXGLRVLGHWRQHDQGWKHLQWHUFRPSKRQHOHYHOVDUHLQGLYLGXDOO\DGMXVWDEOHLQWKH6(7837KH\FDQEHVHWLQGHSHQGHQWO\WRVRPHORZHUWKDQWKHVSHDNHUOHYHO7KLVDOORZVRSWLPL]HGYROXPHPDWFKLQJRIGLIIHUHQWKHDGVHWW\SHV7KHWUDQVPLWWHUVLGHWRQHDXGLRIUHTXHQF\VLJQDOLVGHULYHGIURPWUDQVPLWWHG5)SRZHURXWSXWZKLFKLVGHPRGXODWHGDQGDPSOLILHGSURFHVVRUFRQWUROOHG $XGLR6ZLWFKLQJ&RQWURO,Q5HFHLYHPRGHWKH([WHUQDO$XGLRLQSXWDQGWKH5HFHLYHULQSXWDUHDOZD\VDXGLEOHWKURXJKWKHKHDGSKRQHDXGLRRXWSXW6KRXOGLQWKH6(783WKH([WHUQDO$XGLR,QSXWEHGLVDEOHGDSSUR[P$FXUUHQWGUDZVDYLQJLQVWDQGE\LVDFKLHYHG7KLVUHGXFHV)6*;VWDQGE\FXUUHQWWRP$$OVRZLWKGLVDEOHG([WHUQDO$XGLRLQSXWDPSOLILHGH[WHUQDODXGLRLQSXWLVQRWDYDLODEOHRQWKHVSHDNHUDXGLRRXWSXWEXWZLOOUHPDLQSUHVHQWLQWKHSKRQHDXGLRRXWSXW5HFHLYHDXGLRRIWKHDVVLJQHGN+]IUHTXHQF\RUN+]FKDQQHOQDPHLVDYDLODEOHHLWKHUZLWKDQ5)LQSXWVLJQDOVWURQJHQRXJKWRRSHQWKH6TXHOFK64RUZHDNHURUDV5;QRLVHRQO\ZKLOHWKH64LVGLVDEOHGPDQXDOO\'XULQJ7UDQVPLWRQO\WKHPLFURSKRQHLQSXWLVIHGWRWKHDXGLRDPSOLILHU$OORWKHUDXGLRLQSXWVLJQDOVDUHGLVDEOHG](https://usermanual.wiki/f-u-n-k-e-AVIONICS/FSG90.FSG-90-Maintenance-Manual-part-two/User-Guide-169920-Page-11.png)

![)6*6\VWHP7KHRU\RI2SHUDWLRQ1RYHPEHU 3DJH&RQWURO+HDG 'LVSOD\$)9ROXPH6TXHOFK0RGH7XQLQJ)&+6WHSZLGWK7UDQVIHU6WRUH212))/&',OOXPLQDWLRQ/&''DWD/RZ6XSSO\N+]N+]6\QWKHVL]HU'DWDN+]-XPSHU$)9ROXPH212))6TXHOFK212))$0647KUHVKROG6TXHOFK6WDWXV377&OHDU377&ULWHULRQ3//6WDWXV7;(QDEOH$)92/'DWD&RUUHFWLRQ'DWD$)$*&9ROWDJH5;$*&9ROWDJH3KRQH$XGLR6SHDNHU$XGLR$)6XP6TXHOFK2XWSXW,OOXPLQDWLRQ0RGHP7;'DWD$)([WHUQDO,QWHUFRP6ZLWFKHG'&2XWSXW9GF6XSSO\'\QDPLF0LNH,16WDQGDUG0LNH,13776ZLWFK0RGHP75;6XSSO\*1'0LNH*1'$QWHQQD&DEOH,23RUW ,23RUW 'LVSOD\'ULYHU&RQWURO8QLW((3520IRU&KDQQHO6WRUH5HVHW3URFHVVRU$VV\$QWHQQD8QLWV5HFHSWDFOH$)$VV\5)$VV\)LJXUH2SHUDWLRQDO'LDJUDP)6*;](https://usermanual.wiki/f-u-n-k-e-AVIONICS/FSG90.FSG-90-Maintenance-Manual-part-two/User-Guide-169920-Page-13.png)
![)6*6\VWHP7KHRU\RI2SHUDWLRQ3DJH 1RYHPEHU 2SHUDWLQJ)UHTXHQFLHVDQGDVVLJQHG,&$2&KDQQHO1DPHV,QWKHFRPELQHGN+]N+]FKDQQHOVSDFLQJPRGHDFWLYH&KDQQHO1DPHVDUHGLVSOD\HGZLWKGLJLWV,QWKHN+]RQO\FKDQQHOVSDFLQJPRGHIUHTXHQFLHVDUHGLVSOD\HGZLWKGLJLWVHJ)UHTXHQF\0+]LVGLVSOD\HGDV0+]2IFRXUVHWKLVDVVLJQPHQWDOVRDSSOLHVWRDOORWKHUIUHTXHQFLHVEHWZHHQ0+]DQG0+]&KDQQHOIUHTXHQF\0+]&KDQQHO6SDFLQJN+]N+]0RGH&KDQQHO1DPH 'LVSOD\DW)6*N+]0RGH)UHTXHQF\ 'LVSOD\DW)6* HWF HWF HWF HWF)LJXUH2SHUDWLQJ)UHTXHQFLHVDQGDVVLJQHG,&$2&KDQQHO1DPHV N+]DQGN+]FKDQQHOVSDFLQJVFKHPDWLFRYHUYLHZ)LJXUH6FKHPDWLFRYHUYLHZN+]DQGN+]FKDQQHOVSDFLQJ](https://usermanual.wiki/f-u-n-k-e-AVIONICS/FSG90.FSG-90-Maintenance-Manual-part-two/User-Guide-169920-Page-14.png)
![)6*6\VWHP6HUYLFHDQG5HSDLU1RYHPEHU 3DJH6(&7,216(59,&($1'5(3$,5 *HQHUDO$OO)6*;IXQFWLRQVDQGSURFHVVRUFRQWUROOHGLQWHUDFWLRQVZKLFKPD\EHDIIHFWHGE\WHPSHUDWXUHVDQGE\YDULRXVVXSSO\YROWDJHOHYHOVDUHDXWRPDWLFDOO\DQGLQGLYLGXDOO\FRUUHFWHGDQGFDOLEUDWHGRQHDFK)6*;XQLWSURGXFHG7KHUHIRUHHDFK7;5;DQG$XGLR0RGXOHFRQWDLQVLWVRZQQRQYRODWLOHDOLJQPHQWFRUUHFWLRQGDWDPHPRU\7KHPLFURSURFHVVRUXVHVWKHVHLQGLYLGXDOFDOLEUDWLRQGDWDWRDFKLHYHV\VWHPVSHFLILFDWLRQFRPSOLDQFH6KRXOGIRUUHSDLUD3&ERDUGUHSODFHPHQWEHUHTXLUHGRQO\VXFKDXWRPDWLFDOO\DQGFRPSUHKHQVLYHO\GXULQJILQDOWHPSHUDWXUHWHVWHG3&ERDUGVZLWKWKHLULQGLYLGXDOO\VWRUHGDOLJQPHQWGDWDZLOODFKLHYHIXOOVFDOHV\VWHPSHUIRUPDQFH0DQXDOUHSDLUZLOOWKHUHIRUHLQDOPRVWDOOFDVHVDIIHFWWKLVLQGLYLGXDO3&ERDUGFDOLEUDWLRQ2WKHUUHSDLUZRUNWKDQUHDGLO\DVVHPEOHG0RGXOHUHSODFHPHQWDQGRUSHUIRUPDQFHYHULILFDWLRQWHVWLQJDVSHU6HFWLRQEHORZLVWKHUHIRUHQRWDOORZHG:$51,1*2QO\DTXDOLILHGDQGIRUKDQGOLQJRISURFHVVRUFRQWUROOHGHTXLSPHQWH[SHULHQFHG$YLRQLFV7HFKQLFLDQVKDOOSHUIRUP)6*;WUDQVFHLYHUVHUYLFHDQGUHSDLU,QDQ\FDVHHYHU\UHSDLUZKLFKLVQRWOLPLWHGWRUHSODFHPHQWRISUHFDOLEUDWHGSULQWHGFLUFXLWERDUGPRGXOHV0867EHDFFRPSOLVKHGE\VSHFLILHGFRPSUHKHQVLYHUHFDOLEUDWLRQDQGDWDOOWHPSHUDWXUHVLQ&VWHSVIURP&WR&:LWKRXWXVHRIVSHFLDOL]HGDFFXUDWHO\FRPSXWHUFRQWUROOHGWHVWHTXLSPHQWDQGZLWKRXWXVHRIFXVWRPL]HGWHVWDQGFDOLEUDWLRQVRIWZDUHSOXVVXIILFLHQW)6*;VHUYLFHWUDLQLQJDQGH[SHULHQFHQRVXFFHVVIXOUHSDLUFDQEHSHUIRUPHG$VWULFWUHTXLUHPHQWLVDOVRWKHPDQGDWRU\XVHRIDVXLWDEOHFRPSXWHUFRQWUROOHGWHPSHUDWXUHWHVWFKDPEHUIRU$//DXWRPDWLFWHPSHUDWXUHFRQWUROOHGWUDQVFHLYHUFDOLEUDWLRQVDQGIRUFRPSUHKHQVLYHSHUIRUPDQFHWHVWV &LUFXLW'LDJUDPV$OO)6*;FLUFXLWU\LVLQFOXGHGLQWKHFLUFXLWGLDJUDPV'XHWRDXWRPDWLFFRPSXWHUL]HGV\VWHPWHFKQRORJ\ZLULQJGLDJUDPVDUHQRUPDOO\QRWSXEOLVKHG2QO\HVSHFLDOO\PDQXIDFWXUHUFHUWLILHGVHUYLFHIDFLOLWLHVDUHSURYLGHGZLWKDOOVXFKDOLJQPHQWFDOLEUDWLRQDQGVHUYLFLQJLQIRUPDWLRQ7KLVLVWKHUHIRUHWRDGYLVHWKDWGXHWRDERYHPHQWLRQHGH[WHQVLYHSURFHVVRUFRQWUROOHG)6*;RSHUDWLRQQRLQGLYLGXDOFRPSRQHQWUHSDLUVKDOOEHSHUIRUPHGZLWKRXWFDSDELOLW\IRUH[WHQVLYHFRPSXWHUFRQWUROOHGSHUIRUPDQFHSUHLQYHVWLJDWLRQWHVWLQJDQGDOLJQPHQWFDOLEUDWLRQ](https://usermanual.wiki/f-u-n-k-e-AVIONICS/FSG90.FSG-90-Maintenance-Manual-part-two/User-Guide-169920-Page-15.png)
![)6*6\VWHP6HUYLFHDQG5HSDLU3DJH 1RYHPEHU /HYHOV,WLVVXIILFLHQWWRPDNHSHUIRUPDQFHWHVWLQJWKURXJKWKHSROHUHFHSWDFOHDQGWKHDQWHQQDFRQQHFWRU$OOSHUIRUPDQFHPHDVXUHPHQWVDUHSRVVLEOHE\WHVWHTXLSPHQWLQWHUIDFHGYLDWKHVHFRQQHFWRUV7HVW/HYHOVDQGPHDVXUHPHQWSURFHGXUHVDUHPHQWLRQHGLQ6HFWLRQ 2YHUKDXO *HQHUDO$VHOHFWURQLFHTXLSPHQWFRQWLQXHVWREHFRPHPRUHPLQLDWXUL]HGDQGFRPSOH[VHUYLFHDQGUHSDLUSURFHGXUHVPXVWDOVREHLPSURYHGFRPPHQVXUDWHO\0RVWRIWKH60'WHFKQRORJ\LVDOUHDG\NQRZQLQWKHVHUYLFHIDFLOLWLHVKRZHYHUWKHUHDUHDOZD\VQHZLQIRUPDWLRQFRPLQJLQDQGWKHVSHFLDONQRZOHGJHZKLFKLVUHTXLUHGLVH[SDQGLQJLQDPDQQHUZKLFKLVGLIILFXOWWRNHHSXQGHUFRQWUROZHZLVKWRPHQWLRQWKHPRVWLPSRUWDQWSRLQWV%HIRUHXVLQJHOHFWURQLFHTXLSPHQWWRORRNIRUHOHFWULFDOPDOIXQFWLRQVGHIHFWLYHXQLWVVKRXOGEHYLVXDOO\LQVSHFWHGILUVWIRUPHFKDQLFDOIDXOWV6KRUWFLUFXLWRURSHQFRQGXFWLQJSDWKVDUHRIWHQIRXQGZLWKWKHDFFHVVRULHV2QWKH3&ERDUGVZLWKRXWFRPSXWHUL]HGFDOLEUDWLRQIDFLOLWLHVLWLVHYHQQRWKHOSIXOZKHQRYHUKHDWHGEXUQHGFRPSRQHQWVFDQEHIRXQGWKURXJKVLPSOHYLVXDOLQVSHFWLRQ7KLVLVDJDLQWRKLJKOLJKWWKDWDOLJQPHQWVKRXOGQHYHUEHDWWHPSWHGZLWKRXWXVLQJSUHVFULEHGFRPSUHKHQVLYHRYHUWKHIXOORSHUDWLQJWHPSHUDWXUHUDQJHFRPSXWHUFRQWUROOHGDXWRPDWLFWHVWHTXLSPHQWLQFRQMXQFWLRQZLWKSURSULHWDU\7HVW6RIWZDUHDQGVXLWDEOHLQWHUFRQQHFWLRQDGDSWDWLRQ 6ROGHULQJ:RUN$VDOUHDG\LPSOLHGEHIRUHWKHFRPSDFWQHVVDQGSURFHVVRUFRQWUROOHGFRPSOH[LW\GRHVQRWDOORZ$1<PDQXDOFRPSRQHQWUHSDLUZRUNZLWKRXWDXWRPDWLFFRPSUHKHQVLYHFRPSXWHUFRQWUROOHGWHVWLQJDQGIDLOXUHDQDO\VLV7KHUHIRUHDQ\UHSDLUPXVWEHOLPLWHGWRWKHUHSODFHPHQWRIWKHIROORZLQJWKRURXJKO\E\WKHPDQXIDFWXUHULQGLYLGXDOO\SUHDOLJQHGDQGFDOLEUDWHGUHSODFHPHQWPRGXOHV'HVFULSWLRQ $UWLFOH1R:DWW5)0RGXOH7UDQVPLWWHU5HFHLYHU6\QWKHVL]HU ($)0RGXOH$XGLR3RZHU6XSSO\,QWHUIDFLQJ (:DWW5)0RGXOH7UDQVPLWWHU5HFHLYHU6\QWKHVL]HU ($)0RGXOH$XGLR3RZHU6XSSO\,QWHUIDFLQJ+PRGHO (&RQWURO+HDG0RGXOH0LFURSURFHVVRU0HPRU\6ZLWFKHVDQG'LVSOD\ ($OOUHSODFHPHQW0RGXOHVDUHUHDGLO\FDOLEUDWHGDQGPHFKDQLFDOO\DVVHPEOHGZLWKLWVKRXVLQJ7KLVDOORZVIRUTXLFNDQGVDIHH[FKDQJH](https://usermanual.wiki/f-u-n-k-e-AVIONICS/FSG90.FSG-90-Maintenance-Manual-part-two/User-Guide-169920-Page-16.png)
![)6*6\VWHP6HUYLFHDQG5HSDLU1RYHPEHU 3DJH +DQGOLQJRI(OHFWURVWDWLF'HYLFHV&DUHPXVWEHH[HUFLVHGLQKDQGOLQJDQ\&026GHYLFH$OWKRXJK&026GHYLFHVKDYHDEXLOWLQSURWHFWLYHGLRGHQHWZRUNZKLFKSURWHFWVDJDLQVWGDPDJHGXHWRVWDWLFHOHFWULFGLVFKDUJHDGGLWLRQDOSUHFDXWLRQVVKRXOGEHIROORZHGWRDVVXUHWURXEOHIUHHSHUIRUPDQFHDIWHUDVVHPEO\$OOVHQVLWLYH&026GHYLFHVDQGDVVHPEOLHVDUHPDUNHG7KHIROORZLQJJXLGHOLQHVIRUKDQGOLQJ&026GHYLFHVDUHVXJJHVWHG .HHS&026GHYLFHVLQFRQGXFWLYHRUDQWLVWDWLFFRQWDLQHUVQHYHUXVHXQWUHDWHGSODVWLF .HHSRSHUDWRUVDWJURXQGSRWHQWLDOE\FRQGXFWLYHZULVWEDQGDQGD02KPUHVLVWRUWRJURXQG 1HYHUWRXFKWKHHGJHFRQQHFWLRQVRQO\WDNHKROGRIWKHFDVH *URXQGDOOZRUNLQJVXUIDFHVWRROVDQGWHVWLQJHTXLSPHQW 'RQRWLQVHUWRUUHPRYHERDUGVZLWKSRZHUWXUQHG21 &OHDQLQJ 8VLQJDFOHDQOLQWIUHHFORWKOLJKWO\PRLVWHQHGZLWKDPLOGFOHDQLQJGHWHUJHQWUHPRYHDOOIRUHLJQPDWWHUIURPWKHHTXLSPHQWFDVHDQGXQLWIURQWSDQHOV:LSHGU\XVLQJDFOHDQGU\OLQWIUHHFORWK 8VLQJDKDQGFRQWUROOHGGU\DLUMHWQRWPRUHWKDQSVLEORZWKHGXVWIURPLQDFFHVVLEOHDUHDV&DUHVKRXOGEHWDNHQWRSUHYHQWGDPDJHE\WKHDLUEODVW &OHDQWKHUHFHSWDFOHDQGDQWHQQDSOXJZLWKDKDQGFRQWUROOHGGU\DLUMHWQRWPRUHWKDQSVLDQGDFOHDQOLQWIUHHFORWKOLJKWO\PRLVWHQHGZLWKDQDSSURYHGPLOGFOHDQLQJVROYHQW:LSHGU\ZLWKDFOHDQGU\OLQWIUHHFORWK 'LVDVVHPEOLQJWKH)6*;WUDQVFHLYHU&$87,217KH)6*;VKDOOEHGLVDVVHPEOHGRQO\WRVXFKH[WHQWDVLWLVQHFHVVDU\WRUHSODFHDGHIHFWLYHPRGXOH5(3/$&(0(1702'8/(66+$//127%(',6$66(0%/(')857+(56SHFLDOWRROVDQGWHVWPHWKRGVDUHUHTXLUHGWRORFDWHDQGUHSDLUPDOIXQFWLRQDQGWRSHUIRUPUHFDOLEUDWLRQEHIRUHUHDVVHPEOLQJ7KHUHIRUHDQGLQRUGHUWRDYRLGGDPDJHFDXVHGE\ZURQJGLVDVVHPEOLQJRUUHDVVHPEOLQJLWLVUHTXLUHGWRGLVPDQWOHWKHWUDQVFHLYHUXQLWVWULFWO\IROORZLQJWKHJXLGDQFHRIGLVDVVHPEOLQJUHDVVHPEOLQJLQVWUXFWLRQV7KHGLVPDQWOLQJVHTXHQFHOLVWHGEHORZPXVWEHIROORZHGUHIHUWRGUDZLQJQH[WSDJH'LVFRQQHFWSRZHU 5HPRYHIRXUIODWKHDGVFUHZVRQ&RQWURO+HDG &DUHIXOO\SXOORIIWKH&RQWURO+HDGIURP&KDVVLVGRQRWWZLVWRUWLOW 5HPRYHWZRVFUHZVDQGZDVKHUVRQUHDUSDQHO 5HPRYH)URQW3DUWLWLRQE\UHPRYLQJVFUHZV &DUHIXOO\VHSDUDWHWKHWZRPDLQPRGXOHVGRQRWWZLVWRUWLOW &DUHIXOO\GLVFRQQHFWWKHFRD[LDODQGWKHMXPSHUFDEOH 5HSODFHUHVSHFWLYHGHIHFWLYHFRPSOHWHPRGXOH9HULI\FRUUHFWSDUW1RDQG-XPSHU3SRVLWLRQHQDEOHRUGLVDEOHN+]IXQFWLRQLIEXLOWLQ](https://usermanual.wiki/f-u-n-k-e-AVIONICS/FSG90.FSG-90-Maintenance-Manual-part-two/User-Guide-169920-Page-17.png)

![)6*6\VWHP6HUYLFHDQG5HSDLU1RYHPEHU 3DJH $VVHPEO\3URFHGXUH,QJHQHUDODVVHPEO\PD\EHDFFRPSOLVKHGE\IROORZLQJWKHDERYHVWHSVLQUHYHUVHRUGHU7KHDVVHPEO\GUDZLQJVDUHFRQWDLQHGLQVHFWLRQ,03257$17%HFDUHIXOQRWWRSLQFKDQ\OHDGVXQGHUVROLGSDUWVZKHQUHDVVHPEOLQJ:KHQWLJKWHQLQJWKHVFUHZRIWKH212))92/NQREQRWLFHWKHSRVLWLRQRIWKHNQRE0DNHYLVXDOLQVSHFWLRQIRUEURNHQZLUHVQRWVHFXUHGSRWVVFUHZVDQGIHUULWHFRUHVHWF(QVXUHWZRFKDVVLVUXEEHUVHDOVSRVLWLRQ%HIRUHFORVLQJWKHXQLWLQYHVWLJDWHZKHWKHUWKHSRVLWLRQRIMXPSHU3IRUFRQWLQXRXVHQDEOLQJGLVDEOLQJWKHN+]IXQFWLRQLVVHWSURSHUO\,)<28+$9(72',6$%/(7+(N+]02'(3(50$1(17/<'8(721$7,21$/5(*8/$7,2163/($6(&217$&77+(:$/7(5',77(/6(59,&('(3$570(17,75(48,5(61(:,'(177$*$1'7<3(/$%(/27+(5:,6($33529$/6(;3,5(23(5$7,21,6,//(*$/0RGHO $UWLFOH1XPEHU EXLOWLQ N+]0RGHHQDEOHG"-XPSHU3FORVHGRQ$XGLR%RDUG)6* ) <HV <HV <HV)6*+ ) <HV <HV <HV)LJXUH-XPSHU3SRVLWLRQN+]N+]0RGHHQDEOHG](https://usermanual.wiki/f-u-n-k-e-AVIONICS/FSG90.FSG-90-Maintenance-Manual-part-two/User-Guide-169920-Page-19.png)
![)6*6\VWHP6HUYLFHDQG5HSDLU3DJH 1RYHPEHU 1HFHVVDU\(TXLSPHQWIRU7HVWLQJ5HSDLU6HWXS6HUYLFHDQGUHSDLUIRU)6*;WUDQVFHLYHUUHTXLUHWHVWHTXLSPHQWZKLFKLQWHUPVRIDFFXUDF\DQGKDQGOLQJDUHVXLWDEOHIRUSUHFLVHPHDVXUHPHQWV,IVXFKXQLWVDUHQRWDYDLODEOHVLPLODURUEHWWHUVSHFLILHGWHVWHTXLSPHQWLVUHTXLUHG'HVFULSWLRQ 5HFRPPHQGHG7\SH5HFRPPHQGHG0DQXIDFWXUHU9+)6LJQDO*HQHUDWRU &07RU&07$ 5RKGH6FKZDU]5):DWWPHWHU2KP &07RU&07$ 5RKGH6FKZDU]$XGLR*HQHUDWRU &07RU&07$ 5RKGH6FKZDU]2VFLOORVFRSH &07RU&07$ 5RKGH6FKZDU]0XOWLPHWHU GLJLWUHVROXWLRQ $Q\$XGLR9ROW'LVWRUWLRQ0HWHU &07RU&07$ 5RKGH6FKZDU]'&3RZHU6XSSO\ 9GF$ $Q\0RGXODWLRQ$QDO\]HU &07RU&07$ 5RKGH6FKZDU])UHTXHQF\&RXQWHUPLQ &07RU&07$ 5RKGH6FKZDU]5)7KURXJKOLQH$WWHQXDWRU &07RU&07$ 5RKGH6FKZDU] 5HFRPPHQGHG7HVWVHWXSWREHVHOIDUUDQJHG)LJXUH5HFRPPHQGHG7HVW6HWXS](https://usermanual.wiki/f-u-n-k-e-AVIONICS/FSG90.FSG-90-Maintenance-Manual-part-two/User-Guide-169920-Page-20.png)


![)6*6\VWHP*HQHUDO3HUIRUPDQFH7HVW1RYHPEHU 3DJH6(&7,21*(1(5$/3(5)250$1&(7(67$1',163(&7,21$)7(55(3$,5,03257$177KHIROORZLQJ*212*2WHVWVDUHDSSOLFDEOHIRUWHVWLQJRQO\E\OLFHQVHG$YLRQLFV6HUYLFHSHUVRQQHODQGIRUVXFK)6*;HTXLSPHQWZKLFKLVLQIDFWRU\SURGXFWLRQIXQFWLRQDOFRQGLWLRQ2UWKLVPD\EHSHUIRUPHGRQO\DIWHUFRPSOHWLRQRIVSHFLILHGUHSDLUSURFHGXUHVWKHVHZLOOEHHOLJLEOHDQGDYDLODEOHIRUHVSHFLDOO\E\:DOWHU'LWWHO*PE+DXWKRUL]HGUHSDLUIDFLOLWLHVRQO\3OHDVHGRQRWXVHWKHVHWHVWVIRUYHU\GHWDLOHGSHUIRUPDQFHYHULILFDWLRQ([WHQVLYHLQWHUDFWLRQEHWZHHQPLFURSURFHVVRUDQGKDUGZDUHUHTXLUHVVSHFLILHGWHVWPHWKRGVIRUDFFXUDWHDQGFRPSUHKHQVLYHSHUIRUPDQFHHYDOXDWLRQ(TXLSPHQW3UHVHWWLQJ7HVW(TXLSPHQWXVHGDQGWKH7HVW6HTXHQFHOLVWHGEHORZHQVXUHWKDWDOOIXQFWLRQVFRPSO\ZLWKVSHFLILHGUHTXLUHPHQWV 3UHVHWWLQJ5HTXLUHPHQWVQHFHVVDU\IRUFRUUHFWWHVWYDOXHHYDOXDWLRQ,03257$17%HVXUH7UDQVPLWWHULVRQO\NH\HGZKHQLQVWUXFWHG 8VH7HVW3URWRFRO)RUPOLVWHGLQ6HFWLRQRU ,QWHUFRQQHFWWKH)6*;(87(TXLSPHQW8QGHU7HVWZLWK7HVW+DUQHVVDQG7HVW(TXLSPHQWUHIHUWRSDUDJUDSK $GMXVW'&3RZHU6XSSO\IRU9GF:YHUVLRQRU9GF:9HUVLRQFRQQHFWHGDQGPHDVXUHGDW)6*;3LQVDQG3LQV %HIRUHH[HFXWLQJ*HQHUDO5HVHWLWLVUHFRPPHQGHGWRUHFRUGVHSDUDWHO\DOO)6*;FXVWRPHU6(783VHWWLQJVDVZHOODV$//FXVWRPHU&KDQQHO0HPRU\6HWWLQJVRIWKHN+]N+]PRGHDQGRIWKHN+]FKDQQHOVSDFLQJPRGH 7KHVHFXVWRPHUVHWWLQJVDUHWREHUHHQWHUHGDIWHUWHVWLQJFRPSOHWLRQ ([HFXWH*(1(5$/5(6(7%()25(7(67,1*SUHVVDQGKROG67264DQG0'VLPXOWDQHRXVO\ZKLOHVZLWFKLQJWKH)6*;IURP2))WR21&$87,21*(1(5$/5(6(7GHOHWHV8VHU3DVVZRUGDOORSHUDWLRQDO6(783DGMXVWPHQWVDQG0(025<&+VHWWLQJVUHSODFHGE\PDQXIDFWXUHU'()$8/76(77,1*](https://usermanual.wiki/f-u-n-k-e-AVIONICS/FSG90.FSG-90-Maintenance-Manual-part-two/User-Guide-169920-Page-23.png)
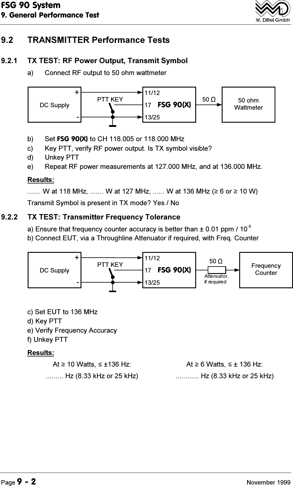
![)6*6\VWHP*HQHUDO3HUIRUPDQFH7HVW3DJH 1RYHPEHU 75$160,77(53HUIRUPDQFH7HVWV 7;7(675)3RZHU2XWSXW7UDQVPLW6\PEROD &RQQHFW5)RXWSXWWRRKPZDWWPHWHU377.(<'&6XSSO\ )6*;RKP:DWWPHWHUE 6HW)6*;WR&+RU0+]F .H\377YHULI\5)SRZHURXWSXW,V7;V\PEROYLVLEOH"G 8QNH\377H 5HSHDW5)SRZHUPHDVXUHPHQWVDW0+]DQGDW0+]5HVXOWV:DW0+]:DW0+]:DW0+]RU:7UDQVPLW6\PEROLVSUHVHQWLQ7;PRGH"<HV1R 7;7(677UDQVPLWWHU)UHTXHQF\7ROHUDQFHD(QVXUHWKDWIUHTXHQF\FRXQWHUDFFXUDF\LVEHWWHUWKDQSSPE&RQQHFW(87YLDD7KURXJKOLQH$WWHQXDWRULIUHTXLUHGZLWK)UHT&RXQWHU377.(<'&6XSSO\ )6*;)UHTXHQF\&RXQWHUF6HW(87WR0+]G.H\377H9HULI\)UHTXHQF\$FFXUDF\I8QNH\3775HVXOWV$W:DWWV+] $W:DWWV+]+]N+]RUN+] +]N+]RUN+]](https://usermanual.wiki/f-u-n-k-e-AVIONICS/FSG90.FSG-90-Maintenance-Manual-part-two/User-Guide-169920-Page-24.png)
![)6*6\VWHP*HQHUDO3HUIRUPDQFH7HVW1RYHPEHU 3DJH 7;7(67$PSOLWXGH0RGXODWLRQG\QDPLFQRQDPSOLILHG0LFURSKRQHLQSXWD &RQQHFW$XGLR*HQHUDWRUWRG\QDPLFQRQDPSOLILHG0LFURSKRQHLQSXWDQGWKH5)RXWSXWYLDD7KURXJKOLQH$WWHQXDWRULIUHTXLUHGWRDPRGXODWLRQDQDO\]HUXVHIROORZLQJWHVWVHWXS377.(<'&6XSSO\)6*;0RGXODWLRQ$QDO\]HU$XGLR*HQHUDWRU+]E &RQQHFWWUDQVPLWWHU5)RXWSXWF $GMXVW$XGLR*HQHUDWRUIRUP9UPVN+]RXWSXWG 6HW(87WR0+]H .H\377I 9HULI\PRGXODWLRQGHSWKDW0+]J 8QNH\377K 5HSHDWPHDVXUHPHQWVDWDQG0+]5HVXOWVDWN+] DWN+]$0DW0+]N+] $0DW0+]N+]$0DW0+]N+] $0DW0+]N+]$0DW0+]N+] $0DW0+]N+] 7;7(67$PSOLWXGH0RGXODWLRQ&DUERQ6WDQGDUG0LFURSKRQH,QSXWD &RQQHFW$XGLR*HQHUDWRUWRFDUERQVWDQGDUGDPSOLILHG0LFURSKRQHLQSXWXVHIROORZLQJWHVWVHWXS)6*;](https://usermanual.wiki/f-u-n-k-e-AVIONICS/FSG90.FSG-90-Maintenance-Manual-part-two/User-Guide-169920-Page-25.png)
![)6*6\VWHP*HQHUDO3HUIRUPDQFH7HVW3DJH 1RYHPEHUE &RQQHFWWUDQVPLWWHU5)RXWSXWYLD$WWHQXDWRUZLWKDPRGXODWLRQDQDO\]HUF $GMXVW$XGLR*HQHUDWRUIRUP9RXWSXWG 6HW(87WR0+]H .H\377I 9HULI\PRGXODWLRQGHSWKDW0+]J 5HOHDVH377K 5HSHDWPHDVXUHPHQWVHWRJDW0+]DQG0+]5HVXOWVDWN+] DWN+]$0DW0+]N+] $0DW0+]N+]$0DW0+]N+] $0DW0+]N+]$0DW0+]N+] $0DW0+]N+]0HDVXUHWKH'&YROWDJHDWSLQ99GF 7;7(67&XUUHQW&RQVXPSWLRQZLWKPD[LPXP0RGXODWLRQD &RQQHFWDXGLRJHQHUDWRUWRFDUERQVWDQGDUGDPSOLILHG0LFURSKRQHLQSXWXVHIROORZLQJWHVWVHWXS'&6XSSO\$XGLR*HQHUDWRU+]377.(<)6*; 0RGXODWLRQ$QDO\]HUE 6HW(87WR0+]F 6HW'&VXSSO\GXULQJ7;WR9GF:DWWPRGHORUWR9GF:DWWPRGHOG .H\377H 9HULI\&XUUHQW&RQVXPSWLRQPRGXODWHGZLWKP95HVXOWVPRGXODWHG:DWW$$N+]PRGXODWHG:DWW$$N+]PRGXODWHG:DWW$$N+]PRGXODWHG:DWW$$N+]](https://usermanual.wiki/f-u-n-k-e-AVIONICS/FSG90.FSG-90-Maintenance-Manual-part-two/User-Guide-169920-Page-26.png)
![)6*6\VWHP*HQHUDO3HUIRUPDQFH7HVW1RYHPEHU 3DJH 7;7(67$)6LGHWRQHDXGLRRXWSXWSRZHUZLWKPD[0RGXODWLRQD&RQQHFW$XGLR*HQHUDWRUWRG\QDPLFQRQDPSOLILHG0LFURSKRQHLQSXWXVHIROORZLQJWHVWVHWXS$XGLR9ROWPHWHU$XGLR*HQHUDWRU+]377.(<)6*;0RGXODWLRQ$QDO\]HUE6HW(87WR&+0+]F 6HWDXGLRJHQHUDWRUWRP9UPVN+]G.H\377H9HULI\3KRQH$)2XWSXW/HYHOI 8QNH\3775HVXOWVZDWWVPRGHO 9N+]99N+]9ZDWWVPRGHO 9N+]99N+]9](https://usermanual.wiki/f-u-n-k-e-AVIONICS/FSG90.FSG-90-Maintenance-Manual-part-two/User-Guide-169920-Page-27.png)
![)6*6\VWHP*HQHUDO3HUIRUPDQFH7HVW3DJH 1RYHPEHU 5(&(,9(53HUIRUPDQFH7HVWV,03257$17%HVXUH7UDQVPLWWHULV127NH\HG 5;7(673KRQH$)2XWSXW3RZHUD &RQQHFW(87WRWKH6LJQDO*HQHUDWRUDQG3KRQH/RDG5HVLVWRU'&6XSSO\)6*;$XGLR9ROW0HWHU5)6LJQDO*HQHUDWRUE 6HW(87WR&+0+]F 6HW5)6LJQDO*HQHUDWRU/HYHOWRG%PP N+]G 6HW(8792/80(FRQWUROWRPD[LPXP5HVXOWV9N+]9 9N+]9 5;7(676SHDNHU$)2XWSXW3RZHUD (QVXUHWKDW377LVQRWNH\HGE &RQQHFW(87WRWKH6LJQDO*HQHUDWRUDQGORDGUHVLVWRU'&6XSSO\)6*;$XGLR9ROW0HWHU5)6LJQDO*HQHUDWRUF 6HW(87WR&+0+]G 6HW5)6LJQDO*HQHUDWRU/HYHOWRG%PP N+]H 6HW(8792/80(FRQWUROWRPD[LPXP5HVXOWV9N+]9 9N+]9 ](https://usermanual.wiki/f-u-n-k-e-AVIONICS/FSG90.FSG-90-Maintenance-Manual-part-two/User-Guide-169920-Page-28.png)
![)6*6\VWHP*HQHUDO3HUIRUPDQFH7HVW1RYHPEHU 3DJH 5;7(67$))UHTXHQF\5HVSRQVHD(QVXUHWKDW377LVQRWNH\HGE&RQQHFW(87WRWKH6LJQDO*HQHUDWRUDQG /RDG5HVLVWRU)6*;F 6ZLWFK2))WKH)6*;G7RVWDUW6(783SUHVVWKH672DQG0'EXWWRQZKLOHVZLWFKLQJ)6*;21H3XVK0'UHSHDWHGO\XQWLO³6(UX´6(59DSSHDUV7XUQ)&+NQREWRVHOHFW³´DQGFRQILUPE\SUHVVLQJ672$)OHYHOLQJZLOOEHVZLWFKHG2))I 3HUIRUPIROORZLQJPHDVXUHPHQWEXWGRQRWVZLWFK2))WKHUDGLREHIRUHJ6HW(87WR&+0+]K6HW$XGLR9ROXPHOHYHOWRVWHSL 6HW5)6LJQDO*HQHUDWRU/HYHOWRG%PP N+]M 6HW$XGLR9ROWPHWHUWRG%UHIHUHQFHN &RQVHFXWLYHO\VHWWKH$XGLRJHQHUDWRUWR+]+]+]O 9HULI\DXGLROHYHOFKDQJHP6ZLWFK2))DQG21)6*;WRHQGWKH6HUYLFH0RGH5HVXOWVG%G%G%DW+]UHVSRQVHN+]G%G%DW+]UHVSRQVHN+] 5;7(676HQVLWLYLW\6TXHOFK$*&D(QVXUHWKDW377LVQRWNH\HGE&RQQHFW(87WRWKH6LJQDO*HQHUDWRUDQG/RDG5HVLVWRU'&6XSSO\)6*;$XGLR9ROW0HWHU$XGLR'LVWRUWLRQ5)6LJQDO*HQHUDWRUF 6HW(8792/80(FRQWUROWR0,'SRVLWLRQG6HW(87WR&+0+]H6HW5)6LJQDO*HQHUDWRUOHYHOWR9G%PP N+]](https://usermanual.wiki/f-u-n-k-e-AVIONICS/FSG90.FSG-90-Maintenance-Manual-part-two/User-Guide-169920-Page-29.png)
![)6*6\VWHP*HQHUDO3HUIRUPDQFH7HVW3DJH 1RYHPEHUI 6HW6TXHOFKWR0XWH5HVXOWVG%61164OLIWHG G%61164OLIWHGG%N+]&+ G%N+]0+]G%N+]&+ G%N+]0+]G%N+]&+ G%N+]0+]J5HSHDWVWHSVGDQGKZLWKP9G%P5)LQSXWOHYHOK'HWHUPLQH611E\VZLWFKLQJPRGXODWLRQ2))WHPSRUDULO\L 5HSHDWVWHSVHWRJDW&+0+]DQG&+0+]5HVXOWV$XGLRKDUPRQLFGLVWRUWLRQ 5;7(676WDQGE\&XUUHQW&RQVXPSWLRQD(QVXUHWKDW377LVQRWNH\HGE&RQQHFW(87WR9GF3RZHU6XSSO\'&6XSSO\)6*;F (QVXUHWKDWQRDQWHQQD5)LQSXWH[LVWVG(QVXUHWKDW6TXHOFKLVPXWHGH(QVXUHWKDW([WHUQDO$)LQSXWLVGLVDEOHGLQ6(783I 5HSHDW0HDVXUHPHQWZLWK([WHUQDO$XGLRLQSXWHQDEOHGLQ6(7835HVXOWVP$$)([W2)) P$$)([W2))P$N+]&+ P$N+]0+]P$$)([W21 P$$)([W21P$N+]&+ P$N+]0+]](https://usermanual.wiki/f-u-n-k-e-AVIONICS/FSG90.FSG-90-Maintenance-Manual-part-two/User-Guide-169920-Page-30.png)
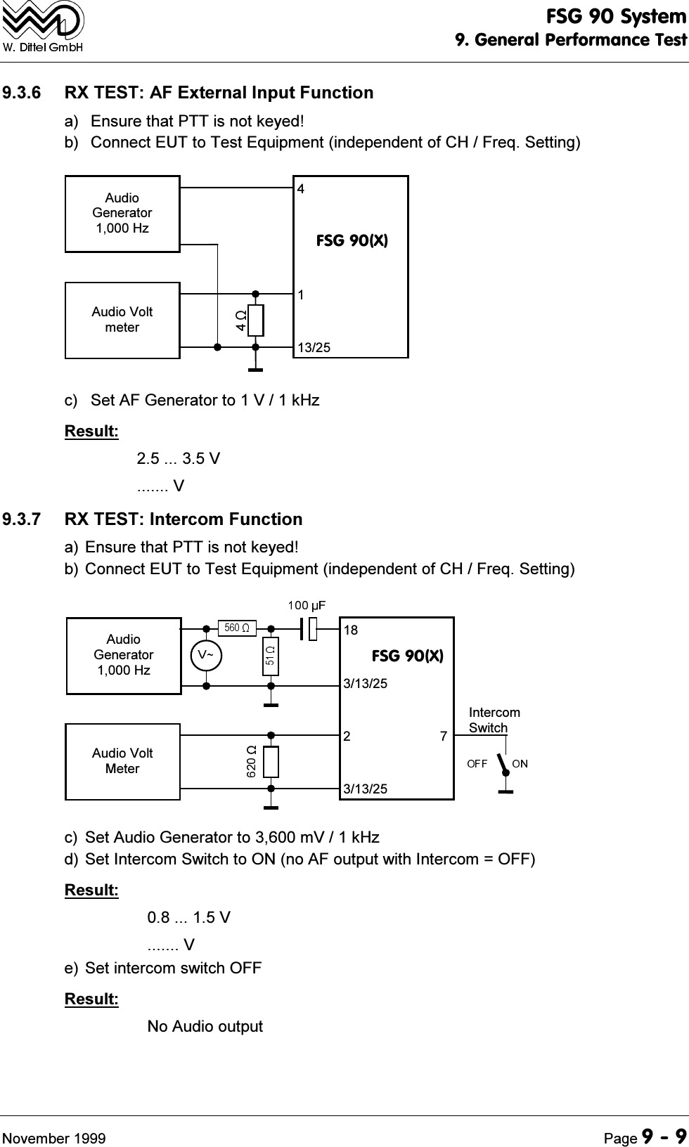
![)6*6\VWHP*HQHUDO3HUIRUPDQFH7HVW1RYHPEHU 3DJH 5;7(67$)([WHUQDO,QSXW)XQFWLRQD (QVXUHWKDW377LVQRWNH\HGE &RQQHFW(87WR7HVW(TXLSPHQWLQGHSHQGHQWRI&+)UHT6HWWLQJ$XGLR9ROWPHWHU$XGLR*HQHUDWRU+])6*;F 6HW$)*HQHUDWRUWR9N+]5HVXOW99 5;7(67,QWHUFRP)XQFWLRQD(QVXUHWKDW377LVQRWNH\HGE&RQQHFW(87WR7HVW(TXLSPHQWLQGHSHQGHQWRI&+)UHT6HWWLQJ$XGLR9ROW0HWHU$XGLR*HQHUDWRU+])6*;,QWHUFRP6ZLWFKF 6HW$XGLR*HQHUDWRUWRP9N+]G6HW,QWHUFRP6ZLWFKWR21QR$)RXWSXWZLWK,QWHUFRP 2))5HVXOW99H6HWLQWHUFRPVZLWFK2))5HVXOW1R$XGLRRXWSXW](https://usermanual.wiki/f-u-n-k-e-AVIONICS/FSG90.FSG-90-Maintenance-Manual-part-two/User-Guide-169920-Page-31.png)

![)6*6\VWHP*HQHUDO3HUIRUPDQFH7HVW1RYHPEHU 3DJH 5;7(675H(QWU\RI6(783DQG&+$11(/SUHVHWWLQJD &RQQHFW(87WR'&3RZHU6XSSO\LQGHSHQGHQWRI&+)UHT6HWWLQJ'&6XSSO\)6*;E 6ZLWFK)6*;21F &KHFNFRQVHFXWLYHO\DOO2SHUDWLQJ0RGHV0'64ÙUHVWRUHFKDQQHOVG 3HUIRUP6(783DGMXVWPHQWVHQWHUSUHYLRXVO\QRWHGFXVWRPHUVHWWLQJVDQGRSWLPL]HPLNHSKRQHVHWWLQJVZLWKDFWXDOO\XVHGKHDGSKRQHVPLNHVH &KHFNSURSHU)6*;ODEHOLQJDQGPHFKDQLFDORYHUDOOFRQGLWLRQ5HVXOWV$OOVHWWLQJVODEHOVDQGFRQGLWLRQSRVLWLYHO\YHULILHG<HV1R](https://usermanual.wiki/f-u-n-k-e-AVIONICS/FSG90.FSG-90-Maintenance-Manual-part-two/User-Guide-169920-Page-33.png)

![)6*6\VWHP*HQHUDO3HUIRUPDQFH7HVW1RYHPEHU 3DJH )6*7(6735272&2/:DWWPRGHO)6*;:DWW$LUZRUWKLQHVV7HVW3URWRFRO7KHVHWHVWVDSSO\RQO\IRUXQLWVLQIDFWRU\VXSSOLHGFRQGLWLRQRUDIWHUVSHFLILHGUHSDLUSHUIRUPHG%HIRUHWHVWLQJSHUIRUP*(1(5$/5(6(71RWH6(783DQG&+$11(/0(025<VHWWLQJVDUHFKDQJHG)6*0RGHO,GHQWLILHU )6*6HULDO1XPEHU $1)6XSSO\9ROWDJH 9GF 9GF:DWWPRGHO 5HJXODWHG2XWSXW99GF75$160,77(57HVW1R 'HVFULSWLRQ 5HVXOW 5HTXLUHG 5)3RZHU2XWSXWLQWRWDWQRPLQDO'&VXSSO\7;V\PEROYLVLEOH" 0+] :6\PERO :DWW 5)3RZHU2XWSXWLQWRWDWQRPLQDO'&VXSSO\7;V\PEROYLVLEOH" 0+] :6\PERO :DWW 5)3RZHU2XWSXWLQWRWDWQRPLQDO'&VXSSO\7;V\PEROYLVLEOH" 0+] :6\PERO :DWW 7;)UHTXHQF\7ROHUDQFHSSP N+] +] +] 7;0RGXODWLRQP9 G\Q1RQDPSOLILHG0LNHLQYLDLQWHUIDFH &+ $0 7;0RGXODWLRQ9 &DUERQ0LNHLQYLDLQWHUIDFH9 SUHVHQW" 0+] 9 $09 7;&XUUHQW&RQVXPSWLRQ9 &DUERQ0LNHLQYLDLQWHUIDFH N+] $ $ 7;6LGHWRQH$)2XWSXWLQWRW9 &DUERQ0LNHLQYLDLQWHUIDFH N+] 9 95(&(,9(5 3KRQH2XWSXW9 WG%P N+] 9 9 6SHDNHU2XWSXW9 WG%P N+] 9 9 $)5HVSRQVH+]N+]+]N+] G%G% G% 6HQVLWLYLW\±G%PN+]LQVHW64WRPXWHEHIRUHWHVWLQJ N+] G% G%611 6HQVLWLYLW\±G%PN+]LQFKHFNZKHWKHU64LVRSHQHG N+] <HV1R 64RSHQ" :LWKG%P5),QSXWP $XGLRGLVWRUWLRQ N+] :LWKG%P5),QSXWP $XGLRGLVWRUWLRQ N+] 67%<&XUUHQW&RQVXPSWLRQQR5)LQSXW H[W$)LQSXWGLVDEOHG P$ P$ 67%<&XUUHQW&RQVXPSWLRQQR5)LQSXW H[W$)LQSXWHQDEOHG P$ P$ ([WHUQDO$),QSXW9 3KRQH$)2XWSXWLQWRW9 9 ,QWHUFRP213KRQHRXW9 &DUERQ0LNHLQYLDLQWHUIDFH 9 9 5HJXODWHG'&RXWSXW'LVSOD\,OOXPLQDWLRQ 9GF 9GF ,OOXPLQDWLRQYLVLEOHZLWKLOOXPLQDWLRQVZLWFK21 <HV1R EDU'&/HYHO,QGLFDWLRQVHJPHQW 9GF 9GF EDU'&/HYHO,QGLFDWLRQVHJPHQWV 9GF 9GF EDU'&/HYHO,QGLFDWLRQVHJPHQWV 9GF 9GF /RZ6XSSO\:DUQLQJ DOOEDUVIODVKLQJ <HV1R 9GF $XWR±6ZLWFK±2)) 9GF $SSUR[9GF $XWR±6ZLWFK±21 9GF 9*(1(5$/ &XVWRPHUVHW6(783$GMXVWPHQWV UHSURJUDPPHG <HV1R 5HFRPPHQGHG &XVWRPHUVHW&+$11(/6N+]0RGHDQGN+]0RGH UHSURJUDPPHG <HV1R 5HFRPPHQGHG &RUUHFW/DEHOVDWWKH7UDQVFHLYHU FKHFNHG <HV1R 5HTXLUHG 0HFKDQLFDO&RQGLWLRQDOO&RQWUROV2SHUDWHSURSHUO\ FKHFNHG <HV1R 5HTXLUHG &XVWRPHU$XGLR$FFHVVRULHV0DWFKHG LIDSSOLFDEOH <HV1R 5HFRPPHQGHG-762)RUP1XPEHU LVVXHGLIDSSOLFDEOH 'DWH'DWH LIDSSOLFDEOH ,QVSHFWRU](https://usermanual.wiki/f-u-n-k-e-AVIONICS/FSG90.FSG-90-Maintenance-Manual-part-two/User-Guide-169920-Page-35.png)

![)6*6\VWHP*HQHUDO3HUIRUPDQFH7HVW1RYHPEHU 3DJH )6*+7(6735272&2/:DWWPRGHO)6*+:DWW$LUZRUWKLQHVV7HVW3URWRFRO7KHVHWHVWVDSSO\RQO\IRUXQLWVLQIDFWRU\VXSSOLHGFRQGLWLRQRUDIWHUVSHFLILHGUHSDLUSHUIRUPHG%HIRUHWHVWLQJSHUIRUP*(1(5$/5(6(71RWH6(783DQG&+$11(/0(025<VHWWLQJVDUHFKDQJHG)6*+0RGHO,GHQWLILHU )6*+6HULDO1XPEHU $1)6XSSO\9ROWDJH 9GF 9GF:DWWPRGHO 5HJXODWHG2XWSXW99GF75$160,77(57HVW1R 'HVFULSWLRQ 5HVXOW 5HTXLUHG 5)3RZHU2XWSXWLQWRWDWQRPLQDO'&VXSSO\7;V\PEROYLVLEOH" 0+] :6\PERO :DWW 5)3RZHU2XWSXWLQWRWDWQRPLQDO'&VXSSO\7;V\PEROYLVLEOH" 0+] :6\PERO :DWW 5)3RZHU2XWSXWLQWRWDWQRPLQDO'&VXSSO\7;V\PEROYLVLEOH" 0+] :6\PERO :DWW 7;)UHTXHQF\7ROHUDQFHSSP N+] +] +] 7;0RGXODWLRQP9 G\Q1RQDPSOLILHG0LNHLQYLDLQWHUIDFH &+ $0 7;0RGXODWLRQ9 &DUERQ0LNHLQYLDLQWHUIDFH9 SUHVHQW" 0+] 9 $09 7;&XUUHQW&RQVXPSWLRQ9 &DUERQ0LNHLQYLDLQWHUIDFH N+] $ $ 7;6LGHWRQH$)2XWSXWLQWRW9 &DUERQ0LNHLQYLDLQWHUIDFH N+] 9 95(&(,9(5 3KRQH2XWSXW9 WG%P N+] 9 9 6SHDNHU2XWSXW9 WG%P N+] 9 9 $)5HVSRQVH+]N+]+]N+] G%G% G% 6HQVLWLYLW\±G%PN+]LQVHW64WRPXWHEHIRUHWHVWLQJ N+] G% G%611 6HQVLWLYLW\±G%PN+]LQFKHFNZKHWKHU64LVRSHQHG N+] <HV1R 64RSHQ" :LWKG%P5),QSXWP $XGLRGLVWRUWLRQ N+] :LWKG%P5),QSXWP $XGLRGLVWRUWLRQ N+] 6%<&XUUHQW&RQVXPSWLRQQR5)LQSXW H[W$)LQSXWGLVDEOHG P$ P$ 67%<&XUUHQW&RQVXPSWLRQQR5)LQSXW H[W$)LQSXWHQDEOHG P$ P$ ([WHUQDO$),QSXW9 3KRQH$)2XWSXWLQWR 9 9 ,QWHUFRP213KRQHRXW9 &DUERQ0LNHLQYLDLQWHUIDFH 9 9 5HJXODWHG'&RXWSXW'LVSOD\,OOXPLQDWLRQ 9GF 9GF ,OOXPLQDWLRQYLVLEOHZLWKLOOXPLQDWLRQVZLWFK21 <HV1R EDU'&/HYHO,QGLFDWLRQVHJPHQW 9GF 9GF EDU'&/HYHO,QGLFDWLRQVHJPHQWV 9GF 9GF EDU'&/HYHO,QGLFDWLRQVHJPHQWV 9GF 9GF /RZ6XSSO\:DUQLQJ DOOEDUVIODVKLQJ <HV1R 9GF $XWR±6ZLWFK±2)) 9GF $SSUR[9GF $XWR±6ZLWFK±21 9GF 9*(1(5$/ &XVWRPHUVHW6(783$GMXVWPHQWV UHSURJUDPPHG <HV1R 5HFRPPHQGHG &XVWRPHUVHW&+$11(/6N+]0RGHDQGN+]0RGH UHSURJUDPPHG <HV1R 5HFRPPHQGHG &RUUHFW/DEHOVDWWKH7UDQVFHLYHU FKHFNHG <HV1R 5HTXLUHG 0HFKDQLFDO&RQGLWLRQDOO&RQWUROV2SHUDWH FKHFNHG <HV1R 5HTXLUHG &XVWRPHU$XGLR$FFHVVRULHV0DWFKHG LIDSSOLFDEOH <HV1R 5HFRPPHQGHG-762)RUP1XPEHU LVVXHGLIDSSOLFDEOH 'DWH'DWH LIDSSOLFDEOH ,QVSHFWRU](https://usermanual.wiki/f-u-n-k-e-AVIONICS/FSG90.FSG-90-Maintenance-Manual-part-two/User-Guide-169920-Page-37.png)



![)6*6\VWHP,OOXVWUDWHG3DUWV/LVW1RYHPEHU 3DJH ,PSRUWDQW1RWHV7RIXOILOWKHVWULQJHQWVSHFLILFDWLRQVRIWKH(XURSHDQ7HOHFRPPXQLFDWLRQ6WDQGDUGSU(76RQO\RULJLQDOUHSODFHPHQWPRGXOHVWHVWHGDQGFDOLEUDWHGE\:DOWHU'LWWHO*PE+DUHUHOHDVHGWRUHSDLUDQ\)6*;(YHU\PRGXOHUHTXLUHVFDOLEUDWLRQDFRPSUHKHQVLYHWHPSHUDWXUHWHVWDQGILQDOO\LQGLYLGXDOO\VWRUHGDOLJQPHQWGDWDWRFRQWURODQGGHWHUPLQHWKHWUDQVFHLYHUVV\VWHPSHUIRUPDQFH7KLVUHTXLUHH[WHQVLYHWHFKQLFDODQGFRPPHUFLDOHIIRUWVWRXVHKLJKSHUIRUPDQFHFRPSXWHUFRQWUROOHGWHVWHTXLSPHQWKDUGZDUHDVZHOODVFXVWRPL]HGWHVWVRIWZDUH8SWRQRZRQO\WKHPDQXIDFWXUHU:DOWHU'LWWHO*PE+LVFDSDEOHWRVXSSO\WKRVHPRGXOHV,WLVWKHUHIRUHVWULFWO\IRUELGGHQWRUHSDLUDQ\FRPSRQHQWRUGHWXQHDQ\SDUWRIDQ\UHSODFHPHQWPRGXOH:KHQUHSODFLQJPRGXOHV'2127728&+$/,*10(17DQGRU&$/,%5$7,21$IWHUUHSODFLQJDQ\PRGXOHD*HQHUDO3HUIRUPDQFH7HVWLVREOLJDWRU\UHIHUWRVHFWLRQ7KHIROORZLQJ,OOXVWUDWHG3DUWV/LVWLVWKHUHIRUHOLPLWHGWRFRPSOHWHO\SUHDOLJQHGUHSODFHPHQWPRGXOHVDQGWRVRPHPRXQWLQJKDUGZDUH 7UDQVFHLYHU5HSODFHPHQW0RGXOH,GHQWLILFDWLRQ)6*;7UDQVFHLYHU0RGHOV«PP)URQW&RPSOHWH8QLW$UWLFOH1XPEHU7UDQVFHLYHU,'1R,GHQWLILHU/DEHO7H[W&RQWURO+HDGFRPSOHWH$XGLR0RGXOHFRPSOHWH7;5;0RGXOHFRPSOHWH](https://usermanual.wiki/f-u-n-k-e-AVIONICS/FSG90.FSG-90-Maintenance-Manual-part-two/User-Guide-169920-Page-41.png)

![)6*6\VWHP,OOXVWUDWHG3DUWV/LVW1RYHPEHU 3DJH)6*:DWW)LQDO$VVHPEO\ $UWLFOH1R),WHP1R3RV1R:'LWWHODUWLFOHQR 1RPHQFODWXUH'HVFULSWLRQ8QLWVSHU0RGXOH)LJ ) )6*'XDO0RGHN+]:RXWSXWFRPSOHWH ; ( 7;5;0RGXOH:DWWVFRPSOHWH ( $XGLR0RGXOHFRPSOHWH )L[LQJPDWHULDOSRVQR&URVVUHFHVVHGUDLVHGFKHHVHKHDGVFUHZ0',1/RFNZDVKHU6VWDLQOHVV )URQWSDUWLWLRQ )L[LQJPDWHULDOSRVQR&URVVUHFHVVHGUDLVHGFKHHVHKHDGVFUHZ0',1 ( &RQWURO+HDG )L[LQJPDWHULDOSRVQR&URVVUHFHVVHGIODWKHDGVFUHZ0',1 ( -XPSHU&DEOHSROHFRPSOHWH 7\SHODEHO 0RGHODQG,GHQWWDJ )L[LQJPDWHULDOSRVQR7KUHDGORFNLQJSURGXFWORZVWUHQJWK/2&7,7(POFDQ$5 $X[LOLDU\PDWHULDOSRVQR/XEULFDQW81,6,/,.21//JWLQ$5SDFNHGVHSDUDWHO\ )L[LQJVFUHZVFRPSOHWHUDGLR&URVVUHFHVVHGUDLVHGFKHHVHKHDGVFUHZ0EODFN',1 ](https://usermanual.wiki/f-u-n-k-e-AVIONICS/FSG90.FSG-90-Maintenance-Manual-part-two/User-Guide-169920-Page-43.png)

![)6*6\VWHP,OOXVWUDWHG3DUWV/LVW1RYHPEHU 3DJH)6*+:DWW)LQDO$VVHPEO\ $UWLFOH1R),WHP1R3RV1R:'LWWHODUWLFOHQR 1RPHQFODWXUH'HVFULSWLRQ8QLWVSHU0RGXOH)LJ ) )6*+'XDO0RGHN+]:RXWSXWFRPSOHWH ; ( 7;5;0RGXOH:DWWVFRPSOHWH ( $XGLR0RGXOHFRPSOHWH )L[LQJPDWHULDOSRVQR&URVVUHFHVVHGUDLVHGFKHHVHKHDGVFUHZ0',1/RFNZDVKHU6VWDLQOHVV )URQWSDUWLWLRQ )L[LQJPDWHULDOSRVQR&URVVUHFHVVHGUDLVHGFKHHVHKHDGVFUHZ0',1 ( &RQWURO+HDGFRPSOHWH )L[LQJPDWHULDOSRVQR&URVVUHFHVVHGIODWKHDGVFUHZ0',1 ( -XPSHU&DEOHSROHFRPSOHWH 7\SHODEHO 0RGHODQG,GHQWWDJ )L[LQJPDWHULDOSRVQR7KUHDGORFNLQJSURGXFWORZVWUHQJWK/2&7,7(POFDQ$5 $X[LOLDU\PDWHULDOSRVQR/XEULFDQW81,6,/,.21//JWLQ$5SDFNHGVHSDUDWHO\ )L[LQJVFUHZVFRPSOHWHUDGLR&URVVUHFHVVHGUDLVHGFKHHVHKHDGVFUHZ0EODFN',1 ](https://usermanual.wiki/f-u-n-k-e-AVIONICS/FSG90.FSG-90-Maintenance-Manual-part-two/User-Guide-169920-Page-45.png)
