f u n k e AVIONICS FSG90 VHF/AM aviation analogue voice COMM transceiver User Manual FSG90F Installation Operation 11 2000
f.u.n.k.e. AVIONICS GmbH VHF/AM aviation analogue voice COMM transceiver FSG90F Installation Operation 11 2000
Contents
- 1. FSG 90EPC Portable case manual part one
- 2. FSG 90EPC Portable case manual part two
- 3. Frontpanel Module without case part one
- 4. Frontpanel Module without case part two
- 5. Desktop case with front module part one
- 6. Desktop case with front module part two
- 7. FSG 90F ops manual part one
- 8. FSG 90 Maintenance Manual part one
- 9. FSG 90 Maintenance Manual part two
FSG 90F ops manual part one



















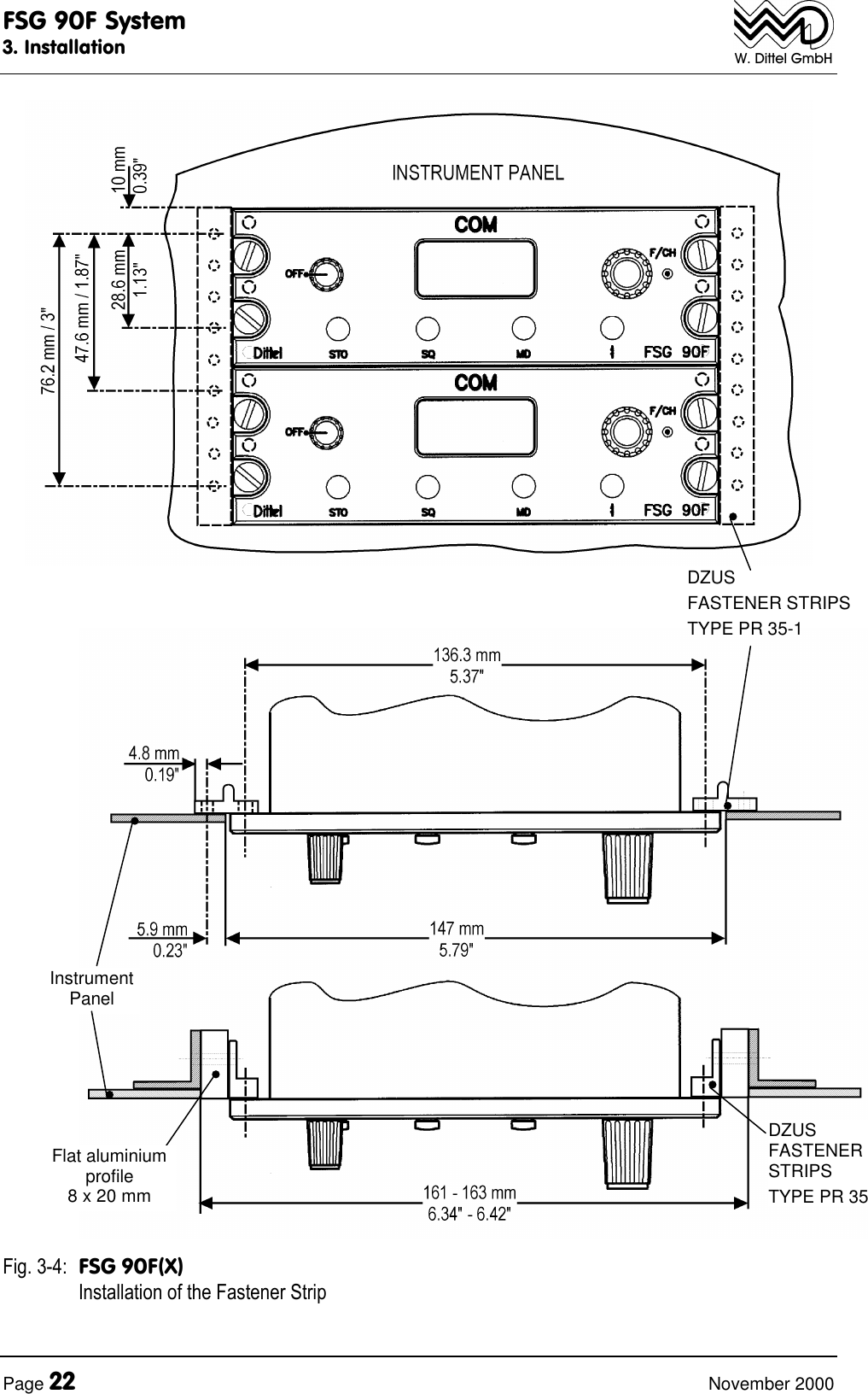
![FSG 90F System3. InstallationPage 20 November 2000W. Dittel GmbH3.4 Mechanical Installation3.4.1 Transceiver installationAny radio installation into an aircraft shall be coordinated with both, the licensedinspector who certifies the installation, and with the aircraft manufacturer's installationinstructions.Certifying the aircraft installation may be subject to specific National Regulations.FSG 90F(X) VHF/AM transceivers are designed to be installed into the instrument panelor operating console from its front side. Fixing is made by four DZUS fasteners (ARINCNORM SIZE). All dimensions to install the FSG 90F(X) refer to Figure 3-3. For installationof the fastener strips refer to Figure 3-4.If there is no suitable cutout, one can be made following the dimensions given in Figure3-4. Using flat fastener strips (type PR 35-1) is recommended.Select a radio location distant to heat sources. All equipment controls shall be readilyaccessible from the pilot's normal seated position. The appropriate operator/crewmember(s) shall have an unobstructed view of the display when in the normal seatedposition.Sufficient room (at least 230 mm / 9 in.) behind front panel must be left for wiringaccommodation.3.4.2 Compass deviationCompass deviation caused by FSG 90F(X) is less than 30 cm for 1° deflection.(Category Z in accordance with EUROCAE ED-14C / RTCA DO-160C environmentaltest conditions).Compass Deviation Distance0.5° 13 cm/5.1 in.1.0° 10 cm/3.9 in.1.5° 9.25 cm/3.7 in.2.0° 9.0 cm/3.6 in.2.5° 8.25 cm/3.3 in.3.0° 7.5 cm/3 in.012510 130.51.01.52.02.53.0xxxxxxDistance[cm]CompassDeviation[ ° ]FIG. 3 - 2: DEVIATION OF A COMPASS BY AN OPERATING FSG 90F(X), DEPENDS ON THE DISTANCEBETWEEN COMPASS CENTER AND CONTOUR OF TRANSCEIVER](https://usermanual.wiki/f-u-n-k-e-AVIONICS/FSG90.FSG-90F-ops-manual-part-one/User-Guide-169918-Page-20.png)









