NEC of America 58155 NEC NLite E 155 MB 5.8 GHz Digital Microwave Radio User Manual Part 3
NEC Corporation of America NEC NLite E 155 MB 5.8 GHz Digital Microwave Radio Part 3
Contents
- 1. User Manual Part 1
- 2. User Manual Part 2
- 3. User Manual Part 3
- 4. User Manual Part 4
- 5. User Manual Part 5
User Manual Part 3

ROI-S05750 INSTALLATION
2-77
Chart 2-14 (Cont’d)
Step Procedure
7 Recheck that the wire position is as shown in step 5 before
crimping the socket contact (see illustration below).
WIRE SIDE
SOCKET CONTACT
WIRE
8 Wind the metallic shield tape over the braided shield.
METALLIC SHIELD TAPE
9 Set the cable into the plug case as shown in figure below. Then,
fix the cable using the cable clamper and two screws.
CABLE CLAMPER
PLUG CASE

INSTALLATION ROI-S05750
2-78
Chart 2-14 (Cont’d)
Step Procedure
10 Referring to circle A, fix the drain wire with screw.
11 Referring to circle B, insert each wire to the specified position
(Refer Interface Terminals and Jacks for IDU in Section II
OPERATING EQUIPMENT.). Insert the socket contacts into
the upper and lower row positions while taking care that the
socket contacts are inserted the right way.
CIRCLE A
SCREW
DRAIN WIRE
CIRCLE B

ROI-S05750 INSTALLATION
2-79
Chart 2-14 (Cont’d)
Step Procedure
12 Fix the plug case with two screws, as shown in the figure.
SCREW
PLUG CASE

INSTALLATION ROI-S05750
2-80
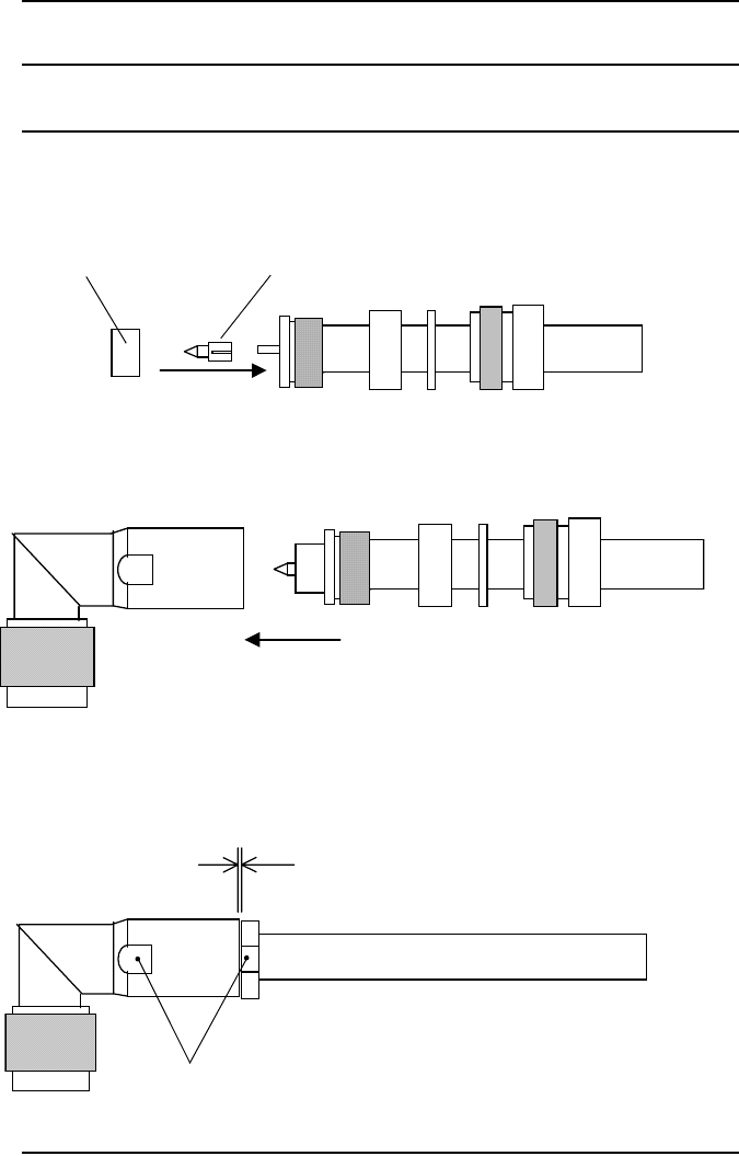
Chart 2-15 Terminating IF Coaxial Cable with TNC-P
Connector (L Angle Type) (HIROSE made)
used for IDU IF IN/OUT
Step Procedure
Note: It is recommended that TNC (Male) L-angle connector for the
8D-FB IF cable is used to connect it to the IDU. When the N
(Male) straight connector is attached to the 5D-FB or 10D-FB
IF cable, use of the TNC (Male) - N (Female) (NJ-TNCP-LA)
L-angle adapter is needed.
1 Pass the tightening nut, the washer and the gasket on the cable in
the order shown in the figure.
Then, strip the cable jacket in the diameter shown in the figure.
[Applicable cable : 8D-FB-E]
Note: Be careful of insertion direction for the gasket and the tightening nut.
Note: Be careful not to damage the outer conductor.
Note: Do not reuse the gasket because the clamp deforms it after
tightening.
2 Insert the clamp to clamp the stripped cable jacket end. Open the
end of the outer conductor a little,
3 Insert the hood between the plastic tape with aluminium foil and
the outer conductor,
Clamp
Hood
Note: Use the insertion stick to open the hole of about
φ
9. No gap is
allowed in between the clamp, the outer conductor and the hood.

ROI-S05750 INSTALLATION
2-81
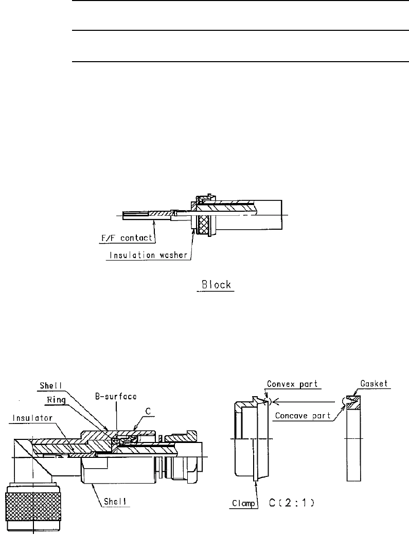
Chart 2-15 (Cont’d)
Step Procedure
4 After inserting the hood, cut off the plastic tape with aluminium
foil and the dielectric at A-surface,
5 Cut off the part of the outer conductor exceeding the clamp rim
with a knife,
6 Check that distance between the tip of the center conductor and
A-surface is 6 to 7 mm,
If it is more than 7 mm, cut the center conductor to correct
length,
Clamp
Note: Be careful not to damage the center conductor,
Note: Chamfer at the tip of the center conductor,
Note: There shall be no evidence of deviation or deformation or burr at
the tip of the center conductor.

INSTALLATION ROI-S05750
2-82
Chart 2-15 (Cont’d)
Step Procedure
7 Insert the insulation washer over the center conductor, and
engage it with the F/F contact,
Note: No gap is allowed in between the F/F contact, the insulation
washer, and the dielectric.
Note: The assembly unit after the completion of this process is called
“block”.
8 Combine the convex part of the clamp to the concave part of the
gasket, Then insert this block to the shell,
Note: Insert the hood until it hits the B-surface.

ROI-S05750 INSTALLATION
2-83
Chart 2-15 (Cont’d)
Step Procedure
9 Tighten the tightening nut sufficiently until the gasket is cut by
the clamp and the tip of the clamp hits the washer,
Note: Torque for the tightening nut shall be 8 to 30N•m.
Note: When tightening the nut, tighten with wrench at the wrench at the
wrench flat.
Note: Distance between the tightening nut and the LP shell is 1.85 to
2.1 mm for reference.
Tighten the nut sufficiently.
L-type dimension and cutting length of the cable.
Specified length L: Cutting length L−25.

INSTALLATION ROI-S05750
2-84
Chart 2-16 Terminating Coaxial (IF Signal) with N-P
Connector (L Angle Type) used for ODU IF
IN/OUT (KOMINE made)
Step Procedure
Note: It is recommended that TNC (Male) L-angle connector for the
8D-FB IF cable is used to connect it to the IDU. When the N
(Male) straight connector is attached to the 5D-FB or 10D-FB
IF cable, use of the TNC (Male) - N (Female) (NJ-TNCP-LA)
L-angle adapter is needed.
1 First fit the tying metal, washer and gasket on the cable.
GASKET WASHER TYING METAL
CABLE
2 Strip back the cable sheath, taking care not to damage the
braided shield, and fit the clamp.
CLAMP
9 mm
3 Fold back the braided shield (separating the strands of the braid)
and trim it.
Note: Pay attention not to damage the plait.
4 Insert the ferrule.
FERRULE

ROI-S05750 INSTALLATION
2-85
Chart 2-16 (Cont’d)
Step Procedure
5 Fit the bushing.
BUSH
6 Cut the aluminium foil and inner insulator away along the
bushing and retain the inner conductor.
7 Taper the edge of the center conductor using a file as shown in
the enlarged view below.
Note: Pay attention not to let
protrusions and indents to occur.

INSTALLATION ROI-S05750
2-86
Chart 2-16 (Cont’d)
Step Procedure
8 Mount the contact onto the center conductor and mount the
insulator onto the contact.
INSULATOR CONTACT
9 Insert the cable into the shell.
10 Tighten the tying metal by wrench using the wrench points.
(Tighten with torque of 4 to 10 N·m)
WRENCH POINT
LESS THAN 0.1 mm
(USUALLY NO GAPS)

ROI-S05750 INSTALLATION
2-87
Chart 2-17 Terminating IF Coaxial Cable with N-P
Connector (L Angle Type) used for the ODU
IF IN/OUT (HIROSE made)
Step Procedure
Note: It is recommended that TNC (Male) L-angle connector for the
8D-FB IF cable is used to connect it to the IDU. When the N
(Male) straight connector is attached to the 5D-FB or 10D-FB
IF cable, use of the TNC (Male) - N (Female) (NJ-TNCP-LA)
L-angle adapter is needed.
1 Pass the tightening nut, the washer and the gasket on the cable in
the order shown in the figure.
Then, strip the cable jacket in the diameter shown in the figure.
[Applicable cable : 8D-FB-E]
Note: Be careful of insertion direction for the gasket and the tightening nut.
Note: Be careful not to damage the outer conductor.
Note: Do not reuse the gasket because the clamp deforms it after
tightening.
2 Insert the clamp to clamp the stripped cable jacket end. Open the
end of the outer conductor a little,
3 Insert the hood between the plastic tape with aluminium foil and
the outer conductor,
Note: Use the insertion stick to open the hole of about
φ
9. No gap is
allowed in between the clamp, the outer conductor and the hood.

INSTALLATION ROI-S05750
2-88
Chart 2-17 (Cont’d)
Step Procedure
4 After inserting the hood, cut off the plastic tape with aluminium
foil and the dielectric at A-surface,
5 Cut off the part of the outer conductor exceeding the clamp rim
with a knife,
6 Check that distance between the tip of the center conductor and
A-surface is 6 to 7 mm,
If it is more than 7 mm, cut the center conductor to correct
length,
Note: Be careful not to damage the center conductor,
Note: Chamfer at the tip of the center conductor,
Note: There shall be no evidence of deviation or deformation or burr at
the tip of the center conductor.

ROI-S05750 INSTALLATION
2-89
Chart 2-17 (Cont’d)
Step Procedure
7 Insert the insulation washer over the center conductor, and
engage it with the F/F contact,
Note: No gap is allowed in between the F/F contact, the insulation
washer, and the dielectric.
Note: The assembly unit after the completion of this process is called
“block”.
8 Combine the convex part of the clamp to the concave part of the
gasket, Then insert this block to the shell,
Note: Insert the hood until it hits the B-surface.

INSTALLATION ROI-S05750
2-90
Chart 2-17 (Cont’d)
Step Procedure
9 Tighten the tightening nut sufficiently until the gasket is cut by
the clamp and the tip of the clamp hits the washer,
Note: Torque for the tightening nut shall be 8 to 30N•m.
Note: When tightening the nut, tighten with wrench at the wrench at the
wrench flat.
Note: Distance between the tightening nut and the LP shell is 1.85 to
2.1 mm for reference.
Tighten the nut sufficiently.
L-type dimension and cutting length of the cable.
Specified length L: Cutting length L−25.

ROI-S05750 INSTALLATION
2-91
Chart 2-18 Terminating IF Coaxial Cable
with N-P Connector (Straight Type) used for
ODU IF IN/OUT (HIROSE made)
N-type connector is used for the ODU side.
Note: When the N (Male) straight connector is attached to the IF
coaxial cable for the IDU IF IN/OUT, use of the TNC (Male) - N
(Female) (NJ-TNCP-LA) L-angle adapter is needed.
Step Procedure
1 First fit the lock nut, washer and gasket on the cable as shown.
CABLE
LOCK NUT WASHER GASKET
2 Strip back the cable sheath, taking care not to damage the
braided shield, and fit clamp A.
CLAMP A
X
CONNECTOR CABLE X
N260 5D-FB 25 mm
N227 8D-FB 25 mm
N228 10D-FB 27 mm
N229 12D-FB 27 mm
3 Fold back the braided shield (separating the strands of the braid)
and trim it.

INSTALLATION ROI-S05750
2-92
Chart 2-18 (Cont’d)
Step Procedure
4 Cut away the insulation from the center conductor and fit clamp
B. Be sure not to cut or scratch the conductor while stripping
the insulation.
1.0 mm CLAMP B
CUT
5 Cut the center conductor. Taper the end of the center conductor
using a file as shown in the enlarged view below.
12 mm
6 Mount the center contact onto the center conductor as shown.
Note: Insert the center contact into insulator (1.5 mm).
1.5 mm
CENTER CONTACT

ROI-S05750 INSTALLATION
2-93
Chart 2-18 (Cont’d)
Step Procedure
7 Mount the insulator onto the center contact.
TAPERING SIDE
INSULATOR
8 Insert the cable into the connector shell.
CONNECTOR SHELL
9 Tighten the lock nut.
LOCK NUT
Less than 0.5 mm

INSTALLATION ROI-S05750
2-94
Chart 2-19 Terminating IF Coaxial Cable
with N-P Connector (Straight Type) used for
ODU IF IN/OUT (KOMINE made)
N-type connector is used for the ODU side.
Note: When the N (Male) straight connector is attached to the IF
coaxial cable for the IDU IF IN/OUT, use of the TNC (Male) - N
(Female) (NJ-TNCP-LA) L-angle adapter is needed.
Step Procedure
1 The clamp nut, the washer and the gasket are inserted in the
cable,
GASKET WASHER CLAMP NUT
CABLE
2 Strip the cable as below and disentangle the braid and insert the
clamp in the cable,
BRAID
CLAMP
25 mm
Do not scratch the braid wire.
3 Turn the braid on the clamp inserted and cut the braid according
to the paragraph,
BRAID
INSULATOR FOIL PARAGRAPH

ROI-S05750 INSTALLATION
2-95
Chart 2-19 (Cont’d)
Step Procedure
4 Cut the cable-insulator according to the surface that is turned the
braid and insert the ferrule,
FERRULE
CENTER CONDUCTOR
The surface that is turned the braid.
Do not scratch the center conductor.
5 Insert the insulator,
INSULATOR
6 Cut the center-conductor as following size. Process the tip of
center-conductor like a taper with a file. (Do not have a curve
and burr.) Insert the center-contact in the center-conductor and
insert the insulator in the center-contact,
12 mm
CENTER CONTACT
INSULATOR
Processing chart of the
tip of the center-conductor.

INSTALLATION ROI-S05750
2-96
Chart 2-19 (Cont’d)
Step Procedure
7 Connector body is fit to the cable.
Fit in the cable end into the body and screw the clamp nut by
your hand first and tighten it with a torque wrench.
Confirm the space that it is less than 0. 5 mm between the body
and the cramp nut.
BODY CLAMP NUT
18/2 flats less than 0.5 mm
Tightening torque is more than 9.8 N•m (100kgf•cm)
Note: Use torque wrench.

ROI-S05750 INSTALLATION
2-97
Chart 2-20 Terminating Power Supply Cables with
Molex Connector
Step Procedure
Note: Do not bend this part.
1 Remove 3.0 to 3.5 mm of insulation.
CABLE
AWG#18-24
POWER SUPPLY CABLE
3.0 to 3.5 mm
FOR 48 V, 1A

INSTALLATION ROI-S05750
2-98
Chart 2-20 (Cont’d)
Step Procedure
2 Set the socket contact to position 1 or 2 of the hand crimping
tool.
HAND CRIMPING TOOL
57026-5000 Molex
or 57027-5000
( )
HAND CRIMPING
TOOL TYPE
57026-5000
57027-5000
OUTSIDE DIAMETER
OF CABLE
φ 1.5 to 1.8
φ 1.8 to 2.2
φ 2.3 to 2.6
φ 2.6 to 3.1
SET
POSITION
2
1
1
2
1
2
3 Squeeze the handle of the hand crimping tool, insert cable into
socket contact.
4 The cable should fit, so insulation and bare wire are arranged as
shown.
5 Squeeze the handle of the hand crimping tool until the ratchet is
released.
INSULATION BARREL WIRE BARREL
WIRE STRIP LENGTH

ROI-S05750 INSTALLATION
2-99
Chart 2-20 (Cont’d)
Step Procedure
6 Twist cables for the power supply,
Note: Twist power cables to suppress inductive interference signals.
7 Insert the socket contacts into the power connector until they
lock.
−48 V (*1)
GND (*2)
POWER CONNECTOR
Note : For H3040 DC-DC CONV,
(*1):
−
20 to
−
60 V (or 0 V)
(*2):0 V (or +20 to +60V)

INSTALLATION ROI-S05750
2-100
Chart 2-21 BNC Connector for 3C-2V Coaxial Cable
Assembling, Solder Type
The following explains how to assemble BNC solder type as an example.
LOCK NUT CLAMP 1 CLAMP 2 SHELL
Step 1. Slide the lock nut onto the cable.
Strip the cable sheath, taking care
not to damage the braided shield
wires, and fit CLAMP 1.
(15.5 mm)*
(39/64”)*
Note *:Stripping measurements vary depend on the BNC
Step 2. Fold back the braided shield wire
around the CLAMP 1 (without
separating the strands of the
braid) and trim it.
trim
Step 3. Cut away the insulator from the
centre conductor and fit CLAMP
2. (Be sure not to cut or scratch
the conductor while stripping the
insulation.)
(7 mm)*
(9/32”)*
Note *:Stripping measurements vary depend on the BNC
Step 4. Solder the pin contact to center
conductor. Use a knife to remove
excess solder.
SOLDERING
Step 5. Insert the connectorized cable
into the BNC shell and fasten the
lock nut with a wrench.

ROI-S05750 INSTALLATION
2-101
Chart 2-22 BNC Connector for 3C-2V Coaxial Cable
Assembling, Crimping Type
The following explains how to assemble BNC crimping type as an example.
Step 1. Strip coaxial cable as illustrated
left, (taking care not to damage
braided shield wire),
Step 2. Cut braided shield wire (without
unravel the strands of braid) and
trim it,
Step 3. Cut dielectric, (be sure not to cut
or scratch the centre conductor
while stripping the dielectric),
center conductor
dielectric
shield wire
Sheath
(15 mm)*
(6.3 mm)*
(4 mm)*
STRIPPING
Note*: Stripping measurements vary depending on the
BNC type.
ABC
contraction sleeve
ferrule
pin contact BNC shell
BNC plug
contraction sleeve ferrule
Step 4. Slide contraction sleeve and
ferrule onto the cable,
Step 6. Slide pin contact until it bottoms
against the centre conductor,
insulator
Step 6. Slide braid tube and insulator
among braided shield wire and
dielectric,
braid tube
Step 5. Fan braided shield wire,
braid tube
insulator
pin contact

INSTALLATION ROI-S05750
2-102
Chart 2-22 (Cont’d)
Step 7. Crimp pin contact,
crimp
pin contact
crimping tool
crimping area
crimp
Step 8. Slide carefully the cable into BNC
shell until insulator butts against
BNC body,
Step 9. Slide ferrule over shield wire until
it bounds against the BNC shell
body,
ferrule
Step 10.Crimp ferrule as close as possible
to the BNC shell body and trim the
excess of braid,
crimping tool
Crimp ferrule as close as possible.
trim
use suitable crimping size

ROI-S05750 INSTALLATION
2-103
Chart 2-22 (Cont’d)
Step 11.Position contraction sleeve over
ferrule and BNC,
Step 12.Heat contraction sleeve until it
contracts.
contraction sleeve
heated air

INSTALLATION ROI-S05750
2-104
Chart 2-23 D-Sub High Density Crimp Contacts
Assembly
The following explains how to assemble high density crimp contacts used
for HARTING hand crimp tool as an example.
Step 1. Strip the jacket for 2.5 −0/+0.5 mm
as shown left and check if stranded wire
is not damaged,
Step 2. Place the handles in the open
position as shown left,
Jacket
Stranded wire
2.5 −0/+0.5 mm
Step 3. Select the suitable chamber for
the selected wire,
Step 7. Take out the crimped contacts
from the chamber. Check if it
should not be scratched or
transformed.
Step 4. Insert contact in the selected
chamber,
Applicable wire size : 0.14 - 0.22 mm
2
(AWG26 - 24),
stranded, maximum insulation:
φ
1.38 mm
Crimp Tool
(09 88 999 0596)
Note: When the handles are in close position, squeeze handles completely until safety ratchet is
released.
Jacket
Chamber for 0.22 mm2 (AWG 24)
Chamber for 0.14 mm2 (AWG 26)
Indication of the part number
Step 5. Insert the prepared wire in the
contact,
Step 6. Squeeze the handles together
completely until the safety ratchet
clicks to open,
Stamped male contacts : 09 56 000 8175 (Level S4),
High density male connectors : 09 56 300 5601 (#44)
Crimping/inserting contacts process

ROI-S05750 INSTALLATION
2-105
Chart 2-23 (Cont’d)
Step 8. After crimping the stranded wire to
the contact using a hand tool, insert
the contact into the contact chamber
with the tool, working from the
wiring side,
Step 9. You can here the contacts snap
home, audible “click”,
Removing crimp contacts
Step 1. Position the tool from the wiring
side as shown left and insert into the
contact chamber. The contact can
then easily be removed from the
wiring side together with itself and
reinserted in a different chamber.
Step 10.Check if they are securely in
place with giving the wire a
gentle pull.
Insertion and removal tool
(09 99 000 0513)
Wire
Connector
Insertion and removal tool
[Removal]
Contact can be removed
together with wire.
[Insertion]
Contact can be inserted
together with wire.
Contact chamber
Insertion and removal tool
Position the

INSTALLATION ROI-S05750
2-106
2.9 Wiring and Forming
Chart 2-24 Wiring and Forming
1 Connect cables for, signal interface, power supply, IF IN/OUT
and ground to the proper connector of the IDU.
(1) Connect ground cable to the ground terminal
(2) Connect IF cable to IF IN/OUT connector.
(3) Connect power supply cable to SELV connector.
(4) Connect OC-3 NLite E, Aux. signal cables to proper
connectors.
(5) Connect XIF coaxial cables to opposite IDU. (XPIC
configuration only.)
(6) Connect XPIC CTRL cables to opposite IDU. (XPIC
configuration only.)
Note: When disconnect cables, perform it in revers steps.
2 Fix the cables using cable binder to the rack as like as indicated
position.
Notes: 1. Do not cross the cables on front of indicators and power
switch used for maintenance.
2. Take suitable bend radius to wiring the IF cable. (e.g.
10D-FB: 70 cm)
3. For the IF cable connection, it is recommended to use
adapter. (Applicable adapters are listed table below).
Table 2-6 IF Cable Adapter
IF Cable Adapter
TNC(P) - N(J) TNC(P) - TNC(J)
5D-FB √
8D-FB √ √
10D-FB √

Caution
Tighten the TNC-male connector of
IF cable to the IDU with engage
connector nut only using fingers and
holding the cable with another hand.
Tighten the engage connector nut
only for the L-angle connector also.
(Tightening Torque : 0.3 to 0.5 N•m
(3 to 5kg•cm))
IDU
IDU
IF CABLE
IF CABLE
IDU
IF CABLE
Straight Type
L-Angle Type
L Angle Type
If rotate other parts of the L-angle
connector as illustrated left, it can
cause connector damage.
ROI-S05750 INSTALLATION
2-107

INSTALLATION ROI-S05750
2-108
NLite E SONET
SELV
!
XIF IN XIF OUT
IF IN/OUT TX
RX
RESET
XPIC CTRL XPIC
PWR
ODU
MD/
CBL PWR
FG
PULL
SELV
!
XIF IN XIF OUT
IF IN/OUT TX
RX
RESET
XPIC CTRL XPIC
PWR
ODU
MD/
CBL PWR
PULL
SELV
!
XIF IN XIF OUT
IF IN/OUT TX
RX
RESET
XPIC CTRL XPIC
PWR
ODU
MD/
CBL PWR
FG
PULL
SELV
!
XIF IN XIF OUT
IF IN/OUT TX
RX
RESET
XPIC CTRL XPIC
PWR
ODU
MD/
CBL PWR
PULL
(1) Connect XIF cable to between XIF IN (Main Master ) and XIF OUT (Sub
Master), and XIF OUT (Main Master) and XIF IN (Sub Master).
(2) Connect XPIC CTRL cables to between XPIC CTRL (Main Master) and XPIC
CTRL (Sub Master).
AUX/ALM
NMS NE SC IN/OUT EOW
PROTECT
CALL MMC
MAINT
MEMORY
IDU
NLite E
FG
LCT
AUX/ALM
NMS NE SC IN/OUT EOW
PROTECT
CALL MMC
MAINT
MEMORY
IDU
NLite ES
FG
LCT
ALM
OC-3 IN
OC-3 OUT
ALM
OC-3 IN
OC-3 OUT ONLINE
ONLINE
ALM
OC-3 IN
OC-3 OUT
ALM
OC-3 IN
OC-3 OUT ONLINE
ONLINE
Fig. 2-8 Cable Wiring for the XPIC System
ROI-S05750 INSTALLATION
2-109

INSTALLATION ROI-S05750
2-110
2.10 SONET OC-3 NLite E Frame Grounding
In mounting the IDU and ODU, perform frame grounding. The location of
the frame grounding in each IDU and ODU is shown in Fig. 2-8, and the
connection for frame grounding is shown in Fig. 2-9.
1+0 SYSTEM
FRAME GROUND TERMINAL
FG
1+1 SYSTEM
IDU
FG
IFL
MON
RX LEV
6-38 GHz ODU
SELV
!
AUX/ALM
LCT NMS NE SC IN/OUT EOW
PROTECT
CALL MMC
MAINT
MEMORY
IDU
XIF IN XIF OUT
IF IN/OUT TX
RX
RESET
XPIC CTRL XPIC
PWR
ODU
MD/
CBL PWR
NLite E
PULL
(Blank)
G
G
G
SELV
!
AUX/ALM
LCT NMS NE SC IN/OUT EOW
PROTECT
CALL MMC
MAINT
MEMORY
IDU
XIF IN XIF OUT
IF IN/OUT TX
RX
RESET
XPIC CTRL XPIC
PWR
ODU
MD/
CBL PWR
NLite E
PULL
SELV
!
XIF IN XIF OUT
IF IN/OUT TX
RX
RESET
XPIC CTRL XPIC
PWR
ODU
MD/
CBL PWR
PULL
G
G
G
G
FRAME GROUND TERMINAL
SELV
PWR PULL
PWR
ALM FUSE (250V/8AH)
−
43V
G
OUT
STD
G
SELV
PWR PULL
PWR
ALM FUSE (250V/8AH)
−
43V
G
OUT
STD
G
NWA-011060-001 DC-DC CONV UNIT
SER No. DATE ,
WEIGHT 2.5kg
MADE IN JAPAN
NEC Corporation
TOKYO JAPAN
1+0 System STD Input : 20 60V 3.4A 1.0A
Output :
−
43V 1.3A
1+1 System STD Input : 20 60V 1.3A
×
2
3.4A 1.0A
×
2 Output :
−
43V
FRAME GROUND TERMINAL FRAME GROUND TERMINAL
DC-DC CONV (Optional)
ALM
OC-3 IN
OC-3 OUT
ALM
OC-3 IN
OC-3 OUT ONLINE
ONLINE
ALM
OC-3 IN
OC-3 OUT
ALM
OC-3 IN
OC-3 OUT ONLINE
ONLINE
NLite E
Note: Connect the Frame Ground (G) terminal on the IDU to the
mounting rack with the earth cable. In addition, connect the
mounting rack to the indoor earth terminal with the earth cable
and connect the G terminal on the ODU to the ground (refer to
Fig. 2-9).
Fig. 2-10 Location of Frame Ground

EARTH LINE
INDOOR EARTH GROUND TERMINAL
IDU
ODU COAXIAL CABLE
PROTECT AREA
LIGHTNING ROD
OUTDOOR EARTH GROUND TERMINAL
(EXISTING OR CUSTOMER SUPPLIED)
EARTH LINE
GROUND
LEVEL
Cautions: 1. Install the ODU within the area protected by lightning rod.
2. To avoid surge currents caused by lightning circulating in the
equipment earth system, connect the equipment earth system
(frame ground) to ground of the lightning rod at ground level.
Note:Frame Ground terminal of the IDU (5 mm square cable (means more
than 2.5 mm diameter cable (AWG #10) is recommended to apply for the
earth grounding. The proper press fix terminal tool shall be used.)
This connection is an example.
RACK
30°30°
(Grounding Resistance:
less than 10 ohms)
This is the buried earth wire.
This type of wire is not an insulated
winding wire and recommends to
make a naked wire.
Use a copper grounding conductor to
ground the rack.
The grounding conductor to the CO
GND be connected to the rack.
ROI-S05750 INSTALLATION
2-111
Fig. 2-11 Connection for Frame Grounding (1/2)

LIGHTNING ROD
EARTH LINE
ODU
FG
EARTH LINE*
COAXIAL CABLE
INDOOR EARTH
GROUND
LEVEL
IDU
(Grounding-resistance:
less than 10 ohms)
Notes:* NEC recommends that frame ground of ODU should be connected to earth line as NEC’s
standard installation.
EP : Earth Ground Point of tower
FG : Frame Ground terminal of the IDU (5 mm square cable (means more than 2.5 mm
diameter cable (AWG #10) is recommended to apply for the earth grounding. The proper
press fix terminal tool shall be used.)
This connection is an exam
p
le.
ISOLATED FROM
TOWER
(Grounding-resistance:
less than 10 ohms)
(Grounding-resistance
of tower: less than
Grounding cable for ODU should be
connected to the nearest EP of the tower.
EP
LINE
It lets through the center of the steel
tower as much as possible.
The coaxial cable lets through the inside of the steel tower.
The earth between ODU-IDU lets through the inside of the
steel tower.
COAXIAL CABLE
EARTH LINE
This is the buried earth wire.
This type of wire is not an in-
sulated winding wire and
recommends to make a na-
ked wire.
10 ohms)
Use a copper grounding conductor to ground the rack.
The grounding conductor to the CO GND be connected to the rack.
TOWER
INSTALLATION ROI-S05750
2-112
Fig. 2-11 Connection for Frame Grounding (2/2)

ROI-S05750 INSTALLATION
2-113
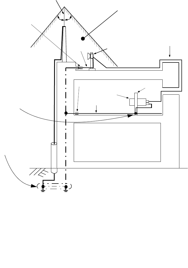
2.11Waterproof Protection
After cable connection, the following parts should be wrapped by self-
bonding tape for waterproof (see Fig. 2-10).
POLE
ANT
6/7/8 GHz BAND ODU
POLE
ANT
HYB
ODU
ODU
These parts should be wrapped
the self-bonding tape tightly, twice
or more around the IF cable
connector and IF IN/OUT
connector of the ODU for
waterproof.
Note A
Note A
Note A
ODU
Caution: Before connecting the IF cable between the IDU
and ODU, using the circuit tester, check that the
resistance of the I/F cable between center
conductor and insulation is more than 100 M
Ω.
self-bonding
tape
stretch
Wrap twice the IF IN/OUT connector with
self-bonding tape for waterproofing.
a half of tape width
ODU
twice
Fig. 2-12 Location of Connector for Waterproof (1/2)

ODU
IF CABLE
SELF-BONDING TAPE
ODU
IFL CONNECTOR
Note: The self-bonding tape should be prepared by customer.
SELF-BONDING TAPE
ODU
IF CABLE IN CASE OF L−ANGLE
6-38 GHz BAND ODU
This part should be wrapped the
self-bonding tape tightly, twice or
more around the IF cable
connector and IF IN/OUT
connector of the ODU for
waterproof.
Caution: Before connecting the IF cable between the
IDU and ODU, using the circuit tester,
check that the resistance of the I/F cable
between center conductor and insulation is
more than 100 M
Ω.
self-bonding
tape
stretch
Wrap twice the IF IN/OUT connector with
self-bonding tape for waterproofing.
a half of tape width
ODU
twice
For 6-52 GHz BAND ODU
INSTALLATION ROI-S05750
2-114
114 pages
Fig. 2-12 Location of Connector for Waterproof (2/2)
ROI-S05750 INSTALLATION
2-115

INITIAL LINE UP ROI-S05750
3-1
3. INITIAL LINE UP
This NLite E Section explains instructions for the initial lineup of the
equipment. Included is information on start-up, shut-down, IDU and ODU
equipment setting, antenna orientation and lineup test between two
stations.
When the NLite E Monitor is used for RX LEV monitoring, connect the
X0818 NLite E Monitor to the ODU. The NLite E Monitor operates on a
dry battery (6F22/9V).
Notes: 1. Insert the battery with correct polarity.
2. When the NLite E Monitor will not be used for extended
periods of time, remove the battery to avoid damage from
battery leakage and corrosion.
3. When the NLite E Monitor will be connected to the ODU,
control corresponding ODU to Antenna Alignment mode
using LCT in Maintenance ON.
ROI-S05750 INITIAL LINE UP
3-2
3.1 Start-up
The procedure for starting the equipment is shown in Chart 3-1.
Warning: 1. The –48 V DC is superimposed on the centre conductor
of the IF coaxial cable between the MODEM and the
ODU. Connecting test equipment directly to this
terminal may damage it and touching the coaxial cable
core may cause electrical shock.
2. Do not disconnect the IF cable between the MODEM and the
ODU in operating condition, to avoid damaging the NLite E ,
turn the IDU power OFF before connecting/disconnecting
the IF cable.
3. Do not allow open or short circuit of ODU TX output
with the TX power on conditions. Perform the TX Mute
control in the Maintenance mode or turn the PWR switch
off at the IDU before disconnecting cable or feeder from
the ODU TX output.
4. After turning ON the equipment, wait at least 1 minute before
turning it OFF again. Repeatedly turning the power ON and
OFF within a short interval may cause the NLit E to fail.
Caution: 1. In a system using the OPTICAL OC-3 INTFC, do not
stare at the laser beam or look at it directly with optical
instruments. Otherwise, it may hurt your eyes (Class 1
Laser Product).
2. Be careful top surface above MODEM of the IDU is hot in
operation.
3. When replacing the MODEM, OC-3 INTFC or DC-DC CONV
(optional) turn off the PWR switch and disconnect all cables
connected to the module which is to be replaced.
4. When dismounting the ( ) INTFC, turn off the PWR switch on
the MODEM and disconnect all cables connected to the ( )
INTFC.
5. In the SONET XPIC system, the system parameter setup must
be performed at the Master station first, then at the Sub Station.
6. In the SONET XPIC system, the Main Master and Sub
Master channels must be connected to one dual polarized
antenna.

INITIAL LINE UP ROI-S05750
3-3
Chart 3-1 Start-up
Caution: Do not apply a voltage to the equipment that varies sharply.
The equipment may operate improperly.
Caution: Do not remove/connect the IF cable with the IDU power
ON. Turn the IDU power OFF before connecting/
disconnecting the IF cable, or equipment may be damaged.
Apparatus:
Suitable Screwdriver
Digital Multimeter
Step Procedure
Notes: 1 The ODU power is supplied from the IDU
1+0 SYSTEM
1 Check that the IF cable between the MODEM and the ODU is
firmly connected,
2 Before connecting the power cable connector to the MODEM,
check that the SELV input voltage is −48V (allowable range;
within –40.5 to –57 V) with the digital multimeter, (see Fig. 3-1),
3 Pull out the PWR switch lever and turn on,
4 Confirm that the PWR indicator on the MODEM is ON.
1+1 SYSTEM
1 Check that the IF cable between the No.1 MODEM and the No.
1 ODU is connected,
2 Before connecting the power cable connector to the No.1
MODEM, check that the SELV input voltage is −48V
(allowable range, within –40.5 to –57 V) with the digital
multimeter, (see Fig. 3-1),
3 Pull out the PWR switch lever and turn on, (see Fig. 3-1),
4 Confirm that the PWR indicator on the No.1 MODEM is ON.
5 Repeat steps 1 to 3 for No.2 MODEM,
6 Confirm that PWR indicator on the No.2 MODEM is ON.

PWR SWITCH
SELV
1+1 CONFIGURATION
IDU
PWR SWITCH
SELV
!
AUX/ALM
LCT NMS NE SC IN/OUT EOW
PROTECT
CALL MMC
MAINT
MEMORY
IDU
XIF IN XIF OUT
IF IN/OUT TX
RX
RESET
XPIC CTRL XPIC
PWR
ODU
MD/
CBL PWR
NLite E
PULL
(Blank)
G
G
G
SELV
!
AUX/ALM
LCT NMS NE SC IN/OUT EOW
PROTECT
CALL MMC
MAINT
MEMORY
IDU
XIF IN XIF OUT
IF IN/OUT TX
RX
RESET
XPIC CTRL XPIC
PWR
ODU
MD/
CBL PWR
NLite E
PULL
SELV
!
XIF IN XIF OUT
IF IN/OUT TX
RX
RESET
XPIC CTRL XPIC
PWR
ODU
MD/
CBL PWR
PULL
G
G
G
G
PWR LED
1+0 CONFIGURATION
IDU
PWR LED
SELV
PWR SWITCH
PWR LED SELV
MODEM
No.1 MODEM
No.2 MODEM
Caution: The NLite E operates only negative voltage (–48 V). Therefore, the power supply
system for the existing equipment which is used floating power supply (–20 to –60 V/
+20 to +60 V) must not be connected to the NLite E .
4
21
3
GND
–48 V
POWER SUPPLY
No.1 POWER SUPPLY
3
1
2
4GND
–48 V
No.2 POWER SUPPLY
3
1
2
4GND
–48 V
ALM
OC-3 IN
OC-3 OUT
ALM
OC-3 IN
OC-3 OUT ONLINE
ONLINE
ALM
OC-3 IN
OC-3 OUT
ALM
OC-3 IN
OC-3 OUT ONLINE
ONLINE
ROI-S05750 INITIAL LINE UP
3-4
Fig. 3-1 DC Power cable Connection and Power ON/OFF (1/2)

INITIAL LINE UP ROI-S05750
3-5
Chart 3-1 (Cont’d)
Step Procedure
Note: 1 The ODU power is supplied from the IDU
DC Power Connection-2 (DC-DC CONV)
1+0 SYSTEM
1 Check that the IF cable between the MODEM and the ODU is
connected,
2 Connect the power cable to –43 V/OUT of the DC DC CONV
and SELV of the MODEM as shown in Fig 3-1 (2/2),
3 Before connecting the power cable connector to the SELV
of the DC-DC CONV, check that the rated input voltage
is −24V/−48V (allowable range; within –20 to –60 V) or
+24V/+48V (allowable range; within +20 to +60 V) with
the digital multimeter, (see Fig. 3-1),
4 Pull out the PWR switch lever of the DC-DC CONV and turn
on,
5 Confirm that the PWR indicator on the DC-DC CONV is ON,
6 Pull out the PWR switch lever of the MODEM and turn on,
7 Confirm that the PWR indicator on the MODEM is ON.
1+1 SYSTEM
1 Check that the IF cable between the No.1 MODEM and the No.
1 ODU, is connected,
2 Connect the power cable to –43 V/OUT of the No.1 DC DC
CONV and SELV of the No.1 MODEM as shown in Fig 3-1 (2/
2),
3 Before connecting the power cable connector to the SELV
of the DC-DC CONV, check that the rated input voltage
is −24V/−48V (allowable range; within –20 to –60 V) or
+24V/+48V (allowable range; within +20 to +60 V) with
the digital multimeter, (see Fig. 3-1),
4 Pull out the PWR switch lever of the No.1 DC-DC CONV and
turn on,
5 Confirm that the PWR indicator on the No.1 DC-DC CONV is
ON,

ROI-S05750 INITIAL LINE UP
3-6
Chart 3-1 (Cont’d)
Step Procedure
6 Pull out the PWR switch lever of the No.1 MODEM and turn
on,
7 Confirm that the PWR indicator on the No.1 MODEM is ON,
8 Repeat steps 1 to 7 for No.2 MODEM,
9 Confirm that PWR indicator on the No.2 MODEM is ON.

PWR SWITCH (IDU)
SELV
IDU
0 V/(or +20 to +60V)
–20 to –60V/(or 0V)
SELV
!
AUX/ALM
LCT NMS NE SC IN/OUT EOW
PROTECT
CALL MMC
MAINT
MEMORY
IDU
XIF IN XIF OUT
IF IN/OUT TX
RX
RESET
XPIC CTRL XPIC
PWR
ODU
MD/
CBL PWR
NLite E
PULL
G
G
G
1+0 CONFIGURATION
POWER SUPPLY
PWR LED
MODEM
No.1 POWER SUPPLY
0 V/(or +20 to +60V)
–20 to –60V/(or 0V)
–20 to –60V/(or 0V)
0 V/(or +20 to +60V)
SELV
PWR PULL
PWR
ALM FUSE (250V/8AH)
−
43V
G
OUT
STD
G
SELV
PWR PULL
PWR
ALM FUSE (250V/8AH)
−
43V
G
OUT
STD
G
NWA-011060-001 DC-DC CONV UNIT
SER No. DATE ,
WEIGHT 2.5kg
MADE IN JAPAN
NEC Corporation
TOKYO JAPAN
1+0 System STD Input : 20 60V 3.4A 1.0A
Output :
−
43V 1.3A
1+1 System STD Input : 20 60V 1.3A
×
2
3.4A 1.0A
×
2 Output :
−
43V
SELV
PWR PULL
PWR
ALM FUSE (250V/8AH)
−
43V
G
OUT
STD
G
SELV
!
AUX/ALM
LCT NMS NE SC IN/OUT EOW
PROTECT
CALL MMC
MAINT
MEMORY
IDU
XIF IN XIF OUT
IF IN/OUT TX
RX
RESET
XPIC CTRL XPIC
PWR
ODU
MD/
CBL PWR
NLite E
PULL
SELV
!
XIF IN XIF OUT
IF IN/OUT TX
RX
RESET
XPIC CTRL XPIC
PWR
ODU
MD/
CBL PWR
PULL
G
G
G
G
Caution: The NLite E operates only negative voltage (–48 V). Therefore, the power supply
system for the existing equipment which uses a floating power supply (–20 to –60 V/
+20 to +60 V) must not be connected to the NLite E .
No.1 MODEM
No.2 MODEM
No.1 PWR SWITCH
No.1 SELV
No.2 SELV
No.1 SELV
No.2 SELV
No.2 PWR SWITCH
No.1 PWR SWITCH
No.2 PWR SWITCH
–43 V/OUT
No.1 –43 V/OUT No.2 –43 V/OUT
4
21
3
4
21
3
No.2 POWER SUPPLY
4
21
3
DC-DC CONV UNIT
DC-DC
CONV
ALM
OC-3 IN
OC-3 OUT
ALM
OC-3 IN
OC-3 OUT ONLINE
ONLINE
ALM
OC-3 IN
OC-3 OUT
ALM
OC-3 IN
OC-3 OUT ONLINE
ONLINE
INITIAL LINE UP ROI-S05750
3-7
Fig. 3-1 DC Power cable Connection and Power ON/OFF (2/2)

ROI-S05750 INITIAL LINE UP
3-8
3.2 Shut-down
The shut-down procedures for the equipment is shown in Chart 3-2.
Warning: After turning ON the equipment, wait at least 1 minute
before turning it OFF again. Repeatedly turning the power
ON and OFF with in a short interval may cause the IDU/
ODU to fail.
Chart 3-2 Shut-down
Step Procedure
1+0 SYSTEM
1 Pull out the PWR switch lever on the MODEM and turn off the
PWR switch (see Fig. 3-1),
2 Confirm that all LED indicators on the IDU are OFF.
1+1 SYSTEM
Note: When turn OFF the IDU and ODU in 1+1 configuration,
turn OFF power for standby side first, then working side.
When turn OFF the IDU and ODU in working channel
only, switchover the working to standby channel with TX
and RX SW using LCT. (see Chart 3-8)
1 Pull out the PWR switch lever on the corresponding MODEM is
to be shut down, then turn off (see Fig. 3-1).
2 Confirm that the PWR indicator on the MODEM is OFF.
3 Pull out the PWR switch lever on the other MODEM, then turn
off the PWR switch. (see Fig. 3-1).
4 Confirm that all LED indicators on the IDU are OFF.

INITIAL LINE UP ROI-S05750
3-9
3.3 Initial Setting
The initial setup of the IDU/ODU is performed using the PC according to
Table 3-1.
For the details operation of the PC setup for connecting LCT, refer to the
NLite E LCT Operation Manual in Section IV Appendix.
Table 3-1 Initial Setup Items
Setup Order Setup Item LCT
1. Equipment Setup Chapter 3
2. Date and Time Chapter 6.3
3. Provisioning Chapter 7
4. Relay/House Keeping Chapter 7
Note: The “Equipment Setup” must be set properly every items
before “Provisioning” setup.
The “Provisioning” setup must be performed based on
the “Equipment Setup”.
LCT Access Cable
LCT 1+1 CONFIGURATION
SELV
!
AUX/ALM
LCT NMS NE SC IN/OUT EOW
PROTECT
CALL MMC
MAINT
MEMORY
IDU
XIF IN XIF OUT
IF IN/OUT TX
RX
RESET
XPIC CTRL XPIC
PWR
ODU
MD/
CBL PWR
NLite E
PULL
(Blank)
G
G
G
SELV
!
AUX/ALM
LCT NMS NE SC IN/OUT EOW
PROTECT
CALL MMC
MAINT
MEMORY
IDU
XIF IN XIF OUT
IF IN/OUT TX
RX
RESET
XPIC CTRL XPIC
PWR
ODU
MD/
CBL PWR
NLite E
PULL
SELV
!
XIF IN XIF OUT
IF IN/OUT TX
RX
RESET
XPIC CTRL XPIC
PWR
ODU
MD/
CBL PWR
PULL
G
G
G
G
1+0 CONFIGURATION
PC for LCT
USB
ALM
OC-3 IN
OC-3 OUT
ALM
OC-3 IN
OC-3 OUT ONLINE
ONLINE
ALM
OC-3 IN
OC-3 OUT
ALM
OC-3 IN
OC-3 OUT ONLINE
ONLINE
Fig. 3-2 LCT Connection

ROI-S05750 INITIAL LINE UP
3-10
3.3.1 Equipment Setup
In initial lineup, the “Equipment Setup” must be performed using LCT.
Chart 3-3 Equipment Setup
Refer to the NLite E LCT Operation Manual in Section IV Appendix. for
the details of “3. Equipment Setup”.
The Equipment Setup items to be setup for the SONET systems are as
follows:
Equipment Setup Items for SONET Systems
• User Interface
• Redundancy Setting
• INTFC
• INTFC Main (WORK) *1
• INTFC SUB (PROT) *1
•XPIC Usage *2
• APS Function *3
• Modulation Scheme
• Transmission Capacity
• TX RF Frequency
• RX RF Frequency *5
• Frame ID
• TX Power Control
• LAN Port Usage *4
• LAN Capacity *4
• TX Start Frequency
• TX Stop Frequency
• Frequency Step
• Shift Frequency
• Upper/Lower
•Sub Band
Notes:*1 For SONET only.
*2 When the SONET XPIC is configured, set Main Master and
Sub Master. Set to Not Used in other configurations.
The TX/RX frequency for the Main Master and Sub Master
channels must be set to the same values. The Main Master
and Sub Master channels must be connected to one dual
polarized antenna. The reference local frequency and the
action control of the ATPC/MTPC are applied from the
Main Master channel to the Sub Master channel.
*3 For SONET APS only.
*4 For LAN transmission only.
*5 There is two types ODU for the RX RF Frequency setup
mode.
Type 1.When the transmitting frequency is set, the receiving
frequency is automatically assigned.
Type 2.When the transmitting frequency is set, the receiving
frequency is automatically assigned and assignment of it in
manual is also available.

INITIAL LINE UP ROI-S05750
3-11
3.3.2 Provisioning Setup for SONET
In initial lineup, the “Provisioning” Setup must be performed using LCT.
Chart 3-4 Provisioning Setup (SONET)
Refer to the NLite E LCT Operation Manual in Section IV Appendix. for
details of the “7. Provisioning Setup”.
The Provisioning Setup items to be setup for SONET systems are as
follows:
Provisioning Setup for SONET system
• BER Threshold Setting
• Sub Interface *1
• SC Assignment
• LAN Port Setting *2
• OC-3 Setting
• TX Power Control*3
• Condition for TX/RX SW
• Condition for APS
• Relay Setting
• TCN Threshold(15min)
• TCN Threshold(1day)
• PMON Select
• Others *3
Note: *1:For LAN transmission only.
*2:For LAN transmission only.
*3:Set to required TX power level in MTPC mode when it
is going to perform the Antenna Orientation.
*4:Optional items

ROI-S05750 INITIAL LINE UP
3-12
3.4 Antenna Orientation
After the initial setup has been completed, an antenna orientation will be
performed between two stations according to the procedures in Chart 3-6.
Chart 3-5 Antenna Orientation
Apparatus :
Digital Multimeter with test leads or X0818 NLite E Monitor
Wrench
Headset
Step Procedure
1 Connect the PC to the LCT port on the NLite E IDU using USB
cable, (see Fig. 3-2)
2 At each station, set “Maintenance1” from Maintenance in LCT
Menu,
LCT MENU
Alarm/Status
Equipment Setup
Inventory
AUX I/O
Maintenance
Provisioning
Metering
PMON(History)
Maintenance1
Maintenance2
Note: In Maintenance “On” condition, every external Alarm
outputs, excluding Maintenance/PS/CPU (IDU) ALM, are
masked and remote control can not be performed.
3 Click and select for the following control items in
“Maintenance1”,
Note: Retain the present status for other control items.
Note: When the TX power control mode is set to ATPC, set it to
MTPC and required level for the NLite E link on the
“Equipment Setup” and “Provisioning”.

INITIAL LINE UP ROI-S05750
3-13
Chart 3-5 (Cont’d)
Step Procedure
• TX SW Manual Control: Fix No.1 or No.2
(in 1+1 configuration)
• RX SW Manual Control: Fix No.1 or No.2
(which is the same side fixed by TX SW in
1+1 configuration)
• TX Power Control: MTPC in Equipment Setup
(at opposite site) Required level in Provisioning
• CW Control: When the Antena Alignment Mode is not
(at opposite site) selected, set manually to On.
• XPIC Control Local: Fix Forced Reset in XPIC configuration.
• Antenna Alignment Mode: Select On (in 1+0 configuration)
(Set No.1 or No.2 which is the same side
fixed by TX SW and RX SW in 1+1
configuration)
--- Maintenance 1 ---
Item Value Setting
Maintenace On
Off On Set
TX SW Manual Control No.1 Auto No.1 No.2 Set
RX SW Manual Control No.1 Auto No.1 No.2 Set
RX SW Maintenace Mode Manual
MTPC Manual Control(No.1) On Off On Set
MTPC Manual Control(No.2) On Off On Set
TX Mute Control(No.1) Off Off On Set
TX Mute Control(No.2) Off Off On Set
CW Control(No.1) Off Off On Set
CW Control(No.2) Off Off On Set
IF Loopback (No.1) Off Off On Set
IF Loopback (No.2) Off Off On Set
Main Loopback (Near End) Off Off On Set
Main Loopback (Far End) Off Off On Set
Linearrizer Control(No.1) Auto Auto Forced Reset Set
Linearrizer Control(No.2) Auto Auto Forced Reset Set
XPIC Control Local(No.1) Auto Auto Forced Reset Set
XPIC Control Local(No.2) Auto Auto Forced Reset Set
XPIC Control Remote(No.1) Auto Auto Forced Reset Set
XPIC Control Remote(No.2) Auto Auto Forced Reset Set
--- Offline Maintenance ---
DADE Adjust ... DADE Offset DADE DADE Off Set
RF SUB Band Select (No.1) ... A Set
RF SUB Band Select (No.2) ... A Set
Antenna Alignment Mode(No.1) On Off On Set
Antenna Alignment Mode(No.2) On Off On Set
Note: In Antenna Alignment Mode “On” condition, controls
between IDU and ODU are restricted.

ROI-S05750 INITIAL LINE UP
3-14
Chart 3-5 (Cont’d)
Step Procedure
4 At receiving station, remove a cap from the RX LEV MON
jack,
5 At each station connect the digital multimeter or NLite E
Monitor to the RX LEV MON jack on the ODU,
Note: In order to measure exact performance of AGC V, it is
mandatory required to set Antenna Alignment Mode to
ON. The AGC voltage indication is not guaranteed
outside Antenna Alignment Mode.
It is necessary to set to Antenna Alignment Mode when
monitor the RX level with the NLite E Monitor unit.
6 At each station, adjust the azimuth and elevation angle of the
antenna alternately so that the measured voltage becomes
maximum,
Note: The relation of the RX INPUT LEVEL versus RX LEVEL
MON(V) is shown below.
RX LEVEL MON vs RX INPUT LEVEL (Typical)
RX INPUT LEVEL [dBm]
-80 -70 -60 -50 -40 -30 -20
0.5
0
1
1.5
2
2.5
3
3.5
4
4.5
RX LEVEL MON [V]

INITIAL LINE UP ROI-S05750
3-15
Chart 3-5 (Cont’d)
Step Procedure
RX LEV MON
12345
0
V
OW
NLite E MONITOR
RX LEV/OW IN
FG
IFL
MON
RX LEV
Notes 1: It is necessary to set to the Antenna Alignment Mode using PC for LCT
when monitor the RX level with the NLite E MONITOR unit.
2: The RX LEV MON terminal on the ODU (conformed to IEC61169-24).
3: The RX LEV MON terminal must be capped for waterproof.
ODU
DIGITAL MULTIMETER
NLite E
Fig. 3-3 Antenna Orientation Test Setup
Note: The fixed bolts and nuts to be used for the antenna orientation
differ with antenna bracket types, refer to antenna bracket shown
in Fig. 3-4 (1/4) to (4/4).

ROI-S05750 INITIAL LINE UP
3-16
Safety Guideline for Microwave Radiation Hazard
The Microwave and Millimeter-wave that NLite E series are transmitting is at a very small radiation
level and never has been reported to effect human health. Advanced countries concerned about health
hazards have started to regulate the radiation levels. The operator should not work near the parabolic
antenna during RF transmission. The area in front of and to the side of the antenna show high radiation
levels. Please see below figure and calculation sample 1.
The front side of antenna presents a high power density in the antenna beam area. Therefore, the user of
this system should pay attention not to radiate the beam against humans at any time. (Please refer below
calculation sample 2)
ODU
- 90 to +90
degrees
ANTENNA
Hazard Area of Radiation
In addition, the Power density and Field strength level is calculated by equation below.
10 × K
Power density S (mW/cm2) =
40 × π × R2
P+G−30
10
Where: P = Output power of ODU (dBm),
G = Antenna Gain (dBi),
(in consideration of the angle from antenna)
K = Reflection factor =2.56 (given),
R = Distance between Human and Antenna (m)
Calculation example 1, (90 degree side of antenna)
NLite E = 18 GHz/+23 dBm,
Antenna diameter = 0.6 m,
0 degree antenna gain = 39 dBi,
90 degrees side antenna gain = −24 dBi, (90 degrees attenuation = −63 dB),
Distance = 0.1 m
Power density S (mW/cm2) = 0.0016 ≤ 0.01
Calculation example 2, (0 degree, front side of antenna)
NLite E = 7 GHz/+27 dBm,
Antenna diameter = 1.8 m,
0 degree antenna gain = 40 dBi,
Distance = 100 m
Power density S (mW/cm2) = 0.01